Title: The watchmakers' hand book
intended as a workshop companion for those engaged in watchmaking and allied mechanical arts
Author: Claudius Saunier
Editor: Henry G. Abbott
Release date: September 10, 2025 [eBook #76850]
Language: English
Original publication: Chicago: Geo. K. Hazlitt & Co, 1892
Other information and formats: www.gutenberg.org/ebooks/76850
Credits: Aaron Adrignola, Sharon Joiner, A Marshall and the Online Distributed Proofreading Team at https://www.pgdp.net (This book was produced from images made available by the HathiTrust Digital Library.)
Footnote anchors are denoted by [number], and the footnotes have been placed at the end of the chapter.
Some minor changes to the text are noted at the end of the book.
This edition of the book did not include a Table of Contents. For the convenience of the reader one has been created here:
American Watch Tool Co.
STONEY BATTER WORKS,
Chymistry District, WALTHAM, MASS.
MAKERS OF THE CELEBRATED
WEBSTER-WHITCOMB LATHE
AND ATTACHMENTS.
Do not be deceived by an “IMITATION” when you can get the
Genuine Webster-Whitcomb for $36.00.
By the introduction of special and costly tools we have brought the price of Lathes down from $80.00 in 1876, to $36.00 in 1894. Who has done more for the craft than we?
SEND for Price List and NOTE reductions.
Remember our full address.
Benj. Allen & Co.
141-143 STATE ST., CHICAGO, ILL.
Watch Materials, Tools and
Jewelers’ Supplies.
THE MOST COMPLETE STOCK.
LOWEST PRICES. BEST GOODS.
All Orders Filled Accurately and
Without Delay.
SEND FOR ILLUSTRATED CATALOGUE.
Watches, Clocks, Diamonds,
Jewelry and Silverware.
INTENDED AS A WORKSHOP COMPANION FOR THOSE ENGAGED
IN WATCHMAKING AND ALLIED MECHANICAL ARTS
BY CLAUDIUS SAUNIER
ILLUSTRATED AMERICAN EDITION
REVISED AND ENLARGED BY
HENRY G. ABBOTT
WITH SPECIAL REFERENCE TO THE WANTS OF AMERICAN WORKMEN
CHICAGO:
GEO. K. HAZLITT & CO., Publishers.
1894.
COPYRIGHTED 1892, BY GEO. K. HAZLITT & CO.
[Pg 5]
M. Saunier’s writings occupy an unique position in Europe, as works of reference for all who are engaged in watchmaking, and it may not be out of place to observe that the American edition of his treatise promises to take a similar place among English-speaking communities.
A glance at the index will show that the information given is essentially practical in its character, and such as will be of use to the watchmaker in his daily work. The volume is thus in no sense an abridgment of the original edition, but on the contrary, it contains much more matter than the original work.
In recent years the work of the ordinary watch repairer has undergone considerable change. The apprenticeship he serves, if indeed it can be called a real apprenticeship, is shorter than formerly. The immense number of badly constructed watches that he is called upon to put in going order for a trifling remuneration, compels him to replace the older methods of procedure by others, whenever by so doing time can be saved. From this point of view, then, the value of the present Hand Book can hardly be over-estimated, since it contains, in a readily accessible form, many details as to the working of metals, and descriptions of various practical operations, new and improved forms of tools, etc.
[6]
But the volume will be found of daily use to a wider circle of workers than those above referred to. We believe that there is hardly a branch of the watchmaking trade which may not benefit by the numerous practical details that are given; indeed, although the work is specially designed for the use of watchmakers, a great portion of it will be seen to be no less applicable to other mechanical arts.
M. Saunier’s original works, the Guide-Manuel de l’Horloger, and Recueil des Procedes Pratiques, which appeared as separate volumes, have been incorporated in this American edition, a large amount of additional information being at the same time added. As the second contained many details that more properly belonged to the first, and vice versa, it has been thought desirable to remodel the whole, and, as will be seen from an examination, the six parts that constitute the work are distinct in their character.
With a view to further facilitate the use of this Hand Book as a work of daily reference, an unusually full index has been added, which the reader is recommended in all cases to consult, and no effort has been spared to make the cross references in the body of the work as complete as possible.
It seems desirable here to give some explanation in regard to several of the practical methods described. Every watchmaker will at once recognize that recipes are included which are of the nature of makeshifts, and that it would in many cases be better to replace a piece by a new one rather than to repair it in the manner indicated. But, on the other hand, it has been felt that the work will often be appealed to by those who, from various circumstances, may be prevented from making or procuring a new part that will suit the watch under[7] repair, while those who are not so situated will have no difficulty in deciding for themselves as to which method to adopt.
The original work of M. Saunier, and the English edition, both had the illustrations in the back of the work, which necessitated considerable inconvenience when consulting them. In this edition we have ventured to insert the illustrations in the text that describes them. The antiquated tools, like the bow, bow-lathe, the turns and mandril, have been omitted, and the modern foot-wheel, lathe and accessories substituted.
Henry G. Abbott
NOTE—The references are in all cases to the pages, not to the paragraphs.
[17]
THE
Watchmakers’ Hand Book.
1. We often hear the theory advanced that in this country, at the present day, it is not necessary to have a knowledge of arithmetic, geometry, drawing, etc., because our interchangeable system of manufacturing watches, makes all knowledge in these lines superfluous, and that without any knowledge of arithmetic or geometry a man may become a thorough master of watchmaking. This is a mistake that too many of our young men make. The fact that the leading watch factories of the United States have adopted the interchangeable system, of course lessens the number of parts which the repairer will have to make and fit, but it by no means alters the situation as regards the repairing of foreign-made watches, nor even the changing of American watches from key to stem-winders. Without a thorough knowledge of arithmetic and, at least, an insight into the principles of geometry, no young man can hope to become a first-class watchmaker in the true sense of the word. Without these accomplishments he will be deprived of[18] the pleasure of reading understandingly the best literature of the day, the works of those who are best fitted to impart knowledge to the members of the trade.
With a knowledge of geometry he will be able to comprehend the works of the best authors, to ascertain the dimensions of solid bodies, and be in a position to apply the rules that form the basis of linear drawing. Every watchmaker, worthy of the name, should be able to make and understand the drawing of any machine, or of any horological instrument. Many inventors, and even ordinary workmen, would avoid a large amount of hard work, often useless, and occupying much time, if, instead of at once putting an idea into practice with brass and steel, they were able as a preliminary, to make for themselves a correct design drawn to scale.
2. It is taken for granted that the reader is familiar with the rules of arithmetic at least, and we will touch upon some points in algebra and geometry that it will be well to mention. Should the reader have no knowledge of arithmetic, algebra and geometry, we would advise him to take up these studies during his leisure hours, using some of the standard text books for that purpose.[1] Besides possessing a knowledge of prime numbers, numbers which have no divisors but unity and themselves, the watchmaker should be able to determine the greatest common measure of several numbers, a rule which is of great importance in calculating a train of wheels that is complicated.
We shall confine our attention to the methods of extracting square roots and proportions, the rules for which may[19] have been forgotten, owing to their being less frequently employed than the more common rules of arithmetic; they are of frequent use in horology.
3. The sign of addition is an erect cross, +, called plus, and when placed between two quantities it indicates that the second is to be added to the first. Thus, 5 + 3 equals 8.
The sign of subtraction is a short horizontal line, -, called minus, and when placed between two quantities it indicates that the second is to be subtracted from the first. Thus, 8 - 3 equals 5.
The double sign, ±, is sometimes written before a quantity to indicate that in certain cases it is to be added and in others it is to be subtracted. Thus 5 ± 3 is read 5 plus or minus 3.
The sign of multiplication, ×, when placed between two quantities indicates that the first is to be multiplied by the second. Thus, 3 × 5 equals 15.
The sign of division is a short horizontal line with a point above and one below, ÷, and when placed between two numbers or quantities it indicates that the first is to be divided by the second. Thus, 6 ÷ 2 equals 3.
The sign of equality is two short, horizontal, parallel lines, =, representing the words equal to. Thus, 6 ÷ 2 = 3.
Inequality is denoted by the angle >, the opening always being toward the larger number or quantity; thus, in 12 + 7 > 14, the sign >, indicates that the sum of 12 and 7 is greater than 14, and the whole expression is read, 12 plus 7 is greater than 14. The expression 9 < 4 + 7 is read, 9 is less than 4 plus 7.
[20]
A parenthesis, (), denotes that the several numbers or quantities included within it are to be considered together, and subjected to the same operation. Thus, (10 + 4) × 3 indicates that both 10 and 4, or their sum, are to be multiplied by 3.
A horizontal vinculum, ———, placed over the numbers or quantities, is frequently used instead of the parenthesis. Thus, 2 + 4 + 6 × 7 is equivalent to (2 + 4 + 6) × 7.
Division is more usually indicated by a line between the two figures, the dividend being written above and the divisor below the line. Thus, ¹⁶⁄₈ indicates division, the same as 16 ÷ 8.
Algebra is that branch of mathematics in which the operations are indicated by signs or symbols, and the quantities are represented by letters.
The sign of ratio consists of two points like the colon, :, placed between the quantities compared. Thus, the ratio of a to b is written a : b.
The sign of proportion consists of a combination of the signs of ratio. Thus, : :: : . The first two and last two dots are read is to, while the four in the middle are read as. Thus, if a, b, c, and d, are four quantities which are proportional to each other, we say a is to b as c is to d, and this is expressed by writing them thus:
a : b :: c : d.
4. The power of a number is the product formed by successive multiplication of the same number by itself. Thus,
2 × 2 = 4, the second power or square of 2.
2 × 2 × 2 = 8, the third power or cube of 2.
2 × 2 × 2 × 2 = 16, the fourth power of 2, etc.
[21]
An exponent is a number written above a quantity, at the right-hand, to indicate how many times the quantity is to be taken as a factor, as 63 = 6 × 6 × 6.
The root of a quantity is a factor which, multiplied by itself a certain number of times, will produce the given quantity. Thus, in the above examples 2 is the square root of 4 and the cube root of 8.
The radical sign, √, indicates that the root of the quantity placed under it is to be taken, and the index of the root is expressed by a little figure placed outside of the bend. If a square root the index figure is usually omitted.
√4 = 2 or
²√4 = 2 and
³√8 = 2.
5. Extracting the square root of whole numbers. [2]I. Point the given number off into periods of two figures each, counting from the units place to the left. For example, we wish to find the square root of 399424, we point it off thus: 39,94,24.
II. Find the greatest perfect square in the left-hand period, and write its root for the first figure in the required root; subtract the square of this figure from the first period, and to the remainder bring down the next period for a dividend. Thus:
39,94,24(6
36
394
III. Double the root already found, and write the result on the left for a divisor; find how many times this divisor is contained in the dividend, exclusive of the right-hand figure, and place the result in the root and at the right of the divisor. Thus:
39,94,24(63
36
123 394
[22]
IV. Multiply the divisor thus completed by the last figure of the root; subtract the product from the dividend, and to the remainder bring down the next period for a new dividend. Thus:
39,94,24(63
36
123 394
369
2524
V. Double the right-hand figure of the last complete divisor for a new divisor, and continue the operation as before. Thus:
39,94,24(632
36
123 394
369
12622524
2524
6. It is often convenient to express the relations of qualities in the form of a proportion and from the proportion derive an equation.
Ratio is the quotient of one number divided by another. Thus the ratio of 30 to 6 is ³⁰⁄₆.
7. Proportion is the equality of ratios: Thus if ³⁰⁄₆ = 5 and ⁴⁰⁄₈ = 5 then we may state that ³⁰⁄₆ = ⁴⁰⁄₈ or the proportionality is usually expressed (3) thus:
30 : 6 :: 40 : 8
and this constitutes what is called a geometrical proportion, and 30 and 8 are called the extremes and 6 and 40 the means.
[23]
8. The product of the extremes is always equal to the product of the means. Thus: 30 × 8 = 6 × 40 = 240. Hence it follows that if we only know three terms we can always determine the fourth, or unknown term, which is usually represented by the letter x. Thus in the proportion
12 : 3 :: 16 : x
we find the product of the means, or 3 × 16 = 48; this product divided by 12, the known extreme, gives us the value of x, or the unknown extreme, as equalling 4.
9. If we know the two extremes and only one of the means the same rule is applied. Thus in the proportion
20 : 5 :: x : 25,
we have: 20 × 25 = 500. ⁵⁰⁰⁄₅ = 100, the value of x.
10. The object of geometry is to measure the extent of bodies. A body has three dimensions, length, breadth and thickness, and one of these latter is sometimes termed weight or depth.
Either dimension taken by itself is measured by a straight line.
When the extent of a body is expressed by combining any two dimensions, it is termed area or surface, and when three are employed we obtain the solid measure or volume.
Plane geometry only takes cognizance of figures situated in one plane or surface, and therefore only possessing two dimensions; solid geometry, however, regards bodies as having all three dimensions.
Two lines are parallel when their distance apart is the same at all points. The same is also applicable to parallel planes.
[24]
Two lines or planes meeting each other will form an angle. The point at which they meet or intersect is termed the apex or summit of the angle.
A straight line is perpendicular or at right angles to another straight line, or to a plane, when all the angles which it makes with that line or plane are equal.
A circumference of a circle is a curved line l c d f fig. 1,) such that all its points are equally distant from an internal point, o, termed the center. The circle is the space enclosed by the circumference.
It will be noticed that in geometry these two words are distinguished, although they are frequently referred to as identical. Thus, the rim of a wheel or balance is generally termed a circle.
Two circles (l c d f and b r a, fig. 1,) described from the same center are said to be concentric. When their centers do not coincide they are called excentric with regard to one another.
Any portion of a circumference, such as f n d, is termed an arc of the circumference, or, more commonly an arc of a circle.
A chord is a straight line, f d, which unites the two extremities of an arc. When the chord passes through the center of a circle it is termed a diameter.
The radius of a circle or circumference is a straight line drawn from the center to the circumference; and all the radii that can be thus drawn are equal. A diameter is, then, always double the radius, and, conversely, the radius, is always half the diameter.
A tangent is a straight line that only touches a circumference at one point, as g l (fig. 1); whereas a secant cuts the circle, as i j.
A circumference is assumed to be divided into 360 equal parts, termed degrees. The degree is subdivided[25] into sixty equal parts, or minutes, and the minute into 60 seconds. These are respectively symbolized by the marks ° ′ ″ placed at the right-hand top corner of the figure.
Such an expression as 18° 30′ 15.5″ would, then, be read 18 degrees, 30 minutes, and 15.5 seconds.
11. Ratio of the circumference to the diameter. The diameter of a circle is to the circumference as 7: 22; or, employing decimal fractions, as 1: 3.14159 (a number which, in algebra, is always represented by the Greek letter π.)
Knowing a diameter (D), the circumference, x, can be ascertained from the proportion:—
1: 3.14159:: D: x.
Knowing a circumference (C), the diameter, x, can be determined from the proportion:—
3.14159: 1:: C: x.
The latter proportion will also give the value of the radius, which is half a diameter.
12. The superficial area of a circle is equal to the circumference multiplied by half the radius, or to the square of the radius multiplied by 3.14159.
A sector is the circle enclosed between an arc and two radii bounding it, as b O r k (fig. 1.)
The area or surface of a sector can be ascertained by multiplying the length of the arc by half the radius.
A segment of a circle is the portion intercepted between an arc and its chord, as f d n (fig. 1.)
The surface of a segment, as b k r s, can be obtained by subtracting from the area of the sector O b k r, the area of the triangle, b r O (15).
[26]
13. Ring. To determine the surface of a flat ring, the area of the inner circle must be subtracted from that of the outer circle; in other words, take the difference between the areas of the two circles that fix the inner and outer diameters of the ring.
The area of a flat ring can also be calculated by adding together the internal and external diameters; then multiply the number so obtained by their difference and by the decimal fraction 0.7854 (that is, 3.1415/4). The product will be the required area.
14. Angles and their measurement. When two lines meet one another, they form an angle, as we have already seen. If we take the apex as the center of a circle, the number of degrees intercepted between the two straight lines gives a measure of this angle.
The angle measured by a quarter of a circumference, or 90°, is termed a right angle.
An obtuse angle is greater than a right angle, and an angle that is less is termed an acute angle.
15. Triangles, squares, etc., and their measurement. The triangle or plane area enclosed within three straight lines joined two and two together (A, B, C, fig. 2,) is said to be rectangular when one of its angles is a right angle; it is equilateral when the three sides are equal, under which circumstances the three angles are also equal; and isosceles when only two sides are of equal length.
The sum of the three angles of a triangle is always equal to two right angles. If only two of the angles are known, it is thus easy to determine the third.
Similar triangles are characterized by the fact that their homologous sides (that is, the sides opposite to equal angles) are proportional.
[27]
Peculiarity of the right-angled triangle. The square described on the longest side, termed the hypothenuse (B, fig. 2,) is equal to the sum of the squares described on the two other sides. Hence, it follows that, if the lengths of the two shorter sides are known, that of the hypothenuse can be ascertained by extracting the square root of the number formed by adding together the squares formed on these two sides (5).
If the hypothenuse is known and one of the shorter sides, the third can be determined by extracting the square root of the number formed by subtracting the square of the known side from the square of the hypothenuse.
The surface of a triangle is determined by multiplying one of the sides by half the perpendicular height of the angle opposite to this side.
16. The surface of a square or of an oblong or rectangle (a b c d, fig. 3) is equal to the product of the base multiplied by the height.
The sum of the squares described on the four sides is equal to twice the square described on a diagonal. This diagonal divides the rectangle into two equal rectangular triangles.
17. The surface of a parallelogram or lozenge, a plane figure with four sides, opposite pairs of which are parallel (c f g d and c i j d, fig. 3,) is equal to the product of one side multiplied by the perpendicular height of the figure.
The sum of the squares described on the four sides of a parallelogram is equal to the sum of the squares described on the two diagonals.
[28]
18. Measures of various solid bodies. The volume of a cube of parallelopiped (that is, a body bounded by six four-sided figures, every opposite two of which are parallel) is obtained by multiplying the surface of the base by the height.
The volume of a straight cylinder is the product of the surface of the circle which forms its base into the height of the cylinder.
The area of the curved surface of a cylinder is obtained by multiplying the circumference of the circle forming its base by the height.
The volume of a tube or cylindrical ring of rectangular section, such as the arbor-nut of a barrel, or the rim of a circular balance, etc., is equal to the product of the plane surface of its base (13) into its height.
The volume of a right cone or of a regular pyramid is the product of the base into a third of the height.
The surface of a sphere may be determined by multiplying the square of the diameter by 3.1416 (11).
The volume of a sphere is equal to this surface multiplied by a third of the radius.
19. An elementary knowledge of the art of drawing, an ability to represent the outlines of objects by simple lines, is of the first importance to the watchmaker.
Such a design is obtained by projecting on to one plane all the visible points of the object represented.
Projection on a vertical plane gives an elevation; the object is looked at from one side.
Projection on to a horizontal plane produces a plan; the object is observed from above, thus giving a bird’s-eye view.
[29]
The projection of a point on a vertical or horizontal plane is the foot of the perpendicular, from the given point on to the plane. Assume the line n m (fig. 4), to be fixed in space; its horizontal projection will give c d, and its vertical projection, r s.
Miscellaneous details. When one portion of the object to be represented is found to pass behind other pieces so that it cannot be seen, the continuation is frequently indicated by dotted lines.
Surfaces that are situated in planes one behind the other are shaded, the more deeply according as they are farther back. This shading is produced by a number of parallel lines which may be vertical or horizontal.
Parts that are in relief are indicated by projected shadows, or by increasing the thickness of a line that would cast a shadow.
In order to distinguish the several shadings or to emphasize the lines by which they are separated, it is a very usual, though not invariable practice to assume the light to be coming from the left-hand upper corner.
When drawing a square in relief, such as a b c d (fig. 3), the lines c d b d, will be made darkest; but if it is a recess, the lines a b, a c should be brought into prominence by means of dark lines.
These several directions will be found useful when a hole, any cavity, a pin, a round object etc., has to be depicted, as in fig. 5. As a general rule, the thick lines should indicate the position at which a shadow would form, the light being assumed to fall on the drawing in the manner indicated above.
A section shows a body as it would appear if cut in two, and one portion removed in order to expose the[30] interior, as in fig. 6. A section is indicated by a series of parallel lines drawn close together and at an inclination of about 45° to the vertical.
In order to leave more room for important details, or to show objects that are situated behind, a piece is often broken off by an irregular line, as shown in that drawing.
Lines formed by a series of detached points sometimes serve as a means of associating several figures representing the same object looked as in different directions.
20. Tracing and transfering. These two operations are resorted to when it is required to obtain one or more copies of a picture or design already drawn.
Tracing consists in laying a piece of tissue or other translucent paper over the drawing and copying it by following over the lines that are visible with a pencil. Or ordinary paper can be used for the purpose, providing it is not too thick, if the picture be placed against the pane of a window or, what is more convenient, on a sheet of glass used as a desk and illuminated from below. When either sheet of paper is too thick to allow sufficient light to pass, one or other of the methods of transfering indicated below must be resorted to.
21. This operation consists in reproducing a tracing on a separate sheet of paper or on metal that is to be engraved. Either of the following methods may be adopted:
1. The picture to be transferred is fixed to a table or drawing board if tracing paper is to be used, or to a sheet of glass if only ordinary paper is available. The lines are then traced with a black lead pencil that must[31] not be too hard. When this is finished it is laid, face downwards, on a sheet of white paper, taking care that both sheets are so fixed that they shall not slip. Apply pressure to the upper surface by tapping with a small pad made on purpose and, at the same time, gently rubbing. Experience will very soon show how hard the pad should be. Now remove the tracing, still taking care to avoid any slipping, and a faint reproduction of the design will be found on the lower sheet of paper. It is only necessary to follow over the lines with India ink. The figures will be reversed but a transfer with it in the original direction may be obtained by inverting the picture and laying it on glass so as to make a reverse tracing.
2. Lay the picture on a desk or drawing board and trace it with ink on a very transparent sheet of paper. When the ink is dry, invert the tracing and blacken the back with a No. 2 pencil. Now lay the tracing, with the ink side uppermost, on a sheet of clean paper, taking care to avoid slipping, and go over the several lines with an agate or metal style, avoiding excessive pressure on account of the risk of tearing the paper. On removing the upper sheet an impression will be found not reversed. Go over all the lines with India ink and clean the paper with India-rubber or stale bread.
Observations. The choice of paper and pencil is not a matter of indifference. All kinds of paper do not receive an impression equally well, neither do all pencils transfer with equal facility. The Faber pencil No. 3, will generally be found best suited to such work.
In preparing drawings which you desire to preserve, as drawings of escapements, etc., a good quality of light weight bristol board will be found more desirable than the[32] best drawing papers. White wedding bristol, about two-ply in thickness, answers admirably, and India ink lines drawn upon it will not spread as they often do on drawing papers. The prepared liquid India inks now on the market are superior to any you can prepare by grinding the sticks.
22. To transfer an engraved design. This method is available when it is desired to obtain an impression, for example, of the engraved surface of a watch case.
Procure some of the inks used by copper-plate engravers, or, in its absence, ordinary stencil ink may be used. Taking a small quantity on the end of the finger, tap it on the surface of a glass plate, in order that the ink may be distributed, leaving only a small quantity evenly spread over the finger: tap with the finger thus prepared over the watch case long enough to make sure that all the surface in relief has received some ink; take a piece of writing paper and, after slightly moistening it, spread it over this surface. Lay above this a piece of paper folded in four and pass over it in all directions any round body, such as a small tool handle, and with some pressure; then raise the papers without allowing them to slide.
If the operation has been carefully performed a very clear impression will thus be obtained of the engraved surface. The relief will be black and the hollows white, but, of course, the figure is reversed like that in a looking-glass. If required in the right direction it must be traced through to the other side of the paper.
23. It is needless here to describe the rule, set-square, T-square, bow-compass, etc., as every one knows them.
[33]
To verify the accuracy of a rule. On a perfectly flat smooth surface carefully draw, with the rule in question, a fine straight line. Then turn the rule over, hinging it as it were on the line just drawn; if quite straight the edge of the rule will exactly coincide with the line, in this new position, throughout its entire length. Each edge should be thus examined.
To verify the accuracy of a set-square. Having fixed an accurate rule on a smooth surface, place one edge of the set-square against it, and draw a line along the edge perpendicular to the rule; then, having turned the set-square, hinging it on the line just drawn, bring it against the rule and along the line. If the square is true the edge and line will coincide throughout their length.
24. The Protractor. Fig. 7 represents a common form of this instrument. It is made of horn, or, if of metal, the inner portion is cut away, leaving only a base and a semicircular arc, which is divided into 180 equal parts or degrees; a complete circle would therefore consist of 360 such degree. The point indicating the center of the arc, should be very small in order to facilitate the exact setting of it at the apex of an angle.
When an angle has to be drawn with accuracy, the protractor is unsuitable; it will be better to adopt one of the methods described at paragraph 37, or trigonometrical methods.
25. Drawing scales. When an object is represented by a drawing, if the dimensions are the same as those of the object itself, or, rather, as they would project on to a horizontal or vertical plane, the drawing is said to be full size; but the object is generally represented either on an[34] increased or diminished scale, which is defined, the proportions between all the parts being still, however, maintained the same.
With a view to avoid the many calculations that such a change would involve, it is usual to employ drawing scales. The following notes will sufficiently explain their construction and use.
Let it be required to reproduce a large drawing on a small scale, in such a proportion that the dimensions are reduced in the ratio of 10 to 1.
Take a straight line of indefinite length, a b, fig. 8, and mark out on it spaces equal to a 1, which represents any measurement taken on the original object; at c, the 10th division, draw a perpendicular, and on it measure c g equal to a 1, or one-tenth of a c and join a g.
Through the points indicating the divisions into tenths draw lines parallel to c g, and you will thus have a series of triangles, d a 1, d′ a 2, d″ a 3, etc., similar to the triangle g a c. In virtue of a well-known property of such triangles (15), d 1 will be one-tenth of a 1; d′ 2 one-tenth of a 2; and so on.
Thus, if a measurement taken on the object, or on a large drawing, is equal to a x, it will only be needful to turn the compass on the point x as a center, and to observe accurately the perpendicular height, x z, to ascertain the corresponding measurement on the reduced scale.
Such a scale can be employed to measure meters and decimeters, or feet and inches (but in this latter case, it would have been necessary to mark off 12 instead of 10 divisions from a). Since a 1 might be made to represent[35] one metre; a 2, two meters, etc., in virtue of the principle of the triangle already referred to, d 1 will be the tenth of a 1, and will therefore represent a decimeter; d′ 2 will represent 2 decimeters, etc. The length required to represent, say 5.3 will be ascertained by taking the distance a 5, to which the distance d″ 3 is added. Similarly 6 feet 2 inches would be given by a 6, to which d′ 2 is added on a 12-division scale.
26. The following description of one of these decimal scales, which is engraved on metal or ivory, and often included in cases of drawing instruments, will suffice to enable any one to construct a scale on this principle, that goes to a still further degree of accuracy, measuring, for example, meters, decimeters and millimeters, or yards, feet and inches.
Let A B, fig. 9, be a flat rectangular rule, divided throughout its length by parallel equidistant lines into ten strips. At right angles to these are the lines o o′, a a′, etc., separated from one another by a distance of one centimeter (doubled in the drawing in order to make the details more clear.) The first centimeter is subdivided along the two edges, A o, n′ o, into 10 equal parts or millimeters, and the division, o, on the upper edge is joined by an oblique line with the 1 on the lower edge, and the others by parallel oblique lines as shown in the figure. Thus c i will be one-tenth of a millimeter, s j two-tenths, and so on.
[36]
If the compass is opened so as to reach from x to z, it will be seen that it covers a space of 16 millimeters and 2-10ths of a millimeter, for there are one large division (or 10 mm.), 6 smaller divisions (or millimeters) plus a fraction of a millimeter equal to s j or 2-10ths of a millimeter.
27. Sector. When it is required to reduce the scale of a drawing, subject to the condition that the dimensions shall be all diminished in the ratio of two given lines, we may state the problem thus:
The longer of the two given lines is to the shorter, as any given dimensions of the old drawing is to x. The value of x thus determined will be the corresponding dimension of the new figure.
Such a rule of three proposition would involve a considerable amount of work, and the required result can be arrived at with greater facility by the geometrical methods which forms the basis of the scale just described, or, better still, by using the sector shown in fig. 10. It consists of two brass or ivory legs hinged about a center m which is at the apex of the angle n m c formed by two straight lines similarly divided into equal parts.
It is employed as follows: Let us assume that a drawing has to be reduced in the ratio of the line A to the line B; set off the length A along m n, and suppose its extremity to be at s, where division number 5 occurs. Open a compass to a distance equal to B, and placing one point on s, open the two legs of the scale until the second point coincides exactly with the corresponding division t, that is, with the 5 on the other leg, m c. Maintaining the[37] scale open to this amount, it is only needful, after measuring a distance on the original drawing or object, to set it off along m n, and to measure the distance between its extremity and the corresponding point on the other leg; this distance will be the dimension on the reduced scale.
28. Proportional compass. This consists of two equal stems terminating with points, fig. 11. They are cut through for a portion of their length, and provided with a slide forming a hinge, that can be clamped by a screw a in any position. Graduations on the two slots and a mark on the slide indicate in what position of the slide a, the length a b (equal to a g) is equal to ½, ⅛, ¼, etc., of a d; and thus show what is the ratio of g b to c d, a ratio which is independent of the extent to which the arms are opened.
29. The vernier. The vernier consists of a small graduated slide which is adapted to a graduated rule or circular arc with a view to ascertain the value of small fractional parts of the divisions marked on the rule or arc.
Let A B, in fig. 12, be a rule divided into millimeters (the proportions are enlarged in the drawing so as to avoid confusion among the lines), and let it be required to determine a length to within the tenth of a millimeter.
As the measurement is required to the tenth, take ten less one or nine of the divisions of the scale; they will extend from O to IX, and this represents the acting length of the vernier.
Subdivide the vernier into ten equal parts; it is manifest that each graduation of the vernier differs from[38] the original subdivisions of the rule by 1-10th of a graduation of the latter. In other words, unity on the vernier is equal to 9-10ths of unity on the rule.
When the rule and vernier are placed as shown in fig. 12, so that the o on both scales coincide, the successive divisions on the rule (marked with Roman numerals for distinction) will be progressively more and more in advance of the corresponding divisions on the vernier in the following proportion:—
The marks I and 1 are 1-10th apart; the marks II and 2, 2-10ths; III and 3, 3-10ths; and so on, the mark X being 10-10ths, or one complete division in advance of 10, this division being a unit on the scale.
Thus if the vernier is caused to slide along the edge of the rule, when 1 coincides with I the vernier has advanced 1-10th; when 2 coincides with II, it has advanced 2-10ths; and so on.
Let it be required to determine the distance P d, fig. 13. The division 6 on the vernier coincides with a division of the scale; hence it follows that the extremity d of the vernier is at a distance of 6-10ths millimeters from III, the next division of the scale to the left. The distance between P and d is thus 3.6 millimeters.
With a vernier showing tenths, if two consecutive divisions of the vernier fall between two divisions on the[39] rule, and there does not appear to be a tendency towards one side more than towards another, even when observed with a strong glass, it is possible to take an approximate reading to the twentieth.
In measuring circular arcs a curved vernier is used in place of a straight one, and its graduations are made to correspond with those on the circle as shown in fig. 14.
30. Micrometer screw. By employing a micrometer screw it is possible to measure infinitesimal amounts, but the screw must be perfectly accurate, and must work without appreciable backlash or loss of time.
Assume V, fig. 15, to be such a screw, having a pitch of 1 millimeter. It will advance by this amount with each complete rotation.
To the head of the screw is attached a disc of such a size that its rim can be divided into a number of equal parts, say a hundred. These graduations may be marks on the edge or notches cut in it when an index is required to stop in them; but the index is less frequently met with than a simple divided straight-edge almost in contact with the disc. The divisions round the disc are numbered in ascending order as the points c and a separate, so that zero comes under the index or rule when these points are in contact. Readings of the[40] numbers will thus afford a measure of the displacement of the point of the screw.
When the disc is rotated the point a will move towards or from c by 1-100th of a millimeter for each division passing under the straight-edge, and one millimeter for each complete rotation. It is thus possible to obtain the dimensions of an object when it enters without play between the two jaws to within an error of about 1-100th of a millimeter if the instrument is accurately made.
If, instead of passing the object between the two jaws, it is gripped by them, the measurement will be less exact, as no account is taken of the pressure exerted and of the elasticity. (44.)
31. Sketches. It is advisable from an early age to accustom oneself to make rapid freehand sketches of objects as they present themselves to the eye. Such a sketch will help in the preparation of a more exact drawing, which involves a knowledge of the several geometrical methods given below.
A drawing may be transferred, reduced or enlarged as follows:
Draw across the original picture a number of equidistant vertical and horizontal lines, forming perfect squares, and number the two sets of lines in succession. Then draw a similar series of lines on a clean sheet of paper, setting the lines at an equal, less or greater distance apart, and copy in succession the parts of the figure that are enclosed within the several squares.
As it is not always possible to draw lines across a figure, they may be replaced by a frame carrying fine threads or wires stretched in the two directions. The[41] frame is laid over the original drawing, which can then be copied, as above explained, on a sheet of paper divided into squares (fig. 16).
The frame may, moreover, afford assistance in the drawing of solid objects. Having placed it above or in front of the object and in contact with it, copy on to the sectional paper the contents of each corresponding square, taking care to look at the object perpendicularly. With a little practice, and by placing the eye in the correct position and always at the same distance from the frame (a distance which may be regulated by a glass), a sketch in fair proportion may easily be obtained.
32. To erect a perpendicular on a straight line. Either the compass or a set-square can be employed; the use of the latter instrument is so simple that no further reference need be made to it. Assume a, fig. 17, to be the point in the line n m at which a perpendicular is to be drawn. On either side of a measure off equal distances a n, a m; from n and m, with a radius about equal to the distance n m, draw two circular arcs cutting one another. If their point of intersection b be joined to a, the line a b will be the required perpendicular.
33. To erect a perpendicular at the extremity of a line. From the extremity c, fig. 18, mark off four equal parts towards s. From s, with a radius equal to five such parts, describe a circular arc, and from c, with a radius of three such parts, describe another arc cutting the first at d. The line joining c and d will be perpendicular to s c.
[42]
For the square of 5 is 25, and this is equal to the square of 4 or 16 plus the square of 3 or 9. Thus the triangle s c d must be right-angled (15).
Or the following method may be adopted: With any center i and radius i g (fig. 19), as large as possible, describe a circumference passing through g. From the point p, where the circle cuts the line, draw the diameter p i h. If the point h be joined to g, it is the required perpendicular; for, by a property of the semicircle, the angle h g p is a right angle.
34. To let fall a perpendicular on a straight line. In order to let fall a perpendicular from the point a on to the line b c (fig. 20), describe from a as a center, a circular arc sufficiently large, cutting the straight line in two points, b and c. From these two points, with the same opening of the compass, draw on the under side of the line two arcs that intersect. The point of intersection o joined to a gives the required perpendicular.
35. To draw parallel straight lines. Having fixed a good straight-edge over the drawing, as many parallel lines as are required may be drawn with the aid of a set-square which is caused to slide along the rule. They will be vertical, horizontal or inclined, according to the position of the rule, which must be set exactly perpendicular to the direction in which the parallel lines are to be drawn (fig. 21).
To draw, from a given point, a line parallel to a given line. Let d be the given point, and a b the given line[43] (fig. 22). From d draw the circular arc a c, and from a where it cuts a b, with the same radius describe the arc d b. From a set off on a c, a distance equal to d b. The line joining d and c is the required parallel.
36. To subdivide a line into equal parts. Let it be required to divide the line p v (fig. 23), into five equal parts. Draw a line p q inclined at any angle, and mark off on this line five equal parts of any length; join q, the extremity of the five lengths, and v, and through the points a, b, c, d, draw lines parallel to q v. In virtue of a property of similar triangles these lines will divide p v into equal parts. It is advisable that the lines p v and p q should not differ very considerably in length, as, otherwise the inclination of the parallel lines to p q will render it difficult to observe the exact point of intersection.
To divide a line into proportional parts. The proposition can be solved in a similar manner. Let it be required to divide a line t r (fig. 24), into two sections that are to one another in the proportion of 5 to 3. On t s mark off a series of equal parts given by the addition of these numbers together, that is 8; and join the last point s to r. Then draw through c, the fifth division, a line parallel to s r. This line c d will cut t r into two parts, which are to one another in the proportion of 5 to 3.
By an analogous construction a fourth proportional can be graphically obtained, as already indicated in articles 25-27.
[44]
37. To construct an angle equal to a given angle. The angle may be measured by means of the protractor (24), which then enables us to draw a similar angle; but greater accuracy is obtainable by using the compass.
Let it be required to construct at m on the line m p (fig. 25), an angle equal to b a d. With as large a radius as possible, draw from the points a and m the arcs b d and n p. Measure the distance d b and mark it off with the compass from p on the arc p n. A line drawn through m to the intersection of the two arcs will give the required angle equal to b a d.
38. To subdivide an angle into 2, 4, or 8 equal parts. In addition to the use of the protractor, the following graphic method is often given in works on geometry.
An angle e f g being given (fig. 26), from its apex f as a center describe the arc e g, and from its two points of intersection with the sides, with a radius greater than half their distance apart, draw two short arcs cutting each other at s. A line drawn from f through the intersection s will divide the angle into two equal parts.
If four divisions are needed, repeat the process on the two angles s f e, s f g, and so on for a further sub-division.
The line that divides the angle into two equal parts will also bisect or divide into two equal parts the chord and the arc e g.
39. To find the center of a circle or of a circular arc. Take on the circumference, or on the arc, three points b c r (fig. 27). Join b to c and c to r. At the[45] middle point of each of these lines[3] erect a perpendicular. The point of intersection of these perpendiculars is the required center.
A similar method should be resorted to when it is desired to describe a circle passing through three given points.
40. To connect up or associate lines. In order to join up a straight line, such as i j (fig. 28), with the curve l p, erect a perpendicular at j, and through the middle point of a chord, l p, draw a second perpendicular cutting the first in k. This point will be the center from which the curve uniting the two lines should be struck.
To unite a curve a b (fig. 29), with another curve, c x or c z, at the point c, first find o, the center of the curve a b, draw the line a o, continuing it beyond the center; join a and c, and erect a perpendicular at the middle point of this chord. The intersection of this perpendicular with a o, produced if necessary, should be taken as the center for a curve uniting b a with c.
To join up two lines inclined to each other or parallel lines of unequal length, such as a r, b s, fig. 30, draw midway between the two another line, z d; join the two extremities r and s, and from these points let fall perpendiculars r i and s c; then from d draw a line perpendicular to s r. The point o thus obtained will be the center of the arc r d, and c will be the center for d s.
[46]
41. To describe an ellipse. Let a b (fig. 31), be the major axis of the ellipse; divide it into three equal parts, and from the two points, c and i, at which it is divided, with a radius equal to i c, draw (in pencil) two circles, intersecting in the points x and z. Through these points draw the lines x i g, x c h, z i f, z c d.
With the center z describe the arc d f, and from x draw h g; the ellipse will be completed by the two arcs, f b g, d a h, of the primitive circles.
If it be required to describe an ellipse that shall have a shorter minor axis, divide the major axis into four equal parts, thus obtaining three points of sub-division. With each point as a center and with a radius equal to one of the spaces describe circles. Those to the right and left will determine the extremities of the ellipse, and the central circle will intersect the minor axis in two points which must be taken as centers for describing the top and bottom portions of the figure.
When the length of the long and short axes are given, proceed as follows (fig. 32): From the center a, where they intersect at right angles, mark off the distances a n, a o, equal to the difference in the length of two semi-axes. Join n o, and add one half of n o to a o measured in the direction of a v, thus obtaining the point k; with the radius a k describe a circle. On this circumference will lie the four centers; k for the arc r u s, m for the arc p v q, t and i for the short arcs q j s, p e r.
The figures obtained by the methods here given closely resemble the ellipse, but are not of the strict mathematical form. It is well to acquire some facility in drawing ellipses, for the projection of a circle on a plane, when[47] the two are neither parallel nor perpendicular, is an ellipse, and one often has occasion to describe it.
42. The following may be added as a mode of describing an ellipse:
The major axis and the two foci (points in this axis) being known, fix two pins in these foci. Then tie a piece of string into a loop and place it over the pins; stretch it with a pencil, the point of which is on the paper, and on moving this around in a circular direction, the string being maintained stretched, an ellipse will be described. When the string is so stretched that it lies along the major axis, the length should be such that the pencil is exactly at its end.
43. To draw a spiral curve. Draw four lines forming a small square (fig. 33). The point o is taken as the center of the first arc, i j; s is the center of j k; u of k l; i of l n. Then, to continue the curve, o is again taken as the center for n p, and so on. This method produces a volute in which the coils are at a considerable distance apart, such as has no special applicability to horology.
As the balance-spring of a watch is partially concealed by other pieces, it is generally sufficient to represent the parts that show themselves by concentric circular arcs, or arcs described from two centers. If a more accurate representation be required, the following method may be resorted to: when working on a small scale it involves the use of the eyeglass, for the figure (fig. 34,) here given is exaggerated in order to avoid confusion in the lines, numbers, letters, etc.
[48]
A small circle having been described, it is divided into an even number of equal parts, say four; a less number than this should never be adopted. From the same center describe another circle as small as possible, which will be cut by the two diameters drawn between opposite points of division numbered 1, 2, 3, 4.
Assuming a to represent the starting-point of the curve, from the center 1 with radius 1 a draw the arc a b; from 2 with radius 2 b draw the arc b c; from 3 with 3 c draw c d; from 4 with 4 d draw d s; then recommencing with 1 and the radius 1 s draw s f, and so on.
The less the radius of the small circle and the greater its number of divisions, the closer will the successive coils be together. To secure accuracy when working on a small scale, it is advisable that the center and the several points be in a thin brass or horn plate, which is maintained in position by steady pins.
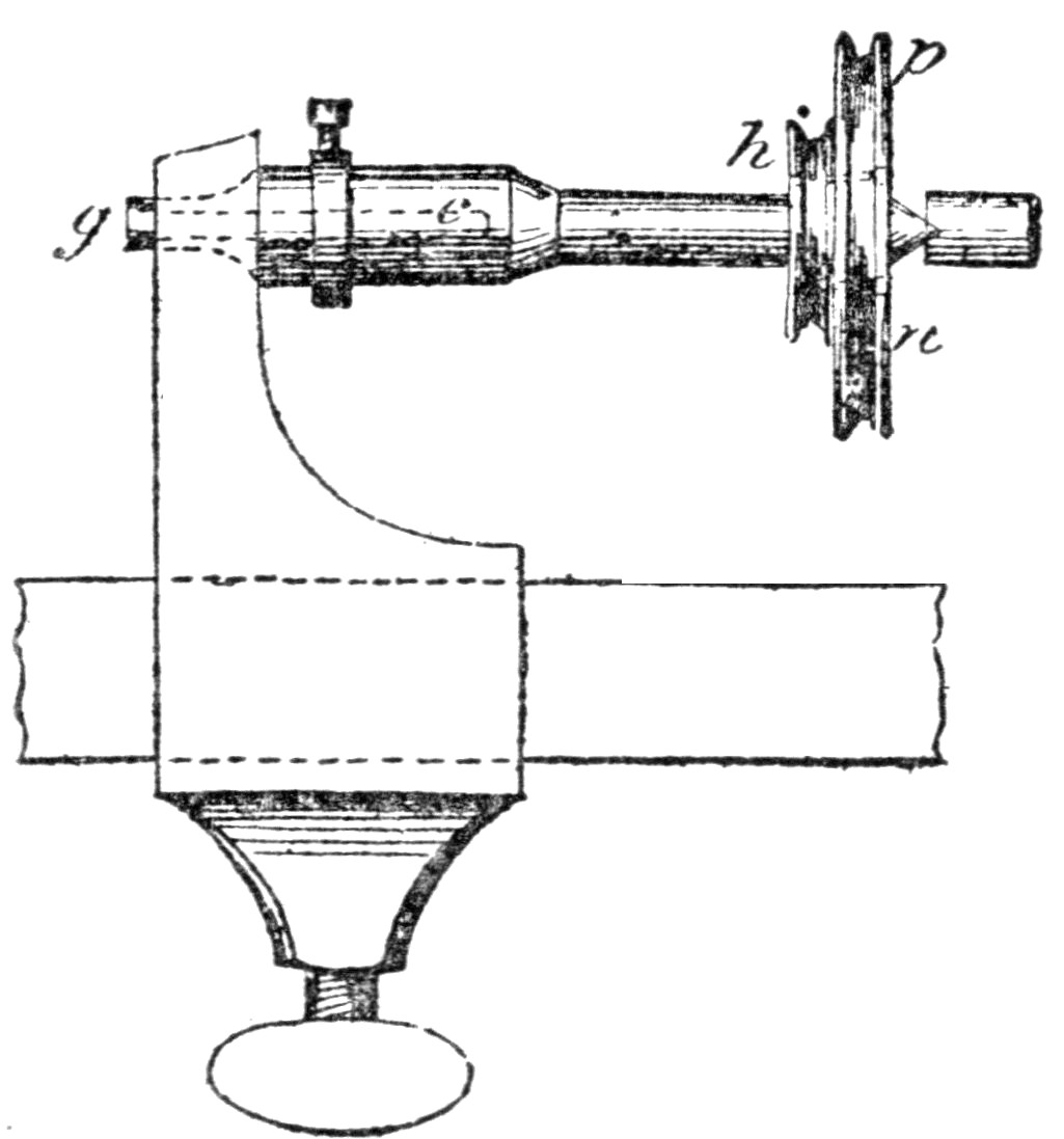
44. This instrument is no more than a simple application of the screw to dividing straight lines, but it will suffice to enable the reader to understand the principles on which the more complicated instruments are based.
A plate, P, fig. 35, supports a bracket a, in which a screw, similar to the one described in paragraph 30, is engaged by means of a collet; it rotates, being supported[49] between this bracket and the small bearing b, that receives the pivot at the end of the screw.
The screw is fitted carefully into a nut n, which is rigidly attached to the small plate h; this carries a fine marker, movable on an axis, and terminating with a chisel edge or a fine diamond point, according as the instrument is to be used for engraving metal or glass; or it may be provided with a fine pencil if the object is merely to make subdivisions on a drawing.
This being understood, it will be evident that, if a rule or rod of any form be fixed by screws or otherwise between f and g, it can be graduated by means of the marker, the screw being made to advance; the millimeter screw can be used for dividing into millimeters and fractions direct, or, with a little calculation, into fractions of an inch. Each complete rotation of the head means a displacement of the marker by a millimeter; a half turn will be half a millimeter, etc.
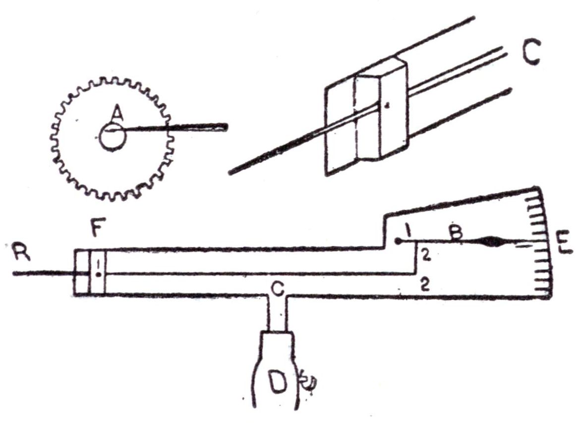
45. First method. Having fixed a sheet of drawing paper on a smooth board, draw the line M N, fig. 36, longer than the rule which is required to be divided. Then, with a compass or graduated scale, mark off a series of equidistant points, commencing at N, equal in number to the required series on the rule, and let M be the last division. With the center N and radius N M describe the circular arc p v, and with M as a center and the same radius, describe a second arc r s, intersecting the first at O. Join O with M and N. Assume a c to be the rule that is to be divided into equal parts; slide it on the paper parallel to M N until the extremities, a and c, coincide with the lines O M, O N, and are equidistant from O. This position can be easily found by the aid of a[50] compass with one of its centers at O. Now fix the rule in position with sealing-wax, or by some other means, and, with a firm upright pin, center the brass rule R at O, so that it can rotate round this center on the pin as a pivot. It now only remains to trace a series of lines O k, O b, O d, etc., with the rule, to the division points of the line M N. The line a c is thus divided into as many equal parts as the line M N. The graduations will be all the more exact according as the divisions of the line M N are longer.
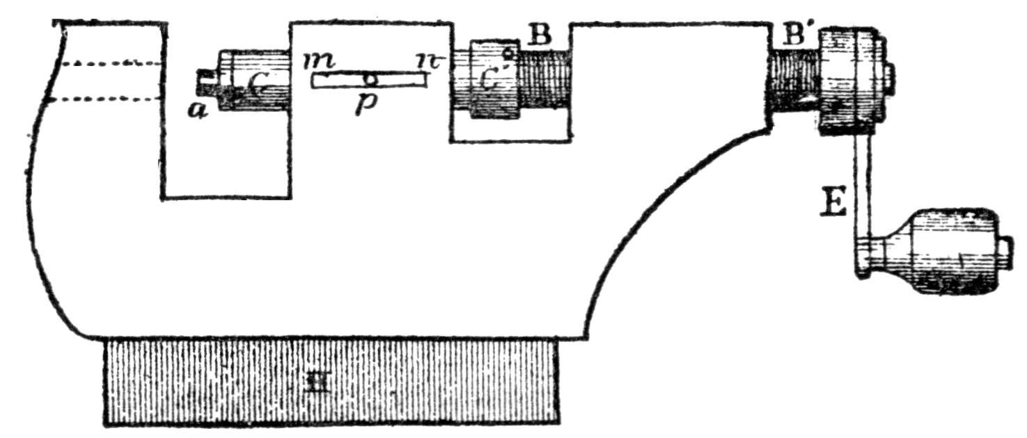
46. Second method. By the side of the chuck of a wheel-cutting engine, arrange a horizontal slide y f fig. 37, that can travel easily in a direction perpendicular to a T. A watch fusee-chain, or a very flexible spring, is fixed by one end to the chuck, and by the other to the slide at d. The chain or spring is kept stretched by a weight which tends to draw the slide from f towards d.
The rule to be graduated, a, is now fixed on the slide, and an initial division is marked on it with a pointed rotating cutter in the position usually occupied by the wheel cutter, or else by striking a small pointed or flat-edged chisel arranged for the purpose, in such a manner as not to be liable to derangement.
Rotate the table through a definite distance; the rule a will advance through the same distance; mark the second[51] division; then having moved the division-plate through a distance equal to its first displacement, mark the third graduation, and so on. Suppose, for example, that it be required to make 30 divisions on the rule between f and d; select on the plate the circle corresponding to twice or thrice this amount, so that the radius of the chuck may not be relatively too short, and that the chain or spring may not act at a disadvantage; take the number 60 for example:
The two marks at d and g on the spring indicate the length that corresponds to the straight line to be divided.
The chuck is placed in the lathe and reduced in diameter until the half circumference is exactly equal to the distance between these two marks on the spring, which thus fall on a diameter, i g, of the chuck.
The spring having been fixed by its two extremities, the slide with the rule attached is placed in position, so that the mark g is on the line a T; it will be evident from the figure that each displacement of the division-plate through one-sixtieth of its circumference will cause a to advance through one-thirtieth of the space between f and d.
Remarks.—Knowing the relation of a diameter to the circumference (as 1 : 3.1416), we can determine the diameter of the chuck at once by calculation.
Its form should be a true cylinder, and it is well to place guides that will prevent the spring or chain from assuming a helical position.
The side that carries the rule should be strictly perpendicular to a T; and the portion of the spring that is not coiled on the chuck should always be parallel to this slide.
The chuck and spring must be quite clean and smooth, and the latter should be very pliable. A greater weight will[52] be needed to keep the spring stretched than will suffice for a chain, and it must be increased as the strength of springs is greater.
The slide, y f, may simply travel over a horizontal surface between pins planted in two parallel lines. But it would be preferable to adopt some other method, for instance, to make this piece (F, fig. 37), travel with a little friction along a perfectly true cylindrical rod.
47. Third method. This is merely an application of the arrangement mentioned in paragraph 44. The lathe can be employed for marking off a series of equidistant points in a straight line. Knowing the pitch of the slide-rest screw, determine the distance apart in, say, millimetres, of the required divisions, and fix the rule perfectly flat on the face-plate, which must be rendered immovable by any convenient means. Then mark the first point with the drill-stock. Advance the screw by the amount previously determined upon and mark the second point. After withdrawing the drill, again advance by the same amount and mark the third point, etc. Always be careful, before making the first mark, that the screw has already traveled some distance in the direction it will continue to move, so as to avoid backlash, or loss of time.
48. To divide the circumference into equal parts. After having drawn the circle, A, fig. 38, draw two diameters, d a, b c, at right angles to each other, dividing the circle into four equal parts. Join the points, c a, and divide the line, c a, accurately into nine equal parts.
Draw a series of circles concentric with the first, at distances apart equal to one of the divisions of c a, and[53] to the number of one, two, three, etc., according as it is required to subdivide the circle, say for a pinion, into seven, eight, nine, etc., equal parts.
With a fine-pointed compass, measure off the radius of the initial circle A. Placing one point of the compass at c, the other point will give the position of the next leaf, and so on, all around the circumference. If the innermost circle A be selected for sub-division, six divisions will be obtained, and there will be one more division for each larger circle.
The operation will be facilitated by selecting the first circle, so that the line a c contains exactly nine divisions equal to those of some scale that is accessible. Such a circle can be easily found, by first drawing the two diameters, laying the scale in the direction c a, and determining by trial the radius for which the first and ninth divisions correspond to a and c respectively.
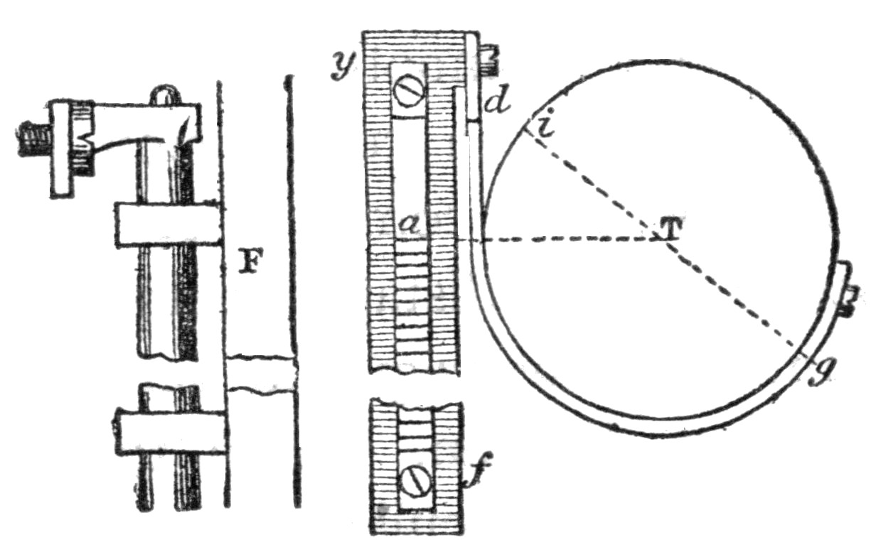
49. To divide a surface into rings of equal or proportional superficial area. The following solution is due to M. Brocot:
Let a d be the radius of a circle (fig. 39), that is required to be subdivided into four rings of equal area by concentric circles. Taking a d as a diameter, draw the semicircumference, a b d; accurately divide a d into four equal parts, and at each point so obtained, erect a perpendicular. Through the intersections of these perpendiculars with the semicircle, draw a series of concentric circles; they will trace out rings, 1, 2, 3, 4, that have equal superficial areas.
[54]
If it be required to divide the surface in a given proportion, divide the line a d, according to that proportion.
The right-hand side of fig. 39 gives a special application of this method to the division into two equal areas of the interior of a barrel exclusive of the space occupied by the arbor-nut. If the mainspring accurately covers i c when wound up, and i j when unwound, it will give the greatest possible number of turns.
50. Solar time is taken from the revolutions of the earth, and the watchmaker can easily get the exact solar time of any point at which he may happen to be by a little calculation from known standards. These standards are: 1. The zenith. 2. The longitude of the point of observation. 3. The difference between noon at the point of observation and noon of a known meridian either east or west of the point of observation. The zenith is that point in the heavens where the rays of the sun are in a plane exactly perpendicular to the surface of the earth at the point of observation, and when the rays of sunlight are in this plane it is noon at that point. The circumference of the earth is divided into 360 degrees or meridians of longitude, so that as the earth revolves once every twenty-four hours, each of these meridians will pass the zenith, or fixed point, in that time. In twenty-four hours there are 24 × 60 = 1,440 minutes, so that the interval between the passage of one meridian and the next will be 1,440 ÷ 360 = 4 minutes. A degree of longitude is divided like an hour, into minutes and seconds, so that
[55]
| 1 degree | of | longitude | equals | 4 minutes | of | time. |
| 1 minute | ” | ” | ” | 4 seconds | ” | ” |
| 1 second | ” | ” | ” | ¹⁄₁₅ or .066 seconds | of | time. |
51. Thus it happens that, at a town one degree east of a given point the sun will be visible four minutes sooner, and if to the west, four minutes later than at that point. The “local,” or solar time, therefore, will be four minutes earlier at the first town, and four minutes later at the second town, than it is at the point of observation.
52. It will be readily seen that, having any two of the three factors given above, the other can be readily found. Thus having the time of a given meridian and the local noon or meridian time, the longitude can be readily found; or, having the longitude (which can be readily obtained from a surveyor) and the time of a given meridian, “noon,” can be calculated, etc. The first method is followed in calculating distances at sea; the chronometer keeping Greenwich time, and the local noon giving the longitude.
When great accuracy is necessary, however, a fixed star is used as a means of observing the exact time when a revolution of the earth is completed, as the revolution of the sun in its orbit causes a slight variation during the year. For further information on this point the reader is referred to works on astronomy.
To obviate the constantly varying time in running east or west, the railroads use the time of a given meridian over each fifteen degrees of longitude, and as each degree of longitude equals four minutes of time, it follows that only the hour is changed in changing from one standard to another. In Europe the zero of longitude, or the time of the meridian of Greenwich is used. In the United States the time of the 75th degree, which passes through[56] Philadelphia, is used from the 67th to the 80th degree, which comprises the territory from Princeton, Maine, to a line drawn north and south, passing through Erie and Pittsburg, Pa., and is called Eastern time. The time of the 90th meridian is used from the 80th to the 102d meridian, and is called Central time. The time of the 105th meridian is used from the 102d to the 114th meridian, and is called Mountain time. The time of the 120th meridian is used from the 114th meridian to the coast (which ends at about the 124th meridian) and is called Pacific time. The time of the various standards is telegraphed through their various territories at noon each day, and furnishes an accurate standard of comparison to all watchmakers.
53. In very many cities the actual or solar noon has been discarded and the railway standard adopted, thus making but one standard and removing the source of confusion and annoyance to many people. In others, however, the two standards are still used, and it becomes necessary for the watchmaker to be able to calculate both standards, in case of accident or irregularity in his regulator. Hence he should calculate his longitude within one second by means of the difference between railroad and local noon, and have the nearest surveyor correct his reckoning; then, by means of the accurate longitude and the railroad time, correct the solar time; then by means of the solar noon and the longitude calculate the railroad time. When all these calculations check each other perfectly, he possesses all the time data he needs for that place, and can correct his standard or regulator if at any time it should become irregular. The calculations are very simple, and can be easily performed from the data given above.
[1] Loomis’ Treatise on Arithmetic.
Loomis’ Treatise on Algebra.
Loomis’ Elements of Geometry.
Robinson’s Algebra and Geometry.
[2] Adapted from Robinson’s Algebra.
[57]
54. Iron is an elementary body, that is to say it cannot be decomposed. It is the most tenacious of the metals, having a breaking strain of about 75 kilo. per sq. mm. (or 106,000 pounds per sq. inch) of section. Two pieces can be perfectly welded together when raised to a white heat.
In the smaller horological appliances, the metal is not employed except after conversion into steel. In common clocks it is used from motives of economy, for forming pins, screws, etc. In turret clocks, however, considerable use is made of it, many of the parts after they are formed being cemented, that is to say, having their surface rendered hard in a manner subsequently indicated (65).
Such a mode of manufacture is particularly applicable to pieces that are subject to a constant succession of impacts; their hardened, steelified surface resists wear, while the iron core affords security against rupture.
It is important to carefully distinguish the cases in which iron is preferable from those in which its substitution for steel serves merely to augment the profits of the manufacturer.
The fracture of a good piece of iron is characterized by long twisted fibres of a brilliant white color.
[58]
If heated frequently or carelessly, the quality of the metal is impaired—it ceases to be fibrous and looses its tenacity: in this condition it is said to be burnt.
It is better to work with a charcoal or gas fire, as coal acts more rapidly in rendering the metal brittle. Cold hammering, or “hammer-hardening,” also makes it brittle and diminishes its tenacity, but this is again restored by a suitable annealing.
Iron dissolves slowly in dilute nitric acid; if not diluted, this acid rapidly oxidizes it. Dilute sulphuric acid dissolves the metal easily, but if concentrated, it has no action in the cold, whereas, on heating to ebullition, the iron is dissolved with evolution of sulphurous acid gas. It is also dissolved by hydrochloric acid, or aqua regia.
Iron is less magnetic than steel, especially hardened steel, which, owing to its great coercive force, is magnetized with greater difficulty, but retains its magnetism for a longer period. Indeed, soft iron, if properly prepared, can be magnetized and demagnetized instantaneously.
Some workmen can distinguish iron from steel by the musical note emitted on striking. A more certain method, however, consists in using dilute nitric, or sulphuric acid. If the surface remains unaltered, or nearly so, when touched with a drop of either acid, the metal is iron, but, in the case of steel, a black mark will be left, owing to the liberation of carbon.
55. To Remove Rust. The usual mode is to rub the object with a piece of oiled rag, or emery paper. It appears that more rapid and more satisfactory results are secured by using very pure petroleum, and wiping with a hempen or woolen rag.
56. To Prevent Rust. Dip iron or steel articles in a mixture of equal parts of carbolic acid and olive oil,[59] rubbing the surface with a rag. Others rub the metal with a mercurial ointment, leaving a thin layer over the entire surface. It is stated that, if iron be dipped in a solution of carbonate of potash or soda in water, the surface will be protected against rust for a long time, and objects can be protected for any period by burying in quicklime. Rubbing the surface with plumbago has a similar effect, and Barff has pointed out that, by exposing iron to the action of steam, heated above the boiling point of water, a coating of magnetic oxide of iron is formed, which is equally serviceable.
57. To restore iron and steel that has been burnt, or badly forged. When iron is burnt, or carelessly forged, it becomes crystalline and brittle; in order to restore it to its original condition, a fresh and very careful forging is generally needed. This can be avoided by having recourse to the following method, suggested by Caron: it consists in treating the metal somewhat after the manner adopted in hardening steel.
He experimented with a bar of good iron, which was easily bent when cold, without breaking or showing any cracks. It was then burnt and became brittle when cold, the fractured surface showing brilliant shining facets.
Prepare a boiling saturated solution of sea-salt, heat the piece of iron to a bright redness, and plunge it into the bath until it is of the same temperature (about 110° C. or 230° F.) After undergoing this operation, it is found that the metal can be easily doubled in the cold, exactly as it did before being burnt.
Perret states that steel which has been deteriorated by frequent hardening can be restored as follows: Heat it short of dull redness and quench in melted tallow, repeating the operation, if necessary, when the steel may be[60] again hardened in the ordinary manner, and will be nearly, if not quite, restored to its original condition.
58. This is only used in the manufacture of tools and large clocks; the employment of cast iron wheels in the striking train of such clocks has materially reduced their price.
Like steel, it is a compound body, consisting mainly of iron and carbon. Cast iron, however, differs from steel in the quantity of carbon present, for, whereas its proportion in cast iron varies from 2 per cent. upwards, there is never, in steel, an amount exceeding 1.5 per cent., and even .5 per cent. renders an iron hard, converting it into “mild” steel.
Cheapness is not the only argument in favor of the use of cast iron. In virtue of its molecular structure, this material offers a considerable resistance to a crushing strain, so that the teeth of wheels, made of carefully selected cast iron, will work for a long time without sensible wear; moreover, the founder’s art has made such important advances that there is no difficulty in casting, to a constant pattern, a wheel, together with the pinion that it carries, and any other projections, etc., that may be required; this economizes labor to a very great extent.
The use of cast iron in the construction of certain classes of wheels, and parts of tools, presents advantages which we cannot afford to ignore; but it must be carefully observed that this material is not suitable in cases where great accuracy in the acting parts is required, as it cannot, like brass and steel, be conveniently worked by the turning tool or file. In recent years, however,[61] this difficulty has been overcome by the introduction of what are termed “malleable castings,” produced as follows:
59. Malleable Castings. The object is first made of ordinary cast iron, and the invention consists in rendering this malleable by the removal of the carbon that has served the very important purpose of rendering the metal fusible. In large cast iron pots, the castings are laid with alternating layers of powdered red hæmatite, and the whole is kept at a temperature of about 900° C. (1,650° F.), or cherry-red heat, for 72 hours. On cooling, the castings are found to consist of nearly pure iron, and to be perfectly malleable, and, therefore, workable.
60. The treatment of steel involves some of the most prolonged and delicate operations in the entire range of horology. If the metal is badly selected and prepared, the working of it will be laborious, difficult and unsatisfactory; the resulting object will be distorted in the hardening, and will not harden uniformly; in short, it will occasion much toil and loss of time, with very little success.
Let the young watchmaker accustom himself from the first to study the steel that he uses, so that he may be thoroughly cognizant of both its advantages and defects; he will, in the practice of his art, be amply repaid for the brief time spent in making such an examination.
61. Steel is not an elementary body; it is usually regarded as a carbide of iron, that is to say a combination of carbon and iron. Analysis, however, proves other substances to be usually present in almost infinitesimal[62] quantities; their remarkable influence on the physical properties of the metal has not yet been fully investigated, but much attention is being devoted to them at the present day.
The varieties of steel are very great. What are known as puddled and natural steel are obtained by acting directly on cast iron. Cementation is a very old method of converting bars of malleable or pure iron into steel by enclosing them in charcoal and heating the whole for several days, until the carbon has worked itself into the center of the bars in such quantity as to covert the iron into steel.
The steel obtained by the above method is very heterogeneous; in other words, the composition is not uniform throughout a given block or bar. One part is highly carbonized, whereas another part, especially towards the center, will not be sufficiently so. The grain, although very fine in one part, will be more coarse in another; hard particles of pure cast iron, termed “pins,” are to be met with that resist the action of the graver or the file and give rise to cracks in the hardening, hammering, etc., and portions or sometimes even entire layers that have taken up no carbon whatever. The differences in the density, hardness, malleability, etc., that can be shown to exist at different points in the same bar arise from this cause.
Such faults can in part be corrected by shearing, an operation which consists in binding together a number of bars in a bundle, raising them to a red heat and beating them with sledge or steam hammers so as to weld them into one. The bar thus obtained is again heated, folded several times on itself, again hammered, rolled, etc., when it is termed shear steel. If these operations are performed carefully and without a too great heat, the quality of the[63] steel is much improved; it is more homogeneous and can be worked with greater facility.
62. The discovery of the earliest method of producing cast steel, thoroughly homogeneous, was made by a watchmaker, B. Huntsman, of York, and metal produced by his method is very highly prized at the present day. Many other methods have been since introduced, amongst which may be mention the Bessemer and the Siemens-Martin processes, and steel is now produced from iron of very varying quality, so that the mark cast steel is now far from being a guarantee of quality. The fusion of shear or cement steel will only secure a marked superiority in its quality under two principal conditions: (1) The metal must be carefully selected, since certain qualities do not intermingle thoroughly. (2) Very great care and skill must be devoted to all the operations, the successive heatings, forging, rolling, etc.
In short, in the case of steel it is exceptionally true that we must never accept the metal merely on its own recommendation. Whatever maker’s mark is selected, the results obtained will never be satisfactory unless the degree of hardness, the elasticity, cohesive force, etc., are such as will suit the metal to the special purpose to which it is to be applied as well as to the working it will have to undergo. Experiment can alone make us fully cognizant of the qualities of a steel.
63. All steels, if of good quality to begin with, will deteriorate if subjected too often or too long (according to the character of the metal) to the action of either the fire or the hammer. They will become brittle and incapable of hardening, in the end even reverting to the condition of iron.
[64]
The quality of steel becomes worse as the number of flaws, blackish filaments, more or less carbonaceous veins, and occasional particles of pure iron in its substance are greater; as its surface is cindery, that is to say spotted with minute black marks which become more prominent after polishing, etc.; as its fracture presents an uneven grain, etc.
Such a metal is found to vary considerably as regards hardness, elasticity, etc.; not being uniformly affected in the hardening, it becomes difficult to work with the file and almost impossible to form into a perfect cylinder in the lathe.
Other conditions being equal, these faults are characteristic of natural steel rather than of the two other varieties. At the same time, if well sheared, it becomes very elastic, and has the great advantages of not being deteriorated under the hammer and of being less ready than the other varieties to be converted into iron.
Rolling, wire-drawing and hammering occasion a molecular re-arrangement; it is necessary, therefore, to anneal the metal from time to time, as otherwise it becomes brittle or cracks.
There is a certain temperature, corresponding to each variety of steel, which cannot be exceeded without the metal being injuriously affected; this temperature must, then, be previously determined.
The grain of a piece of steel that has been superheated or burnt is characterized by brilliant diamond-like particles; the mass loses its beautiful color, and resembles iron more or less according to the degree of heat applied.
Some few workmen are enabled, by long experience and a very delicate touch, to judge approximately of the quality of a steel from its weight, feel, and resonance. Metal that is of a good quality, homogeneous, and very dense, they term full.
[65]
64. Natural Steel. In the case of natural steels of low quality, the fracture is usually characterized by uneven grains, a somewhat fibrous nature and a bluish tint. The grain becomes finer and more even and the surface presents more and more the appearance of a piece of coke, as the quality of metal improves. In addition to these distinctive features a natural steel of high quality can be distinguished by the fact of its being more thoroughly hardened and less liable to break when hard.
In hardening it must be raised to a higher temperature than cement steel; in other words, steel of a low quality must be heated somewhat above bright redness, while the better qualities should be heated to an orange-red, or nearly so (77).
65. Cement Steel. The cement steel ordinarily met with has a lamellar fracture, the lamellæ varying in form and color from the center towards the circumference. The grain is usually finer and more uniform than that of natural steel, there is seldom any appearance of fibres, veins, or flaws. The color of the fracture is greyish, tending towards blue in the ordinary qualities.
The better qualities are marked by a closer grain, a more uniform, dull, greyish-white color, exhibiting neither streaks or black spots after hardening, and by the further fact that hardening can be effected at a lower temperature. If of the very best quality, it should not require heating beyond a clear cherry-red; often even a still less degree of heat will suffice.
66. Cast Steel. Cast steel is the most homogeneous, full, and beautiful of the three classes. Several varieties exist. The fracture of cast steel, as compared with others, is smooth, compact, and of a white-grey color, resembling[66] coke. The grain is fine and very even. The metal must be hardened at a temperature much lower than can be safely applied to other classes of steel, since it is rapidly deteriorated by heat.
Cast steel is more fusible than ordinary steel, and will fracture with ease under the hammer when heated to a blue tint, so that great care is essential in hammering it.
The metal should never be heated beyond a dull or cherry-red heat, lest it be burnt.
The tenacity will be increased by forging at a low temperature or even by cold hammering.
The fineness in grain, together with its high density, afford an indication that the metal can be rendered very uniformly hard; that very fine cutting edges and the most minute rods can be made of it; and that, after hardening, it can be highly and uniformly polished; in other words, that it does not exhibit spots or streaks differing in color from the mass, as is always the case with natural and cement steels. For most horological purposes (such as making pinions, staffs, pivots, etc.) cast steel is preferable. It is the only kind that can with certainty be highly polished, turned perfectly round, and that does not get distorted in the smoothing. Moreover, when wear does occur it exhibits less irregularity.
Highly-carbonized shear steel exhibits a fine, close grain that would make it easily mistaken for cast steel. They can be best distinguished by the application of dilute sulphuric acid. The side of the bar when acted on by this means exhibits lines that indicate the junctions of the several layers constituting shear steel.
67. It is unnecessary to observe that as we are writing mainly for the use of practical watch and clockmakers, we shall make no reference to those elaborate systems of[67] testing that form a remarkable feature of the engineering of the present day, but shall confine ourselves to the tests which workmen can apply for themselves.
When the grain is fine, close and homogeneous, the fracture in even curved lines and the surface of a uniform grey aspect, the metal is considered to be of good quality. It is, nevertheless, unsafe to rely too much on such indications, for a steel that has been hammered until cold will exhibit a fine close grain, whereas the grain of the same metal will be coarse and open if it was still red hot when the hammering or rolling was concluded. The grain of hardened steel, moreover, depends on the degree of heat to which it has been subjected.
When of equal quality, even if from the same maker, the grain will be finer in bars of small dimensions than in those that are larger.
Cast steel even, especially in large pieces, is not always perfectly homogeneous, as can be easily perceived on applying the file, or still better, in the lathe; an object can with difficulty be turned perfectly round, and loses its shape in the smoothing. As a general rule it is impossible to form a reliable opinion on a specimen of steel until after it has been worked, filed, turned, and tested according to the particular use to which it is to be applied; for a steel that is excellent for making, say, a spring or a cutter, may be quite unsuitable and give most unsatisfactory results if used for making staffs or fine pivots, or the converse may be equally true.
As a preliminary test, break a piece of the metal; after having examined the fracture, form a cutting edge, harden to what seems to be a convenient degree, then sharpen and employ for cutting small pieces of iron. If the edge is in no way damaged by the iron, this may be taken as a good indication that the metal possesses body and[68] tenacity, and that it can be hardened as much as is required for such purposes.
The following are methods of obtaining more complete information as to the homogeneity, the character of grain, the degree of hardness a given sample can attain, as well as its malleability, body, elasticity, etc.
68. Homogeneity. Place drops of dilute sulphuric acid equidistant along the surface of a bar. If the metal is homogeneous all the drops will impart the same color.
Cold hammer or hammer-harden, and then fire-harden part of the bar. Break off the extremity in order to study the fracture; if the result of this examination is satisfactory, polish the hardened end carefully, and with the aid of a glass again examine into the homogeneity of the metal. The polish will be the better and more uniform according as the steel is more homogeneous.
69. Grain, hardness and temperature of hardening. All varieties of steel do not harden to the same degree, and each requires to be heated to its own particular temperature for hardening; moreover, the character of the metal, its color, and the size of its grains vary according to the degree of heat to which it is subjected. It would be difficult to draw any exact conclusions as to the character of grain and the hardness without the following practical method, which we owe to Reaumur:
At a temperature not exceeding a dull redness, forge a piece of the steel to be tested into the form of a razor-blade, that is to say, leaving it thick on one edge and thin on the other, in the direction of its length. Then heat the blade, holding it by one end, and when the other end has reached a bright red heat, plunge the whole into water. Part of the steel will then be hard hardened.[69] Along the entire length of the thinner edge carefully break off the metal with a hammer or otherwise, and examine the character of grain at different points of the exposed thicker edge thus left.
As the form, color, etc., of the grain depend on the degree of heat to which each portion was subjected, it follows that we shall observe four types of grains: (1) Large, white, sparkling grains; (2) Grains that are medium sized and intermixed, some being white and sparkling, others white and dull; (3) Fine dull grains; and (4) Grains that are medium sized, but dull and ill-defined.
According as the third class of grains is observed to be more numerous than the second class, so is the fineness of the steel greater, and conversely.
This method of testing possesses, moreover, the advantage that the workman can experiment on his blade of steel with a view to determine the temperature best suited for hardening.
Grain No. 1 corresponds to a white-red heat for hardening.
Grain No. 2 corresponds to an orange-red heat for hardening.
Grain No. 3 corresponds to some shade of cherry-red heat for hardening.
Grain No. 4 corresponds to a dull red heat for hardening.
As there is some difficulty in remembering the exact points at which these several temperatures are reached we will complete this account of the mode of testing by the following:
70. On a thick plate of metal, maintained at an orange-red heat, place three fragments of the steel under examination, previously marking them, so as to observe the[70] order in which they are immersed in water; and have three vessels of water standing near. As soon as one of the pieces reaches a dull cherry-red heat, allow it to slide into one of the vessels; heat the second to a medium cherry, and the third to a bright cherry-red, introducing them in succession into the water-vessels. If these pieces be examined as to the resistance they offer to breaking, and the fracture of each be compared with the fracture at different points of the razor-blade, the file being used to test hardness, we shall have sufficient evidence as to the most suitable temperature for the hardening of this particular variety of steel.
71. Body. A steel that possesses body is not brittle. This quality may be tested in the following manner: Several bars of different kinds of steel, of equal dimensions and hardened as uniformly as possible, are bent until the breaking point is reached. If all the conditions of the trial are identical, those bars that stand the greatest angular deflection without breaking have the most body.
Steel that possesses body does not break as easily as that which is wanting in body. Its fracture will be, as it were, bevelled off like the mouth-piece of a whistle. If soft and fibrous, it will be characterized by parts being torn asunder.
72. Elasticity. The elasticity may be tested in a similar manner. It is proportional to the curvature or to the weight that a rod or blade of the metal under examination can support without failing to return to its initial position as soon as the weight or obstacle is removed. A sample of steel that is distorted by a weight that another specimen resists, is evidently inferior in elasticity.
73. Malleability, tenacity, ductility. A cold hammering, if carefully managed, will suffice to indicate the[71] limits between which steel will support frequently repeated percussion, without breaking, cracking or flying.
Forge a piece, introducing it a number of times into the fire in order to ascertain whether it loses its distinctive characteristics rapidly, and whether it can be successfully forged.
It is more difficult to forge, according as it is harder and more “steely.”
The degree of malleability is indicated by the manner in which it supports hammering and rolling, and by the smallness of the dimensions to which it can be brought by such operations.
Passing the metal through a draw-plate with smooth holes, or tapping it in a screw-plate will give useful indications as to degree of ductility and tenacity.
A metal is said to be malleable when it can be easily spread out under the hammer or in the laminating rolls. It is called ductile when it can be reduced to very thin wire by passing through the draw-plate.
It would seem that these two properties, ductility and malleability, should always exist together, to the same degree, in any given metal, but such is not the case. Iron can be drawn into very fine wire, but cannot be reduced to sheets of relatively equal thinness; tin and lead give leaves of extreme thinness, but cannot be drawn out into very fine wires; gold and silver are both very malleable and ductile, and they rank highest as regards the possession of these properties.
Steel is more fusible and malleable than iron, but less ductile.
74. Observations. Formerly the makers of cylinder escapements preferred forged steel, and their cylinders often cracked after the hardening: modern makers employ drawn steel, and it is much preferable. At the same time[72] they do not appear to recognize the principal reason for the difference in the two varieties of steel. It seems to us to be as follows: forged steel is malleable; drawn steel, which has passed well through the draw-plate, is ductile, and, therefore, tenacious. But tenacity in a metal is nothing else than an exceptional resistance, opposed by its particles to a fracture or separation; it follows, then that drawn steel will crack with less facility than the other.
75. When a variety of steel has been selected that possesses the requisite properties: that is to say, fibre and elasticity for springs; body and tenacity for circular cutters, gravers, etc., it must be prepared; in other words, it must be made so that it can be worked with ease, for steel that is badly prepared will resist both the file, the graver and the drill. It can never be turned perfectly round, and will harden unevenly.
76. To anneal steel. The commonest, and at the same time best, method consists in heating the metal to a dull, red heat, burying it in hot ashes and allowing it to cool slowly.
Steel raised to a red heat in contact with air loses a portion of its carbon, so that it is better to place the metal in a vessel of burnt clay; this is introduced into a fire which must not be too bright at first, and when the vessel has attained a red heat the fire is checked and left until the whole is quite cold.
In order to soften steel by annealing with a view to work it, engineers entirely cover the metal with dry powdered wood charcoal or dry iron filings or turnings, in a cast iron box or pot, or in a crucible, shutting up all the openings so as to protect it from the direct action of the[73] fire and from the air. The vessel is then put in a dull fire, the heat being gradually raised until the whole has acquired the requisite temperature, which is known by observing the color (see the following table); this degree of heat is maintained for about ten minutes and the fire quenched, after which it must be allowed to gradually die out. Frequently the cooling is not complete for a day or two, and even more when the crucible is of large dimensions.
The metal will become softer, according as the cooling is more slowly effected. It is generally heated to 800° or 900° C. (1500° or 1600° F.), a cherry-red heat. When the steel is associated with brass, as in the case of a compensation balance, it is not safe to exceed 600° C. (1000° F.)
77. It will be useful here to give the following table, compiled by Pouillet, of the temperature, as indicated by the air-thermometer, corresponding to various colors of a heated body:
| Incipient red | heat | corresponds | to | 525° C. ( 980° F.) |
| Dull red | ” | ” | ” | 700° C. (1280° F.) |
| Incipient cherry-red | ” | ” | ” | 800° C. (1470° F.) |
| Cherry-red | ” | ” | ” | 900° C. (1650° F.) |
| Clear cherry-red | ” | ” | ” | 1000° C. (1830° F.) |
| Deep orange | ” | ” | ” | 1100° C. (2010° F.) |
| Clear orange | ” | ” | ” | 1200° C. (2190° F.) |
| White | ” | ” | ” | 1300° C. (2370° F.) |
| Bright white | ” | ” | ” | 1400° C. (2550° F.) |
| Dazzling white | ” | ” | ” | 1500-1600° C. (2730-2910° F.) |
78. Annealing or softening in water. Instead of allowing a piece of steel to cool slowly, it may be thrown into water when heated to a temperature just below that at which it would harden. In this case the metal will not[74] harden, but, on the contrary, become very soft. A single operation suffices for certain varieties of steel, but with others it must be repeated.
The only difficulty consists in fixing upon the precise moment at which the metal has the requisite tint (a purplish yellow or dull red), and this is more especially felt when dealing with small pieces; experience can alone guide the workman in this matter.
A skilful workman recommends the employment of water containing one-fifth of its weight of gum arabic. He also recommends that the metal be wiped over with an oiled rag, then held in the fire, and, as soon as the oil is converted into a thick smoke, and is on the point of igniting, to immerse in water.
79. Hammering steel. Watchmakers who are called upon to manipulate exceedingly small pieces of steel, can somewhat increase the body and homogeneity of the metal by a cold hammering. After annealing, the object is hammered with light, uniform blows, again annealed, and the same operation is repeated one or more times, according to the degree of malleability already acquired by the metal. Steel thus prepared has more body; the particles composing it are more closely pressed together; it files and turns well, can be heated more evenly, and is not distorted or only very slightly in hardening, providing the requisite precautions are taken.
80. The hammer and anvil. It is important that in these operations the surfaces of the hammer and anvil employed be perfectly smooth and even polished. If they are rough or cracked, if they are uneven or have a grained surface, a flaw will be produced in the body of the steel or a crack on its surface.
[75]
81. To clean rough steel. The black coating known as “scale,” which covers the surface of the metal after it has been in the fire, will rapidly spoil gravers and files, and, in addition to this, it leaves behind in them excessively hard particles that will become imbedded in the steel itself after a clean surface has been exposed. It is then essential, in order to ensure good and rapid workmanship, to previously remove this crust from the surface.
This can be done in two ways: by using a rapidly-revolving grindstone, which instantaneously removes the oxide, at the same time smoothing the surface of the steel; or by leaving it for a sufficient length of time in dilute acid, by which the superficial oxide is dissolved.
Sulphuric acid is usually preferred; in addition to the cleaning, it is said to produce an effect somewhat similar to annealing. On withdrawal from the acid, the steel must be thoroughly washed with water and wiped dry with care.
82. Ordinary mode of preparing steel. When the metal has been annealed by one of the methods indicated above, its preparation is completed by “pickling” in acid, after which it is hammered cold between an anvil and hammer (79, 80). When the metal has been worked, it is heated to a bluish tint, and after cooling slowly is ready for the hardening.
83. M. Covillot’s mode. This author adopts a method whereby he obtains steel that is very soft to work and perfectly free from hard grains or “pins” of cast iron, which are so often to be met with in steel, causing it to crack in consequence of their inability to spread under the hammer.
Take some garlic, the younger the better, mix it with sufficient good walnut-oil to cover the garlic and form[76] into a paste; then place it in an earthenware pot on the fire. When beginning to boil, heat the steel to dull redness and plunge it into the boiling paste. Withdraw it with a quantity of oil and garlic adhering; again heat to redness and plunge into the paste. This operation may be repeated two or three times. Then heat the steel, while inclosed in an iron tube or box placed on the fire, and allow the whole to cool. Finally, the steel may be finished by setting it to cook (if we may use such an expression) for ten or twelve hours in the composition of garlic and nut-oil.
The last operation may be performed by setting the boiling solution over an oil-lamp, after depressing the wick in such a manner that the paste may be kept just simmering.
M. Covillot employed the same mixture for hardening the objects; but then, of course, it must be cold.
84. It is well known that by the operation of hardening, which consists in heating a piece of steel to a red heat and immediately chilling it, the hardness is very materially increased.
Hardening increases the dimensions of the object. A steel collar adjusted to fit a cylinder will slide on more easily after hardening.
Rolled steel is more liable to be distorted in the hardening than metal which has been forged or hammer-hardened. As a general rule, when steel—especially cast steel—has been carefully annealed, cold-hammered and, after working, heated to a blue temper and slowly cooled, it will not be distorted in the hardening, providing the heating is skillfully conducted, and if, at the moment of introducing the object vertically into the bath, the heat[77] is evenly distributed throughout. Some practical men affirm that the mere presence of an oily layer on the surface of the water will check the tendency to distortion.
A workman frequently pretends that he has some exceptionally good solution for hardening, of which a great mystery is often made; but it is very generally admitted by those who are well-informed that these so-called secrets are a delusion and in no sense superior to pure water. There is a certain amount of truth on both sides, and the former class are somewhat justified by experiments with the various solutions enumerated below. We may, however, lay down the three following conditions as essential to the successful conduct of the operation of hardening: (1) The steel must previously be carefully prepared and worked; metal that has been skillfully hammered cold or below a red heat, for instance, will harden better than when not so treated; but if hammered too much or carelessly, it will crack; (2) The method of heating should be such that the heat is evenly distributed throughout the object; if, on immersion, its temperature is not uniform, the degree of hardness will vary; (3) The skill of the workman must enable him to detect the exact degree of heat the variety of steel can withstand, and this must on no account be exceeded, for in that case the steel will lose tenacity, will be more or less burnt, &c. In the case of irregular shaped articles, considerable skill is often needed to ensure that the several parts of the mass shall be cooled at, approximately, the same rate.
85. Methods of hardening. The baths used for hardening may be classed under three heads: Tough, Hard, and Glass-hard. It must be understood, however, that these classes may be made to merge more or less into one another, by varying the degree of temper.
[78]
85a. The following receipts are drawn from various sources, and the reader is recommended to select the one which he finds on trial to be best adapted to his requirements, for, as Prof. Akerman has pointed out, there are very many conditions exceedingly difficult of calculation that influence hardening, and hence it follows that a workman accustomed to hardening often considers that only one method, which he has been in the habit of employing, can be used for a certain purpose, while another equally skillful workman can only attain the same result by a method essentially different.
I. Tough. Tallow; tepid water; oil; resin; sealing-wax; lead; beeswax; a solution of 3 to 4 parts (by weight) of gum arabic in 100 parts of water; 1 part of soft soap in 100 parts of water; cold water with a layer of oil over it, the thickness of which varies with the degree of hardness required; 10 parts mutton suet, 5 parts resin, 2 parts sal-ammoniac, and 35 parts olive oil.
II. Hard. Cold water; water containing various salts, such as sal-ammoniac and sea-salt; a solution of 5 parts sea-salt and 1 part sal-ammoniac in 20 parts of water; 4 parts sulphuric acid, 50 parts sea-salt, 10 parts alcohol, and 1,000 parts water (all by weight); 4 parts sulphuric acid, 1 part nitric acid, 1 part pyroligneous acid in 1,000 parts water (to be used very cold).
III. Glass-hard.—Mercury; nitric acid; opium; any cyanide.
86. As a rule it is well to employ tallow for the hardening of small objects in which hardness without brittleness is needed. Oil renders the surface harder than the interior, and soapy water has the same effect. Saline solutions generally give great hardness. Very minute[79] drills may be hardened by simply whisking them about in the air after heating the blade to redness, and small objects may be hardened by pressing between two cold surfaces, as those of the hammer and anvil.
If hardened in nitric acid, opium, or mercury, the hardness of steel is so great that it will easily cut glass. But such steel is brittle and all the more delicate according as the precise temperature necessary (which is not very high) has been exceeded. For it must always be borne in mind that steel which has been heated too highly has deteriorated in quality and will remain brittle.
87. Precautions to be observed in hardening. In the case of delicate pieces it is necessary to avoid the use of the blow-pipe, as the current of air causes the surface to scale, and, as is well known, the metal being unevenly heated will be distorted in the hardening, and will not be uniformly hardened.
It is better to enclose the article between two pieces of ignited charcoal, or in a metal tube, or to bring it in contact with a sufficiently hot piece of metal, etc. An excellent plan is to heat the article in a bath of hot lead, or of lead and tin in proportions dependent on the temperature required. The heating is thus exceedingly uniform, and, if operating in a dark room, the temperature can be accurately judged.
When it is required to harden an object without discoloring the surface or destroying the polish, it may be placed in a tube, and completely surrounded with powdered wood charcoal, or, preferably, animal charcoal. The whole after being heated is plunged in water without the steel being in any way exposed to the air. The powder must be heaped up as a precaution against access of air. On being taken from the water, the steel is at[80] once placed in alcohol, and if at all dull it will generally be only necessary to rub the surface with a little rouge.
It is essential that the animal charcoal be previously heated in order to expel moisture, as otherwise it would adhere to the surface and produce marks and even irregularity in the hardness.
As a rule the object must be immersed in the cooling liquid vertically in the direction of its greatest length, and if of unequal thickness, the stout portion should touch the surface first, so that the metal may cool more uniformly. In hardening large masses of steel, various devices are resorted to in order to insure uniformity in the cooling, but space prevents us from entering more fully into this interesting question.
The vessel must be of such a depth that the object will not reach the bottom until quite cold. It is liable to distortion if introduced sideways, or if the vessel is too shallow.
The method described above for protecting the surface from the action of the fire should be adopted when hardening delicate or complicated articles; but in the case of drills, for instance, a simple coating of one of the following preparations is sufficient.
When an object is hardened in a saline solution, it is well to cover it with a paste composed of water, salt and flour (some use yeast and salt for this purpose), or a thin clay. This precaution prevents any blistering or oxidation of the surface. If it be desired to avoid oxidation, and, at the same time, to restore to the steel the carbon it has lost owing to the action of the fire, it must be rolled, while still wet, in another paste, containing powdered horn or leather, or some such calcined animal matter. Delicate parts can also be protected by a layer of beeswax and olive oil made hot.
[81]
In hardening small drills, very good results are obtained by enclosing the blade in a pellet formed of prussiate of potash, lard and Castile soap, and cooling in beeswax, or the surface may be protected by a layer of soft soap.
Steel as forged, that is with the thin scale on, is less liable to break in hardening than if previously brightened, for the scale causes it to cook, and, therefore, contract more slowly. At the same time it should be borne in mind that when the surface is bright the hardness will be somewhat greater.
It will be well to warn the beginner that, if an object is not entirely immersed in the cooling liquid, it should never be held still, but rapidly moved up and down, as otherwise there is a liability to crack at that part which was level with the surface.
As a watchmaker only uses steels of the best quality, he should, in hardening never exceed a cherry-red heat, and cherry-red comprises three distinct tints (77); incipient cherry-red, cherry-red, and clear cherry-red. The second of these should not be exceeded in hardening cast steel, and the third should be taken as an extreme limit in the case of shear steel.
Ice-cold water should never be employed, but the extreme chill should be first taken off. Indeed, it is found that frosty weather interferes materially with the operation of hardening.
Some workmen maintain that the hardening is done better if the water has been long used for the purpose without renewal.
88. Hardened steel is extremely fragile, but its tenacity may be restored by tempering, that is to say, by heating it to a degree dependent on the amount by which its[82] original softness has to be restored. The color of the metallic surface will gradually change as the temperature rises, each tint corresponding approximately to the degree of heat given in the following table (Stodart):
| 1. | Very pale straw yellow 220° C. (430° F.) | } | Tools for metal. |
| 2. | A shade darker yellow 235° C. (450° F.) | } | |
| 3. | Darker straw yellow 245° C. (470° F.) | } | Tools for wood and screws, taps, etc. |
| 4. | Still darker straw yellow 255° C. (490° F.) | } | |
| 5. | Brown yellow 260° C. (500° C. 500° F.) | } | Hatchets, chipping chisels and other percussive tools, saws, etc. |
| 6. | Yellow, tinged slightly with purple 270° C. (520° F.) | } | |
| 7. | Light purple 275° C. (530° F.) | } | |
| 8. | Dark purple 290° C. (550° F.) | } | Springs. |
| 9. | Dark blue 300° C. (570° F.) | } | |
| 10. | Paler blue 310° C. (590° F.) | } | Too soft for the above purposes. |
| 11. | Still paler blue 320° C. (610° F.) | } | |
| 12. | Still paler blue, with tinge of green 335° C. (630° F.) | } |
89. It will facilitate the precise determination of these points if it be remembered that
| An alloy of | 1 part lead and | 1 part tin (by weight) | melts at | 196° C. (385° F.) |
| Metallic tin | ” | ” | ” | 230° C. (446° F.) |
| An alloy of | 2 parts lead and | 1 part tin | ” | 240° C. (465° F.) |
| Metallic bismuth | ” | ” | ” | 270° C. (520° F.) |
| An alloy of | 5 parts lead and | 1 part tin | ” | 290° c. (550° F.) |
| Metallic cadmium | ” | ” | ” | 310° C. (590° F.) |
| Metallic lead | ” | ” | ” | 320° C. (608° F.) |
90. Before proceeding to temper an object, at least one of its faces must be smoothed with pumice-stone, oilstone dust, or emery paper, and the surface must be left perfectly clean, care being taken to avoid contact with the fingers, as otherwise it will be difficult to ensure the requisite tint being obtained.
Tempered to any shade between Nos. 1 and 6 the steel will, if previously well hardened, be left too hard to be worked by a file or graver; heated beyond No. 10, it can no longer be much bent without distortion.
When the quality and the degree of hardness of steel differ, the temper corresponding to a given tint will also vary. As a rule, hardened cast steel, tempered to No. 8,[83] will be found as soft as natural steel which has been let down to No. 9, or even to No. 10.
A piece of steel can be let down to the same tint several times in succession without altering its properties.
If a good and uniform color is desired, the steel must be highly polished, as the oxidation of rough parts will render the tint irregular. The rouge employed must not be too dry, and, if the burnisher is used, care should be taken that it acts on the entire surface. Metal of a bad quality, which will not take an even polish, can rarely be nicely blued.
When the object is finely smoothed with a uniform white surface, very good results may be obtained; but in such cases the cleaning must be carefully conducted, as the presence of minute greasy particles will always render the color irregular, and may even entirely prevent its appearance.
A uniform color can only be obtained by heating the object in such a manner that its temperature is raised evenly throughout.
The tempering may be performed by placing an object on the bluing tray, a thin metallic plate, often covered with a thick layer of fine brass filings, which should be renewed for each operation; or on a thick piece of metal previously heated to a sufficient degree; on ignited charcoal covered with a layer of white ash; in a bath of molten metal, the temperature of which corresponds to the requisite degree of heat, or the object may be laid on the surface of such a bath, etc. Some watchmakers when letting down a piece of steel immerse it in water to check the action; but by so doing they produce an exactly contrary effect. If a piece of steel be cooled suddenly in water as soon as it assumes any given color it will be softer than if left to cool in the open air (78).
[84]
At one of the blue tints, steel possesses its maximum elasticity. The exact shade varies with the different qualities of steel.
If a hardened and tempered spring has lost its initial elasticity, this may be restored or even improved upon by gently hammer-hardening, and after whitening with emery, again tempering to the proper blue tint.
91. A very convenient way of tempering a large number of small articles at a time, heating them with absolute uniformity, is to place them in a small vessel with sufficient tallow or cold oil to cover them; the whole is then heated to the requisite degree, which may be determined by a thermometer or by observing the smoke. When smoke is first seen to rise, the temper corresponds to No. 2 in the table (article 88). Smoke more abundant and darker corresponds to No. 5. Black smoke still thicker, No. 7. Oil or tallow takes fire with lighted paper presented to it, No. 9. After this the oil takes fire of itself and continues to burn. If the whole of the oil is allowed to burn away, the lowest temper in the table is reached.
It is often convenient to simply smear an article with oil or tallow, and hold it over a flame or piece of hot iron. The temper can then be judged in the manner just explained.
With a view to combine the two operations of hardening and tempering, M. Caron suggested that the temperature of the water used for hardening be heated to a pre-determined degree. Thus the requisite temper may be given to gun-lock springs by heating the water in which they are hardened to 55° C. (130° F.).
92. Some makers of watch-hands and balance-springs, when they are not satisfied with the color assumed[85] by an object in tempering, immerse it in an acid bath, which whitens it, after which the bluing operation is repeated.
We have seen watchmakers whiten small pieces of steel with a piece of pith moistened with dilute sulphuric acid, but the method cannot be recommended.
Others fix fine steel work, a watch-hand for example, with wax on a plate, and whiten it by means of pith and polishing rouge, or a small stiff brush charged with the same material. It is then detached, by heating, and cleaned in hot alcohol.
These methods, if judiciously employed, are of great service, but it is important to remember always to thoroughly wash after the use of acid, and then to allow the object to remain for a few minutes in alcohol.
Sulphuric acid does not whiten well. It often leaves dark shades on the surface. Hydrochloric acid gives better results.
93. To blue steel uniformly. In order to secure a uniform color in tempering or bluing, it is essential that the smoothing and polishing should have been very evenly done. The surface must be perfectly clean; for otherwise parts that are greasy, or on which the rouge has remained too long, or has been too dry, will not exhibit the same tint as the rest. The heat must be uniformly distributed. This is why, when bluing screws in a perforated bluing pan, it is customary to lightly strike the handle, for the vibration and the perpetual change in the contacts ensures their receiving the heat more evenly. A similar purpose is served by placing the pieces in brass filings. Steel must not be tempered while only in contact with bodies that are bad conductors of heat, stone, either in powder or block, for example;[86] because, as we have already observed, the distribution of heat would occur unevenly throughout the metal.
Watchmakers secure a uniform tint more easily by using an iron or copper polisher than one of any other metal.
94. To blue small pieces of steel evenly. If the foregoing precautions are carefully observed, the following methods will give satisfactory results:
First blue the object without any special regard to uniformity of color. If it proves to be imperfect, take a piece of dead wood that does not crumble too easily, or of clean pith, and whiten the surface with rouge without letting it be too dry. Small pieces thus prepared, if cleaned and blued with care, will assume a very uniform tint.
A clever mechanic assures us that he easily obtains a similar result by rubbing the surface, after it has been well smoothed, with the end of a stick that has been partly burnt in the fire.
95. To blue a clock hand or a spring. To blue a piece of steel that is of some length, a clock hand for example; clockmakers place it either on ignited charcoal, with a hole in the center for the socket, and whitened over its surface, as this indicates a degree of heat that is approximately uniform, or on a curved bluing tray perforated with holes large enough to admit the socket. The center will become violet or blue sooner than the rest, and as soon as it assumes the requisite tint, the hand must be removed, holding it with tweezers by the socket, or by the aid of a larged-sized arbor passed through it; the lower side of the hand is then placed on the edge of the charcoal or bluing tray, and removed by gradually sliding it off towards the point, more or less slowly according to the progress made with the coloring; with a little practice,[87] the workman will soon be enabled to secure a uniform blue throughout the length, and even, if necessary, to retouch parts that have not assumed a sufficiently deep tint.
Instead of a bluing tray, a small mass of iron, with a slightly rounded surface and heated to a suitable temperature, can be employed; but the color must not form too rapidly, and this is liable to occur if the temperature of the mass is excessive. Nor should this temperature be unevenly distributed.
A spring after being whitened can be blued in the same way. Having fixed one end, it is stretched by a weight attached to the other end, and the hot iron is then passed along it at such a speed that a uniform color is secured. Of course the hot iron might be fixed and the spring passed over it. A lamp may be used, but its employment involves more attention and dexterity.
96. Bluing as an indication of temper. This subject has already been very fully considered in article 88 to 90. When the color assumed by a piece of steel does not require to be preserved, and it is only necessary to temper the object at a certain temperature, the means best adapted to expedite the operation will naturally be sought. Thus, in factories, large numbers are tempered at once in a bath of tallow, oil, etc. The workman, in judging temper by color (88), must have enough experience to enable him to determine, for a given sample of steel, what are the successive colors as well as the temperature of the bath, etc. His success is certain; but it depends on the experience, and, therefore, on the sense of sight of the operator, and, we should again add, on the knowledge he possesses of the qualities of the steel he is using.
[88]
97. This process is often resorted to when a hard surface is required on objects of wrought iron, for example the face of an anvil. It is the exact converse of the method already described in article 59 for obtaining malleable castings, and consists in heating the object to a red heat in contact with charcoal, or some substance containing carbon; this enters into the surface iron, converting it into steel. Or after heating to a bright redness the object may be sprinkled over with prussiate of potash, returned to the fire, and after a few minutes cooled by immersion in water. When a greater thickness of steel is needed, or when dealing with large articles, they must be enclosed in wrought-iron boxes, and bedded in such substances as fragments of horn, bones, leather cuttings, etc; the box is then luted up and the whole maintained at a red heat for twelve hours, after which the fire is allowed to die out. Articles may sometimes be case-hardened by coating with a paste of arsenious acid, powdered leather, horn, or other nitrogenous body and hydrochloric acid, and then heating them to bright redness in a muffle or other suitable furnace.
98. It would be impossible to give a full account of this subject in the space at our disposal, and the reader must be referred to works on the metallurgy of iron and steel for details in regard to the remarkable influence of minute traces of phosphorus, tungsten, silicon, manganese, arsenic, etc., on the mechanical and chemical properties of those metals.
[89]
99. Copper is an elementary body of a reddish-brown color, which must not be confounded with brass, occasionally termed yellow copper. In tenacity it comes next below iron, breaking with a strain of 34 kilo. per sq. mm. of section (or 48,000 lbs. per sq. inch).
In horology, the only use made of the pure metal is for the construction of compensation pendulums on the gridiron principle, and as wire in electric clocks. It is also employed, when rolled into thin sheets, for a base to receive the enamel of watch dials, in consequence of its expansion being about the same as that of the enamel, which does not therefore crack in the cooling.
The copper of commerce is seldom pure, and this gives rise to many of the imperfections met with in ordinary brass.
100. This is an elementary metallic body of a bluish white color. It is used in the form of rods, for compensation pendulums.
It must be obtained of great purity, whether it is employed by itself or to alloy with another metal. The presence of foreign bodies in zinc, even in very small quantities, has a marked influence on the physical properties of an alloy into which it enters.
The purer the metal the more easily will it roll, and this fact can be taken advantage of as a test of quality.
Although very brittle at 0° C. (32° F.) and 200°C. (400° F.), it has a maximum malleability at about 100° C. (212° F.), the boiling point of water; it should, then, be heated to this degree before bending, rolling, hammering, etc.
It may be annealed in boiling water, or by heating to such a temperature that water hisses when allowed to drop on to it.
[90]
It melts at 420° C. (790° F.) and volatilizes if raised to a red heat.
A sudden cooling, or the presence of arsenic or antimony, will render zinc brittle. It must not be melted in cast iron vessels, as the quality of zinc is deteriorated by the small quantity of iron it takes up under such circumstances.
This metal possesses a great affinity for oxygen, and therefore oxidizes very readily when fused.
It is usual, before pouring zinc that is intended for rolling, to throw some pieces of the solid metal into the molten mass, the object being to somewhat reduce the temperature, and thus prevent a too rapid cooling, as, in that case, zinc is very brittle.
101. Pure copper is difficult to work with the graver or file, but such is not the case when this metal is alloyed with zinc; we then obtain brass, or, as it is sometimes termed, yellow copper.
Alloys containing copper, zinc, and tin are termed bronzes.
If a small quantity of lead, about 1 per cent. of its weight, be added to brass, it renders the metal less fibrous, imparting to it a certain degree of brittleness so that it is more easily worked with the graver, file, drill, or the saw.
When the brass is required to be hammered, a portion of the lead is replaced by tin; by this means the metal becomes more malleable, or, in terms of the workshop, soft.
The color, tenacity, ductility, malleability, etc., vary with the percentage composition of the alloy. It is, then, of the utmost importance that a watchmaker be able to test and select the brass before employing it in his work;[91] metal that is excellent for wire-drawing, for example, would be utterly useless for making an escape wheel, since it would become distorted in the cutting in consequence of its ductility. It belongs, in fact, to the class of metals that will extend under the hammer without hardening (very soft brasses).
The following is given as an analysis of brass very frequently employed in horology: copper, 66 per cent., zinc, 33 per cent.; and lead, 1 per cent. But it must not be forgotten that this is only to be taken as a mean. Both the proportions and the qualities vary with different makers, doubtless also according to the degree of purity of the metals employed in their manufacture.
102. To select brass. By following the directions given below any watchmaker should be able to select the brass best suited to his special requirements.
When the copper is in excess, zinc being proportionately reduced, the brass is usually soft and of a beautiful golden color. On the other hand, as the proportion of zinc is increased, the brass becomes more and more brittle, and at the same time, more fusible; the color changes to a light yellow, ultimately becoming greyish-white, and brass of this nature is said to be “hard.”
Very soft brass chokes the file, and spreads without hardening under the hammer; very hard brass, on the other hand, is fragile, liable to crack when hammered cold, and breaks in passing through the draw-plate.
Metal of a good yellow shade, intermediate between the golden and the pale yellow color, passes well through the draw-plate, spreads out slowly under the hammer, but without cracking, until of about half the initial thickness, and then resists the further action of the hammer, which rebounds from it; such brass is usually found to be of good quality for watchwork.
[92]
A sheet of brass is rarely homogeneous. If, after pouring, the metal has been allowed to cool slowly, the interior will be crystalline, and there will be an uneven fracture. This will cause the tenacity, etc., to vary throughout the mass. Similar differences are occasionally to be observed between the two faces of the same plate, due to the phenomenon of liquation; that is to say, to a tendency that characterizes certain metals when melted together to separate from one another when the cooling is not affected under proper conditions.
If the two surfaces of a plate be scraped clean at several points, and drops, as nearly equal as possible, of very pure watch oil, be placed on these clean surfaces, it may be taken as a rough indication that the metals are uniformly distributed if the successive shades of color of the oil as time goes on are the same at all the points experimented upon.
Some watchmakers heat the brass to a red heat (which must never be exceeded), and plunge it into nitric acid (equal parts acid and water). By this means the entire surface is cleaned, and the above examination is facilitated.
103. Plates. The selection of the metal will depend on the purpose for which it is intended, and the thickness must be such that, when hammered till of sufficient hardness, it will approximately equal one dimension of the required object; for it is advisable to remove as little of the surface metal as possible, a plate always hardening much more at the surface than in the interior.
There is considerable difficulty in indicating clearly in a book the exact mode of conducting the operation of hammer-hardening, and the assistance of a competent master is essential, at any rate for the first few trials. It[93] must suffice to point out that the anvil, with a slightly convex surface, and the hammer, of sufficient weight, must be in very good condition and, if possible, polished on their faces; the head of the latter should be rather convex, and the pene or chisel end somewhat broad and gently rounded off in all directions, for it will be needed as a means of bending the metal upwards; the curvature being such that there is not a danger of starting a crack, etc., by its means. We have already spoken of these two tools (79, 80); it is only necessary to add that a thick straw pad should be placed under the anvil or block.
When one is compelled to use brass that is too thick, so that there is much work to be done with the hammer to reduce the thickness to what is required, it is a good plan to commence by elongating the metal in one direction, striking with the pene of the hammer a series of parallel blows in the direction of the required elongation; when the thickness is two or three times that ultimately needed, the surface is smoothed with the hammer-head and annealed; then it is brought to the right thickness by another hammering in the manner explained below, but it should be again pointed out that, when possible, metal of a suitable thickness ought to be taken in the first instance, since too much hammering has a detrimental effect.
Before hammer-hardening a plate, it must be dressed, an operation which consists in rounding off the edges very carefully in order to prevent their cracking, and in rounding the bottom and sides of internal angles which, without such a precaution would occasion a rupture. After this is completed, proceed to the hardening, using a rather heavy hammer, and giving sharp blows along lines parallel to the sides of the plate; commence from one of the corners in the case of a square plate; and[94] with a round plate let the blows be in circles. In the latter case, work from the circumference towards the center, at the same time gradually increasing the force of the blows, since the metal opposes a greater resistance towards the center. If the work is done evenly and without hurrying, the surface will remain fairly flat, a fact which should be verified from time to time by the aid of a metal rule.
Round plates are sometimes hardened by commencing to hammer in the center and working towards the circumference along two radii in opposite directions; that is along a diameter. This first diameter is then crossed by another at right angles; the intervals are filled in with other diameters that must not touch until the entire surface is covered, always taking care to work from the center towards the circumference.
When the metal is thin only the hammer-head is used, but beyond a certain thickness the pene of the hammer must be employed until about half the required thickness is reached; the surface is planished and the hardening finished with the face.
Blows that are irregular, too hard or roughly given, will cause the metal to crack. Hurried working will disturb the molecular grouping of the alloy; it will at the same time be heated and therefore softened, thus losing all the good qualities that are anticipated from hammer-hardening, namely increased body and elasticity. It was in order to avoid this heating that the old watchmakers used to hammer the brass in cold water, an excellent precaution which is too much neglected at the present day.
Brass that is badly hammered, the blows being violent or irregular, will spring out of shape on being cut and occasionally crack when gilding.
[95]
If during the process of hammering, a crack is observed to be commencing at the edge, it must be removed with a rat-tail file, all sharp angles being rounded off; and when cracks immediately reappear on continuing the operation, it is an indication that the metal cannot support any further hammering cold.
If brass is compact or well forged it may be relied upon to preserve the oil at pivots, etc., better, as oil is decomposed more rapidly in presence of a finely divided metal.
104. Brass rods. Rods having a square section must only be hammered on two opposite faces.
A rod of square section can be hammered on all four faces but it must be first filed perfectly square; the hammering must not be pushed too far, and the four angles must be maintained right angles. If some are made obtuse and others acute, a flaw will be produced in the direction of a diagonal.
The three following methods are employed in the case of round rods:
The first consists in hammering over the entire surface, the rod being at the same time rotated on the anvil by hand; but this operation must not be much prolonged, as the metal is liable to crack lengthwise.
The second method consists in reducing the diameter of an annealed brass rod to about one-half or two-thirds its initial amount by causing it to pass in succession through a number of holes of the draw-plate.
When the third method, which is due to Brocot, is adopted, one extremity of the brass rod is gripped in the bench vise and the other end in a hand vise, which is then caused to rotate round the rod as an axis. If the torsion be continued until the metal is on the point of breaking, it will be found to be very effectually[96] hardened. This method is resorted to with advantage for hardening pin-wire and the metal for making pillars.
105. When it is necessary to considerably reduce the dimensions of a piece of brass, either with the hammer, rolls or draw-plate, it must be annealed from time to time.
The metal should not be heated to redness; it is supposed, rightly or wrongly, that such a proceedings especially if repeated, separates a portion of the zinc, or at least changes the mode in which it is associated with the copper. Brass should be heated slowly and uniformly, in a moderate fire, until the temperature is such that drops of water thrown onto the surface are rapidly converted into vapour, or paper turns yellow and begins to smoke. It is then withdrawn from the fire and allowed to cool.
Brass is brittle when hot, so that it can only be worked cold.
When brass is annealed, just as when steel is tempered, the metal should not be allowed to rest on a bad conductor of heat, such as wood or stone, because there will be a tendency to uneven distribution of the heat throughout the metal.
106. This is usually brittle, owing to the fact that the copper employed in its manufacture consists, as a rule, of all sorts of scrap, from good or bad metal; moreover, from motives of economy, the proportion of zinc is generally increased and, in pouring, the precautions essential to avoid the effects of liquation (102), etc., are frequently neglected. Such an alloy must never be used for small[97] objects, it must be entirely excluded from a watch, and in a clock only such pivots as are called upon to perform an insignificant amount of work should be allowed to run in it.
In order to avoid injuring the file, or embedding in the metal any particles of the hard coating of oxide that always covers rough castings, it is usual to dip the object in dilute nitric or sulphuric acid (155), by which the oxide is dissolved.
107. This is an elementary body, almost as white as silver and having a breaking strain of only 8 kilo. per sq. mm. of section (or 11,300 lbs. per sq. inch.)
Watchmakers use it in making solder. It is also sometimes used in the form of plates or rods for polishing with rouge, and it is said to be much more efficient when very pure.
If a strip of pure tin is bent, a crackling noise, termed the “crying” of tin, is heard. After frequent bending, the metal loses this property.
The degree of purity may be judged:
(1) By the loudness of the “cry,” which is found to be greater as the tin is purer;
(2) By the relative lightness of two balls of equal size, one of which is formed of very pure tin and used as a standard;
(3) By pouring the metal, when just melted, in a mould 1 or 2 centimetres (about ¾ inch) in diameter. If tin is pure, when cast into plates or ingots, the surface will be perfectly smooth, without exhibiting any sign of crystallization at the moment of solidification, whereas the presence of small quantities of foreign metals causes it to be covered with a network of needle-formed crystals, which are the more numerous according as the metal is less pure.
[98]
The Banca tin is almost chemically pure; English tin is also very pure; but others contain a small percentage of copper, lead, iron, or arsenic.
108. Bronze is an alloy, in very variable proportions, of copper and tin, to which may be added, according to circumstances, a small percentage of lead or zinc, or even iron, when it is desired to increase the hardness or tenacity.
As a rule, this alloy is tough and hard to work; it is especially used for parts of large machines that are subjected to considerable pressure.
The fusion and casting of bronze require special precautions, for the proportion between the metals is liable to vary through oxidation of the tin, which then goes to form a dross, and the composition may vary throughout the mass. It sometimes results from this that the bronze bearings for the pivots in large clocks are not even as good as ordinary brass, and wear away more rapidly than the pivots.
Bronze is also used by watchmakers for making plates or small rods for polishers, and for the bells of clocks. Bell-metal contains about 78 per cent. of copper and 22 per cent. of tin; it has a beautiful fracture, and is very fusible and sonorous. The addition of any other metal is rather prejudicial than otherwise; this explains why so many clock bells are wanting in sonorousness.
An impediment to the use of bronze is its want of malleability; but Dronier has recently pointed out that such alloys may be rendered perfectly ductile and malleable by adding from ½ to 2 per cent. of mercury. These alloys are said to be less oxidizable than ordinary bronzes, and at the same time more hard, elastic, resisting and sonorous.
[99]
109. This is an alloy containing 56 per cent copper, 41 zinc, 2 tin and 1 iron. It resembles a reddish-colored brass, and has been much used in Vienna, where it is considered superior to brass from the point of view of ductility, tenacity and malleability.
An experienced horologist, M. Grossmann, made satisfactory lever escape-wheels of it, and he considers it to be superior to the best brass in regard to both density and elasticity. At the same time he points out that it clogs the cutter, and the color is inferior to that of good hard brass.
110. A metal with a brilliant bluish grey lustre, which rapidly becomes dull when exposed to the air. It is very malleable and ductile. It breaks with a strain of 2.9 kilo. per sq. mm. section (4,000 lbs. per sq. inch), but possesses extreme flexibility.
Lead is not used in horology, except as a constituent of solders; in these, however, it plays a very important part. It is occasionally used in the pure state as a lap for applying polishing materials, but more frequently alloyed with tin, by which hardness is imparted to the metal, the alloy being known as “pewter.”
111. An elementary metallic body of a greyish-white color, resembling that of platinum. With care it can be forged when hot and formed into plates; its structure in that case is fibrous. Its hardness is the same as that of iron, and nickel will take a high polish. Next to iron, it is the most powerfully magnetic of all metals.
[100]
It can be caused to alloy with many other metals—notably iron, cobalt, copper, zinc, tin, and antimony. According to Stodart and Faraday, an alloy of 33 parts iron and 1 part nickel is as malleable as the former metal, but less liable to rust. Fleitmann has recently shown that by the addition of about 1-10th per cent of magnesium, nickel is rendered perfectly malleable and ductile, capable of being drawn into wires or rolled into sheets, and Garnier finds that 3-10ths per cent of phosphorus has a similar effect.
Nickel is useful as a coating for objects that are not subjected to friction, for preserving them from the action of the air. It takes a beautiful polish, and is not tarnished by being touched.
112. Although the proportion of copper in this alloy is considerably greater than that of nickel, watchmakers frequently apply the latter name to it, doubtless on account of the beautiful polish of which the metal is capable and the comparative inoxidizability which it derives from the presence of nickel.
German silver is an alloy of copper, nickel and zinc, with the occasional admixture of a small proportion of iron or tin. When used in the construction of objects that require soldering, 2 per cent. of lead is added.
The alloy usually employed in horology is very malleable; it has a mean composition: copper, 60 per cent; nickel, 20 per cent; and zinc, 20 per cent. That containing 58 per cent copper, 14 nickel, 25 zinc, and 3 iron, is said to be highly elastic.
The following useful details with regard to the employment of German silver for watchwork are due to M. C. E. Jacot.
[101]
Watch movements have been made of this alloy for the past thirty years; it was long thought that the taste would die out, but, on the other hand, the demand for “nickel” movements increases each year.
The alloy is better prepared at the present day; it has a beautiful grayish-white colour, it is more malleable, and better to work than formerly, but still not so easy as brass. The latter alloy is less detrimental to the file, and can be turned and drilled more rapidly.
German silver is only used for the plates, cocks and bars. The barrels and wheels are of brass, and surfaces exposed to friction, such as the center pivot-hole (all other holes being jewelled) are bushed with the same metal, for it is observed that in presence of nickel oil is rapidly blackened and the pivots wear sooner than when working in good brass.
The color remains unaltered for a long time if the surface has been carefully smoothed in the first instance; and if cleansed with soap and water, its original freshness can be to a great extent restored. Some watchmakers prefer to employ chemical preparations for cleaning the metal.
The following is recommended as very effective for this purpose: Mix 50 parts alcohol, 1 part sulphuric, and one part nitric acid. Allow the pieces to remain in this liquid for 10 or 15 seconds, wash with cold water, and subsequently with alcohol, dry with a soft rag or in boxwood saw dust.
113. An elementary body, the most beautiful and the most valuable of all the ordinary metals. In the unalloyed state it has a pure yellow color, and when reduced to extremely thin leaves, appears green by transmitted light. It is the most malleable and ductile of all the metals, but its tenacity is low.
[102]
Gold resembles platinum, silver, iron, etc., in being capable of welding, that is to say, two pieces of the metal can be united without previous fusion. Indeed, by the application of great pressure it can be made to weld when cold.
It is insoluble except in aqua regia (a mixture of 1 part nitric acid and 4 parts hydrochloric acid), alkaline persulphides and selenic acid. Chlorine, phosphorus, and a few other substances can be made to combine with it by the acid of heat.
It is as a preservative, that is applied in layers termed “gilding,” that gold is principally used in watchwork, and some details will be found on this subject under “Gilding,” (articles 142-153). Owing to its softness the metal is not used in a pure state, but usually alloyed with copper. The principal alloys in use in this country are:
22 parts (carats) gold, 2 parts (carats) copper, for coin and wedding rings.
18 parts gold, 6 parts copper, for high-class jewelry and watch-cases.
15 parts gold, 9 parts copper, for ordinary jewelry.
12 parts gold, 12 parts copper; and 9 parts gold, 15 parts copper, for common jewelry.
The alloys used for soldering gold will be described under “Solders” (126).
Alloys of gold with silver and copper have been employed for making watch wheels; they wear well, and will take a beautiful polish, which is maintained for a longer time than in the case of brass wheels.
Chronometer balance-springs and the suspension-springs for astronomical clocks have also been made of gold-copper or gold-silver alloys rolled and hardened (591.) If carefully prepared, they maintain their elasticity unimpaired for a long period, and there is no liability to rust.
[103]
The dilatation for a given change of temperature is, however, greater than that of steel, so that a greater compensating effect becomes necessary, but this inconvenience is partially compensated for by its inoxidizability and the fact that it is not liable to become magnetic.
114. This metal in an unalloyed state is too soft for use in horology; its principal use is for cases, and as a constituent of solders.
Houriet made watch wheels of an alloy containing 2 parts silver to 1 part 18-carat gold, and he affirmed that this alloy became polished at the acting surfaces of the teeth. Jurgensen states that chronometer escape-wheels made of this alloy, carefully hammered, do not require oil at the points of their teeth.
Dumesnil proposed an alloy of 2 parts copper, 1 part silver, and 1 part zinc, all perfectly pure. Lecocq made chronometer balances in which the brass was replaced by pure silver deposited on the surface of the steel by electrolysis, thus avoiding the use of a fire. The compensation is said to have been very efficient.
115. Aluminium is an extremely light elementary body, having a density of only 2.56; with equal bulks, therefore, it will weigh only about as quarter as much as silver. As its capacity for heat is very great, this metal is observed to heat or cool more slowly than other metals.
Pure, or in a slightly alloyed state, it has not been used in horology, except for pendulum rods and large hands in regulator clocks; in short, it can be employed where lightness is the principal quality in view.
[104]
It is extremely ductile. The presence of 1-100th part of bismuth, however, renders the metal somewhat brittle, and it develops cracks under the hammer. Traces of iron also decrease its malleability.
An alloy of 5 parts silver and 95 aluminium can be as easily worked as the pure metal, but is harder and takes a better polish.
We would add a curious observation of M. Redier: After passing a piece of aluminium several times through the draw-plate, he observed that the elongation had only occurred at the surface; for on cutting the wire at different points, he noticed that, throughout a portion of the length, the metal was hollow, a very fine capillary tube being thus formed.
116. Aluminium Bronze is an alloy of aluminium with copper. A alloy of 5 parts of the former to 95 of the latter has a beautiful golden color, but if the proportion is changed to 10 and 90 parts respectively, we obtain the most serviceable and the most easily worked alloy.
This bronze can be forged at a cherry-red heat, and even near its melting point; and its thickness can be reduced to a very small amount under the hammer. It is easily filed and turned, but does not possess any special advantage over brass, which is less detrimental to the file; the density is 7.7, very little below that of brass, 8.4.
It appears from a considerable number of experiments that it might be used with advantage for the bearings of axes that rotate with high velocities. It resists wear better than any other metal. In the experiments made by Foucault to demonstrate the rotation of the earth by means of the pendulum, he found that an aluminum bronze wire lasted for the longest period. Its tenacity is equal to that of iron. It has been shown that slide-bars of locomotives made of this bronze resist wear twice as[105] long as those formed of the ordinary bronze. There would then be an advantage in using it for the bearings of foot-lathes, etc.
Grossman asserts that lever escape-wheels of this metal have proved satisfactory, and he makes the following observation on the subject. If aluminium bronze be reduced to three-fourths of its original thickness by hammering, it will begin to crack. This can be prevented by heating to a red heat and plunging into water; it can then be again reduced by one-fourth of its thickness, and again annealed, and so on. He reduced the thickness from 2.5 millimeter to 0.2 millimeter, and the metal resisted for a long period repeated flexures backwards and forwards; and he observes that no other metal, after being so much compressed, would possess the same marvellous degree of tenacity.
In order to obtain aluminium bronze of the best quality, the copper should be absolutely pure, and, in the manufacture, the alloy must be melted and forged two or three times in succession, as by this means the strength and tenacity are increased, and the metal can be more easily worked.
The beautiful golden color possessed by certain of these bronzes when polished, has caused them to be used for cheap watch-cases, but they always tarnish at those parts that are not subject to daily wear.
117. This is the only metal liquid at the ordinary temperature; it solidifies at -40° C. (-40° F.). It possesses a high metallic lustre, resembling silver, but with a slightly bluish tint, and does not oxidize at ordinary temperatures.
[106]
Mercury alloys with many other metals, forming amalgams, and as small a quantity as 1-40th per cent of lead suffices to entirely alter its character. The presence of such traces can be easily detected by the liquid wetting glass or china, and therefore forming a tail when a vessel containing it is tilted.
The commercial metal is rarely pure, but the greater portion of the lead, tin, bismuth or copper, by which it is contaminated, can be removed by distillation. The most convenient method consists, however, in agitating the metal with either dilute nitric acid, a solution of mercurous nitrate, strong sulphuric acid, a solution of corrosive sublimate or of perchloride of iron, and subsequent washing with distilled water. When mercury is only contaminated with mechanical impurities, they can be very effectually removed by agitating with powdered loaf sugar.
This metal has many uses in the arts, for the construction of thermometers, barometers; for plating, etc.; in horology it is used for compensation pendulums, and has also been occasionally used for compensation balances.
118. This elementary body is almost as white as silver, takes a brilliant polish, and is highly ductile and malleable. It is the heaviest of the ordinary metals, the least expansive when heated, and has a breaking strain of 40 kilo. per sq. mm. section (56,500 lbs. per sq. inch.).
Platinum is infusible, except at the high temperatures attainable with the oxy-hydrogen blow-pipe. At a white heat, however, it softens, and can be forged and welded. It is unacted upon by the air at any temperature, and is insoluble in acids, except aqua regia (155), although acted on by certain alkalies.
[107]
This metal is used in the construction of scientific instruments, and for objects that are exposed to the air, as, for example, sun dials. Alloyed with irridium, (a rare metal of the same group) it possesses an excellent and unalterable surface for fine engraving, as the scales of astronomical instruments, etc. This alloy has also been adopted for the construction of international standards of length and weight.
Platinum is much employed for chemical apparatus, in consequence of its being unacted on by acids, and its non-liability to melt in ordinary furnaces. Both the pure metal and its alloys with silver have been employed in the form of wire for bushing the pivot-holes of watches, and in sheets for cutting out cocks and wheels, but the results obtained were not as good as with good brass. As a rule, such wheels are found to occasion a rapid wear of pinion leaves.
Attempts have also been made to construct balance-springs of this metal, but we are informed that they were not found to possess any sufficient advantages.
It is advisable to heat platinum in a spirit lamp or Bunsen burner; the naked flame is objectionable, because, being charged with a certain amount of carbon, it deteriorates the metal.
119. This metal resembles silver rather than platinum, and is almost as infusible as the latter metal. It has a density of 12.5. When heated in contact with air it becomes blue, owing to the formation of an oxide. It possesses the remarkable power of absorbing (or occluding) about 900 times its own volume of hydrogen, if attached to the negative pole of a battery in acidulated water; its bulk is increased slightly by this charge, and,[108] on expelling the gas by the aid of heat, the metal shrinks to less than its initial dimensions. Palladium is useful for the graduated scales of scientific instruments, since it is not discolored by sulphurous acid. It forms alloys with most of the metals and some of these can be hardened like steel. If 100 parts of steel be alloyed with 1 part of this metal, the resulting alloy is said to be excellent for making scientific instruments, and an alloy of 24 parts palladium, 44 silver, 72 gold, and 92 copper has been recommended for use in horology.
M. Paillard, of Geneva, has introduced balance-springs made of an alloy, whose composition is not given, possessing the following advantages: they are non-magnetic, their tenacity is considerable, are not tarnished by the air, sulphurous acid, or sea water; nor are they distorted by heating, and, on cooling, they recover their original elasticity, which is equal to that of steel hardened and tempered to a blue color. The co-efficient of expansion of this alloy is rather less than that of steel.
120. Density. This is sometimes rather greater and sometimes less than that deduced from the densities of the constituent metals,[4] but no exact law has been discovered in regard to this question.
Hardness, Ductility, Tenacity. Alloys are usually harder, more brittle, and less ductile and tenacious than the most ductile and tenacious constituent metal.
Elasticity. The co-efficient of elasticity of an alloy generally approximates closely to the mean of the co-efficients of its constituent metals.
[109]
Expansion. The co-efficient of linear expansion of an alloy, that is to say, the number representing the proportional part of its length by which it increases for each degree rise of temperature, may be approximately estimated as follows: multiply the linear co-efficient of each constituent metal by the percentage of it present in the alloy, and divide by its density. Add together the several numbers thus obtained. Multiply this sum by the density of the alloy (which must be experimentally determined) and divide by 100. The resulting figure is the required linear co-efficient (122).
Fusibility. Alloys are always more fusible than the least fusible of their component metals, and often more so than any one of them.
Oxidation. As a rule, the air acts with less energy on alloys than on their constituent metals. There are, however, cases in which the converse is the case.
Action of acids. This is generally similar to the action on the predominating metal.
Observations. Alloys formed of metals that differ materially in density are rarely homogeneous, especially if they have been allowed to cool slowly. It is, then, essential that they be thoroughly stirred and cooled rapidly. It is for this reason that alloys are frequently poured out on to a flagstone to cool, or that they are compressed after pouring, whereby the formation of crystals is prevented.
121. Metals and alloys. The following table gives the more important physical properties of the metals and alloys generally met with, and will be found useful for reference. The precise meaning of each number may be gathered from the notes in paragraph 122.
[110]
| METALS. | Specific Gravity. (Water=1) | Degree of Hardness | Linear Expansion per | Specific Heat per Degree Cent. | Melting Point. | Conductivity for | ||||
| 1° Fahr. | 1° Cent. | Heat. | Electricity. | |||||||
| Aluminium (115) | 2.56 | — | 0.0000123 | 0.0000222 | 0.2143 | 1500° F. | — | 56.1 | ||
| ” Bronze (116) | 7.7 | — | — | — | — | [about | — | — | ||
| Brass, Drawn (101) | 8.54 | — | 0.0000107 | 0.0000193 | } | 0.0939 | { | — | — | — |
| ” Cast (106) | 8.10 | — | 0.0000104 | 0.0000187 | 1870° | — | — | |||
| Bronze (108) | 8.40 | — | 0.0000100 | 0.0000180 | — | 1692° | — | — | ||
| Copper (99) | 8.94 | 2.5-3 | 0.0000102 | 0.0000183 | 0.0951 | 2000° | 73.5 | 99.8 | ||
| German Silver (112) | — | — | — | — | — | — | — | 7.67 | ||
| Gold (113) | 19.26 | 2.5-3 | 0.0000077 | 0.0000138 | 0.0324 | 2610° | 53.2 | 78.4 | ||
| Iron, Wrought (54) | 7.84 | 4.5 | 0.0000066 | 0.0000119 | 0.1138 | 2900° | 11.9 | 16.8 | ||
| ” Cast (58) | 6.9 to 7.5 | — | 0.0000062 | 0.0000112 | 0.1298 | 1920° | — | — | ||
| Lead (110) | 11.33 | 1.5 | 0.0000167 | 0.0000301 | 0.0314 | 608° | 8.5 | 8.3 | ||
| Mercury (117) | 15.60 | — | 0.000101 | 0.000182 | 0.0333 | 39° | — | — | ||
| Nickel (111) | 8.82 | 5 | [cubical | [cubical | 0.1086 | — | — | 13.1 | ||
| Palladium (119) | 11.80 | 4.5-5 | — | — | 0.0593 | — | 6.3 | 18.4 | ||
| Platinum (118) | 21.50 | 4-4.5 | 0.000005 | 0.000009 | 0.0324 | — | 8.4 | 18.0 | ||
| Silver (114) | 10.57 | 2.5-3 | 0.0000111 | 0.0000190 | 0.0570 | 1832° | 100.0 | 100.0 | ||
| Steel (60) | 7.72 | 6-7 (hard) | 0.0000057 | 0.0000103 | 0.1175 | 2400° | — | — | ||
| Sterro (109) | — | — | — | — | — | — | — | — | ||
| Tin (107) | 7.30 | 2.5-3 | 0.0000152 | 0.0000273 | 0.0569 | 446° | — | 12.4 | ||
| Zinc (100) | 7.13 | 2 | 0.0000122 | 0.0000220 | 0.0955 | 680° | — | 29.0 | ||
122. Notes on the foregoing table. For a complete explanation of the several properties of metals and alloys that are enumerated in the above table, the reader must be referred to works on mechanics and physics, but the following explanatory notes are necessary.
The number in brackets after the name of each metal, etc., refers to the article in which it is considered.
The specific gravity of a substance is the ratio of the weight of a given bulk of that substance to the weight of the same bulk of water at a definite temperature. The numbers here given can only be regarded as approximations, as the specific gravity varies greatly with the state in which a body exists, the hammering it may have been subjected to, etc.
Degree of hardness is ascertained by means of the following standard series, observing which of them scratches the body under examination and which it is capable of scratching.
1, Talc; 2, Gypsum; 3, Calc-spar; 4, Fluor-spar; 5, Apatite; 6, Felspar; 7, Quartz; 8, Topaz; 9, Sapphire; 10, Diamond.
Linear expansion. These co-efficients represent the extension in length that the several substances undergo when heated: the first column for each degree Fahrenheit and the second for each degree Centigrade. The extension is given per unit of length; thus, 1 inch of copper at 32° F. will become 1 + 0.0000102, or 1.0000102 inch at 33° F.; and 1 + 30 × .0000102, or 1.000306 at 32 + 30 or 62° F.
Superficial expansion may be obtained by multiplying the linear co-efficient by 2, and cubical expansion by multiplying the same number by 3.
[112]
As in the case of specific gravity, these data, as well as those in succeeding columns, can only be regarded as approximations, depending on the condition of the metal etc.
Specific heat is the amount of heat required to raise the temperature of a substance one degree (the Centigrade scale being here adopted), that required for the same weight of water being taken as unity. The corresponding numbers on the Fahrenheit scale can be deduced from those here given by multiplying by 5 and dividing by 9.
The melting points are given on Fahrenheit’s scale and can only be regarded as approximate on account of the difficulty experienced in determining these high temperatures. Different observers often vary by two or three hundred degrees in their estimates.
Conductivity for heat and electricity are given in reference to that of silver, which is called 100. It surpasses all other known metals in both these properties when chemically pure, but a trace of impurity has a very prejudicial influence on them.
It will be observed that in many cases the conductivities have not been determined, a remark that applies to other columns of the table.
123. It is well known that a solder is an alloy employed to unite, by the aid of heat, two metallic bodies that are placed in contact. A solder, then, must be much more fusible than the metals it unites, otherwise these latter would be damaged by the degree of heat applied. Solder is all the less tenacious, and melts the more easily according as the proportion of the most fusible metal present is increased.
[113]
This fact is taken advantage of when several solderings have to be performed on the same object. The alloy last employed will require to be considerably more fusible than the first, as otherwise the heat would be so great that the earlier joints would melt. In an ordinary lead-tin solder, the fusibility is increased by increasing the proportion of the latter metal till the lead is to tin, as 6 is to 1. This alloy melts at 194° C. (380° F.), and the melting point may be still further reduced by adding a gradually increasing proportion of bismuth.
As the melting point of the solder approximates to that of the metals to be united, the risk of damaging these latter is of course increased, but, at the same time, the joint will be all the stronger, as the metal will be almost as strong there as at any other point, and it can be forged, etc.
Solders are distinguished as hard or soft; the former requires the application of a red heat, and can therefore only be used for such metals as gold, silver, brass; whereas the latter melt at very low temperature, and can be employed for metals that have low melting points, or when it is important not to exceed a moderate degree of heat. The joint is, however, the more solid according as the heat employed approximates to that at which the metal will melt.
124. Composition of solders. The solders ordinarily employed can be obtained from material dealers, but it is advisable to give here the composition of some of the more important, specifying the metal to which they are applicable.
125. Aluminium solders. I. Zinc, 70 parts; copper, 15; aluminium, 15.
[114]
II. M. Mourey employes a series of aluminium-zinc alloys, commencing with two per cent aluminium to 98 per cent zinc, and progressing to 20 per cent of the former to 80 per cent of the latter metal.
126. Gold solders. I. Gold, 6 parts; copper, 1 part; silver, 2 parts.
II. Gold, 15 parts; silver, 2 parts; copper, 1 part.
III. Gold, 11.94 parts; silver, 54.74 parts; copper, 28.17 parts; zinc, 5.81 parts. The three first metals are melted together in a crucible, and when they have somewhat cooled, a rather greater proportion of zinc than is here indicated (to allow for loss by volatilization) is added, and the alloy constantly stirred.
127. Silver solders. I. Silver, 2 parts; brass (for pin-wire), 1 part.
II. Silver, 5 parts; pin-wire brass, 1 part.
III. Silver, 10 parts; pin-wire brass, 5 parts; pure zinc, 1 part.
128. Tin solders. I. (ordinary soft solder.) Tin, 2 parts; lead, 1 part.
II. (Harder, and known as “Plumbers’ Sealed” solder.) Tin, 1 part; lead, 2 parts.
III. Many other proportions of tin and lead are occasionally used, ranging from tin, 1 part; lead, 25 parts, to tin, 6 parts; lead, 1 part.
IV. (Very fusible solder, melting in boiling water.) Lead, 3 parts; tin, 5 parts; bismuth, 8 parts. The fusibility is still further increased by adding mercury or cadmium.
129. Spelter solders. (Used for brazing.) Copper and zinc in varying proportions. It becomes more fusible as the amount of zinc present is increased.
[115]
130. A thorough cleansing of the surfaces to be united is always needful, but more especially so in the case of soft soldering. It may be effected by means of acids, or with a graver or scraper, etc.; the cleansed surfaces must not be touched with the fingers, and the soldering should be done at once. If acids are employed, the objects should be thoroughly washed after soldering, in order to avoid rust; and, after drying, they should be rinsed with alcohol.
The parts to be soldered are held in position with clamps, tweezers, pins, or iron wire. This latter, known as binding wire, is used for delicate objects and should be very pliable. When a high degree of heat is to be applied, all risk of the iron uniting with gold may be avoided by mixing a little sandiver with the borax employed. (See article 153).
Before heating, if there are already parts united with solder, they should be covered with borax to prevent softening.
Only a moderate heat should at first be applied, so as to melt the borax, or sal-ammoniac without displacing it. The violent frothing up, which is very liable to displace the parts or the fragments of solder, can thus in a great part be avoided. If a naked lamp-flame is used, or if it is directed on to the object with a blow-pipe, it should be, so to speak, large and soft, and the jet should not be directed to the point of juncture until the solder is observed to have fused. In soldering brass to steel, it is sometimes necessary to direct the flame against the brass only, in order, as far as possible, to avoid softening the steel. The hard solders for gold, silver, etc., require a considerable degree of heat, so that the objects must be heated to redness.
[116]
131. To solder gold and platinum to each other or to themselves. On a hard wetted surface, marble, for example, rub a piece of borax until a white liquid paste is obtained (or the powdered borax sold by chemists can be made into paste direct). Having prepared the borax, the surfaces to be united are cleansed either by scraping or with dilute nitric acid (155); the acid may be previously heated to boiling, as it will then act more rapidly; and the surfaces are subsequently scraped. They are now covered with the borax with a paint brush, set in position, and small pieces of solder placed on the junction. As already observed, the heating must at first be gentle to avoid displacing the solder by the frothing of the borax.
132. To solder silver. Also for uniting gold to silver, or silver, brass, steel to each other or to themselves. Proceed in the manner already explained for gold and platinum, except that the borax paste must be sensibly thicker.
133. To solder tin. Also for uniting gold, silver, brass to each other, or to other metals, such as steel, iron, etc. Clean the surface with a graver or scraper; sulphuric or hydrochloric acid may be used, but in this case the cleansing afterwards must not be forgotten.
The heating is effected as in soldering gold, unless a soldering iron is used, when the directions subsequently given should be followed.
134. To solder aluminium. M. Mourey recommends the following method.
One of the series of aluminium solders, No. II. (art. 125), is employed and, as a flux, two-thirds of balsam of copaiba, one-third very pure Venice turpentine, and a few drops of the juice of a citron; these constituents are pounded together in order to secure a perfect admixture.
[117]
The surfaces to be united are covered with solder (employing a soldering iron of aluminium) just as in the case of tinning (137), the flux just mentioned being used. The two surfaces, thus prepared, are placed in contact and maintained in the required position, and, after laying on the joint particles of solder that are richer in aluminium than the one used for preparing the surfaces, the whole is placed over a charcoal fire or heated before the blow-pipe, pressing gently on the pieces of solder, which will soon melt and should be distributed by means of a little tool of aluminium.
During this second stage of the process, it is necessary to be very cautious in the application of the flux; the pieces of solder should only be dipped in it before being placed in position, for the flux is mainly for use in preparing the surfaces; as soon as the solder has run well, the temperature should be lowered in order not to dry up and burn the solder, which would be apt to become brittle.
In preparing the solders, the aluminium is first fused and stirred with a small iron rod; then add the zinc and stir again; add a little tallow and cast the solder into rods.
The zinc must not be too much heated, as it will volatilize, leaving the alloy rich in aluminium and therefore brittle.
135. Fluxes for soldering. Various substances can be employed as fluxes for cleansing the surfaces to be united:
Sal-ammoniac reduced to powder and made into a paste with sweet oil, or merely dissolved in water. A paste formed of sal-ammoniac and resin, reduced to powder, with water or oil. Resin alone will suffice for the soft soldering of copper or brass. Venice turpentine, which has the advantage of not causing steel to rust,[118] although it makes the objects sticky so that they require to be afterwards rinsed in alcohol or turpentine.
Various acid solutions are sold for the purpose and experience will enable the watchmaker to select that which is best adapted to his requirements.
Lastly, saturated chloride of zinc can be recommended. It is prepared as follows:
Some dilute hydrochloric acid (which also goes by the name of spirits of salts, or muriatic acid) is placed in a glass flask and strips of zinc are added one by one; the flask must be left uncorked and the zinc added a little at a time, lest the effervescence that occurs should break the vessel. When the zinc added is not acted on by the fluid it may be concluded that the acid is saturated or “killed,” and the fluid may then be transferred to a stoppered or corked bottle for use. In using it, a small quantity is spread over the surfaces that are to be united and the solder will be found to run with great freedom. Some authorities recommend the addition of sal-ammoniac to the extent of one-fourth the weight of acid taken. It is well again to warn the reader that the pieces must be thoroughly washed after employing these liquids, for, otherwise, they will cause tools with which they are brought in contact to rust and will rust themselves if they consist wholly or in part of iron or steel. The vessel containing the fluid must be kept well away from the work-bench.
The liquid can be used immediately after being prepared as above explained; but all acid reaction may be prevented by evaporating at a moderate temperature until of the consistency of oil; it is then allowed to cool and kept in a bottle.
136. The soldering iron with a head of copper, such as is used by tin-plate workers, is well known; if[119] made on a small scale it may occasionally be of service to the watchmaker. The tool may be T-shaped, one end of the horizontal portion, the copper head, terminating in a rather thin blade, and the other enlarged, so that, when held in the flame of a lamp, it will store up a sufficient amount of heat. The upright part of the T corresponds, of course, to the handle. After the iron has been heated just short of redness in the dark, the end of the blade is moistened with soldering fluid and a small piece of solder attached to it. The object to be united is gently heated and also moistened with the fluid; the iron charged with solder is presented to it, often with the enlarged extremity of the head maintained in the flame of a lamp, and the solder will, as a rule, run without again heating the object, although this might be done while the iron is still in contact. It may be found convenient to fix the iron in a suitable position with the lamp below the large end of the head; the object will then be brought against the iron after being moistened with the fluid.
137. It is often advisable to tin the surfaces to be united previous to soldering them; in order to do this they are moistened with soldering fluid, small pieces of solder are then spread over, and these are fused by passing the hot iron over the surface; or the solder can be spread after fusion by means of a metallic rod charged with the liquid.
138. Brazing. This operation consists in soldering iron, steel, brass, or copper, with an easily fusible brass, which is specially prepared in the form of coarse dust, termed spelter solder, or cut in thin strips of convenient shape (129). The method resembles, in all essential particulars, the application of hard solders previously referred to (131, etc.)
[120]
Heat is usually applied direct by the blow-pipe, borax being used as a flux, and the precautions taken that are mentioned in article 130: it is necessary to avoid a greater degree of heat than would melt the brass, since the object might in that case be fused. For fine work, it is better to employ silver solder.
On an emergency, two pieces of steel can be united by brazing and subsequently hardened, and we have successfully practiced this method in such a case as the following: A small portion having been broken off from the quarter-piece of a repeater, we dovetailed into it another piece of steel of the required form, but a trifle too large at the upper side. When the brass had run well into the joint, and the piece was still at a full cherry-red heat, it was hardened, and afterwards cleaned and tempered to a blue color. The upper surface was then brought to shape with a good file, resting it on a wooden block against a projection, and, after making sure that it would act correctly, the whole was smoothed and polished. It has since worked well and does not show signs of wear.
139. To bronze copper. The following are two methods recommended for bronzing objects of this metal, for example, a medal.
Dissolve two parts of verdigris (acetate of copper) and one part of sal-ammoniac in vinegar. Boil the solution, skim it, and dilute with water until it no longer possesses a feebly metallic smell, nor produces a whitish precipitate on the addition of water. Then let it boil again in an earthenware or porcelain vessel and transfer it, while boiling, into another vessel containing the perfectly clean medals, etc., and place the whole on the fire.[121] As soon as the medals assume the required color, remove them, and wash carefully in clean water.
The objects must not be left too long in the acid bath over the fire, because the layer of oxide would become too thick, and would easily scale off the surface; whereas, if the operation is properly conducted, the coating adheres so firmly that it cannot be separated even by scraping. Of course, it is only after a certain number of trials, and with experience, that the exact moment can be ascertained for removing the objects from the bath. It is very necessary that the bath be not too concentrated, as the superficial oxide becomes proportionately less adherent: moreover, a whitish powder is deposited on the medal, which turns green on exposure to the air and spoils the appearance of the bronzing.
140. Chinese bronzing. The Chinese employ the following mixture for bronzing copper, the several constituents being powdered before being incorporated together: 2 parts of verdigris, 2 parts of cinnabar, 5 of sal-ammoniac, 5 of alum, and 2 parts of the beak and of the liver of a duck. A paste having been made, with vinegar, it is spread over the perfectly clean surface of the copper, and the whole exposed for an instant to the fire, then allowed to cool, washed, and the operation repeated as often as may be needed in order to obtain the desired tint.
By adding sulphate of copper to the mixture a browner shade will be obtained, and it may be made yellower by adding borax. Copper thus treated is said to present a beautiful appearance, and to be so permanent that neither air nor water has any influence against it.
141. To bronze brass. Dissolve copper turnings in nitric acid until it is completely saturated. Immerse the[122] brass objects to be bronzed in this solution after they have been cleaned, smoothed with water of Ayr stone, and heated to such a temperature as the hand can just support; on being placed over a charcoal fire they will assume a green color; rub them over with rags, repeat the immersion and heating over charcoal until the required tint is obtained. The shade may be improved by oiling the finished surfaces.
It is asserted that by immersing copper articles in molten sulphur containing lampblack in suspension, they assume the appearance of bronze; and that they may even be polished without losing their color.
142. Gold gilding without the aid of mercury. Prepare the gold in fine powder, as explained in the following paragraph, or procure it from the dealers in chemical products, who manufacture it of various tints. Make a mixture of this powder with pure rock salt and cream of tartar (bitartrate of potash), pulverized in the same manner as described in speaking of silver-plating and take the same precautions in its application.
The gold surface will present a dull appearance; acid cannot be used to improve its color when operating, for example, on a wheel with attached pinion, but the same result may be attained by a very simple method. Rub the object after plating with cream of tartar, mixed with a large proportion of water; then immediately wash in an abundance of warm water at not less than 40° C. (104° F.); soap it thoroughly, so as to neutralize any acid that may remain, and finally pass through alcohol to dissolve any remaining soap.
The surface will be still further improved by rubbing with a very hard piece of pith, such as is occasionally met with.
[123]
M. Robert, in describing the above method, adds: “In this manner I have gilded cocks, domes, compensation balance weights, and even their brass rims. When, skilfully and expeditiously performed, the pinion need not be discolored; but, if it is at any time slightly marked, it may be restored by at once rubbing the surface with a soft stick and fine rouge.”
143. Preparation of the gold powder. As already observed this can be obtained of any desired color from the dealers in chemical products, but the following method is given for the benefit of any one who desires to prepare it for himself:
Place some gold in thin leaves in a dish, and add a little honey, thoroughly intermixing the two by the aid of a glass rod flattened at one end; then place the paste so obtained in a glass of water containing a little alcohol, washing it and allowing the powder to settle. Decant the liquid and again wash the residue, repeating the operation until a fine brilliant powder is obtained. This powder is mixed as required with rock salt and powdered cream of tartar in the manner already described.
144. Second method. Dissolve one part by weight (say about ten grains) of pure gold, rolled very thin, in aqua regia (155) contained in a porcelain dish, which may be gently heated on a sand-bath, and evaporate the acid until it assumes a blood-red color. Add about 30 parts, by weight, of warm distilled water, in which 4 parts of crystallized cyanide of potassium have been previously dissolved; thoroughly stir the mixture with a glass rod, and filter it through a glass funnel.
145. Third Method. Roseleur recommends the following solution for gilding by simple immersion. Distilled water, 17 pints; pyrophosphate of soda (in crystals)[124] 28 ounces; hydrocyanic acid, 1-3 ounce; crystallized perchloride of gold, 2-3 ounce. The pyrophosphate is added, in small quantities at a time, to 16 pints of water, in a porcelain vessel, stirring with a glass rod and applying gentle heat; then filter and cool. The gold salt is dissolved in a small amount of water; filter and add to the cold solution of pyrophosphate; lastly, add the hydrocyanic acid and the solution, heated to the boiling point, is ready for use.
The articles to be dipped must be thoroughly cleansed and passed through a very dilute solution of nitrate of binoxide of mercury; they must be constantly agitated while in the bath and the best coating is obtained by dipping the articles in a nearly exhausted solution of the same kind immediately after the mercury solution.
146. Electro Gilding. But the method most usually adopted is that in which a battery is employed. It is, however, impossible, within the limits of this work, to explain the precautions that are necessary in conducting the process, managing the battery, etc., and the reader must be referred to works on electro-metallurgy for these details.
147. To prepare the pieces to be plated. After the surface has been stoned, boil the object a few minutes in a solution of soda or potash, and rinse in clean water.
Roseleur, in the articles already referred to, gives very full instructions, of which the following is an outline. The reader who desires to obtain more complete information can consult his works.
Attach the pieces to a cork and brush with a clean brush charged with water and pumice-stone powder and thoroughly rinse. Place them in a solution consisting of: water, 2¼ gal.; nitrate of binoxide of mercury, 1-14 oz.; sulphuric acid 1-7 oz. Then rinse again.
[125]
148. Graining. Mix thoroughly with the application of moderate heat, silver powder, 1 ounce; pure common salt, finely powdered, 13 ounces; cream of tartar 4 to 5 ounces. Make a thin paste of this mixture with water and spread with a spatula on the pieces; having mounted them on a cork to which a rotary motion is given, rub them in all directions with a brush with close bristles, adding fresh paste from time to time. When the desired grain is obtained, wash and scratch-brush with revolving wire brushes. Three of these are often used of varying degrees of hardness and a decoction of liqorice, weak size or stale beer is liberally applied to the surface.
149. Resist. This is a composition for covering steel parts in order to protect them from the action of the acids, etc., in the various processes of cleaning, graining and gilding. It consists of yellow wax, 2 ounces; clear resin, 3⅓ ounces; very fine red sealing-wax, 1½ ounces; finest rouge, 1 ounce; Melt the resin and sealing-wax in a porcelain dish, then add the yellow wax, and when the whole is thoroughly liquid, gradually add the rouge, stirring with a glass rod. The parts to be coated are slightly heated and covered with the mixture.
To remove the resist after the gilding process is completed, place the pieces in warm oil or turpentine, then in a very hot soapy or alkaline solution and lastly in fresh water.
150. When prepared as above explained, the object may be gilt by one of the preceding methods; of course a hot solution cannot be resorted to when the resist has been applied.
151. To clean objects that are of gold or gilt. The following method is equally applicable to pieces that are gilt, such as cocks, domes, etc., the frames and parts of timepieces and to either gold or gilt jewelry.
[126]
To about a tumbler of water add 20 drops of strong ammonia. Immerse the object several times in this mixture and brush it with a soft brush; as soon as the operation appears to be completed (which experience will soon enable the workman to ascertain), wash in pure water, then in alcohol, and dry with a fine linen rag. The original brilliancy of the gilding will then be restored.
When the coating is thin and has been galvanically deposited, only very soft brushes must be used.
Gilders, instead of dipping in alcohol and drying with a linen rag, usually immerse the pieces in boxwood sawdust, leaving them long enough to become thoroughly dry; after this treatment they merely require to be shaken and lightly rubbed with a fine brush.
The sawdust must be perfectly dry; indeed it is a good plan to slightly warm it by placing the wooden box containing it for a few minutes on a hot oven or stove in the winter and exposing it to a hot sun in summer.
Instead of ammonia, alum (156) is sometimes boiled in water and the objects dipped two or three times in this solution, subsequently brushing as in the previous case.
152. To restore the dead surface of gold or gilt objects. Place them for two or three minutes in chlorine water, rinse them in clean water, soap them and finally dry in sawdust. It is advisable that parts that are polished be prevented from actual contact with the liquid as it would produce a somewhat deadened surface.
153. To clean gold jewelry after soldering. Particles of binding wire are often left adhering to the surface of jewelry after soldering, and, on dipping the object into the dipping liquid, a layer of oxide may be formed. This can be removed without detriment to the polished surface by plunging the object for a few seconds in nitric acid (155).
[127]
154. The watchmaker has occasion to employ a few acids and salts. He should never forget the advice already given to keep them away from his work-bench and always to well wash a piece of metal that has been in contact with them.
155. Acids. Nitric Acid, either in a concentrated or dilute form, will dissolve iron, steel, copper, lead, silver, zinc, brass, nickel, mercury, German silver. It does not dissolve tin, but reduces it to a white powder, known as metastannic acid. Hence, if an attempt be made to dissolve bronze which contains tin, this metal is deposited, and the copper and zinc pass into solution.
Sulphuric acid will dissolve iron, steel, copper, tin, silver, zinc, brass, nickel, mercury, German silver.
Hydrochloric acid will dissolve iron, steel, zinc and nickel and has a slow action on copper, tin, brass and German silver.
Aqua regia, a mixture of about 2 parts hydrochloric and 1 part nitric acid, will dissolve all the above-named metals, and in addition, gold and platinum, although separately neither acid will attack these metals.
Hydrofluoric acid attacks and dissolves all metals, except platinum, lead and silver with violent effervescence. It is also used for etching on glass or enamel. It is usually preserved in gutta-percha bottles, and is of such a dangerous nature that no use should be made of it without a good knowledge of its properties.
Acids are rarely employed pure by watchmakers; they are diluted with water. Nitric acid of commerce has a density of about 1.4 (38° on Baume’s hydrometer). If[128] this density is reduced by the addition of water to 1.16 (20° Baume), we obtain the acid most commonly employed. For cleaning metallic surfaces prior to soldering etc.; for giving a grained surface to brass, and for whitening blue steel, special proportions are found most convenient, which the reader can best determine experimentally for himself, remembering that the action of the acid should neither be too quick nor too slow. When once he has ascertained the best proportion, he can always recover it by the aid of the hydrometer.
156. Salts. Borax serves as a flux in soldering gold, silver, platinum, etc., (131); also for the same purpose in brazing (138); it is met with in crystals or as a powder.
Sal-Ammoniac (also called Chloride of ammonium), is used for soldering tin, either as a powder or made into a paste, with sweet oil or with water, or mixed with resin.
Alum dissolved in water may occasionally be used in place of nitric acid for cleaning surfaces that have been soldered; it attacks iron or steel more energetically than copper, zinc, or brass. This fact is often taken advantage of for removing broken screws, etc., from brass plates. All other steel parts are removed and the plate placed in a solution of alum, when the steel screw is gradually eaten away by being converted into rust.
In 100 parts of cold water, only 9 parts of alum will dissolve, but if the water be boiled, it will take up 75 parts. Its action will then be proportionately more energetic when boiling.
157. The oil intended for use as a lubricant for watchwork, etc., should be kept away from the light, as otherwise it would be discolored; it is on this account that the[129] bottles containing such oil are frequently covered with black paper. Only the quantity wanted for immediate use should be placed in the oil-cup.
Two preliminary tests will afford some indication as to the quality of an oil. A thick layer is placed on a small portion of the surface of a glass plate, and side by side, a similar layer of another oil used for comparison, and they are exposed to the air for some time without being touched. The one that is found to be sticky under the finger when the other has dried up will, in all probability, be preferable. The second preliminary test is made on a whetstone; it is usually found that the oil that takes the longest time to thicken is of better quality. Of course these tests will only suffice to afford a rough approximation, and cannot be accepted as conclusive.
The mode adopted for testing either the acidity or the purity of oil will afford no evidence as to how long it will maintain its fluidity; and very good results have at times been secured by the use of oils that were slightly acid, or from mixtures of oils of two or more qualities.
Many of the methods recommended for purifying oils are to a great extent illusory, for they cannot impart to the fluid characteristics that are wanting from the beginning. Success depends largely on the skill of the manipulator; and if he is not endowed with the power of judging, mainly by the taste, whether oil satisfies certain prescribed conditions, he can never be certain of the result. Crops differ as regards degree of maturity, etc., from year to year; and the animals from which oils are procured are rarely in the same condition as regards health, age, nourishment, etc.
Tests made on a whetstone, and on a window-pane, as well as observations made on drops of oil placed in jewel holes, or in oil-cups in a metal plate kept for the purpose—some[130] of the drops being exposed to the air, while others are in closed boxes—will afford valuable indications; and according to the observations of M. H. Robert, it is safe to consider an oil bad if, at the end of six or eight days after being placed on a plate of good brass, it shows a marked green tinge—especially so if a clearly defined fringe forms round the drop, or else if the brass itself is discolored.
After all, the only evidence on which the watchmaker can rely is that which he obtains by experimenting on watches which he keeps to lend to his customers while their own are undergoing repair, and these trials should last for at least a year.
And there is great variety among the wearers of watches. Some live in constantly varying temperatures, often dusty; many ladies use perfumes; some persons perspire more than others; all these causes influence the oil, and make it alter or evaporate more rapidly in one watch than in another.
158. To secure the maximum permanency in oil. In the case of very many watchmakers who complain bitterly of the oils they employ, the fault is their own and not that of the oil; for they neglect the most simple precautions, both in purchasing and in using it.
The following are a few points to which attention should be given:
Do not buy, from motives of economy, bottles that have lain for years in the shop.
Keep the oil away from the light, and only take in the oil cup the amount required for immediate use, as stated above.
Ascertain that the watch-cases close well. If they do not, there will be air currents generated, and the oil will suffer.
[131]
The oil in a cylinder escapement will always deteriorate very rapidly; some watchmakers coat over the inside of the dome-joint and recommend the owner not to open it. By doing so, the oil can be maintained in good condition at the escapement for a long time.
Lastly, when cleaning a watch, the work should be conscientiously done. This point is very important.
When the parts are carelessly cleaned with soap, or with impure benzine, they will, after a few months, assume a dull colour, in consequence of a thin layer of the materials used in cleaning having been left on the surface. It has at times been noticed that steel work was preserved from rust through the perspiration of the wearer, after being cleaned by certain fluids. Evidently this was due to a thin coating having been left on the surface of the metal. The conclusion to be drawn is obvious: clean carefully; push the pivots into rather hard pith; finish with a soft brush in proper condition, and clear out all pivot-holes with pegwood.
159. Mixed oils: camphorated oils. Good results are frequently obtained by mixing together two different kinds of oil. Thus, American watch oil, which is very fluid and apt to evaporate at the temperature of the pocket, is improved by the addition of a somewhat thicker oil. A mixture of real American oil with the Rodanet oil has been recommended as excellent.
There are some who advocate the addition of a small quantity of camphor to an oil that is known to be satisfactory, but we cannot answer for it from personal experience.
160. Sinks. In cleaning, it is important to avoid removing the gilding in the oil sinks of watches, or the superficial oxide in the sinks of clocks that have been going[132] for a considerable time. For if it be removed, there will be a fresh coating formed in time, and this, too, at the expense of the oil.
In new timepieces that are not gilt, it is well worth while polishing the sinks over their entire surface. If not applied too liberally, the oil will then be more likely to remain in contact with the end of the pivot. Moreover, as the surface is smoothed and hardened, and its pores are, as it were, closed by the action of the polisher, the oil will oxidize more slowly. This fact was first pointed out by Robin.
161. Caution to be observed in applying oil. The precautions to be observed in applying oil will be better considered in Part V. of this work, where we shall describe the method of cleaning and putting a watch together.
162. Retention of oil on acting surfaces. Since oil is essential in order to diminish friction, and the movement of the bodies to which it is applied tends to drive it from the surfaces of contact, it is important, with a view to its being constantly brought back and maintained in proximity to these surfaces, that they be formed in accordance with certain rules based on the laws of hydrostatics.
163. Only what is known as rectified alcohol should be used in cleaning parts of watch work. The copper pan in which it is made to boil should not be too thin. The handle should be so arranged that it can be fixed in the vise, and the lamp held under the pan.
When, in heating, the alcohol ignites, it is best not to attempt its extinction by blowing; if the pan is held against the under side of the bench, the flame will at once[133] be put out, or this can be effected by merely laying a piece of sheet metal over the pan. A good plan for preventing ignition is to make a lid of wire gauze, which is placed over the pan during the application of heat.
The substance known as “methylated spirit” is a cheap preparation of alcohol, and of use for burning in a spirit lamp, and for other purposes where the alcohol is not required to be pure.
164. This and other preparations of a similar nature, such as Essence Lemoine, Essence Genevoise, etc., are much used for dissolving clogged oil and other substances of a greasy nature from parts of watches in cleaning.
165. The following account of the materials used for polishing, is, for the most part, extracted from Holtzapffel’s Turning and Mechanical Manipulation, to which the reader is referred for fuller information in regard to them, and to their mode of application:
Buff Leather glued to a flat surface, or to the edge of a revolving disc, is used with emery, crocus, rottenstone and other powders.
Charcoal is much used by steel and copper-plate engravers. That made by burning elder without access of air is considered the best, but willow and elm have also been recommended.
Diamond, in the form of powder, is used by lapidaries, seal engravers, and watch jewel makers. The latter obtain the diamond bort that is rubbed off stones in[134] faceting, and they separate it into various degrees of fineness, by decantation (168). The mode of applying it is described in articles 207, 216.
Diamantine, Sapphirine, Rubitine, etc., are names given to various chemical preparations for polishing, to be obtained at the tool shops; they must not be assumed to consist in any way of the jewels from which their names are derived.
Emery. At the present day, oilstone dust is very frequently replaced by emery with oil or water, especially in clockwork. Any required degree of fineness can be obtained by decantation. Emery dust is sometimes used in place of rouge for polishing.
The solid emery wheels and sticks, that are now common in the trade, work rapidly, but they have the disadvantage of heating steel, and many of them soon become pasty. The heating renders them less suitable for grinding gravers, but they are very convenient for roughly shaping steel work, or removing the hard surface caused by the application of heat.
To make emery paper. If occasion requires it, this can be done as follows: Fix a sheet of stout rope manila paper on a board, glueing it round the edge. Having put emery powder into a sifter, the mesh of which has the requisite degree of fineness, and rapidly covered the surface of the paper with thin hot glue, shake the sifter lightly over the paper until it is evenly covered, and leave to cool. When dry, detach the paper and shake it vigorously to detach loose grains. Cloth may be used instead of paper, if desired.
Hone slates. Under this heading are included a great variety of stones used for smoothing and polishing.
[135]
Ayr stone, or water of Ayr stone, is much used for smoothing brass work prior to gilding (142), etc. It should be kept wet in order to prevent it from becoming hard.
Blue polishing stone is much used by jewelers, clockmakers, and others; it is recommended for use in spotting (174) and for polishing wheels (176.)
Oilstone. This forms the quickest cutting whetstone known. Oilstone slips are used by watchmakers after the manner of files. Oilstone powder, or dust, is much used in the earlier stages of polishing, and is preferable to emery in that it does not leave particles embedded in the surface of the metal. On pewter laps it may also be employed for polishing steel work.
Oxides of iron. Under this head are included the several materials known as crocus, rouge, red-stuff, colcothar of vitriol, etc. It is advisable to remove gritty particles from these materials by decantation (168) before using.
Pumice-Stone is extensively used for polishing cut glass, and is applicable to brass and other metal work.
Putty Powder is oxide of tin, or, more commonly, of tin and lead in varying proportions. The whitest kind, provided it be heavy, is considered the best.
Rottenstone. This variety of tripoli is of the greatest value for polishing brass work, as well as for silver, glass, and even the hardest stones.
Tripoli is of a greyish yellow or red color, and consists mainly of silica. Its principal use is in the polishing of hard woods.
[136]
Whiting is common chalk, ground, washed to remove sand, etc., and dried in lumps.
166. Polishing Stones. The following method is described by M. Cadot for preparing these stones, which are very useful for polishing a wheel that is not riveted to its pinion (see article 185).
Carefully select a blue stone; after dressing its surface, smooth it with emery paper of gradually increasing fineness. Saturate the surface with oil, and rub it with a common piece of rough sapphire, one face of which is flat and partly smoothed, until the surface of the stone is hardened.
Such a stone is used dry. The wheels must previously have been carefully smoothed, since the stone does not abrade the metal. If care is taken to avoid scratches, the surface will last for a long time, although, of course, it is only serviceable for gold, brass, nickel or metals of a similar degree of hardness.
167. The several materials used for polishing must be kept carefully packed (glass stoppered bottles are preferable), as a few grains of dust, or of foreign bodies, will suffice to prevent the operation of polishing from being successful. Polishers should be filed very smooth, with a perfectly clean file that is not quite new. Files that are dirty or new will deposit small hard particles of dirt, or cause pieces off the points of their teeth to become embedded in the surface of the polisher.
168. Decantation. This consists in causing a material in a fine state of sub-division to fall slowly through a liquid with the view to separate coarse particles, or various degrees of fineness, by taking advantage of their different rates of descent.
[137]
The watchmaker should prepare all his smoothing and polishing materials, etc., by decantation. He will by this means obtain them in grains that are much more uniform in size, of any required degree of fineness and free from hard or large particles.
The operation is exceedingly simple. The material having been pounded under the hammer or otherwise, is thrown into a vessel more or less filled with a liquid, water, oil, etc. After being thoroughly stirred, it is allowed to partially settle, and the liquid is carefully poured into another vessel. All the coarse heavy grains will be found as a residue in the first vessel; they are collected and used for coarse work. After again stirring and leaving to settle for a longer period, the liquid is again poured off, and the powder thus separated will be the second degree of fineness, so that it may be termed No. 2. By successive operations, in which a gradually increasing interval of time is allowed, Nos. 3, 4, etc., can be obtained; that is to say, a series of powders of the same material but presenting a greater degree of uniformity in the size of grains and of gradually increasing fineness. It may be observed that when the powder of the requisite degree of fineness is nearly attained the mass should be left to settle until the following day, or, rather, until the fluid is clear; then decant carefully so as not to lose any of the deposit.
When treating a material that is soft and friable, it should be crushed between the fingers, as by using a hammer hard grains of foreign matter might be accidentally intermixed. Oil may be used for decanting diamond powder or oilstone dust for smoothing; water for rottenstone or tripoli; alcohol for hartshorn, etc.
[138]
169. To prepare diamond powder. Select rough diamonds of a blackish tint, of such a size that there are four or five to a caret. These are crushed in a hard steel mortar of the form indicated in fig. 40, the pestle being provided with a small stuffing box that can be brought down on to the mortar to prevent the escape of diamond-dust; but it is well to first crush one stone, with a single blow of the hammer on the pestle; remove all the fragments and examine the end of the pestle; it will be found that a number of particles have bedded themselves in it; these should be examined to select pieces to serve as drills and gravers. The larger fragments serve for gravers, and particles should be sought that are as nearly as possibly triangular prisms about ¹⁄₅₀ inch long for making drills. The other stones may be treated in similar manner till enough fragments are found. Now place all other pieces in the mortar, and continue for two or three hours striking the pestle with the hammer, turning it partly round after each few blows to prevent the powder from imbedding itself in the steel. When no “bite” is perceived in rotating the pestle, the diamond is sufficiently reduced; it is shaken out of the mortar into a watch-glass containing the most limpid oil attainable, and if necessary the fragments are released by a steel spatula, at the same time striking the external surface of the mortar with the hammer. Thoroughly mix the oil and the powder, subdividing the latter as much as possible by rubbing against the glass with a spatula; allow the mixture to rest for an hour and pour off the liquid into a second glass, leaving the larger particles behind. Leave the oil in the second glass for four hours; then decant, into a third glass with the same precautions; this is left for eight hours; the next glass sixteen hours. When all the powder has settled pour off the oil, and the several degrees are ready for use.
[139]
Some jewelers prefer to leave the powder for two or three days in a mixture of equal nitric and sulphuric acid in order to dissolve particles of steel. The acids are then much diluted with water, left for some days and decanted. Then wash the powder in two fluid ounces of pure alcohol, leave for two days, decant and dry, and afterwards treat with oil. The operation is long and hardly necessary.
170. If a surface is smoothed well, the labor of polishing will be diminished by at least one-half, and it is an essential preliminary if a good gilding on brass is required.
The materials most frequently used are emery and oilstone dust for steel, pumice and water of Ayr stone for brass. The stones should not be traversed by veins, nor exhibit hard grains. Powders should be freed from large or hard grains by decantation, and it is advisable to repeat this operation several times in order to have several degrees of fineness.
171. Every watchmaker knows that after finishing the object with a smooth file, it is smoothed, first with a blue stone or rather coarse water of Ayr stone, and then with one of finer grain. If the brass is to be gilt, the operation is concluded with a series of circular strokes, so as not to leave any striæ or bright spots; if the surface is to be spotted or watered the final strokes should all be parallel.
A soft piece of charcoal applied with water may also be used on objects intended for gilding; in other cases it is used with oil.
172. Wavy or watered smoothing. This is done with water of Ayr stone and oil carefully prepared, or[140] with a piece of wood charged with oilstone dust, etc. The oiled corner of an emery buffstick can occasionally be used.
To obtain wavy undulations on a smooth piece of metal, the finger should first be placed at the point of commencement of the undulations. Resting the wood or stone against the finger, it is moved a little in a straight line, and then in a series of semicircular waved lines, from right to left or left to right. The finger is advanced through a definite distance and the operation repeated, and so on.
A very good watered surface can be produced with soft charcoal. With a view to increasing the regularity in the marks, a rule may be laid on the object, against which the charcoal is brought.
Parallel watering is usually done mechanically, but any watchmaker can secure regularity by the following simple device.
Fix a graduated rule t g across the cork (fig. 41) and two pins A A, to form stops for preventing the stick or stone from traveling too far. A division of the rule is made to correspond with the line v v; and, when the first line has been traced, advance the object by one, two or three graduations of t g, according to the interval that is to be left between successive undulations. Then trace the second wave, and so on.
173. Wavy and curvilinear smoothing. These are of two kinds; some are entire circles, which we shall proceed to consider; others radiate in curves from the circumference to some other point of the circle as, for[141] example, many of those that are met with on keyless ratchet wheels. The latter will be discussed farther on, when discussing the smoothing of steel, for the process is identical for both steel and brass, except that with the latter named metal and nickel the stick may be replaced by a strip of zinc or tin, and coarse rouge is used.
174. Circular snailing or spotting. This is produced on a special tool by which several motions can be given to the object, but watchmakers, as a rule, so seldom have occasion to trace this class of ornament, that it will suffice to explain how it can be produced by the appliances that everyone has at hand.
The universal mandrel may be employed for the purpose, but, in that case, the operation is a very slow one, whereas, with the ordinary lathe, it can be done both rapidly and well.
Adjust a rest of the form shown at s (fig. 42), taking care that the height of the center is sufficient; the small rectangular bed a a has a projecting edge, divided by equidistant graduations. To the headstock of the lathe is attached, at b, a piece of bluestone or wood. Having set the rest at a convenient height, and holding the object to[142] be spotted, P, on the rest, bring in it contact with b when in rotation. When the mark is made, lean the object from b, slide it along a a so that its edge coincides with the next division and make another mark, and so on until an entire row is completed. Then raise or lower the rest and repeat the process for a second row, and so on.
Instead of applying oil to the acting face of b, which would have to be renewed at each operation, it is usual to cover the object P with oil, if b is a stone, or with oil mixed with the substance used for smoothing, if b is of wood. If this precaution is taken, the work will progress much more rapidly.
When the object operated upon is of irregular shape it must first be attached to a rectangular plate and then proceed as already stated.
A still more simple method, but one that is, in certain cases quite sufficient, consists in passing through the poppet-head a center of the form f d (H, fig. 42) which is caused to rotate by the fingers or any other means.
To make spottings that, instead of being parallel, radiate from the center to the circumference, the rest a a must carry a disc that can rotate on a clamping screw, and is maintained in position by a finger, with an even number of equidistant divisions on the circumference of the disc. The object to be operated upon is then fixed to the disc, and a stick used, the diameter of which is equal to the distance between two radii that pass through a pair of graduations on the disc; for example, the small circle s (fig. 43). A series of circular spots is then made by gradually rotating the disc. Now replace the rod s by one of the diameter n; advance the support until it corresponds with the position n, and make the [143] second range of circular spots, and so on. The figure renders any further explanation unnecessary.
The watchmaker who has clearly followed what precedes will be able, should occasion require it, to construct a special tool acting with certainty; but it will be well to remember that there is a great advantage in driving the spotting stick by the foot, and bringing it down on the object by a small hand lever, after the manner of the drilling machines used in factories.
175. The smoothing of a steel object is commonly done on a piece of cork, with a large iron polisher charged with oilstone dust and oil. If a flat surface, it can be finished with a copper polisher or on a sheet of glass. In the case of staffs, arbors, etc., that are not intended to be polished subsequently, a certain degree of brilliancy is given to the surface by rubbing with wood, usually pegwood, or with a stick covered with the finest emery paper and oil.
A surface that will not be subjected to friction—as, for example, the head of a screw—can be smoothed rapidly and well with a dry emery buffstick if little metal has to be removed, and the polishing can then be at once proceeded with. Only one cleaning is in this case necessary, for after the emery it will suffice to rub with pith and pass a brush over the surface.
For ordinary work, smoothing a staff or head of a screw with dry, fine emery and finishing by the friction of rather hard pith backwards and forwards, will give a fairly satisfactory surface.
176. White and dead smoothing. To produce a graining, the piece of steel must be previously smoothed[144] in the ordinary way, perfectly flat and free from scratches. The graining is produced by rubbing the object on a sheet of ground glass with the finger, taking very small circular strokes, especially towards the end of the operation. The degree of success depends on the quality of the oilstone dust employed. It must be very fine, and it will be a prudent precaution to decant the powder in water, or preferably in oil, and not to use the earlier deposits (168).
When the oilstone dust is not very good, it may be washed in hydrochloric acid, which dissolves most of the hard grains, but it will require to be thoroughly washed in water afterwards, on account of the difficulty there is in removing the last traces of the acid. Of course such a method is only to be resorted to on an emergency.
Perhaps the most difficult piece to grain is a keyless barrel ratchet, because if the operation is at all prolonged the edge of the ratchet may become white before the center and it may even polish. If this happens, the ratchet should be held in the hand and rubbed with a piece of pith cut to a blunt point with a flat end. By this means it is easy to act on the center, avoiding the edges.
177. Dead white or frosted surface. After having grained the steel in the manner above indicated, if it is required to obtain a dead white frosted surface, employ a mud formed of Arkansas stone dust, or the sticky deposit on a whetstone, which is more easily obtained. It should not be too yellow, as the result is all the better according as a greater number of steel particles are mixed with the oil; at least, so we are informed by some very good workmen. A large piece of elder-pith having been divided into two equal parts lengthwise, is smoothed with a new, clean file; the mud is spread upon it, and the piece of steel is moved over it with circular strokes as in[145] producing the graining. In this case the movement can be rapid. If the operation be well done, and if the oilstone dust used be of good quality, the object will, after being cleaned, present a beautiful uniform white surface in which the graining is still visible. Experience and knack are everything in the proper conduct of such an operation, especially in its concluding stage.
The surface may be cleaned in pure benzine mixed with a little sulphuric acid, followed by a very clean buffstick, which will impart a brilliancy to the metal.
M. Bean recommends fine Turkey oilstone powder mixed with turpentine as the best preparation for rapidly producing a dead smooth surface on steel work.
Workmen that are constantly engaged in graining employ a foot-wheel for the purpose. The ground glass is fixed so that, although not rotating, a small circular motion is communicated to it. The steel is then simply held against it; indeed, several pieces can be grained in this manner at once.
To the methods above described we would add the following, which is successfully practiced by several English workmen:
They lightly fix the ratchet, for example, by its edge, and finish the smoothing with a piece of pith, more or less charged with pure charcoal powder and fine oilstone dust. Here also knack is mainly instrumental in insuring success.
178. Snailing. To produce the snailing on a fusee or on keyless wheel-work, the device shown in fig. 44 can be used. The ratchet or fusee is mounted between one pair of centers and driven by a cord from a foot or hand-wheel. The copper or iron lap, having a diameter equal to about three times that of the surface to be snailed, is[146] charged with fine emery powder and oil, or oilstone dust, etc., and set in contact with the face of the steel, which thus causes it also to rotate. The direction of the snailing will be the same, whether the rotation is to the right or left. If it be required to change the direction, the relative positions of the two pieces must be reversed.
It has been already observed that brass and nickel can be snailed in the same way, employing a zinc or tin lap and coarse rouge (173). In some cases, hard wood laps can be used for these softer metals.
In keyless steel wheels a beautiful snailing can be obtained with Arkansas stone mud (or, in its absence, the greasy mass from an oilstone) mixed with polishing rouge.
With reference to the little tool shown in fig. 44, it may be observed that, if the axes of both the steel piece and lap were driven by bow or otherwise, the surface would be polished and not snailed.
In the absence of the tool here referred to, any one can easily construct one for the purpose which will adapt to the mandril or a foot-lathe: in order to help him in doing so we will describe one designed by M. Cadot, of Paris.
179. Tool for snailing. This is shown in fig. 45, and we would at the outset observe that it can be used equally well for polishing. To a shoulder at the extremity, A, of a piece of steel rod, B (which takes the place of the slide-rest cutter) is riveted an L-shaped piece c c d, and to the point d is firmly fixed by a screw or rivet, the upright piece d h parallel to c c; this piece is enlarged at h so as to give a bearing to a hardened steel screw, with a hollow point, in the axis of B: the lap is supported between this screw and a hole in the center of A. The[147] figure will suffice to indicate the form of this lap which is dished internally as shown by the dotted line. It is made of iron or copper if intended for use with hardened steel.
The piece to be snailed is fixed to a chuck of the foot-lathe, and, having fixed the rod B in place of the cutter, the lap is brought, by means of the slide-rest screws, in contact with the steel, taking care not to set it up to the center, as snailing that starts from the center is not so good. Having charged the lap with fine emery and oil, the object is rotated and it sets the lap also in motion.
It was mentioned above that this tool can be employed for polishing: for such a purpose use fine rouge, replace the lap by one of bronze or bell-metal, fix a ferrule at i, and, while the object turns in the lathe, rotate the lap with a bow.
By fixing a rod at L instead of at B, the tool is at once adapted to be used in an ordinary pair of turns, as it can be fixed in place of the T-rest; but it is not so easy to secure parallelism of the two surfaces.
180. To restore the watered surface in nickel movements, etc. Although the following is employed for nickel (or rather German silver) it may be well to observe that it is equally applicable to all other metals.
As these nickel movements are not gilt subsequent to being repaired, it frequently happens that the water marks on the surfaces do not correspond. By the aid of the following device watchmakers can correct this fault, but we must warn them that, as in all operations involving dexterity, they must first make experiments in order to acquire the requisite manual skill.
[148]
On a small open frame C C, fig. 46, fix several parallel bars f l, e d, etc., and on two of these adjust a slide p o n m, with two strips glued underneath so that it can travel up and down between a and b. On p o n m, fix a guide of convenient form, as G; and, after cementing the piece, say A, that is to be watered on a board resting on the bench, place the frame C C above it and trace the figure of the guide with a pegwood stick charged with polishing material. The same figure can be reproduced in parallel rows as the guide can be moved up or down.
By varying the shape and position of the guides, the water lines can take the form of waves, festoons, circles or ovals. In the two latter cases the guide has apertures of the requisite form, and the board that carries A, not being more than half the size of the aperture, can be moved about by hand or by a tool.
If preferred, one of the bars, as e d, can be graduated and arrangements can be made for clamping the slide by screws in any position.
These explanations will suffice to enable any intelligent watchmaker, after a few trials, to imitate successfully any of the beautiful watered surfaces that are, on a manufacturing scale, produced by machinery.
As regards the material to be used, first mix medium rouge and putty powder in equal proportions. It will be possible to decide from the shade obtained whether more putty powder should be added, because when there is too much rouge, the surface does not acquire a good white color.
[149]
181. To polish brass. When it is required that a surface be maintained perfectly flat, first dress with somewhat coarse water of Ayr with blue stone and then go over with a softer stone. Next work with fine rottenstone and oil on a felt or buffstick for objects of large dimensions and on a piece of pegwood for smaller articles. They are then soaped, washed and dried in sawdust (151).
The work can be accomplished more rapidly, but without maintaining a perfectly flat surface, by first employing pumice-stone and oil spread over a large piece of soft wood or felt. It is then cleaned and polished with rottenstone.
When the form permits of it, a tin disc charged with tripoli and rotating in a lathe can be employed.
Observations. Pumice-stone is powdered fine and then sifted. In using rottenstone a piece an inch or two cube is crushed between the fingers into a cup of water, and this is decanted so as to give several degrees of fineness (168). The polishing can best be effected by using old wood from which the sap has dried up: French chalk has but little action if the polisher with which it is applied is from the animal kingdom, horn for example, etc.
182. To polish watch wheels. Although the operation of polishing is extremely simple, it is very important that a certain degree of manual skill be acquired by practice, as otherwise the work is never of the best.
We will here enumerate several methods of procedure, in order that, after trial, each can select the method with which he finds himself most successful.
Smoothing. The smoothing should be done carefully with very soft water of Ayr stone, free from veins and[150] hard grains and perfectly flat. The wheel must then be well cleaned.
Polishing. In polishing, rods of walnut or boxwood, of tin, bronze or zinc are used. A buffstick and burnisher are also employed.
The materials applicable are rottenstone (with oil or alcohol, being made very thin in the latter case) tripoli, prepared chalk, polishing rouge, crocus, etc. These materials have been sufficiently described in articles 165-7. Workmen sometimes prefer to make mixtures of two or more substances, but it is more usual to employ them separately.
183. First Method. After smoothing and cleaning the wheel, it is polished while resting on a piece of cork, where it is held between the fingers which cause it to rotate; the best rottenstone is used and is applied by smooth pieces of boxwood, about 8 inches long, which are filed to a bevel edge. It is best to have the grain of the wood crosswise and the polishers should be of sufficient thickness to prevent their bending when in use.
The rottenstone can be replaced by tripoli and the boxwood by walnut. Some wheel polishers prefer a triangular stick of pure tin or zinc which is often planed to ensure perfect flatness; rouge, rottenstone or tripoli can be used with it.
The wheel, after being well washed in soap and hot water, is thoroughly dried and finished with a fine buffstick in good condition, while it rests on a cork covered with smooth felt; this operation is with a view to prepare the surface prior to using the burnisher.
Some polishers, instead of the dry buffstick, prefer one charged with a little rouge, tripoli or rottenstone[151] moistened. But such preparations must be applied very sparingly as they involve a risk of rounding the edges.
The burnisher is next rapidly passed over the surface of the wheel, which rests on cork, covered with a linen rag, or on a piece of wood, covered with smooth paper. Some give long backward and forward strokes with the tool; others give semicircular movements. It will be found sufficient to give short strokes from half an inch to an inch in length. A slight motion of the wrist is all that is required and after a few trials the necessary skill will be attained. We cannot say more. Practice must also be relied on for determining the most suitable pressure.
The burnisher, about half an inch wide and four inches long, is curved in the direction of its length. A straight burnisher might be used, but it is less safe; the angle of the burnisher set against the pinion should be rounded off.
The burnisher is cleaned and restored by drawing across a large flat piece of walnut charged with rouge of very good quality and very pure. After being washed, a little white wax is passed over it, and then it is again rubbed vigorously with a piece of cloth or a buffstick; finally with a soft linen rag. When a tendency to stick shows itself this operation must be repeated.
184. Second process. By this method the surfaces are somewhat rounded off at the edges. But, although not so pleasing to the eye, this circumstance involves no inconvenience except that, when burnishing, the burnisher would not at once come in contact with the entire surface; we need not, however, employ the burnisher.
Laying the wheel on a cork, some workmen smooth the wheel by covering it with oil and fine tripoli and rubbing with a walnut-wood stick. Others spread a layer of such[152] a mixture first on the stick and then rub the wheel. When no more lines are observable across the surface of the wheel it is cleaned, placed on a fresh cork that is covered with a soft linen rag, and polished with a fresh buff stick (or one that has already been used for a similar purpose) and an abundant supply of rouge or even fine rottenstone and oil may be used. The buffstick receives a semicircular movement in all directions in order not to needlessly round the corners, the edges of the teeth and the crossings.
It is then washed in warm water, bathed in alcohol and dried with a fine linen rag.
185. Third process. After smoothing with a very soft stone, rub it with a piece of the root of boxwood cut across the fibre, on which is a layer of the following composition:
Two-thirds rottenstone mixed with one-third castile soap, worked into a paste with a few drops of water so that, although not a liquid, it can be spread out at will.
Make the wheel move backwards and forwards between the fingers while resting on a smooth, good cork, without a linen rag, and, as the operation nears its completion, a semicircular motion should be given to the wood. Wash with soap, boil in alcohol and dry.
The wheel can be burnished on a cork without any linen rag and the (curved) burnisher should be moved with short circular strokes from the center towards the circumference, gradually working up towards to the extremity of the burnisher; the same portion of the burnisher should not pass twice over the wheel (see also article 166). For common work, fairly satisfactory results may be obtained by using French chalk and a piece of hard wood.
[153]
Clock wheels are polished with a piece of felt and rottenstone. They are subsequently soaped, washed and dried in sawdust. (151)
186. To polish lever escape-wheel teeth. The Lancashire escape-wheel makers employ a triangular frame carrying at its corners, (1) a cutter to slit the teeth, (2) a cutter to shape them, and (3) a revolving piece of hard leather of a section corresponding to the form of the space. This latter is charged with the finest glossing stuff, used dry, and the sides of the teeth of six wheels at a time are polished by revolving the disc in each of the spaces in turn. It is hardly necessary to observe that the operation is completed before the wheels are removed from the cutting engine.
187. To polish sinks or oil-cups. A piece of pegwood, rounded at the end, is used for this purpose, rotating it in a lathe; the watch plate or cock should be inclined in varying directions to the stick in order to remove scratches. If a very high polish is required it may be given by following with a stick, the end of which is covered with wash-leather charged with rouge.
188. The polishing must always be preceded by a very thorough smoothing, either with oilstone dust, fine emery, or coarse rouge. If any lines are left to be erased by means of fine rouge, the operation becomes tedious and is rarely successful. The oilstone dust is applied on an iron or copper polisher. When it is desired to preserve the angles sharp, at a shoulder for example, the polisher should be of steel.
When using diamantine an iron polisher, drawn out and flattened with a hammer, answers very well.
[154]
With fine rouge, a bronze or bell-metal polisher is preferable for shoulders; and, for flat surfaces, discs or large zinc or tin polishers, although glass is preferable to either of these.
After each operation with oilstone dust, coarse rouge, etc., the polisher, cork, etc., must be changed, and the object should be well cleaned—preferably by soaping; perfect cleanliness is essential to success.
Fine rouge or diamantine should be made into a thick paste with oil; a little is then taken on the polisher or glass and worked until quite dry. As the object is thus not smeared over, a black polish is more readily obtained, and the process gets on better if the surface is cleaned from time to time.
189. To get a good black polish. As just pointed out, this is mainly secured by using very little polishing material at once, in a very little liquid on either, the polisher or glass plate and drying up quickly. If the surface does not prove satisfactory at first, it will often be found that a final rapid and light application of dry diamantine or rouge on a piece of glass or pith will produce a brilliant black polish.
If operating on an axis or staff, polish as well as possible, first erasing the marks of the graver or file, and then, hold the ferrule between the fingers, rotate it with one hand and with the other rub the axis lengthwise with a pegwood stick charged with rouge or diamantine.
A rod will show a black polish if it be rubbed lengthwise with emery paper of gradually increasing fineness, oil being applied with the finest quality.
To polish flat surfaces. Place the object on a sound piece of cork covered with a clean rag and rub with, a long strip of ground glass.
[155]
To polish a square shoulder. Fix a rod in place of the T-rest of the turns, and set it in such a position that the polisher rests on this vertical rod when lying flat against the shoulder. Another and better method consists in cementing or otherwise fixing in the plane of the shoulder a brass disc of such dimensions that the polisher is constrained to remain flat.
Observations. The corner of the polisher that is used for polishing a shoulder should be neither right-angled nor too acute. In the first case it would round off the shoulder, and in the second it would become soon distorted and leave dull radial marks on the surface.
Diamantine should not be used for polishing the acting surfaces of pivots, the pallets of escapements, etc., since this material, as well as emery, is liable to leave particles embedded in the steel which occasion rapid wear.
190. The principal uses to which the watchmaker applies cement is for fixing objects in the lathe, pallet-stones in position, as well as locking and unlocking pallets, ruby-pins, etc.
The selection of a cement or wax is not a matter of indifference; fine sealing-wax causes objects to adhere firmly together, but many of the best workmen prefer refined shellac. Certain kinds of wax are too dry, the consequence being that a false stroke of the graver will often detach the piece; others are thick and soft, and are apt to heat rapidly under the action of the burnisher or polisher, so that the object is displaced. It is only by making a series of trials that the efficiency of the material can be ascertained. Some workers claim that a mixture of sealing-wax and shellac gives good results.
[156]
191. Mode of applying cements. When employing wax, resin, cement, etc., for uniting two objects, it is important to note that the mode in which it is applied has an important influence on its efficiency. The following observations on this point are due to M. Sibon, and the reader will be able to select those portions that have reference to his work.
When two objects are united by a cement, this will lose much of its value if unskillfully applied, and, in order to use it to the best advantage, the following practical rules should be observed.
1. The surfaces to be united must be quite clean.
2. The less cement, wax, etc., that is interposed between them, the better they will adhere. This is owing to the fact that with a thick layer the object has, at the junction, no more rigidity than that of the cement itself; as a rule this more fragile than the material it is employed to unite.
3. There should be perfect contact between the cement and the surfaces. With a view to securing this, the object must be first heated to a point such that the wax or cement cannot solidify without having first had time to effect a perfect union.
This remark is especially applicable when using sealing-wax, mixtures of resin, shellac, and similar materials. They will not adhere firmly unless the surfaces have been heated very nearly to the point of fusion of the cement. The sealing of letters offers an example in proof of this assertion. When the seal has been used several times in succession or been left too long on the wax so as to become hot, it will adhere and cause some inconvenience if further employed.
With hot melted glue, adhesion is best secured by friction or a moderate pressure.
[157]
Sealing-wax is excellent for uniting metal to glass or stone, providing they are sufficiently heated to melt it; for, if applied to cool surfaces, it will not adhere at all. By heating two pieces of glass or stoneware sufficiently to melt shellac, a small quantity will suffice to make them adhere firmly together; notwithstanding that every one has seen such joints, very few succeed in making them, for the simple reason that they do not recognize the necessity of heating a delicate piece of glass or china to the point which is essential for securing a good result.
In conclusion, the principal obstacles to adhesion are air and dirt. The first is always present; the second is due to accident or carelessness. All surfaces are covered with a thin layer of air that is very difficult to remove; its influence prevents highly polished metal from being moistened when immersed in water. So long as this layer of air is not displaced, the cement cannot adhere to the surface to which it is applied, because it cannot come into direct contact. The most effective agent for displacing this air is heat. Metals heated to about 75° C. (170° F.) are immediately moistened on being plunged into water, hence it follows that, as regards cements that are applied in a fused state, heat is the best means of bringing them into intimate contact with the surface.
We would add that, in addition to possessing this advantage, the application of heat also renders the surfaces more penetrable to the layer of cement, after the manner of soldering, and makes the interlocking of the molecules more perfect; this explains the greater degree of tenacity of a well made joint with only a thin layer of cement.
192. To set in wax in the lathe. Trace a series of concentric circles on the face of the chuck with a graver point, after turning it true: this will increase the[158] adhesion of the cement. Then the flame of the spirit lamp is held under the rotating chuck and, when this is hot enough, its surface is covered with a layer of shellac or sealing-wax, and the object is held against it. Holding it in position with a piece of pegwood supported on the T-rest, the lamp is removed and the lathe kept rotating until the cement sets. The cooling can be hastened by applying a small moist sponge, but it should not set too suddenly.
If the object requires to be very exactly centered, its position must be insured while the cement is still soft by means of a long pegwood stick in its central hole. This stick is held in position until the cement sets, steadying it between two fingers close up to the chuck. The slightest eccentricity will be indicated by a motion of the free end of the stick.
If the object is round, and has no central hole, it must be centered by its circumference, holding the pegwood in front, or resting against a corner of a circular elevation or depression, as, for example, the collet of a wheel, or of a cylinder riveted to its balance, etc.
The beginner should make a number of trials; they will enable him both to acquire lightness of touch, and to recognize the proper degree of softness of the cement for centering, as well as its tenacity.
When it is essential that the two faces of the object be strictly parallel, a precaution is necessary; this consists in leaving on the face of the chuck a slightly projecting circular rim with a fine smooth edge, and of a diameter rather less than that of the object. By moving this latter backwards and forwards after applying it to the wax, and pressing it into close contact while cooling, the requisite parallelism will be secured.
[159]
193. To fix a pallet-stone, etc., in position. To fix a pallet-stone or an end-stone by means of shellac it is usual to place a small piece of the latter round the stone when in position and apply heat. But very often the lac spreads unevenly or swells up; and this, in addition to being unsightly, is apt to displace the stone. The inconvenience can be avoided as follows: The pallets are held in long sliding tongs, and, taking a piece of shellac, heat it and roll it into a cylinder between the fingers; again heat the extremity and draw it out into a fine thread. This thread will break off, leaving a point at the end of the lac. Now heat the tongs at a little distance from the pallets, testing the degree of heat by touching the tongs with the shellac. When it melts easily, lightly touch the two sides of the notch with it; a very thin layer can thus be spread over them, and the pallet-stone can then be placed in position and held until cold enough. The tongs will not lose the heat suddenly, so that the stone can easily be raised or lowered as required. The projecting particles of cement can be removed by a brass wire, filed to an angle and forming a scraper.
To fix an end-stone, the cap must be held by its edge in the sliding tongs, and shellac carefully applied around the edge of the hollow. It is advisable to hold the cap in a small tool formed of two parallel blades, as when reversed so as to press the stone on a flat surface, the shellac will spread over the end-stone, from which it will be removed with difficulty.
194. This name is applied to an opaque glass, with which various metallic compounds, such as oxide of tin, phosphate of lime, borax, etc., have been incorporated by[160] fusion. The color, of course, varies with the substance so added.
Willis recommends the following as a good white enamel for dials: silver sand, 14 parts; borax, 10 parts; red lead, 18 parts; niter, 2 parts; oxide of tin, 12 parts; flint glass, four parts; and binoxide of manganese, 1-50th of a part. But a good deal of care is requisite, both in selecting the materials and preparing the enamel, in order to insure a pure color of any desired shade; it is, therefore, often desirable to purchase the enamel ready prepared.
In applying enamel, regard must be had to the relative dilatation of the metal to which it is applied, the two being so combined as to expand and contract together; otherwise there is danger of the enamel cracking, either at once or shortly after it has set.
Enamel may be applied to gold or copper. Associated with the latter, it forms the ordinary dials of watches and timepieces, and, with the former, it serves for making enameled gold dials or cases. The gold should be of 22 carat, the 2 carats of alloy consisting of equal parts of silver and copper. If the gold is of a higher standard, it will not adhere so well, and, if lower, there will be a further danger of melting the metal before the enamel is fused.
Silver is apt to cockle on the application of heat, and enamel applied to it presents a bubbly appearance.
195. Application of enamel in the cold. We are indebted for the following particulars to M. Fournier, of Dieppe, a well-known enamel maker:
There are two kinds of false enamel for application, when cold, to damaged dials.
[161]
The first, a mixture of white resin and white lead, melts like sealing-wax, which it closely resembles. It is advisable, when about to apply it, to gently heat the dial and the blade of a knife, and, with this, to cut a piece of enamel of the requisite size and lay it on the dial. The new enamel must project somewhat above the old. When cold, the surface is levelled by scraping, and a shining surface is at once produced by holding at a little distance from the flame of a spirit lamp. It is necessary to be very careful in conducting this operation, as the least excess of heat will burn the enamel and turn it yellow; it is, however, preferable to the following, although more difficult to apply, as it is harder and does not become dirty so soon.
The second false enamel contains white lead mixed with melted white wax. It is applied like a cement, neatly filling up the space, and afterwards rubbing with tissue paper to produce a shining surface; if rubbed with a knife blade or other steel implement its surface will be discolored.
196. The principal precious stones used in watches, chronometers and regulator clocks, in their order of hardness, are: diamond, ruby, sapphire, chrysolite.
A watchmaker, although he may not have had any previous experience of jewels, can easily ascertain their relative hardness by rubbing one against the other. The softer will be scratched by those that are harder, and the stone that can be marked by a file may be thrown aside as useless.
197. Diamond. We shall make a very brief reference to this stone, as it is not used except for the end-stones for balances for chronometers and high-class watches.
[162]
Splinters of diamond are employed for drilling materials of a less degree of hardness, and fragments fixed at the end of a rod are used for turning very hard steel; diamond dust is the principal material used for working precious stones, polishing, etc. (see articles 165 and 169).
198. Ruby. This jewel, of a rich, velvetty, red color, exists in three principal varieties: oriental, spinel and balas rubies, which differ as regards their chemical composition.
From a jeweler’s point of view, the value of a ruby is enhanced by its rich color and transparency; but this is not the case in regard to its application in horology, for which hardness and capability of taking a high polish are mainly necessary.
The specific gravity of the three varieties is: oriental, 4.2; spinel, 3.7; balas, 3.6.
The first of these is the best, since it is the hardest, both taking a better polish in the first instance and retaining it for a longer period.
In comparison with the other varieties, its specific gravity is greater and it possesses a brighter color, but will often be found to be less transparent.
Spinel and balas rubies are frequently met with that are very beautiful to the eye, but their hardness is inferior to that of the sapphire and even of the chrysolite. They must be carefully excluded from all good work, for, either in consequence of the inferior hardness or the mode in which the oxide of iron, magnesia, etc., is combined, or of other causes, oil rapidly deteriorates in contact with them, and the moving parts, especially if they are of steel, soon show signs of wear. The rubies themselves also suffer, and it is by no means uncommon, especially in[163] the case of the duplex escapement, to meet with such jewels quite rough and even pitted on their acting surfaces.
199. False ruby. In a certain class of watches, a variety of stones pass for rubies that are known to jewelers as rubicelle, rubace, rock ruby, Brazil, Siberian or Bohemian ruby, rose ruby, etc., the hardness of which is even less than that of rock crystal. Pivot-holes made of these imitations of the real ruby are worth less than plain brass settings.
200. Sapphire. The color of this stone, sometimes even milky, passes through all the shades of blue. Like the ruby, there are several varieties that differ appreciably in regard to hardness. The hardness of oriental sapphire is equal to that of oriental ruby; both consist of nearly pure alumina, colored by a little oxide of iron; their chemical composition thus being the same, they only differ in regard to color. It is, then, a great mistake on the part of watchmakers to prefer spinel or balas rubies in place of oriental sapphires.
The sapphire is more brittle than the ruby.
The other kinds of sapphire, such as water sapphires, are not true sapphires; they are soft and should never be used in horology. The density of the oriental sapphire is about 4.01, whereas that of other kinds is only 2.58.
201. Chrysolite. Under this name lapidaries include a variety of stones of yellow-green, apple-green with shades of yellow, and other colors.
That known as oriental chrysolite, which is the same as the oriental topaz, has a beautiful pale yellow color with shades of apple-green; it is the most highly esteemed.[164] This stone has a sufficiently high degree of hardness for use in watchmaking, as it will scratch rock crystal. Its density varies from 3.73 to 3.00.
The other varieties, ordinary chrysolites, come very low in the scale of hardness. They can be scratched by quartz, rock crystal and even by the file, and are thus of no use for watches.
202. Agate, Carnelian, Topaz. Only the varieties of the stones already considered that are termed oriental can be used for the pivot-holes or the pallets of astronomical regulators, but for the escapements of the ordinary timepieces of commerce, such, for example, as the pallets of Brocot escapements, the topaz, agate or carnelian may be used. When of the hardest kind, and capable of receiving a high polish, they will very efficiently resist the friction of brass teeth. As to the softer kinds, they are inferior to hardened polished steel for pallets.
203. The methods adopted for working in the precious stones are in great parts kept secret by those who practise them; it is, however, well known to watchmakers that jewels are usually worked and polished with powdered diamond, and the following details will afford all the information necessary to enable the reader to make a jewel of any required form. Where not otherwise stated, the information is taken from a work published by N. Dumontier.[5]
[165]
204. Tools for working jewels. These are all of simple construction, and can be made by any watchmaker if, indeed, he has not them already to hand.
(1.) A small lathe arranged to receive chucks, fixed to the bench or in a vise, and driven by a foot-wheel. Its form resembles that shown in fig. 47.
(2.) Two circular laps of copper and one of tin about 2 inches in diameter and ⅛th inch thick; these present a flat face for grinding, smoothing and polishing the stones, and are adapted to the nose of the lathe.
(3.) A small barrel (that also screws into the nose of the lathe) with six brass covers, perforated at the center, on which to cement the jewel-holes, when enlarging, smoothing and polishing their holes.
(4.) A flat steel circular cutter half an inch in diameter, for slitting stones. Also two similar discs, one of copper and the other of tin, of the same size, and having sharp edges, are occasionally useful.
(5.) Two small laps, one of copper and one of tin, to smooth and polish cylindrical stones. These laps are mounted in place of the T-rest, or in the slide-rest, in such a manner that they can be rotated in a horizontal plane by a bow, in a manner sufficiently indicated by fig. 48.
[166]
(6.) Two chucks adapted to the lathe, on which to cement the jewels for drilling, turning and polishing.
(7.) A number of small broaches, spindles with concave and convex ends, etc., for smoothing and polishing jewel-holes, convex and concave surfaces.
There may also be added a small steel plug mortar for powdering the diamond (169), and a flat steel plate with a block for working up the powder.
205. Selection of Stones. This is of the first importance. By the aid of a powerful lens, or a microscope, ascertain that they contain no cracks, air cavities or black specks; avoid stones that are milky, preferring such as are marbled, and in which the directions of crystalization seem to cross one another, as they are the hardest. The hardness may be tested by trying them one against the other (122), but an experienced workman needs only to note the amount of resistance it offers to the operation of cutting on the lap. The density also affords a valuable means of determining the nature of stones. (See above notes on the several kinds.)
206. To find the axis of crystallization of a stone. It is well known that jewels differ from glass, in that they form crystals of certain definite forms; they are therefore termed “crystalline,” whereas glass is “vitreous.” If a jewel-hole is drilled in any direction other than the axis round which the crystal may be assumed to have been formed, there will be difficulty experienced in the drilling and polishing; the edges of the hole will become rough during the act of rounding them off, and the hardness will appear to be irregular. This point seems, however, to be ignored by the majority of jewel-hole makers, although the determination of the most suitable direction presents no difficulty.
[167]
Obtain, from any optician, two tourmaline plates cut
parallel to their axis of crystallization and with their faces
polished. Mount them in a light frame, parallel to each
other, so that each can rotate independently of the other
round the axis through their centers; it is convenient if a
light spring tends to bring the plates together so that a
stone can be held when placed between them. Or such
an arrangement can be bought ready made at most opticians:
it is known as a tourmaline polariscope. If this
instrument be held up between the eye and a light, and
one plate be rotated while the other remains stationary, it
will be seen that the light becomes gradually greater or
less according to the direction of rotation; and further, if
the plates be good ones, a point will exist at which there
is nearly total darkness.
To examine a stone, cut and polish on it two parallel faces approximately at right angles to the axis of crystallization; this can generally be roughly guessed at by inspection. Place it between the plates (when set at their darkest position), and not only will the light be in part restored but beautiful colored rings will be formed. If they are circular, the faces of the stone are at right angles to its axis; if not, incline it till the rings become so, and the axis will then coincide with that of the instrument. In case the rings are not observed at all, the stone must again be cut at right angles to the original direction, and the experiment repeated. If they still do not appear, the stone is unsuitable for drilling, but may be used for pallets, locking-stones, ruby-pins, etc.
The stones to be examined in this manner must be larger than those commonly met with, and if cylindrical rubies can be obtained they are to be preferred, as it is then only necessary to slice them across their axis.
[168]
It should perhaps be observed that these precautions can only be taken in making jewel-holes for the higher class of clocks, chronometers and watches. The cheaper class must of necessity be cut in such a manner as their figure may suggest.
207. Making jewel-holes. Having selected 20 or 30 stones of about the same height, cement them to a smooth brass or copper-plate, heated to melt the cement. Hold this plate in contact with a revolving copper lap in which the coarser quality of diamond powder (169) has been embedded by means of a hard steel block; the lap is moistened with water.
When one side of the stones is true, soften the cement and, after washing, place them in a vessel containing spirits of wine heated by a lamp. After doing the same to the plate, again cement the stones to it with the trued sides downwards, and grind the other faces until the desired thickness is arrived at. Clean the stones and smooth them on the brass lap charged in a similar manner with a finer quality of powder.
The stones are now ready for drilling. This may be done with diamond powder, or with the diamond drill, both of which methods will be explained.
208. To drill with powder. In drilling with powder, the stone is fixed with sealing-wax or shellac on a carrier that is adapted to the tool-holder of the slide-rest, this carrier being provided with a vertical slide, so that by the screws in three directions the stone can be accurately centered; it is, moreover, so arranged that the stone can be advanced to or from the drill by pressing with the finger axially. Drill a small hole in the center of the chuck and, after fixing a piece of steel in it that has been hardened and tempered to a greyish color, turn a point[169] on it about twice the length of a pivot, to serve as a drill. This point must be slightly thinned backwards to prevent it from choking in the hole and its end should be flat, so as to retain the powder.
When the stone is exactly centered, place No. 2 diamond powder on the end of the drill, and press the stone gently against it, constantly releasing it from the drill for an instant at a time. The hole will be perforated in from 8 to 15 minutes, according to its depth, during which interval the powder should be renewed two or three times. Remove the stone and fix it on the barrel-chuck cover so as to turn true in the lathe; then turn out the oil-cup with a diamond graver of suitable form. See again that the stone is central, and re-center it if this be found necessary. This is done with the smooth conical end of a soft round broach, or a pegwood, a lamp being held under the chuck at the same time.
209. To use the diamond drill. Having centered the stone on the chuck, as explained in the preceding paragraph, set it in rotation and bring a sharp-pointed diamond graver against its center, pressing lightly and resting the handle on the T-rest; a minute central mark is thus made in the stone for maintaining the drill axial. Selecting a diamond drill of convenient diameter, moisten it in the mouth and present it to the mark, applying a gentle pressure, the amount of which can only be ascertained by practice. It is to be observed that a number of stones should, if possible, be drilled at the same time, for the hand is apt to lose the requisite knack, if only one or two are perforated at a time.
210. Smoothing and Polishing. When the hole is made through, remove the stone and invert it on the chuck. The diameter being less than that ultimately[170] required, pass a brass broach charged with No. 3 powder through the hole, giving it a gentle axial motion while the stone revolves, and taking care to avoid pushing it so far forward as to lock in the stone, and holding it very lightly between finger and thumb. When sufficiently smooth, clean with rotten wood or soft bread, and treat it in a similar manner with a copper broach and No. 4 powder. Then again clean and use a tin broach and powder No. 5. Next, taking a small bone cone, smooth the angles of the holes; then use a copper wire with rounded end for smoothing the oil-cup (with powder No. 3); follow as explained for the hole with the finer degrees. Using a finely pointed pegwood that passes through the hole, marry or round off the internal angle between the hole and oil-cup (the powder that remains in the hole being sufficient for this purpose) and do the same to the outer circumference of the cup with a copper spindle of somewhat larger diameter.
Round off external angles with a diamond graver followed by a copper polisher, the end of which is cup-shaped. The flat face of the stone is polished with a small copper disc and No. 4 powder, pressing it lightly with the finger at the same time that a circular movement is given to it; finish with No. 5 powder. Or the stone may be detached and the flat face polished by working on a ground glass plate, a pegwood point being passed into the hole to form a handle.
Re-set the stone, inverting it, on the chuck, centering it. The other side is then polished in the same manner, using such tools as its form may require.
Having thus completed the stone, examine it carefully with a powerful glass to ascertain that the hole is highly polished and the angles rounded off, etc. It is then ready for setting.
[171]
211. Setting Jewel-holes. Whether it be a plate, cock or bushing in which the stone is to be set, the piece must always be cemented to a chuck and the hole accurately centered. Turn it out to a depth corresponding to the thickness of stone, and make a circular groove round the hole thus made with a round-pointed graver, only leaving a very thin fillet of metal on the inside. The stone should fit easily in the hole, but without play, and should pass in to such a depth that its surface is slightly below that of the plate, etc., when there is an end-stone; in other cases it must, of course, often depend on the end-shake to be obtained. At the same time it appears desirable that it always should be slightly below.
Clean out the setting and place a small quantity of oil in it to prevent the stone from flying out when made to rotate; or it may be rendered still more safe by a pointed pegwood held in the hand. The stone is fixed in position with a small conical burnisher (as, for example, the point of a round broach) very carefully polished, so as to avoid all abrading action; if an excess of metal is forced over the surface of the stone, it is removed with a graver. The surface of the brass is finally smoothed with pith or pegwood, and tripoli in oil, followed with polishing rouge in spirits of wine.
English jewel-setters often do not turn the groove, but leave a projecting edge round the hole, which is pressed on to the stone with a burnisher.
212. To Make End-stones. The details already given will enable any intelligent workman to make end-stones. If one of diamond in a brass or steel setting is required, take a small rose-cut stone, turn out a hole in the chuck to receive it, and, after cementing in position, turn off the corners with a diamond graver so as to be able to set it.
[172]
For making end-stones of ruby, sapphire or chrysolite, flatten a face, using the laps Nos. 1, 2, and 3 in succession, or a plate of ground glass. Then cement with the flat face towards the chuck, and turn to the requisite form with a diamond graver. Polish with the cup-ended brass and copper spindles, and set, if requisite, in the same manner as a jewel-hole.
213. To make pallets, unlocking pallets, etc. This may be done on the lap, or by using files of soft steel, copper and tin. In the first case the stones are roughed out while held by the hand, and the required form is given them while holding them in a small carrier that fits into the T-rest support, but the forms of such stones are so various that no special details can be here given. The diamond powder of different degrees of fineness is used, as in making jewel-holes.
214. To make semi-cylindrical locking stones, ruby-pins, etc. The stone must first be made approximately cylindrical on the lap No. 1, so that it may be turned with the diamond graver. Drill a hole in the chuck, cement the stone in it and turn it in this manner. When true and of the requisite length and diameter, round off the outer end and smooth with a cup-ended spindle, then polish with powders 3 and 4 successively. Round off the sharp corner with a cup of rather greater curvature. The cylindrical surface is polished by means of a small lap carried on a vertical spindle in a frame fixed in the T-rest support, and caused to rotate rapidly with a bow, the lathe-head also revolving at the same time (179). The lap-carriage should have a vertical screw adjustment so that it may be brought just into contact with the stone; it is supplied with the several degrees of[173] powder in turn. Now drill a hole in another chuck of the diameter of this cylinder, fix it in position and finish off the opposite end.
To form the flat face along the axis of the stone it is cemented to a support in place of the T-rest and brought against the revolving lap in the lathe; or the same result may be attained by using a brass file.
215. To make a duplex roller. At the present day this operation so rarely has to be done that only a few words can be devoted to its consideration.
Very pure rubies must be selected, and the hole drilled as explained in 209; if the drill is too short it must be introduced at opposite ends, and the two holes made to meet. After smoothing the surface, the notch is cut with the thin steel cutter referred to in article 204, the roller being cemented to a support that replaces the T-rest. When the steel disc charged with powder No. 4 is revolving very rapidly, advance the roller under it by a screw. The notch is polished by a small copper file of suitable form, and its corners rounded off by a tin one of square section, one edge of which enters the notch.
216. To mount diamond drills and gravers. Drill a hole or file a notch in the end of a piece of brass wire to correspond with the fragment of diamond; heat the end in a spirit lamp and lay on it a piece of good sealing-wax or shellac. When this commences to melt, set the diamond in position and leave the whole to cool. Diamond drills are very commonly mounted at the end of a pin that has had its point filed off; mark a point on the end with a graver and drill the hole, which should be very shallow. Holding the pin in a pin-vise with its point projecting about 1-10th inch, heat the vise in a lamp, and proceed as above explained.
[4] The theoretical density of an alloy, on the assumption that in alloying the metals do not contract or expand, is obtained by dividing the percentage proportion of each constituent metal by its density, adding the products so obtained together, and dividing their sum into 100.
[5] L’art de travailler les Pierres precieuses a l’usage de l’Horlogerie et de l’Optique. Paris. 1843.
[175]
217. Some of the following directions may perhaps be considered to be over-minute and too restrictive; but they are not so. Good habits contracted in youth are easily maintained, and, when the watchmaker has tried them long enough to convince him of their influence on his health, he will experience no difficulty in keeping them up.
218. When working at any small mechanism, such as a watch, it is necessary to use the glass, but this practice is apt to produce inflammation of the conjunctiva or cornea and a weakening of the eyesight; a too frequent and prolonged use of the glass will have the same effect as using spectacles that are too strong.
In order to preserve his eyesight, the watchmaker should take the following precautions:
He should not retain the glass at his eye by a contraction of the muscles for more than a brief interval of time. The glass holder, which can be at once set in any desired position, has therefore much to recommend it.
Drill a few holes in the frame of the glass to avoid or at least diminish the inconvenience that arises from the[176] heating of the enclosed air, as well as from the deposition of moisture on the surface of the glass.
Do not use glasses of too great magnifying power; they needlessly fatigue the eye.
Only use glasses that are truly achromatic. If compelled to use the ordinary simple glass, place a ring of dead black paper inside the frame and against the lens, which, by diminishing the field of view, will reduce the inconvenience due to spherical aberration.
It is hardly necessary to advocate the use of a green cardboard shade to the lamp, as they are so generally used by watchmakers. It should be so arranged as to protect the head and eyes from radiation, and cardboard is preferable to metal as it radiates less heat.
Working at night and by artificial light, more especially by the dazzling light of gas, fatigues the eyes much more than with ordinary daylight, and the workman will find it a relief, if obliged to work by artificial light on very minute objects, to rest his eyes frequently on large stationary bodies. If he can do so, it is a great comfort to bathe the eyes in cold water.
It is good practice to habituate oneself to the use of either eye with the glass.
By adopting these simple precautions, how many of our fellow-workers who are now only able to see objects indistinctly and suffer from incipient blindness would have preserved their sight uninjured. And there is yet another precaution that has been pointed out by Dr. Haltenhoff, of Geneva. He has shown that by avoiding an excessive indulgence in alcoholic drinks or tobacco, many old watchmakers in that town have succeeded in preserving their sight unimpaired, and it is impossible to doubt the truth or over-estimate the importance of this fact.
[177]
The same authority draws attention to the necessity of taking care that, before adopting watchmaking as a trade, youths should ascertain that they do not suffer from progressive nearsightedness, which is often hereditary, as in such a case they would most certainly be compelled to abandon it in after life. Boys should not be set to work on such small objects as the details of a watch too early in life, before the membranes of the eye have assumed a certain degree of rigidity.
Mr. Brudenell Carter, a well-known ophthalmist, is of opinion that the habitual use of the glass by watchmakers has the effect of actually developing and preserving the power of the eye.
219. It is often found that an old, or even middle-aged watchmaker is irritable, often tired and soured. This arises, not so often from an over-excited uneasiness in regard to his trade, an explanation that is usually urged, as from a derangement of his digestive organs brought about by the habit of life he is compelled to adopt. Prolonged working at minute horological mechanism is perhaps more wearying to the mind and body than any other trade or occupation.
To avoid its ill effects the watchmaker should adopt the following precautions as far as possible:
Do not use a stool with a stuffed seat, but prefer one of cane or wood.
Take care that the relative heights of the board and stool are such that an excessive compression of the muscles of the chest, etc., is avoided during any long operation that renders it necessary to maintain the body in a constrained position.
[178]
A stool with adjusting screw similar to a music stool is convenient from this point of view.
Change the position as much and as often as possible, especially when working with the file or graver. With this object in view many workmen have a second board of such a height that they can work standing.
When using the lamp let it always be provided with a cardboard shade as already recommended.
A screen to protect the head from the direct heat of the flame is often found advantageous; in fact, the watchmaker should adopt the advice of Boerhaave: “Keep the head cool and the feet warm.”
Let him always remember that nothing does more harm than sitting to the bench immediately after a meal. He should allow an interval of half an hour to elapse and with some temperaments, even this is not enough; during this period he should only do work at which it is possible to stand. A little exercise, such as a walk that is not hurried, will be still better; it will stimulate the circulation and stretch the muscles that have been maintained in a constrained position for a long time through the prolonged attention and slight motion that his labors involve.
220. The first operations that a watchmaker ought to learn are to file flat and square, to turn round, to forge, to hammer-harden a piece of metal without deteriorating it. These accomplishments are but too much neglected in the modern training of an apprentice, an omission that is partly owing to the want of good instructors and partly to the shortness of the time he can afford to devote to learning his trade.
[179]
221. It is a very common practice to place an old file in the hands of an apprentice, to fix in the jaws of a vise a piece of metal, either brass, iron or steel, and to set him to work rubbing and filing the surfaces with great labor, the only result being that they are utterly mis-shapen and covered with brilliant spots.
This method is bad. The action of the file is mechanical and the problem that has to be solved is the following: To produce good work in the shortest possible time, and with the least expenditure of force. It is therefore only by very slow degrees that an apprentice can hope to acquire the requisite ability, if he is set to work trying to shape an object in some hard metal before he knows how to maintain lines straight and surfaces flat. Not knowing how to proportion his effort to the resistance to be overcome, and allowing the file to travel irregularly over the surface, he gets confirmed in the tendency to give a rocking motion to the file, whereby the surface is left round, and he will find it all the more difficult to throw this habit aside.
It is far better to let him commence on round pieces of common wood, filing with a rasp or coarse-cut file, without removing too much at once. By this means he may rely on learning to file flat and square by the eye alone without the aid of a straight-edge.
When he works well in common wood, he can be set to file harder woods, box for an example, roughing with a rasp and finishing with a new bastard file. He should not be allowed to have hard wood until able to file a surface so well that, on placing a metal rule across it in any direction, it is found to be flat.
[180]
222. Let him then advance to brass, which, if cast, should be previously dipped in acid to remove the hard surface, as this should not be filed off. The resistance it offers would cause a jerky motion of the file that would be apt to disturb the slight amount of decision the hand has already acquired.
As brass opposes a considerable resistance, the pupil should be carefully watched with a view to preventing too rapid movement and an excessive pressure, involving waste of power, while he fancies the work is being proportionately advanced; the manner in which the file is applied to the surface should also be observed, taking care that little or no pressure is applied during the backward stroke. The teacher should both explain and demonstrate that the main secret of success consists in a perfect equilibrium between the actions of the two hands; one should increase as the other decreases with the horizontal motion of the file, since the two levers in use, namely the portions on either side of the point of contact, are continually the one increasing and the other decreasing.
By filing steadily and attentively, the hands will gradually acquire the requisite sensitiveness, or tact, that enables each to adjust the pressure in proportion to the other, as well as the knack that enables them to maintain the surface flat. It is important to avoid short and jerky movements.
Practical instruction from a competent teacher must be relied on to complete the directions here given; no written instructions can replace it.
It is advisable to use new, or nearly new files in the above lessons; the wear will have brought them into good condition for working iron or steel.
Proceed with these metals as already explained in regard to brass, and special attention must still be given[181] in order to prevent hurry on the part of the pupil. The files remove less metal at a time and a greater pressure is necessary, so that he does not make such rapid progress as with brass, and this gives rise to a tendency either to use new files, which are soon spoilt, or to give the stroke too suddenly, while applying considerable pressure, especially during the return stroke. He thus heats his file, breaks off the crests of the teeth, which become embedded in the metal and do much to further damage the file. Moreover, he will lose some of the sensitiveness of touch that his hand has already acquired.
223. It would perhaps be well to subdivide the day into three parts for as long as appears necessary; the first to be devoted to filing, the second to turning, and the third to forging and cold hammering.
By this means he will be quicker in acquiring the requisite skill of hand and eye, and, when he has attained to this ability, it will be time to practice himself in the management of various tools. Feeling certain of himself he will soon become quick in his work.
It is prejudicial to the true instruction of a pupil and a false economy of both time and money, to let him commence either a clock or watch before arriving at this point. He will experience difficulty in making even the simplest pieces, which, besides being very badly made, will take up a long time; he will keep forgetting as he goes on, because, owing to the slowness with which he works, the construction of a machine occupies months, or even years, whereas it would only have occupied a few weeks, or months, if he had possessed sufficient manual skill to enable him to handle properly the file and graver.
We insist specially on the need of this preliminary training of the young horologist, because, with very rare exceptions, if a pupil is set to delicate details before he is[182] master of his tools, he works with a want of decision, and, therefore, with difficulty. He will, as a rule, make a workman of but moderate ability, and will soon become disgusted with his trade, from the mere fact that he cannot work with ease and rapidity.
Time is an element of success; hence gratuitous apprenticeships for short terms, that become a tax on the master if he does not soon make use of his pupil’s services, will very seldom produce good watchmakers.
224. When an object is to be held on a cork or wood block fixed in the vise, with one hand, and filed with the other hand, special care must be taken to lay the file flat without any hesitation after each return stroke, and the hand should be able to feel if the file is wrong in this respect, and to at once bring it flat. After the pupil has learned this, he will very soon be able to adjust the pressure and the force exerted in moving the file horizontally, so that it shall remove an equal amount from the entire surface operated upon. It often happens that the object can conveniently be rested upon a finger of the left-hand while the right-hand holds the file. The maintenance of the file flat is in that case much easier.
225. Mechanical device for filing flat. This (the pradel) consists in placing behind the workman a horizontal bar, on which rests one end of the file handle, prolonged for the purpose to about a yard in length; thus the file has two points of support: the bar, adjusted at a convenient height, behind the workman, and the object to be filed flat fixed in the vise in front.
This method, while convenient for amateurs, may be utilized in teaching an apprentice, letting the supports be[183] hinged at one and press at the other end on a rather strong spring index, which must be prolonged so as to be brought under the eye of the pupil.
The displacement of the index will show him every false movement of his hands, and will guide him in adjusting them. It would be best if the prolongation of the handle were as light as possible, but rigid and arranged so that the file can be held naturally.
226. Just as in working with the file, advice and demonstration by a good master are here indispensable.
The materials should be worked in the same order as is explained in parts 221-4; that is: wood, brass, iron, steel, hardened and tempered steel; no one sample being set aside until the student can turn it perfectly round, flat on shoulders, etc., and smooth throughout.
He should turn for a long time, whether it be by the lathe or bow, exclusively with the point of a square, or lozenge-shaped graver, the end of which is ground off on a slope; this is the only possible method of learning to turn true, and it enables the workman to acquire great delicacy of touch.
Owing to carelessness, or to the fact that, when first beginning, they were set to work on metal that was too hard or rough, most learners turn with gravers that are ground to very blunt points; as the graver bites less, they are obliged to apply a proportionately increased pressure, and only succeed in tearing the metal away, subjecting it to a kind of rolling action, and rendering the hand heavy. If a pupil will not practice turning with the graver point, so as to preserve it intact for some time, dependent on the[184] nature of the metal, he will never be able to turn perfectly true.
The bow should be used through its entire length, and with a motion that is progressive, not jerky. The knack of the turner with the bow consists mainly in keeping the simultaneous actions of the two hands quite distinct; one drawing the bow downwards, while the other depresses the point of the graver supported on the T-rest, and these two movements of the hands must be performed at the same time, but quite independently.
Irregular and sudden depressing of the graver point, or engaging it too deeply, causes its frequent rupture. This also sometimes arises from the fact that the point is not removed with sufficient rapidity, so that on raising the bow the metal catches it while traveling in the reverse direction; the graver is thus drawn slightly towards the work, and its point will be found too close in when the bow again descends.
As has been already observed, the bow, which must not be too short, should be used to its full length with a regular, but not rapid motion. Afterwards, when the hand has learnt how to manage the graver, the speed can be gradually augmented. There is always a danger of losing time, teaching, and, therefore, money, if pupils are too much hurried in their lessons. Before trying to work quickly, they should, at any rate, know how to work fairly well.
Short and sudden movements of the bow will make the object turned jerk; it will be heated, and the sharp angles of the graver will jamb in the metal; thus there is less work done, although there is more noise, and this is done badly.
227. When sufficient experience has been gained in turning with the graver point, and a trial is made with[185] the cutting edge, do not attempt to remove much at a time by pressing heavily, but take the metal sideways so as to remove a continuous thread, using all the points of the edge in succession and the entire length of the bow. The metal will thus be removed as a thin ribbon or shaving. When the hand has had some experience, it will be found easy to remove long strips, and the work can be done quickly, although there be no hurrying in the movement of the bow. These remarks are equally applicable to turning with a lathe.
228. Hardened steel that has been let down to a blue temper requires certain precautions. If the graver is found not to cut cleanly, it must at once be sharpened, and no attempt should be made to remove more metal by increasing the pressure of the hand, because the steel will burnish and become hard under a point or edge that is blunt, and the portions thus burnished are sometimes so hard as to resist the best gravers. The only way of attacking them is to begin at one side with a fine graver point which must be sharpened for each stroke; at times it becomes necessary to temper the metal afresh before it will yield. It is asserted that by moistening the point of the graver with petroleum it becomes more able to attack hard substances, and that a mixture of two parts petroleum and one part turpentine enables it to turn very hard steel with comparative ease. Indeed, for all turning it is a common practice to moisten the graver with oil, water, turpentine, or simply by introduction into the mouth.
We have frequently seen apprentices, and even watchmakers, themselves, careless as to the proper sharpening of their gravers and thinking that they could hasten their work by the application of considerable pressure; they thus produced bright spots that required several hours of work before they could be removed.
[186]
There is one essential condition for ensuring good work with the lathe, and this consists in the perfect roundness of the points or holes of the runners or centers, and of the holes or points that are supported in them; this perfect truth is nevertheless very rarely met with, for it is noticeable that barely one watchmaker in ten knows at the present day how to roll such a point. We shall subsequently indicate the precautions to be observed in order to secure this accuracy.
The diameter of ferrule is also to be considered; if it is too small, the bow will slip and the object will only rotate by jerks; if too large, it loads the object unnecessarily and the velocity of rotation is reduced, since for the same stroke of the bow the ferrule must make a less number of turns. Moreover, if it is of large diameter, only a light bow must be used, because otherwise the force applied would be excessive.
Swiss workmen—at least the great majority of them—turn with the right or left-hand indifferently. This is a very useful accomplishment easily acquired when young.
The working of various tools, such as the English or Geneva mandrel, and any lathe driven by a treadle, will be a great help in developing the sense of touch and in making it more certain.
But it must not be forgotten that, in order to turn well, the lathe must be well made and planned; without this, no accurate work can be done. The lathe is the first and most important of tools, and a great number of very serviceable accessories can be added to it, which, unfortunately, but few watchmakers know how to make properly. As a rule they content themselves with a simple pair of finishing turns on which but a comparatively small amount of work can be done.
[187]
Without committing the mistake of having a too great multiplicity of tools, let the pupil rest certain that a well-planned set of tools in good condition both facilitates and abridges his work and renders it more perfect.
[189]
229. Before proceeding to describe the various forms of lathes and the several small tools that the watchmaker should make for himself as occasion offers, either during his apprenticeship or immediately after, with a view to increase his manual skill or to extend his experience, it will be well that he take note of the principal conditions that should be satisfied by the ordinary tools that he will have to buy, as well as the precautions to be observed in their use and some improvements of which they are capable.
230. The bench or board. This should be fixed in front of a large window that affords a good light. The various hooks, recesses, etc., for holding files, hammers, etc., as well as the drawers, should be well in sight, not only in order that the hand can at once take hold of whatever tool is required, but also to enable the workman to restore them to their place immediately after use. By doing so he will have no occasion to retain on the bench any but those tools that are very frequently or continuously used.
It is an excellent habit, conducive both to well-planned and rapid work, and which can be easily acquired by a little attention during an apprenticeship, to always place[190] the same tools in the same places, as the bench will then never be encumbered. By this means loss of time in turning over a number of objects in order to find one that may be small is frequently avoided.
This observation is of minor importance to specialists who require but a small number of tools; but it is of the first importance to a workman that is engaged in the repair of watches.
231. The stool. Those with cane seats are to be preferred. The height of the bench and stool should be so related that the muscles of the chest are not too much cramped, especially if the workman is engaged on an operation that occupies a long time and obliges him to maintain a stooping position. The stool with a screw is advantageous in this respect.
232. The lamp. Certain precautions in regard to artificial light have already been indicated in article 218.
233. Oilstones. It is impossible to maintain the points of gravers in good condition if care is not taken to keep clean and flat the surface of the stone on which they are set; if it has suffered irregular wear, the level may be restored by rubbing the stone on a flat, smooth board, covered with a thin paste of fine sand and water. Most kinds of oil thicken on the surface rapidly, when the graver will slide over without being ground down at all, turning around in the hand and thus destroying the flat face and wearing the softer parts of the stone, rendering it uneven. A strong solution of potash or soda is very effective for removing this gummy mass; benzine is also recommended for the same purpose. Various substitutes for common oil are used; such as the mineral lubricating oils or petroleum. Dr. Latteux advocates the use of a[191] mixture of alcohol and glycerine, the proportion of the latter decreasing as the extent of metallic surface in contact with the stone at once increases. Thus, for example, in setting a razor the stone will bite better if alcohol be in excess; but for a graver, of which only a small surface touches the stone, the amount of glycerine present should be relatively much greater.
234. Circular oilstones. Circular oilstones will be found very convenient for sharpening drills, gravers and other cutting tools, where it is desirable to have exact angles. An Arkansas or Turkey stone dressed down to circular form, and say 1½ inches in diameter, when mounted for the lathe will be found very useful. Apply the lubricant to the stone the same as you would to a flat one, and hold your graver or drill at the exact angle you wish the cutting edges to be and turn at a moderate speed. Truer angles and better work can be produced in this manner than by any other. Emery or corundum wheels can be mounted in a similar manner. Small circular stones can be obtained from material dealers and dental supply houses, in sizes varying from ½ × ⅛ to 3½ × ¾ inches. They can be mounted similar to Fig. 49, by turning down a piece of No. 30 Stubb’s steel wire to the size of the opening in your wheel and riveting the wheel firmly upon it. The best sizes for watchmakers’ use are ½ inch, 1 inch and 1½ inch in diameter.
[192]
235. Small grindstones. When it is necessary to remove a good deal from the face of a graver, the operation will take too long on the oilstone, and there would be considerable difficulty in maintaining the flat face; recourse must then be had to the grindstone, but it should be remembered that care is needful when using it. The grindstone must always be thoroughly wet in order to avoid heating the graver, as its cutting power would then be destroyed. The emery wheels described in paragraph 165 can be used for this purpose, but they are, for the most part, inconvenient on account of the rapid increase they occasion in the temperature of the metal. Some forms of emery wheel can, however, be moistened just as the grindstone.
When the cylindrical surface is rendered irregular by use, take a piece of sheet-iron, the tail of an old file or a cold chisel, and hold it with one hand firmly on a support against the edge of the stone, which is rotated by the other hand. The surface can thus be made smooth and true, providing it is only attacked gradually and the handle is not turned too rapidly. An excessive velocity will heat the iron, which is then less effective and is more rapidly worn down; whereas, with a slow motion, the iron will relatively wear little and the stone more. A rough diamond mounted at the extremity of a steel rod, affords an excellent means of trimming a grindstone, and is at the present day generally used in factories.
236. Glasses. Some particulars have already been given in regard to these simple microscopes in article 218.
237. Files. A new file should never be used for steel; it is best to employ it for some time at first on brass, taking care not to use it too roughly. If employed[193] to steel at once, or if sharp, quick strokes are applied, the cutting edges of the file will chip off, and the hard particles will be embedded in the metal operated upon; the work will thus be bad, and the file itself deteriorated. A file that has been carefully used, and has passed gradually from brass to steel, will last four or five times as long, and will always work well.
Watchmakers often fit files into handles by driving them firmly into round holes in the handles; this practice frequently leads to the handles being cracked, and the following method is preferable: Take an old worn out file or a piece of iron of the same form as the tail of the file to be fitted; heat it several times to bright redness and drive it, when so heated, into the handle, taking care to maintain it perpendicular. A hole will thus be made of the required form, in which the file will hold without there being any occasion to apply excessive force in fixing it in position.
When the surface of a file is choked with particles of iron, copper, wood, etc., while the cutting edges are yet good, it can be cleaned as follows: Place the file for a few seconds in a hot lye of potash in water, and on withdrawal, dry it before the fire and brush the surface with a stiff brush.
238. To renew the cutting edges of files, either of the following methods can be adopted: 1. First clean the file with potash or soda dissolved in water, if greasy or resinous substances have to be removed; with hydrochloric acid if it is rusty; and by rubbing with a metallic brush or piece of coke if particles of iron, brass, lead, copper or tin have to be removed. The file is now immersed in a mixture of 1 part nitric acid, 3 parts sulphuric acid, and 7 parts water. As the action of the acids become less energetic owing to the[194] combination with iron, the temperature of the mixture must be raised, since rapidity is a condition of success. The time during which the file should remain in this bath varies from 10 seconds to 100 or more, the roughening of fine-cut files being far more rapid than when they are of a coarser cut. On removal from the bath, immerse in lime wash, dry, and then cover them with a mixture of oil and turpentine by means of a brush, after which they are ready for use. 2. After being cleaned, as explained above, the file is supported in a dish full of water, resting on two cross wires, so that all its surface is in contact with the liquid. Now add strong nitric acid in the proportion of 1 part to 8 of the water, mix it thoroughly and allow it to remain for 25 minutes. Remove the file, and, after washing in water and rubbing with a hard brush, place it again in the bath, to which a second eighth part of acid is now added, and leave it for 50 minutes. Again remove and brush the file, add a sixteenth part of concentrated sulphuric acid, and replace the file in the bath. Then wash successively in pure water and in lime wash (to remove the last traces of acid), and dry. The file will be found to possess both the qualities and the appearance of a new one.
239. To cut an equaling file. It often happens that a workman is called upon to modify the shape of, for example, the bottom of a rectangular notch, and he is not provided with a file of suitable shape. In such a case he can adopt one of the following methods of extemporizing a file:
1. Clamping the small steel strip, L, Fig. 50, in a vice, cut the notches with a chisel, n, as follows: Holding n a little inclined, cut the first notch, i. This will slightly raise the metal, presenting a rounded face at the back.[195] To make the next cut, hold the chisel with its edge on L and, after drawing it backward until arrested by the back of i, incline it to the requisite amount and give a second blow with the hammer, then continue the operation till the whole is finished. A few trials will enable any workman to make a small file with sufficient accuracy for his purpose.
2. Employ an arrangement similar to that of the micrometer divider (44) only more rigid. A study of this article and examination of the corresponding figure will afford all the information that is necessary.
3. This is identical with the method of dividing a rule described in 46, except that the divisions are closer together and the tracer is replaced by a revolving cutter with its axis a little inclined, to give the requisite slope to the teeth of the file. This cutter is supported in a hinged frame and provided with a washer of ivory or other such substance, as seen at s, Fig. 50, to determine the depth of cut.
240. Beaupuy files and burnishers. Most watchmakers are acquainted with the files and burnishers that M. Beaupuy has introduced for rapidly forming conical pivots, the main characteristic of which is that the corner presented to the pivot is rounded to the desired form and roughed; they do their work rapidly and well, but some skill is necessary in their management. To the instructions which accompany them we would add the following:
They must never be used when quite new on a pivot that is to be employed in a watch; it will be reduced too rapidly. The freshness must be worn off the cutting edges of the teeth by preliminary use.
The pressure must only be applied perpendicularly to the surface of the staff as in making a square-shouldered[196] pivot; the file is held against the flat surface without pressure. A lateral force will have the effect of straining the pivot and causing it to break.
241. Pliers, tweezers, etc. It is advisable to have a considerable number of these, as their strength should always be proportional to the force that has to be applied to them. For example, if a pair of sliding tongs is used when a hand-vise is needed, the former will be strained beyond its limit of elasticity and the tool becomes nearly useless.
The same might occur with any other form of pliers or tweezers. In the hands of a good workman they will last for a long time, but if used unintelligently, without proportioning the size of tool to the force that has to be applied, taking up the first that comes to hand, all the tools will soon become unsatisfactory and the work itself will suffer. It is very desirable to have one or more pairs of brass pliers and tweezers for handling metal work without the risk of scratching.
242. Compasses, gauges, micrometers, etc. The common compass for measuring thickness, the douzieme gauge, is not always strictly accurate in its indications. The douzieme proper, has a scale divided into twelfths, though some patterns are now made that have a scale divided into tenths and hundreds of an inch and again there are others that measure the fractions of a millimeter. The greater majority of these tools on the American market are correctly divided, but we sometimes come across those of foreign make that are divided incorrectly and care should be used in selecting. In the inaccurate tools the objection is that the opening of the jaws gives a measure of a chord whereas the displacement of the[197] index measures the arc of a circle. It follows from this, that, if the index is first arrested when pointing to 15, for example, and again when at 30, the interval between the jaws in the second case will not be exactly double the first. Before purchasing, it is well to test the gauge for accuracy in this regard by some reliable standard.
243. Caliper for mainspring height, depth of sink, etc. A simple instrument for taking such measurements is shown at G, Fig. 51.
The finger a travels over a graduated arc whenever the rod c is pressed inwards; b is a fixed stop, with its extremity in the plane of n. Any movement of a below o measures the space traversed by c within the line b n.
Laying a coiled mainspring, for example, on a plane surface, stand the base n of the caliper upon it, and the end c pressing on the table will be forced upwards and move the needle. To take the depth of a barrel, press c on the bottom, allowing b to rest on the edge of the cover recess.
It will be evident, from the figure, that a and c are connected by a spring passing around drums at corresponding axes. The smaller j is, the more sensitive will the instrument become.
244. Figure 8 caliper. For ordinary work, the calipers to be bought at material stores will suffice; but when it is required to verify escape wheels, balances, etc., there is some risk of accidents in consequence of the variableness of the friction at the joint. To remove this source of danger, true the rubbing surfaces in the mandril and replace the brass discs at the center by similar[198] discs of steel, then carefully re-make the rivet that forms a hinge, after oiling all the acting surfaces. The arms will now move with a uniform degree of stiffness, so that there need be no danger of jerks.
245. Riveting stake and punch. The holes in a riveting stake are made to increase downwards, so as to avoid any accident occurring through the oscillation of the axis. The riveting punches made of a plain steel rod, with a hole drilled at one end in the direction of the axis, are the best. Those that are perforated transversely like the lanterns of screw-point tools, do not produce such good riveting, since the parts of the end, from behind which metal has been removed, are more or less elastic.
246. Burnishers. Burnishers will not remain in good condition unless their surfaces are prepared, from time to time; in the case of those used for very fine work, by passing over a buffstick charged with polishing rouge or very fine emery, and other kinds on an emery stick more or less fine, according to the degree of roughness the burnisher is required to possess.
247. To re-face a burnisher. Pivot burnishers are usually re-faced by a lapidary; a watchmaker can, however, do it for himself very effectually in the following manner: Prepare a dry, smooth piece of wood, rather thick, and of a width equal to the length of the burnisher. On this board carefully glue a piece of emery paper, of a fineness corresponding to the degree of cut required, stretching it as even as possible, and turning the edges down towards the under side. Then lay the board on a firm smooth surface, resting a weight upon it, and allow it to dry.
[199]
In using this lap, it is fixed or allowed to rest against the side of the bench; holding the burnisher with two hands at its extremities, the workman places himself at one end of the board, and draws the burnisher along it towards him, maintaining the surface quite flat and applying considerable pressure. On reaching the nearer end, raise it, and after again placing it on the farther end, draw towards the body, and so on.
By proceeding in this manner and always in the same direction, placing the burnisher so that the acting edge is farthest away from the operator, all risk of rounding this angle will be avoided.
248. Broaches. Great care is needed in adapting handles to broaches. Resting the point against a finger of one hand and causing the handle to rotate by two fingers of the other hand, the broach itself should be seen to remain true.
It is a good precaution, suggested by M. H. Robert, to gently draw a piece of iron, charged with rouge, along the edges of pivot broaches in order to remove the thread of metal from them. Minute particles of this thread would otherwise remain in the holes, and occasion wear of the pivots.
These fine broaches are not fixed in handles, but a piece of sealing-wax is melted on to the upper end; then, holding the broach between the fingers, with its stem downwards, it is rotated while held to a flame, so that the sealing-wax forms a regular, oblong handle.
249. Blow-pipes. In order that a long even flame may be obtained, the hole should be of moderate size and perfectly clean around the edge; otherwise the jet cannot be straight and sharp. Difficulty will always be experienced by anyone who has not learned to breathe without[200] interrupting the continuity of the blast. Where a supply of gas is available, the gas blow-pipe presents advantages from the point of view of convenience.
Fig. 52 shows a gas blow-pipe for jewelers, which is simple and convenient. It consists of a blow-pipe of the ordinary form, having a gas pipe inserted in the lower half, and a threaded hood or sleeve at the lower end, which changes the shape of the flame by screwing in or out, so as to vary the influence of the current of air upon the flame. A ring adapted to slip over the finger while working, is soldered to the middle joint of the pipe, and the quantity of gas is controlled by the stop-cock and spring lever shown in the cut, the gas being supplied to the pipe by a rubber tube connecting it to the nearest gas jet in the usual way. Thus having the shape of the flame under control and the quantity variable at will, the workman is in position to accomplish the desired end speedily and effectually.
To use to the best advantage, set the jamb-nut so that with the valve lever in its normal position, the flame at the end of the pipe will just keep alight. The blow-pipe can then be laid down temporarily and again used without the trouble of turning off the gas or relighting.
[201]
When used as a mouth blow-pipe, the most convenient way to hold it is with the third finger through the ring. For bellows work it is better to pass the ring over the index finger. The ring also serves, with the valve-lever, as a rest to hold the flame-nozzle away from the table when the blow-pipe is laid down temporarily.
To produce an oxy-hydrogen flame, connect the air-pipe with a cylinder of nitrous oxide, opening the cylinder-valve carefully, so as to permit the escape of only sufficient nitrous oxide to produce with the illuminating gas a very small flame. Regulate the illuminating gas flow with the thumb-screw or with the finger on the lever of the blow-pipe valve.
Fig. 53 shows an automatic hand blow-pipe for use with a foot blower. One of the rubber tubes shown is connected with the blower and the other to the gas supply. It is self adjusting for both gas and air, requiring only a slight motion of the lever, shown under the thumb, to obtain instantly any flame, from the smallest to the largest; so that these pipes have all the delicacy of the best mouth blow-pipe, used with the utmost skill, together with the power and advantages obtained with a mechanical blower.
250. Small gas furnaces. The workman will frequently have occasion to anneal pieces of steel or to raise to a red heat objects that are too large for the blow-pipe; an ordinary open fire aided by bellows is often resorted to in such a case. A better plan, however, is to use any[202] small portable gas furnace, provided with a hood that completely closes it at the top.
Fig. 54 shows a gas melting furnace, which is kept by material and supply houses. It is powerful enough to melt gold, silver, brass and copper, but is not recommended for cast iron. It can be used for scorifying and cupelling. The lid can be pushed sideways sufficiently to give access to the interior of the furnace.
The following points in the management of a gas furnace will be of service to all novices in their use. The power and speed are practically without limit, depending only on the gas and air supply, and are under perfect control. Allowing five cubic feet of gas for heating up, it requires about four feet of gas for every pound of cast iron melted. For small work it is as cheap as a coke furnace, and not one-quarter the trouble.
The quantity of air required depends upon the gas supply. One must be equal to the other, so that perfect combustion will take place, and that entirely within the[203] furnace. An excess of either gas or air renders a high temperature an impossibility.
See that all gas taps have a large clear way through. High temperatures and rapid working require a free supply of gas.
To adjust a new furnace to its highest power, connect both gas and air supply with the burner. Turn on the full gas supply, light the gas, the air-way being full open, work the foot blower and then put the gauze nozzle of the burner tight against the hole in the casing, so that no flame escapes around it. If the flame comes out of the lid about two inches, the adjustment is right. If the flame is longer, open the air check until the proper flame is obtained, or reduce the gas supply. If smaller, or not visible, close the air check until the flame appears.
The cap-nut, which will be found at the throat of the horizontal “mixing tube,” where the air enters and mixes with the gas, is used for changing the size of the orifice from which the gas escapes. When the escape is from a large orifice, a smoky, yellow, or “reducing” flame is the result. By contracting the orifice by screwing the cap-nut on to the gas delivery tube, a blue or oxidizing flame will be obtained. Adjustment for the proper flame should first be made by this nut, and the size of the flame regulated afterwards by means of a cock at the gas main.[204] A slightly yellow flame gives the best results when a high heat is desired. The arrangement above described is clearly shown at the left-hand lower corner of the sectional illustration above.
A chimney or stove-pipe 8 or 10 feet high may
be
used as a fixture, and the draft partially stopped by
the damper or slide when lower temperatures are
required, the gas being turned down in proportion; the
guide for the proper adjustment being that UNDER ALL
CIRCUMSTANCES THE FLAME MUST JUST COVER THE CRUCIBLE
OR MUFFLE, but not extend into the chimney so as
to make it red hot. When the flame covers the crucible
or muffle, the gas is doing its extreme duty under the
most favorable circumstances, without waste.
Keep all fluxes away from the furnace jacket, as they are injurious to fire clay, and are liable to cause the lids, etc., to stick to the furnace.
A thin layer of quick lime on the bottom of the furnace will prevent the crucible adhering to it when very hot.
When using a furnace for high temperatures, care should be taken not to use a fire clay casing, as it melts[205] at a temperature a little above that of cast iron; plumbago or asbestos only should be used when very high temperatures are required.
Fig. 55 represents a small gas furnace, which is extremely useful for small meltings, experimental work, etc. It consists of a pot made of a mixture of fire clay and asbestos, bound with rivetted iron hoops, and having a hole in the side at which the flame enters. A lid pierced by a central hole permits the escape of the products of combustion, and the crucible is placed in the center so that the flame surrounds it. It is worked with gas and a foot blower. Gas from a ⅜-inch supply pipe will work it efficiently. About ten cubic feet of gas per hour is sufficient for most purposes.
The casing holds the heat so perfectly that the most refractory substances can be fused with ease, using a Fletcher foot blower. Half a pound of cast iron requires from seven to twelve minutes for perfect fusion; the time depending on the gas supply and pressure of air from the foot blower. The crucible will hold about ten ounces of gold.
The power which can be obtained is far beyond what is required for most purposes, and is limited only by the fusibility of the crucible and casing.
Fig. 56 represents a small apparatus, which, owing to its speed and economy of operation, has a very extended use in the jewelry and silversmithing trades. With this apparatus a sound two-ounce ingot of gold or silver can be moulded in two minutes. A crucible of moulded carbon is supported by a sheet-iron slide, or plate, which is clamped to an ingot mould by a clamp which swivels in the U-shaped cast iron stand. The metal to be melted is placed in the crucible, and the flame of the blow-pipe directed on it until it is perfectly fused. The whole is then tilted over[206] by means of the upright handle at the back of the mould. The waste heat serves to make the ingot mould hot. No flux should be used with the carbon crucibles. For the smaller operations, such as making small quantities of colored golds, for electroplating solutions, testing ingots, and the smaller operations of the jeweler and plater, it is invaluable.
The air pressure used in operating gas furnaces varies from one to four pounds per square inch, though the latter is seldom required except for the severest work in large furnaces; as a general rule it is less than two pounds in the operations of the gold and silversmith. The pressure must be arranged so that the air supply equals that of the gas used. This can be readily seen by the color of the flame, as noted in instructions for handling the furnaces. For small operations foot blowers are used. These consist of a powerful bellows having a hemispherical pressure chamber on one side, and adapted to work either by the hand or foot; see Fig. 57.
[207]
The perfect combustion of the gas is secured by mingling equal quantities of gas and air in a mixing chamber, and then igniting the mixture. In the larger furnaces this is accomplished by a mixing chamber placed under the furnace, so as to heat the mixture before ignition, and no pressure supply of air is necessary. In the smaller apparatus, this mixing is done in the burner, which consists of an inner tube carrying an air supply, surrounded by a gas tube, and the whole surmounted by a sliding nozzle for changing the shape of the flame. The mixing chamber being so small, the air and gas pass through it so rapidly that considerable pressure of air must be provided to prevent it from being excluded by the normal pressure of the gas; hence the necessity for a blower when using small burners.
When it is not desirable to use gas, for pecuniary, or other reasons, melting may be carried on by means of a gasoline gas flame, which is noisy, but otherwise little inferior to coal gas. The furnaces for gasoline differ but little in construction from the others, as will be seen by Figs. 58 and 59. The only difference being that the burners are applied from the side and no air pressure tubes are needed, while the furnace is supported on legs to insure safety from fire.
[208]
The burner for gasoline is radically different from that for gas, being, in fact, a small gas machine, Fig. 60.
In Fig. 60 P is an ordinary force pump, at the bottom
of which, at A, is a valve which closes automatically
upon releasing the pressure from the pump, C is a check
valve which closes the inlet to the tank T completely; F
is a filling screw for introducing gasoline. V is a vent
screw for letting off the pressure when through; H is
a pipe leading from the tank to the burner D; E is the
burner regulator, terminating in a fine point, closing the
orifice of the burner; S S
are packing boxes. Upon
opening C and pumping a few strokes a pressure is created
in the tank and on top of the fluid, forcing it through the
tubes of the burner, which being previously heated, vaporizes
the gasoline. This issues from the orifice at the
end of E as a highly heated gas and burns as such in the
form of a powerful blast, Fig. 61. After being once
started the heat of the flame passing through the burner,
vaporizes the fluid in the tubes, and hence the apparatus
is automatic.
The air which is forced in is not consumed, so that to keep up the blast it only requires a few strokes of the pump occasionally to maintain the pressure lessened by the consumption of the fluid.
To operate the blow-pipe: close E; unscrew F, and introduce from two quarts to one gallon of gasoline of[209] 76° according to the capacity of the tank. Replace F and close V; open C one or two turns and give three or four full strokes of pump P, and close C. Heat the burner by burning some of the fluid in a suitable vessel placed under the burner; when hot enough apply a match and open E gradually, until the action is more or less uniform. If no spray or liquid issues from the orifice, the burner is hot enough; if not hot enough, burn slowly until no liquid or spray issues. When sufficiently heated the blast can be made of any intensity desired, by the use of the pump as above. To stop its action, shut the regulator E, or open screw V, or both. When not in use the vent V should invariably be kept open. The mouth of the burner D, should be two or three inches from the inlet of the furnace, or there will not be perfect combustion.
For very high temperatures and muffle work, light the burner as above and heat the inside of the furnace to a bright red; then place the burner against the inlet of the furnace; turn out the burner by means of the cock E, and immediately turn it on again without lighting it, when if the furnace is hot enough, the gas will ignite inside the furnace. The heat can be regulated as in the first method of burning. When burning inside of the[210] furnace, there must be no flame in the burner tube; it should all be inside the furnace, and the tube of the burner must be close to the fire hole, or there will not be enough heat in the tubes.
Use a drop or two of sperm oil on the piston of the pump occasionally, also on leather washer at F, otherwise the apparatus will be apt to leak, corrode and work badly.
251. Muffle Furnace. This consists of a fire-clay furnace, mounted upon a powerful gas burner and containing an oven, also of fire-clay or plumbago, so placed as to receive the full heat of the flame, without permitting the direct action of the flame upon any object placed within it. The objects are placed in and withdrawn from the muffle, or oven, through the door shown in the cut. This door is made of two pieces so that the upper one may be removed to watch the progress of the work without chilling the contents of the muffle by too great an entrance of cold air. They are extensively used for assaying, annealing, etc., and for many other purposes where an exact temperature is required. The illustration shown in Fig. 62, is of a gas muffle, but they are also made to be used with the gasoline burner previously described.
252. Of all the tools and machinery employed by the watchmaker, the lathe is the most important. Very poor work is often turned out by those possessing a first-class lathe, but there are very few persons who can turn out good, true work, from a poor, cheap lathe, and if it is untrue it is utterly impossible to turn out good work. Wonders can be accomplished by the ingenious mechanic who thoroughly understands the capabilities of the lathe.[211] By patient skill of manipulation, the Chinese and Japanese turn out some truly wonderful work; they succeed in turning sphere after sphere, one inside the other, from a solid piece of ivory, the opening from one to another being comparatively small.
The earliest form of the lathe in the trade was the dead center: that is, a lathe whose parts did not revolve, the object to be operated on being placed between centers and made to revolve by means of the bow. This form of lathe was succeeded by the live spindle or live mandril pattern, although there were many good points about it that must be acknowledged. It contained one great element that many modern appliances, termed lathes, lack, i. e., the element of truth. No matter how coarsely or crudely constructed, this truth was not eliminated, except by the ignorance of the artisan, for the centers must remain the same relatively, whatever may be their position in relation to the lathe bed.
With the introduction of the live spindle lathe in this country, the verge, Jacot and other lathes and tools of that type were rapidly abandoned. In Europe, however, the live spindle lathe did not meet with such a cordial reception, and it has taken many years, in some localities, to overcome the prejudice against them; in fact, there are still many workmen there who cling to the dead center patterns.
The all-important point in lathes of the live spindle type is accuracy of fitting, and particularly in regard to the spindle and its bearings, for unless a certain degree of perfection is attainable in this particular, it is worse than useless, as it not only does not do the work, but leads the artisan astray. The workman, sometimes, through motives of economy, purchases foreign made lathes, that closely resemble the American in outline and[212] finish. These lathes, as a usual thing, are not accurate, and in the greater majority of cases the chucks which accompany them are worse than nothing, and yet these lathes, in nearly all cases, are declared to be as good as the American. There are some foreign lathes that are very carefully made, and are quite as true as the best American, but they are the exception and not the rule. The workman who buys one of these lathes cannot, of course, tell whether it is right or wrong until he has placed it on his bench and tested it, and even then he cannot be sure, for although when a certain chuck is placed in the spindle and tested it may apparently show no deviation from truth, there may still be untruth in the spindle or chuck or both, as the errors in one may be counteracting the errors in the other, and if the chuck be turned or an absolutely true chuck placed in the spindle, the error will be made quite apparent. If an American lathe, by any possibility, is allowed to pass the inspector, and finds its way upon the market, the maker is only too glad to replace it with a perfect one, for his reputation is at stake; but if one of the imitation pattern proves untrue you will have to do the best you can.
[213]
There are American made lathes upon the market that are as inferior in many respects as the imitations, and the watchmaker will do well to do without a lathe until such time as he can afford to purchase one of known reputation. Among the first-class American lathes upon the market may be mentioned the Webster-Whitcomb, shown in Fig. 63; the Moseley, shown in Fig. 64; the Hopkins, shown in Fig. 65, and the Rivett, shown in Fig. 66, and others.
An excellent lathe for the heavier work of watchmakers and jewelers, such as cannot be performed with satisfaction on the watchmaker’s lathe, is the No. 4 Barnes, which is shown in Fig. 67.
For screw-cutting, the manufacture of watchmaker’s tools, fishing reels, repairs on tower clocks, in fact, all the heavier work of the trade, it is admirably fitted.
253. Care of the Lathe. The American lathe of to-day is a marvel of completeness in its parts, and how many hours, yea months, of study and experiment have been bestowed upon it by its projectors and makers to acquire these points of utility and excellency? What a[214] vast amount of care has been exercised for the production of a perfect lathe! Must this care cease at the moment it passes into the hands of the watchmaker?
It is a very easy matter at any time to wipe off the dust and oil that may accumulate, but does this alone constitute due care? There may be a nice glass case to cover it and keep off the dust, and a very good idea it is, if faithfully used; but if a counter shaft is on the bench, or much lathe work is to be done, it soon falls into blissful desuetude, or finishes its usefulness by being broken. Then, often, a cloth is wrapped about the lathe, which soon gets soiled and looks badly, let alone the poor protection it affords.
Dust is omnipresent, and the greatest enemy to all active machinery; it insidiously makes its way into every crease and crevice, and if not promptly removed will cause untold damage. We cannot get rid of it and must (like the industrious housewife) wage a constant warfare against it.
[215]
The care necessary to be given to a fine lathe differs from most other tools; it is not confined alone to the removal of dust and keeping clean, but the fitting properly of the several parts as used. There should be no overstraining when tightening screws, chucks, etc., or when fitting articles in both wire and wheel chucks, and so on through the list.
The face of the lathe bed when it comes from the makers is (or should be) perfectly true from end to end, in order that head and tail stocks will meet on a direct line of centers, even should they be changed end for end, and a good lathe will meet those requirements. Now, it is obvious to any thinking mind that if this face becomes[216] injured by neglect, whereby the nickeling is removed in spots or portions, they will, in all probability, become rusty; this rust will then eat away and throw off more, and soon the face presents an uneven surface, which will tend to destroy the line of centers between head and tail stocks.
The head stock, usually occupying one position, causes less wear at this point or place, while the hand-rest and tail stock are constantly being shifted, so where there is more motion or action there must be more wear, especially if dust, chips, or grit be allowed to accumulate beneath them, and though the wear is seemingly imperceptible, it nevertheless is there, and will sooner or later manifest itself, and this is a signal that the level of the bed is becoming impaired, and, necessarily, the truth. Thus too much care and attention cannot be exercised in guarding against chips and dust when sliding hand-rest back and forth on the bed.
At the end of the bed, where the tail stock takes position, many watchmakers have the tail stock off, and this portion is more exposed to atmospheric action, also receiving perspiration from the hands when they come in contact. Again, others let the tail stock remain in position,[217] only removing when it comes in the way. In the former case, it is well to devise some means for the protection of the bed; this is easily done by making a sheath of chamois skin to slip tightly over the bed; it can be removed and replaced readily, and when it becomes soiled, can be washed.
This sheath should be fully two-thirds the length of bed, or reaching from tail end up to hand-rest when it is close to head stock. It preserves the bed from dampness, which is considerable in some climates, also the perspiration of the hand and flying chips and dust. In the second case, if the tail stock is allowed to remain on the lathe, or, if removed and placed on the bench, it is subjected to all the evils the bed is in the former. Our opinion is, the tail stock should be kept in its compartment in a tight-fitting drawer, away from dust and accidental knocks of other tools on the bench; the tail spindle not being nickeled, is more liable to rust if left exposed, and should be kept in a sheath of oiled paper. This may seem superfluous and too much bother, yet it is taking proper care which tells in the end.
The bottom of tail stock should always be brushed off before placing in position, not only for its protection, but for fear some particle of grit may be adhering, thereby throwing it out of truth, and screwing it down tight only adds injury to the lathe if allowed to remain.
The head stock demands close attention; the spindle should run freely without end-shake, and about once a week should be speeded, meanwhile administering oil until it leaves the bearings clean, and then wiped off. A little oil should be added every day. See that the mouth of the spindle is kept bright and clean; thrust a piece of cloth clear through spindle every now and then, that all dust and dirt may be removed.
[218]
Wire and wheel chucks should often be washed in gasoline to remove gummy dirt and oil which is constantly adhering, and it is even well each time a chuck is used, to wash off first, then wipe dry. A little dirt on the mouth of spindle, or on the chuck, often throws it out of truth, and consequently the article fastened therein also.
When fitting head or tail stocks, or in fact any attachment, do so carefully. Do not bang it in place as if you held a grudge against it, and when in position see that they are tightly screwed in place.
Having too much end-shake on live spindle, especially in soft lathes, causes uneven wear in its bearings, besides not being reliable for true pivoting or any such work.
When the cost of a lathe is taken into consideration, it goes to prove that it is not easily replaced. Where is the jeweler with a stock of goods who would retire without first seeing that his valuables were in the safe, but how many are there that think of giving this protection to their lathes? Some do, but the greater per cent do not. It is a good plan to see that the head stock, the tail stock, and attachments are in the safe and should a fire break out that endangers the store, and no chance to save it, the feeling of satisfaction is great to know the lathe is safe, that is, the most expensive parts, for the bed can be purchased at a nominal cost compared to the attachments.
254. In the selection of a foot-wheel the workman must be governed by his own experience and taste, for the variety that exactly suits one person is very distasteful to another. The swing treadle pattern shown in Fig. 68 is a very popular one with American workmen. These swing treadles are made in various ways by the different manufacturers, but the methods of using them[219] are alike. There are workmen, however, who prefer the heel and toe motion and others that prefer the up and down motion. This is all a matter of taste and it matters but little what form of lathe wheel is used provided the motion is steady and the exertion is light. As a general rule a heavy wheel, say forty pounds in weight, will be found, on the whole, much better than a light one and the motion will be more uniform.
255. Driving Bands and Belts. Most foot-wheels are so constructed that either a flat or round belt may be used in transmitting the power to the countershaft or lathe, as the case may be. Many watchmakers use a flat belt between foot-wheel and countershaft and a round leather belt, or cord, between countershaft and lathe. If we may judge by appearances, this is the favorite fitting. Others use round leather belts in both instances, while others again use cotton or hemp cord or gut. All things considered, the round leather belt seems to possess advantages over all others. It does not slip as easily as cotton cord, is more elastic than gut and throws less strain on the bearings, absorbs less power and works much smoother. The ends are fastened together by means of an S hook and the cord may be readily tightened by giving it an additional twist or two.
[220]
256. The Countershaft. The countershaft is indispensable in using milling tools, wheel cutters and pivot polishers. The pattern shown in Fig. 69 is but one of many on the market.
In some of the patterns the uprights extend through the top of the bench and are held securely in place by means of thumb screws or wing nuts. The pattern shown in the illustration is mounted on a solid metal base which is intended to be fastened to the bench by means of screws. The advantages of using a countershaft are three fold: First, you are able to regulate your speed perfectly without changing the motion of the foot from fast to slow or vice versa; second, your belt is carried to the back of the bench, where it is out of the way, instead of coming down in front of the head; and third, you obviate the necessity of having holes in your bench on each side of the lathe, that small articles are liable to drop through. Fig. 70 illustrates the favorite arrangement of foot wheel, countershaft and belts.
[221]
257. As previously suggested (230) it is of the utmost importance in doing good work, and doing it rapidly, that your bench be kept orderly and clean at all times, and that all your tools and devices be in their proper places, exactly where you can put your hand on them at a moment’s notice. An excellent arrangement for a watchmaker’s bench is shown in Fig. 70. This bench was designed by G. W. Laughlin, and is complete in every detail. Benches can be purchased ready made from material dealers, both with and without curtain tops, but there are many watchmakers that prefer to make, or have made for them, a bench varying from the usual pattern. The bench illustrated is made of black walnut, veneered with French walnut and bird’s eye maple. The top is 21 inches wide by 41 long and is 33 inches from the floor. The drawers on the right-hand side are 10[222] inches wide. In the center are two shallow drawers, while the left-hand side is entirely boxed in.
258. Idlers are especially valuable for use on slide rest tools, such as pivot polishers, milling attachments, wheel cutters, etc., and with traverse spindle tailstocks, traverse spindle drivers, etc., to give a vertical direction to the belts. Idlers are constructed in various forms, some of them being mounted on upright posts, fastened to the bench just back of the lathe, as shown in Fig. 71; others consist of steel rods terminating in a ball, and socket joint, where it is fastened to the bench, as[223] shown in Fig. 72, while in other patterns the rod is fastened by means of a wing nut to a brace running from one to the other of the supports of the countershaft and may be placed at any desired angle. The idler shown in Fig. 73 can be used in this way. Some watchmakers prefer to place their idlers on an overhead countershaft, which is usually fastened just back of the bench and about two and a half or three feet above it. The idler shown in Fig. 72 can be screwed to the bench or to the wall above the bench, in the latter case it will extend out horizontally over the lathe and is out of the way of the watchmaker when not in use. In the forms shown in Fig. 71, 72 and 73 the belt passes from the countershaft over the idler and one long belt only is used. This style is sometimes varied by using two separate belts one from the countershaft to the idler and another from the idler down to the lathe. If in the latter style, a cone pulley of rubber is used on the countershaft and also for the corresponding pulley on the idler and a plain pulley for the down belt. Of course in this form the idler stand must be in the form of a countershaft, as the pulley must be fast on the shaft and the shaft itself must revolve. In the styles shown above, the shaft is rigid and the pulleys revolve upon it. The advantage of using the cone pulley style is that the speed of the cutter or other attachment may be varied at will without in any way increasing or decreasing the speed of the wheel.
[224]
259. True chucks are the most important adjuncts to a watchmaker’s outfit. A true lathe with poor, untrue chucks is almost useless. Chucks hold the work truest that comes the nearest to fitting the holes in them. If you try to hold work in a chuck that is too large or too small, you will soon get the chucks out of true and you will soon become dissatisfied with your chucks, your work and your lathe. Care should always be taken to select a chuck that will take the work without straining it open and yet is not so large that undue pressure will have to be used in holding it. The American split chuck, when true, will hold almost any piece of work with the greatest precision as regards truth; but the split chuck is a delicate attachment and will not stand hard knocks and rough treatment. After using them, you should clean them in benzine to remove all dirt, rinsing them in alcohol and drying with a soft linen rag, and see that no small chips of metal are left in the openings that may throw the work out of truth the next time they are used. Fig. 74 illustrates the regular pattern split chucks that accompany American lathes. Fig. 75 is a conoidal wire chuck, so called because the shape of the mouth of the chuck is conoidal in lieu of the shoulder usually left on wire chucks for the bend in the spindle. Fig. 76 is[225] an arbor chuck. This is a solid chuck on the end of which is a threaded arbor for the reception of saws, laps, wheels, etc., which are held firmly in position by means of the nut on the threaded arbor. Fig. 77 is a screw chuck. This is a solid steel chuck having a threaded hole in the end for the reception of cement brasses, etc. Fig. 78 is a shoulder chuck. It is a split chuck with a large opening in the end with square shoulders for the work to rest upon. Fig. 79 is a taper chuck, which is solid and has a large opening for the reception of tapers, centers, laps, etc. Fig. 80 is a step or wheel chuck, which usually comes in sets of five, and as each chuck has nine steps, a set of them will accommodate forty-five different sizes of work. These chucks are useful for holding mainspring barrels when fitting in the cap, should it become out of true; for trueing up the barrel of English lever watches that are damaged by the breaking of a mainspring and for holding almost any wheel in a watch, such as the fitting of a center wheel to a pinion, or in making sure that hole in the wheel is in the center. These chucks will the hold wheels from 5 to 2.25. The chucks mentioned above are the most common ones in every day use and usually accompany the American lathe in combination sets. As intimated, these chucks are delicate and as a usual thing they do not receive the care they should,[226] when their cost and the delicate exactitude demanded of them is considered. The watchmaker who prides himself on his good work and the orderly condition of his tools, attachments and bench generally will purchase or make for himself a nice chuck box with a glass or wooden cover to exclude all dust and flying chips. You cannot expect to do good true work with a chuck that is thrown carelessly into a drawer containing an assortment of files, a hammer, staking block, oilstone, screw driver, sliding tongs, etc., and yet how many watchmakers take just this kind of care of their chucks, and complain of their untruth, and declare that a wax chuck is the only thing[227] that can be absolutely relied upon for truth. Fig. 81 illustrates a neatly arranged chuck box made by the Faneuil Watch Tool Company. In it all the various chucks may be arranged and the whole may be covered with a glass shade to keep out all dirt. A wooden cover might be used and perhaps would be preferable to many as it is less liable to be broken and occupies less space and therefore admits of the box being placed in a drawer, leaving more room on the bench for the necessary tools and attachments.
A chuck box should be well soaked in oil so that the wood will absorb no moisture and thus tend to rust the chucks. A small envelope made of tissue paper and filled with quicklime will, if placed in the chuck box, take up the moisture in the air and prevent the chucks from rusting.
260. The chuck stepping device, invented and patented by Mr. Moseley, is a valuable attachment for the lathe. In this device, shown in Fig. 82, a rests in chuck slightly less than diameter of work; b tightens in rear end of draw-in spindle, and turning c regulates the depth of step. By the use of this tool any wire chuck will accurately serve as a step chuck. It is a device of great service to the watchmaker when used and understood. It enables him to make a step in any wire chuck of any depth he may desire, and will push out the work at any time when he so desires. It is very useful many times for a stop for marking or cutting off when you want a number of pieces of the same length or kind. Many object to the stepped chuck for general use.
[228]
261. In addition to the regular chucks which usually accompany American lathe combinations may be mentioned some others which from time to time have been placed upon the market by manufacturers of watchmakers’ tools. These chucks were devised for holding work which it was found in practice could not be held by the ordinary chucks.
262. The bezel chuck, shown in Fig. 83, was originally made with a view of holding bezels only, but is now made so that it will hold watch plates, coins, etc., and is adjustable to any size. It can be fitted to any lathe and it requires but very little practice to use it, as it is extremely simple and any one who uses a lathe can make or repair bezels in a workmanlike manner. It holds the work as in a vise, and no amount of turning or jarring will loosen the jaws, while it may be opened or closed instantly by simply turning the milled nut behind the face plate, thus enabling the operator to turn and fit a bezel perfectly, by trying on the case as many times as necessary. It holds the bezel by either groove, so that the recess may be turned out when too shallow or too small for the glass, or the bezel may be inverted and turned down when it rests too hard against the dial. It will be found especially useful in turning out the inevitable lump of solder from the recess of the bezel after soldering, and in fitting to case, as the process of soldering generally makes the bezel shorter, and consequently it will not fit the case. It also renders the operation of polishing bezels, after soldering, the work of but a few moments. In turning out the recess for glass in bezels, especially those of the heavy nickel variety, it will prove a friend indeed. When, for instance, you look through your[229] stock of flat glasses and find none to fit, but have one that is just too large. Any watchmaker knows that if the groove in the bezel is imperfect, it is very apt to break the glass. This chuck is also useful as a barrel closer, holding work while engraving, and many other uses that will present themselves to the watchmaker.
263. The Hopkins’ patent adjustable chuck, shown in Fig. 84, is designed to grip and hold firmly and accurately any size of work, from the smallest staff to the largest pinion, watch wheels of all sizes, mainspring barrels and other large work, and can be adjusted to any make of lathe, by simply placing it friction tight on a plug chuck fitted properly to the lathe. In using this chuck for staffs, pinions, wire, etc., fasten a V-piece, 7, of proper size, in the hole of attachment 6, taking care that both the V and the seat in which it rests, are free from chips, dirt, etc. Then lay your work in the V and fasten it there by means of the sliding jaw above it. This done, place the attachment on the face of the chuck body, with the disc slipped under the heads of the two spring bolts, and then spin the work to center the same as when using wax. After centering thus, fasten the disc to place by tightening the nuts on the back ends of the spring bolts. For holding work by the web of the wheel, place the wheel under the screw cap, on the face attachment 8, and screw the cap down firmly on it, with the staff or pinion projecting outward through the center hole. This done, proceed the same as when using attachment 6. For mainspring barrels and like work, use attachment 11, and[230] place a bit of broken mainspring between the work and the ends of the three binding screws, and tighten the screws down on this instead of directly on the work.
264. The Spickerman patent cement chuck, shown in Figs. 85 and 86, holds and centers accurately any wheel in a watch while drilling, polishing or fitting new staffs or pinions, and all danger of injuring the wheels is obviated. It will fit all kinds of American or Swiss lathes. The holder shown in Fig. 86 at a, is turned down to nearly the size of the screw for the lathe, and the screw is cut so the holder will set as close as possible to the lathe. The face of the holder is then turned perfectly true. Put the wheel to be centered in cap c, as near to the center as convenient, and then screw on b. Then place the cemented face of chuck b against the face of holder a on the lathe, and with a lamp warm the cement between the surfaces, holding the chuck by means of a pegwood against the pivot of the wheel in the cap c, and it will move to an exact center as soon as warmed sufficiently. New cement should be added occasionally between the surfaces, as the old cement hardens and burns away, and does not center as well as when new. Fig. 85 shows chuck with wheel inside ready for centering and drilling.
265. The gem patent pivoting chuck, shown in Figs. 87 and 88, is intended as a substitute for wax when performing pivoting and like work. By the means of the[231] ball b, placed between the two sliding sockets c, c, with the several other parts as represented in Fig. 87, a combination of sliding and ball and socket movements, in connection with a spring pump-center is obtained. A set of ten or more supplementary chucks g, with different sizes of center holes, and attachment n for all sizes of wheels, are furnished with each chuck. The supplementary chuck g, in the form of a small split chuck, is made to fit into a hole with taper mouth, in the center of the ball b, and is drawn into place and the work fastened firmly in it by means of the binding nut m, which screws on to a projection extending outward from the front of the ball. To use this chuck, proceed as follows: Remove the nut m, and give freedom to the working parts by loosening the large back nut k. Then to bring the hole through the ball b into line, spin the ball to center, first at the base of the projecting screw and then at the mouth of the hole through it, and in this position again fasten the parts, by tightening the nut k. Then give freedom to the[232] pump-center by slightly loosening the set screw j. When doing this, hold your finger against the front of the chuck, to prevent the center rod from shooting out of its place when freed. Then having placed a supplementary chuck g, of proper size, in its place in the chuck, and your work in it, with its back end resting properly in the countersink in the end of the pump-center, fasten it there by screwing the cap m down snugly over it, using a small lever pin when necessary for the purpose, but not with undue force. Then again loosen the nut k, and spin the work to center at its outer end; and then tighten both the nut k and set screw j. In tightening the set screw j, make sure it is so tightened as to prevent the pump-center from slipping from place when working. If from tightening the screw j, it is found that the work has been thrown in any degree away from true center, loosen the nut k, leaving the pump-center fast, and again spin to center and fasten as before. After a little practice this can all be done in a few seconds, and the work brought to absolute center.
In using attachment n, for wheels, the nut m and chuck g are removed, and n is substituted therefor; the work being held on the face of the attachment by flat-headed screws that grip the arms of the wheel. For cylinder escape wheels a special attachment n is furnished.
266. Fig. 89 illustrates a crown chuck, which is used for holding crowns while undergoing repairs. The Dale chuck shown in Fig. 89 is made on the lines of the ordinary split wire chuck, a large recess being turned in the[233] end for the reception of the crown. The Johanson chuck is illustrated in Fig. 90, and is quite different in construction, a ball-shaped cap with right hand thread screwing down onto the body of the chuck, thus holding the crown from the outside, while a screw-center with left hand thread, holds it firmly from the inside. This chuck is made in two patterns, one for use in a No. 40 wire chuck, as shown in Fig. 90, and the other is mounted on a regular chuck and is ready to insert into the lathe-head the same as an ordinary wire chuck.
267. The slide rest is an expensive but very useful adjunct to the lathe. It is used so extensively in this country, however, that a full description of it seems superfluous. Fig. 91 is a fair example of a modern slide rest for the American lathe. The tool-holder varies with the different makers, but the rests proper are all made on the same general principles, that of two sliding[234] beds working at right angles to each other, and carrying a tool-holder, capable of being raised or lowered or set at any desired angle.
268. Brass is easily turned with the slide-rest in an ordinary lathe arranged for the purpose, but the turning of steel demands more care in setting the cutter so as to obtain the best cutting edge as well as in determining the point of application of the tool. Preliminary trials must be made, and the following remarks will be of service as a guide.
269. Engineers use a hooked tool to a very great extent for both planing and turning. Both experience and reasoning point to the conclusion that a tool of the form b or d Fig. 92, possesses many recommendations, and numerous designs of hooked tools more or less resembling these figures are employed with advantage; the tool occupies the best possible position in reference to the surface it is required to cut, and the cutting edge is both sharp and solid. It will be evident that a certain relation exists between the cutting angle and the point of application of the tool to the cylindrical object that is being turned, and this it is necessary to determine. With a hooked tool, as with the ordinary slide-rest cutter, a cutting angle which is too acute will wear away rapidly; when too obtuse, the tool scrapes and will only act when considerable pressure is applied.
In conclusion, it is clear that in forming or re-grinding any tool for cutting a surface, it must be so arranged that its edge makes the least possible angle with the surface that is consistent with the securing of a sufficient degree of resistance to the cohesion and the hardness of metal operated upon; in other words, the end of the tool must[235] be almost tangential to the circumference of the object, and the angle of the cutting edge must be obtained by removing metal from the top face of the tool. These principles are applicable to all tools for metals; to the blades of drills as well as to the cutting edges of gravers, etc.
270. The angle of the cutting edge of the tool used in the slide rest for steel should be less than that employed for operating on brass. According to Holtzapffel, it may vary in the former case from 60° to 80° and, in the latter case, 70° to 90°, according as the tool is required for rough turning or finishing. 60° and 80° may, however, be taken as convenient angles in the cases respectively. Simple methods of ensuring that the cutting edge has any required angle are described in article 396.
The velocity with which the lathe revolves should also be less when turning steel, and care must be taken that both the tool and object are constantly moistened with oil.
It is sometimes desirable to arrange a small dropping-can for the purpose of keeping up the supply; this may be easily done by placing a can containing the fluid above the level of the work and allowing a piece of lamp-wick, previously moistened, to hang from it so as to almost touch the work: a continuous series of drops will fall, owing to the influence of capillarity.
271. When roughing out work it is best that the cutter first travel perpendicular to the object, from a towards b, Fig. 93, and then in the direction of the arrow. The corner a should only be used for finishing an internal angle or for roughing it out, and, in this latter case, the cutter must advance along a b and be withdrawn from the metal in the direction of the arrow. The small face at the end, a c, should be narrow.
[236]
272. Forms of slide-rest cutters. The usual forms of cutters for use in the slide-rest are shown in Figs. 94 and 95. A and A′ are respectively the plan and side view of the most common form. Two inclined planes i n and d c are formed on the left-hand and under sides. The point on which they terminate is cut off square, a cutting edge, which is more or less acute according to the metal to be operated upon, being obtained by a third incline c n. The width of the square cutting edge, indicated at n in figure A, varies according to the metal to be operated upon, as well as this incline c n. It is advisable to be provided with at least half-a-dozen cutters of this form, with edges of varying width and inclination, and even this number is often found insufficient; cutters for steel should never be used in turning brass.
A cutter may be sharpened in the usual manner for ordinary work; but if it is desired to produce very smooth sinks, etc., one that has been carefully polished must be used for the final cut.
The blade should cut with both its edges; the straight edge will serve to form right-angled corners of sinks, while the other edge will form bevels. It is hardly necessary to add that, when a square corner formed by the first of these edges requires to be beveled by the second, the lathe must rotate in the opposite direction and the cutter be passed over to the opposite side of the center.
273. C, in the same figure, is a rounded cutter for making circular grooves. F, Fig. 95, is for cutting the[237] groove that receives a barrel-cover. J and V are for forming the “tallow-drop” shoulders of pivot-holes, etc.
It will doubtless be observed that these cutters would form nipples that are dome-shaped and relatively somewhat high, and, for small pivot-holes, the blade would require to be narrower and of a shape that corresponds with the nipple it is desired to produce. L is for rounding off angles. S is a convenient shape for smoothing the bottom of a barrel without damage to the hook. T has a square point; it is used narrow for cutting, for example, the passage under the escape-wheel cock in a cylinder watch, and, when made wider, will serve to cut the settings for jewels. In the latter case it may either be square at the end or a little rounded at the corners.
In addition to the use indicated above, V can be employed
for raising the
edge of a jewel setting.
274. Sharpening slide-rest tools. A flat surface turned in the lathe will never be even unless the cutting face n in A Fig. 94, is smooth, and indeed polished, and its edge parallel to the face-plate. Some care is therefore necessary in sharpening this face. The requisite parallelism can be secured by the following method.
275. Sharpen the tool while it is held in the tool represented in Fig. 96.
On a thick brass plate l and parallel to its plane at one extremity b, a plate p is pivoted. The inclination of p to l can be varied and it is fixed in any required position by the curved arc passing under the clamping screw j.
A small bar c is fixed to l with its edge set accurately at [238]right angles to the line at b′ in which the two planes intersect. An examination of the figure will suffice to indicate the manner in which such a tool is used. Having set p so that it makes with l the angle to be given to the cutting face, the cutter b is held against the bar c, where it may be fixed with a screw v, or in any convenient manner, taking care to leave the portion of the cutter that is to be removed projecting beyond the face of p as shown at b′. Now pass a piece of smooth oilstone or disc of steel charged with oilstone dust over the face of p until the projecting portion is removed; if a polished face is required, this must be succeeded by a bronze or ground glass disc charged with rouge. If the plate p is of sufficient dimensions, it will not be distorted, even though only made of hammered brass; but it would of course be better made of steel, hardened if possible.
276. If the watchmaker will make a rectangular holder to fit in his tool post, with a square groove planed in its upper side that will fit some particular size of tool steel, say one-fourth or three-sixteenths of an inch, he can then buy bar steel of that size and make his cutters by simply cutting off a piece from the bar and grinding one end to the desired shapes and angles, thus saving a vast amount of time and labor in the preparation of his tools, facilitating their rapid interchange in the tool post, when working, and securing the greatest possible rigidity of the tool, as the cutting edge projects from the holder only far enough to allow the holder to clear the work.
277. Hooked gravers. It is needless to do more than mention the gravers that some watchmakers are in the habit of making of worn-out files, of various forms to suit their special requirements; but we would remind[239] learners that care is essential in fixing the position of the rest and the inclination that has to be given to the tool so as to obtain a smooth surface, and at the same time a rapid removal of metal.
The most usual forms of the hooked graver are shown in Fig. 97. A will serve to hollow out a plate, barrel, etc.; B for turning the bottom of a barrel without touching the hook; C for forming a barrel-cover groove after it has been roughed out with an ordinary graver. The bottom of a barrel can also be turned with a graver of the form D held on the T-rest at right angles to the bottom, and a slide-rest cutter can be made of this form with advantage.
Some workmen incline the end cutting face of A slightly backwards from the perpendicular to d d, fearing lest, in sharpening, it should accidentally be made to incline in the other direction, and so make it difficult to form internal square corners.
278. Gravers for turning square shoulders, etc. Very few watchmakers are able to finish off a square shoulder by using a graver with the usual point; as a rule, when they are smoothing the surface of the pivot they allow the point to cut a ring in the shoulder, and if, instead of being sharp, the point is dull, a rough groove is the result.
[240]
To avoid such a fault it is a common practice to employ gravers with very short faces, but their inconvenience is evident. It is much better to retain the long lozenge-shaped face, but with the point modified, as indicated by B or C, Fig. 98.
The ordinary point, shown at A, can be used for cutting the back slope of a shoulder, B for forming the square-shouldered pivot, and C for beveled shoulders. The inclination of the face e d of B may vary, the angle e being more or less acute, according as more or less use is required to be made of the point. This form of graver has the double advantage that a pivot can be turned and smoothed at one operation, very little polishing being needed. Moreover, the point is less fragile, and such a graver combines the advantages of those with pointed and square ends.
The length of this small face depends on the work required of it, thus for making a cylinder pivot it may be about a third the length of the pivot; this is found convenient for ensuring that the pivot shall be of uniform diameter. The direction to be given to the face is indicated by the dotted line e d, and a lozenge-shaped graver is preferable to one of square section for this purpose. This direction e d is very important, and frequent trials should be made so as to ensure its being always produced. The form C for beveling off a shoulder does not call for explanation.
[241]
Although of less importance than when turning with the slide-rest, the cutting angle of the graver should correspond with the nature of the metal operated on. In reference to this question see article 270.
279. Spherical turning tool. A very simple and convenient tool for forming a sphere of metal may be made by taking a hardened steel tube whose internal diameter is less than that of the sphere to be produced. This is ground square and flat at one end, and sharpened by rubbing this flat end on an oilstone. The tool is moved about over the surface of the ball, previously roughed out, and a perfect sphere will soon be obtained, the metal being removed by the internal edge of the tube. If a steel tube is not accessible it will be enough to drill a hole in the end of a softened worn-out file, subsequently hardening it.
280. The forms ordinarily adopted for the blades of drills are shows at A and C, Fig. 99. The form C is best suited for perforating brass and other metals having a similar degree of hardness. The blade must not be too thick, as, if it were, there would not be a sufficient cutting edge. As the hardness of the metal operated on is greater, the thickness of the blade must proportionately increase, or what amounts to the same, the two slopes that give the cutting edges must have a less degree of inclination. If this condition of sufficient thickness be satisfied by a drill of the form C, it will perforate steel very well, but its point will rapidly wear. When operating on this metal, therefore, the form A is preferable, especially when the steel[242] is at all hard. Such a drill with the corners rounded off and sharpened will last for a long time, if the cutting angles are not too acute. If the metal is not hard, more rapid progress may be made by adopting a blade less flattened than A, that is to say, something intermediate between A and C.
A drill may be asserted to be good if it satisfies the following conditions: the point must be in the middle of the blade; it must be made of good steel that is carefully hardened, without being heated beyond the proper temperature; lastly, it must be quite true—in other words, in rotating it must run with sufficient truth throughout its entire length, so that it withstands the end pressure required to cause it to bite, and does not bend.
281. It must not be forgotten that: (1) if a drill is driven too rapidly it will heat, and thus become softened as though too much tempered; it is with a view to prevent this that, when operating upon iron or steel, many workmen now and then dip the drill into a cold liquid (turpentine is good for this purpose), dry it, and recommence drilling, the hole being liberally supplied with oil; (2) when the blade is left too hard, the cutting edge too acute, or if a feather edge has been left by the oilstone, small hard particles that are detached from the drill will embed themselves in the hole, and this will be especially the case if it is worked too rapidly or with jerks; such particles render the operation of drilling very slow and difficult.
282. To drill steel of a blue temper. At first not much difficulty will be experienced; but when the drill reaches a certain depth and the metal seems to oppose a gradually increasing resistance, the operation must at once be stopped. If the blade of the drill be now[243] examined with a glass, it will be easy to see which points have ceased to cut, producing instead a series of bright rings at the bottom of the hole that are very difficult to remove. Exchange the drill for one of a different form or, without reducing its width, change the form of the blade; if it was arrow-headed for example, make it a semicircle, or semi-oval, or chisel-shaped with sloping edges. All that is essential is that the form be so changed that the bright portions of the surface shall be gradually removed, and that no attempt be made to act on the whole bright surface at once. Until this hard portion is removed, the blade will require frequent sharpening.
Some authorities recommend that the hole be moistened from time to time with dilute nitric acid, which is then washed off, and renewed when a shiny surface is produced. Oil can with advantage be replaced by turpentine as a lubricant for the drill blade.
The formation of hard shining surfaces is attributed to three causes: (1) to the cutting edge being rounded, rolling as it were and hardening the surface of the metal against which it continues to move; (2) to the drill being made of bad steel or imperfectly hardened, so that small particles break off and are embedded in the metal operated upon; and (3) to a deficiency in the supply of oil, or an excessive velocity of rotation of the drill.
These difficulties may usually be avoided by observing the following precautions:
283. Blade of the drill. This should be neither as thin nor as acute as is used for drilling brass. Its angle should never be less than 100° and the incline should be at about 45°. The forms generally employed are shown in Fig. 100,[244] at A, B and C. At first the form A is used, and, as the operation progresses, it is modified with an oilstone slip.
284. Drilling slowly with considerable pressure. If the drill rotates too rapidly or there is not sufficient oil, the surfaces of contact will be heated and shining rings will form. It is well to practice slightly, varying the speed of the wheel, in accordance with the pressure applied; the speed should be more decided when the pressure is, for the instant comparatively great. With continuous rotation, considerable pressure should be applied with moderate velocity. Constantly remove the drill to sharpen, clean the hole and have an abundant supply of oil. Whatever liquid is most effective in maintaining the drill cool will probably be the best; turpentine is better than oil, since it has the additional advantage of increasing the “bite” of the drill.
285. The part against which the drill acts should be very rigid. For example, if a hole is being made for a pivot in a cylinder plug which is not provided with a shellac backing, and is, therefore, flexible, the operation will be more tedious than when the cylinder is filled with shellac. The firmness is usually greater when the object is centered about the point to which the drill is applied.
286. Making the drill. The very best steel should be used, and the precautions indicated in article 87 should be taken in the hardening. If the steel is burnt in this process, no satisfactory results are to be expected of it. To avoid such a danger it is often advisable to leave the blade nearly round and thicker than is required, finishing with a piece of oilstone. Although somewhat more tedious, this method has the advantage of ensuring that, after[245] hardening, all the metal that is most liable to have been burnt is removed.
The drill must be short, the blade being thick and not much reduced at the shoulder, in order to stand pressure when in use. A drill that has been several times hardened is rarely good.
287. Finished drills. We would here draw the attention of watchmakers to some beautifully made drills that have been introduced and are known in the trade as “finished” drills, in contra-distinction to the well known pivot drills that are always sold in the rough. They are of two forms, corresponding to A and C, Fig. 99, for steel and brass respectively; they are made of the best steel, carefully hardened and tempered to the requisite degree; and a principal recommendation consists in the fact that, while being moderate in price, they are of definite graduated sizes, extending from 0.1 mm. to 2.5 mm. (0.004 to 0.1 inch), a range which comprises 37 distinct sizes.
288. Semi-cylindrical drills. These drills give excellent results when driven by a wheel, and, although they have been long in use by engineers, they are hardly known to watchmakers.
The simplest form is a cylindrical rod rounded at its end and then filed down to a trifle less than half its thickness, as seen at b d and l i, Fig. 101.
The length of the point is greater or less according to the nature of the metal to be operated upon, but under no circumstances must the point itself be sharp. With the form shown at b d, some of the rod that is left cylindrical must be partially filed away; a better shape is indicated[246] by the dotted lines, all the metal being removed that is outside the line i l. With such a drill the hole is smoothed immediately after it is made by one or the other cutting edge of the portion i l. It should be sharpened on the round, not on the flat surface (or at any rate very slightly), because the thickness would be rapidly reduced and the blade made smaller. When such a drill does not turn true the back of the blade can be reduced, starting from the cutting edge, it being observed that, with the continuous motion of the wheel, only one edge acts. After a few trials it will be found easy to use this form of drill.
It possesses this very great advantage: when fixed in a drill-chuck, it can be turned exactly round, of the required diameter and finished; so that, whenever replaced in the chuck, one can be certain beforehand that the hole drilled will be of a definite diameter.
289. Fig. 102, shows, at C and D, another form of semi-cylindrical drill; the first, C, is a front and the second a side view. The angle a is formed by a sloping semicircle and the stem of the drill is of less diameter than the head, as indicated by the shoulder j. The angle t s r and the one between the face D and the plane b a must not be too acute.
This drill works evenly, but two conditions must be satisfied; it must be maintained perfectly true by the chuck, and, in commencing, both sides of the blade must engage against the sides of a conical opening that forms the beginning of a hole which has to be enlarged.
290. At F and N M, Fig. 103, are seen front and side views of another form of drill. While acting in a similar[247] manner to the others described above, it differs from them in that the blade also cuts with its two sides; the edges, p, i, i, o, are sloped off backwards to form cutting angles. The shape is indicated to the right of M, this portion being the exact inverse of the side N.
As with the drills previously considered, a few trials must be made to decide upon the best slopes for the cutting angles, etc., according to the metal operated upon. They may be retained as left by the lathe, or very slightly inclined, on the faces p and i. All these forms of drills require to be mounted so as to run very true. The point o must be accurately central. A hole that has been already drilled small can be rapidly enlarged by such a drill as this last, the pin o, having the same diameter as the one originally drilled.
291. The Twist Drill. The Morse twist drill, shown in Fig. 104, is rapidly coming into favor with watchmakers for the heavier classes of work, and is very desirable when drilling deeply, as this form of drill heats slowly and the particles are carried to the surface of the work. A large range of sizes in these drills are now carried in stock by the material dealers.
292. Tailstocks. Besides the regular tailstock which accompanies the American lathe there are several other varieties made for use on special kinds of work. Fig. 105 illustrates the half open tailstock which is cut away so that the spindles can be laid in, instead of being passed through the holes. The fixture will be found[248] exceedingly convenient when several spindles are to be used for drilling, counterboring and chamfering. Fig. 106 illustrates the screw tailstock, an attachment which is very convenient for all kinds of heavy drilling, the spindle being moved by a screw with hand-wheel attached. Fig. 107 illustrates the traverse spindle tailstock, which will be found very convenient for straight drilling and especially where the watchmaker has considerable drilling to do.
293. Jeweling Caliper Rest. Although this tool was invented and manufactured for the purpose of cutting jewel settings it may be used to great advantage in countersinking for screw heads, opening wheels for[249] pinions or bushings, etc. The sliding jaws of the calipers should be so adjusted that when the swinging part is brought back snugly against them, the front cutting edge of the cutter in the sliding spindle will exactly line with the center of the lathe spindle. Then if the calipers are at the right height, when a jewel or jewel setting is placed in the jaws of the caliper it will move the edge of the cutter outward from the lathe center just half the diameter of the jewel then in the caliper and the cutting made at that distance from the center will exactly coincide with the size of the jewel to be set. If however, when set and worked as above, it is found that the hole cut is too large for the jewel, it will indicate that the calipers are too low down and should be raised, provision for which is made in the construction of the tool. Upon the other hand, if the cutting is found too small to fit, it will[250] indicate the calipers should be lowered. The final cutting for the jewel seat should be made by running the center straight inward from the face of the plate; the adjustable stop screw on the back end of the sliding spindle, serving to gauge the depth of the cutting.
294. Pivot Polishers. The pivot polisher is used for grinding and polishing conical and straight pivots and shoulders. It is also used for drilling, polishing or snailing steel wheels, milling out odd places in plate or bridge, where only a part of a circle is to be removed, etc. In the style shown in Fig. 109, the American Watch Tool Co.’s polisher, and Fig. 110, the Moseley pattern, the circular base is graduated to degrees and the fixture can be set at any angle. The spindle has a taper hole for drill chucks, which makes the fixture very useful for drilling either in the center or eccentric and by using the graduations on the pulley of the headstock an accurately spaced circle of holes may be drilled. Fig. 111 illustrates the polisher made by the Faneuil Watch Tool Company, and is intended to be mounted on the slide rest. Fig. 112 illustrates the Johanson pivot polisher and in general principle is like the others. This style is made both for use on the slide rest and also for the hand rest. When [251] used in the latter, a stud, shown in Fig. 113, is screwed into the base plate and supports the tool in the hand rest, so as to be readily adjustable in any direction. When used in the slide rest, this stud is removed and the plate clamped between two hollow cylindrical supports by a stud which is slipped into the groove of the slide rest and fasted by a nut at the top, the whole forming a turret-like mount of great strength and upon which the machine can be readily swiveled in any direction. In general, polishers are used as follows: After the pivot is turned to proper shape, put on your polisher, with the lap back of the pivot, usually the cast iron lap first. A square-cornered lap for square shoulders and a round-cornered lap for conical pivots. The laps for conical pivots can be[252] readily cornered with a fine file, and cross-ground with fine oilstone to remove any lines made by graver or files. Lines on the end can be removed the same way, or by means of the fingers often rubbing them on a piece of ground glass which has on it a paste of oilstone powder and oil, well mixed. Oilstone powder and oil used on the lap, or No. 1 crocus will rough out the work well. When roughed out to your liking, wipe off the oilstone powder or crocus and with a little oil touch the pivot gently; repeat the second time. Then change lap for one of boxwood or brass and use crocus No. 4, very fine, and ground [253] down to a paste. Proceed as with the first lap, being careful at all times to keep the lap properly oiled and not pressed too hard against the work, particularly in the last operation. Be sparing of your grinding and polishing material as a little will accomplish as much work as a large quantity and do it better. Bring the lap up carefully against the work until spread all the way around, then proceed, bearing in mind that grinding is not polishing, and that to polish nicely the work and lap must be very nearly the same shape. Fig. 114 illustrates the Hardinge pivot polisher, which is a hand polisher and much more simple in construction and use than those mentioned above. It is attached to the lathe bed the same as the T or hand rest. Polishing and grinding slips are furnished with this attachment, as with the others.
295. Centering Attachments or Back Rests. These attachments are very useful in rapidly bringing work to an accurate center, when pivoting, staffing, etc., and particularly where a large number of pieces have to be centered successively. Fig. 115 illustrates the Potter patent self-centering lathe attachment which is made to fit any pattern of American lathe.
It consists principally of the slide bed pieces R and D, the upright plate A and the reversible anti-friction sliding jaws O U V X. The upright plate A is attached to the slide D in such a way that it may be readily raised or lowered, or adjusted in any other direction at pleasure; and may be set with either side facing the lathe-head. The sliding jaws are made of phosphor bronze anti-friction metal and four sets, of three in a set, are furnished with each attachment, as shown at O, U, V, X, the forms differing so they may be adapted to the various kinds of watch work, and they are operated in radial grooves in the upright[254] plate A by means of the rotating lever L, which moves the three jaws in and out, to and from the center, or opens and closes them in perfect unison. One set of jaws may be withdrawn and another set substituted therefor in a few moments. With each change of the jaws, however, the plate A requires readjustment, but this too, may be done in a few moments, as follows: Having previously provided yourself with a bit of straight wire or a small steel rod, turned to run perfectly true in your lathe, and having fastened this in your chuck in the lathe, loosen the nuts C C, so as to give freedom of movement to the plate A; then bring the attachment to proper position on the lathe bed and fasten it there, after which move the sliding jaws inward until they bind tightly on the piece of straight wire held in the chuck and in this position again tighten the nuts C C. Once adjusted to accurate center in this way, no further adjustment, whatever the size of the work to be operated upon, is required, until you make another change of jaws.
In use, the end of the work to be operated upon is placed in an accurate split chuck in the lathe, and the chuck tightened on it, just sufficiently to hold it in place and to rotate it, the other end being supported in the central bearing, formed by the sliding jaws. In this position the jaws may be opened or closed as often as desired, and each time they will bring the work to accurate center.
[255]
A similar attachment to the one above described is extensively used by machinists and is known as the back rest. In principle it is very similar, but is more simple in construction, and ambitious workmen can make them without difficulty. This attachment, which is shown in Fig. 116, differs in its mode of fastening to the lathe bed and the jaws cannot be opened and closed at one time as in the Potter attachment.
The illustration shows the rest in position on the lathe bed, looking from the right-hand end of bed; m shows the base, looking from above, in direction of arrow k; d shows bolt for binding it to the lathe bed. It does not seem as though it needed much explanation, as it will be readily seen that the head d of bolt, passes up through the[256] longitudinal slot in the lathe bed, through the round hole in base of back rest and is slipped back into slot m, when about half a turn of nut g binds it firmly to the bed. The washer h, on the end of the binding screw, is riveted or soldered in place and should be close enough to nut g to allow only about half a turn to loosen the bolt, as that is sufficient, and more space would occasion a loss of time in running the nut back and forth to bind or loosen the rest. It will be seen that when the nut g is slackened, it binds against the washer h, and it will stay there, and be just where you want it when you are ready to use it again. The jaws are of hard brass; about three sets, with points of different widths, will cover a large range of work. Those shown in Fig. 116 are suitable for such work as pivoting small French clock pinions, etc. It will be observed that the jaws are so made that they may be changed by slightly loosening the screws. The screw heads should have thin steel washers under them.
296. Universal Head. The universal head has entirely superseded the clumsy universal mandrel in this country. The example shown in Fig. 117 is more accurate, less clumsy and complicated and will perform all the work that can be performed on the universal mandrel. The face-plate is 3½ inches in diameter, but by the use of the two crescent-shaped slots it will hold anything in size and shape of watch work. The pump center is operated from the back by the rubber knob and can be used either with or without a spring. The jaws, which will pass the center, are held in position on face of plate by springs and are fastened from the back. Peep holes are provided in these heads in order that the workman may examine the back of the work at all times. In the Moseley head, shown in Fig. 117, these holes are of taper[257] form. Fig. 118 shows a universal face-plate to be used in a chuck in the lathe. It is smaller and less expensive than the universal head and answers very well for some work, especially that of the lighter kind, but cannot be recommended as highly as the universal head, as it is not so accurate. The pump center is used to center, from the back, any object confined in the jaws, but it sometimes becomes necessary to mount the object, by means of wax, upon a plate, and hold the plate in the jaws. In such a case the work must necessarily be centered from the front. This can be done accurately by means of a piece of pegwood, as ordinarily done on the lathe, by placing the point in the center hole and the pegwood resting on the T-rest and observing if the free end of the pegwood remains stationary.
[258]
297. Traverse Spindle Grinder. This tool will be found very useful for grinding cutters, lathe centers, pump centers, reamers, countersinks, squaring up barrel arbors after hardening, or work on any hardened steel tool. In the hands of an ingenious workman, it will be found exceedingly useful, as by its aid a great variety of work can be performed that cannot be accomplished without it. Fig. 119 is intended to be attached to the slide rest.
298. Milling Fixture. This attachment, which is shown in Fig. 120 is designed to be fitted to the slide rest and holds the wire chuck vertically under the center of the lathe, so that articles held in the chucks can be fed under mills or saws held in the saw arbor in the lathe-head.
299. Wheel Cutters. The wheel cutter is a valuable addition to the lathe. Several different styles of these attachments are made, each possessing points of merit. They are designed for cutting all kinds of wheels and pinions used in key and stem-wind watches. When the cutter spindle is vertical the belt runs directly to it from the countershaft, but when horizontal, the belt passes over idler pulleys held above the lathe. One style of wheel-cutting attachment is shown in Fig. 121, while another style is shown in Fig. 71.
[259]
300. Rounding-up Attachment. The Webster rounding up attachment, shown in Fig. 122, is a very useful adjunct to the lathe. It is attached to the top of the slide-rest. To operate, a pointed taper chuck is put in the lathe spindle. The wheel to be rounded up is put into the fixture and the wheel adjusted vertically so that the point of the lathe center will be at the center of the thickness of the wheel, after which the lower spindle of the fixture should not be moved. Now remove the wheel, also the taper chuck, and put the saw arbor, with the rounding-up center, in the lathe spindle, and adjust the longitudinal slide of the slide-rest so that the rounding-up cutter will be back of and in line with the center of the rounding-up fixture, after which the longitudinal slide of the slide-rest should not be moved. Now put the wheel and supporting collet in place, and proceed with the rounding-up.
[260]
301. Screw Head Sink Cutter. This is usually made in the form of an arbor terminating in a cutting edge similar to the rose-cutter, but having a projecting pin from its center. This tool will be found especially useful in replacing broken end-stones. The jewel being set in brass, is held by two screws, on opposite sides, the screw heads being let in or sunk even with the surface, half of the screw head projecting over on the end-stone. The end-stones furnished by the watch companies are not sunk for these screw heads, but are round and of the proper diameter. These cutters will cut away from the jewel setting the space to be occupied by the screw head in a very few moments and in a very perfect manner. All of the watch companies do not use the same diameter of screw head in the cock and potance, consequently you will be compelled to make separate tools for the different makes of watches. With a set of five or six of these cutters you can fit any American watch. After you have completed your set, of say five or six cutters, select a small brass plate and bore five or six small holes in a row, in which the guide pins of the cutters will enter, and then cut with the tools a number of sinks, numbering these holes in the plate and also the arbors of the tools with corresponding numbers. You will then have a plate similar to Fig. 123 which can then be used as a gauge for measuring the heads of screws.
These cutters are easily made as follows: cut off a piece of wire of the required diameter, about one inch long, and place it in a chuck that fits it snugly and turn one end to a center, about 40°; now reverse the wire in the chuck and be sure it is true; select a drill that will[261] pass through the screw hole in the cock or potance freely and proceed to drill a hole in the center of the end of the wire, about ¹⁄₁₆ of an inch deep. Remove from the lathe and with a sharp file and graver, proceed to cut a series of teeth as equal and even as possible. Use a good strong glass while working and be sure you have every tooth sharp and perfect, as upon this depends the quick and nice work you expect from the tool. When this is well done, proceed to temper fairly hard and polish up the outside to make it look workmanlike. Now select a piece of steel pivot wire, of a size that will almost fit in the hole drilled in the end of the tool and polish down to the proper size to drive in the hole tightly. Allow the wire to project about ¹⁄₁₆ of an inch, taper the point and polish. The tool is now complete and will resemble Fig. 124. Select an end-stone of a diameter to fit tightly in the cock or potance, as maybe required; set the hole jewel in place and then the end-stone pressed down tightly against the hole jewel. Place your cutter in a chuck that fits it true; select a smaller medium sized drill rest and place it in the tail stock spindle. Hold the cock, or potance, with the jewels in place, against the drill rest, level, and proceeding to run the lathe at a fair speed, slowly feed the cock or potance to the cutter, the projecting pivot in the end of the cutter passing through the screw hole and acting as a guide to keep the cutter in the center of the hole. Caution must be exercised, or you will cut the recess for the screw heads too deep, as these little cutters are very deceiving and cut much faster than you would suppose. In fitting an end-stone, select one that is more than flush when the jewel hole and end-stone are in the proper position, and after sinking the screw head as described, turn[262] off on the lathe almost flush or level. Make a small dot on one side of the end-stone as a mark or guide in replacing it. Remove the end-stone and proceed to polish the top of the setting on a plate glass polisher.
302. Screw Extractors. The Bullock Screw Extractor, shown in Fig. 125, is a simple yet very valuable tool to the watchmaker who finds he has a plate in which a screw has been broken off. To use this tool, first fasten it in your vise, then bring one end of the broken or rusted-in screw against screw center and the broken screw head against screw driver; turn the washers so as to hold the broken screw firmly in place; turn the plate gently and the broken screw will follow the screw driver point out of the plate. It may be necessary in some instances to turn the screw driver point against the broken head with a good deal of force in order to start the screw. A little benzine or kerosene applied to the screw will help to loosen it.
[263]
The ingenious workman can, with the expenditure of a little time, make an attachment for removing broken screws, somewhat similar to the above. Take two common steel watch keys having hardened and tempered pipes—size, four or five—having care that the squares in each are of the same size and of good depth. Cut off the pipes about half an inch from the end; file up one of these for about one-half its length, on three equal sides, to fit one of the large split chucks of the lathe. Drill a hole in one of the brass centers of the lathe of sufficient size and depth, into which insert the other key-pipe, and fasten with a little solder. Soften a piece of Stubbs’ wire, to work easily in the lathe, and turn down for an eighth of an inch from the end to a size a little smaller than the broken screw in the plate; finish with a conical shoulder, for greater strength, and cross-file the end with a fine slot or knife-edge file, that the tool may not slip on the end of the broken screw; cut off the wire a half inch from the end and file down to a square that will fit closely in one of the key-pipes. Make a second point like the first one and fit it to the other key-pipe; harden in oil, polish, and temper to a dark straw color. Fit the brass center into the tail stock. To use, put the tools in place in the lathe, place the broken end of the screw against the end of the point in the lathe-head; slide up the back center and fasten the point firmly against the other end of the screw, that it may not slip or turn; revolve the plate slowly, and the broken screw, being held fast between the two points will be quickly removed. To remove a broken pillar screw, place the broken screw against the point in the lathe-head, holding the plate firmly with the right-hand, the pillar on a line with the lathe center; turn the lathe-head slowly backward with the left-hand, and the screw will be removed. Should[264] the tool slip on the broken screw, and fail to draw it out, drill a hole in the lower or dial side of pillar, down to the screw point (if the size of the pillar will admit of it), and with the second point in the back center, remove the screw in the same manner as in the first process. Five or six sizes of these points will be found sufficient for the majority of these breakages that may occur.
It sometimes happens that a screw gets broken off in a watch plate in such a manner that it is impossible to remove it with tools without marring the plate. In such an event proceed as follows: Put enough rain water in a glass tumbler to thoroughly cover the plate and add sulphuric acid, until the water tastes a little sharp. Place the plate in the solution and allow it to remain a few hours, when the screw will partially dissolve and drop out. Remove from the solution, wash thoroughly in clean water, then in alcohol and dry in saw dust. The solution will not injure the brass plate or gilding in the slightest, but care must be taken to remove all other screws or cemented jewels, previous to immersion.
303. Roller Remover. There are numerous designs in the way of roller removers upon the market, some of them good but many of them weak and liable to bend where the roller is very tight on the staff. All points being considered, the Hardinge remover, shown in Fig. 126, is perhaps the strongest and best on the market and is built on true mechanical principles.
[265]
The nose in the center and top of the illustration is drilled up so as to receive a balance pivot without bearing on its point, and can be moved towards or from the two bent prongs by means of the thumb nut at the bottom of the tool. The prongs can be spread apart or drawn together, and are secured in place by means of the binding screws at the sides. In using the remover the feet of the two prongs are brought under the roller and secured by the binding screws. The nose is now advanced against the shoulder of the bottom pivot and the staff can be driven out without damage to either roller or staff.
304. Balance Protectors. These are of two kinds and for entirely different operations. The Arrick protector, shown in Fig. 127, is used for protecting balances while working upon the pivots while in the lathe. No matter how careful a person may be, accidents will happen, and the least accident to a compensation balance gives the workman considerable trouble. The least slip of the graver, polisher or hand rest and great damage is the result. The staff is passed through the hole in the protector, and held in a wire chuck, and the protector is secured to the arms of the balance by two screws. The Bullock protector,[266] shown in Fig. 128, is designed to protect the balance and other wheels from heat while drawing the temper from staff or pinion for the purpose of pivoting.
305. Beat Block. This simple device obviates the necessity of marking the balance to see that it is in beat. Before taking off the hair spring lay it on the block, shown in Fig. 129, turn the balance so the roller pin hits on the side the arrow points, then turn the table so that the line comes under the stud. In replacing the balance put the stud over the line and it will then beat the same as before. By using this tool you also avoid getting the balance out of true.
306. Female Centers. Centers are of two kinds,, male and female. The ordinary centers that accompany the lathe, which are male centers, are familiar to all watchmakers. Female centers, however, are not so well known among watchmakers, and they can be used to great advantage in many operations where other and less simple attachments and means are usually resorted to. You should have at least six pairs of female centers, the largest being one-fourth of an inch in diameter, which will accommodate as large a piece as you will wish to handle on your watch lathe, viz: winding arbors for clocks. These female centers are made from steel tapers, the same as male centers are made, but instead of turning the end to a sharp point they are countersunk, Fig. 130. First place the taper in a chuck and turn off the outside and end true; drill a small hole in the center of the taper,[267] while the lathe is running, and deep enough so the countersink will not reach the bottom of the hole, or one-eighth of an inch deeper than the countersink. Harden the end only, and after tempering polish off the bluing. After you have made all the sizes you require, test all of them in your lathe to make sure they did not get out of true in tempering.
These female centers are very useful for holding or suspending any article in the lathe that is too large to be held in the split chucks. Pivots of clocks can be turned and polished very quickly and accurately in these centers.
Almost any kind of large work can be done on a medium sized watchmaker’s lathe by fitting to it a face plate one and three-fourths inches in diameter, with four slots, and fitted to a chuck with a standard taper hole to receive both male and female centers interchangeably. With two styles of dogs, almost any kind of large clock work can be readily handled.
These centers prove very useful for many odd jobs. As an example: It is a very common occurrence to hear an American clock beat irregularly, caused by the escape wheel being out of round. Select a pair of female centers that will admit the ends of the pivots of the escape wheel snugly; place one center in the taper chuck and the other in the tail stock spindle, and suspend the escape pinion in these centers; fasten on a dog, run the lathe at a high speed and hold a fine sharp file so it will touch the teeth of the ’scape wheel slightly, and in a moment the wheel will be perfectly round, after which sharpen up the teeth that are too thick.
307. Drill Rest. In using the lathe for drilling, a great saving in both time and drills can be effected by[268] using a drill rest similar to that shown in Fig. 131. It is well to have a half dozen different sizes, starting at ¼ inch and increasing by ⅛ inch, for various classes of work. These rests are not kept by material dealers, but can be made by the watchmaker. Saw from a piece of rolled sheet brass, say 1-16 inch thick, the circles required, leaving metal enough to finish nicely. Place a steel taper plug in the taper chuck of your lathe and turn down a recess, leaving a shoulder on the taper. Drill a hole through the brass plate to fit the steel taper tightly. Place the end of the taper on a lead block and proceed to rivet the brass plate, on the taper, making sure that it is true replace the taper in the lathe chuck and proceed to turn the face and edge of the brass plate perfectly true and to the proper size. Those who have tried to drill a straight hole through an object by holding it in the fingers know just how difficult it is to do, but by placing one of these drill rests in the spindle of the tail stock, placing the article to be drilled against it and bringing it up against the drill, you can drill the hole perfectly upright and avoid all danger of breaking the drill.
308. Filing Fixture or Rest. These rests will be found very convenient in squaring winding arbors, center squares, etc. There are several makes of these tools, but they are all built upon the same principle, that of two hardened steel rollers on which the file rests, and Fig. 132 is a fair example. One pattern is made to fit in the hand rest after the T is removed, while the other is attached to the bed of the lathe in the same manner as[269] the slide rest. The piece to be squared is held in the split or spring chuck in the lathe, and the index on the pulley is used to divide the square correctly. Any article can be filed to a perfect square, hexagon or octagon as may be desired. The arm carrying the rollers can be raised or lowered as required for adjustment to work of various sizes.
309. Filing Block. A contrivance made to take the place of the filing rest, which was made of box wood or bone. Ide’s filing fixture, shown in Fig. 133, consists of a cylinder of hardened steel, riveted upon a staff which in turn enters a split socket. The surface of the steel cylinder is grooved with various sizes of grooves for the different sizes of wire, or to suit any work.
[270]
Fig. 134 illustrates Melotte’s revolving bench block, which combines both anvil and filing block. No. 1 is a steel anvil which may be instantly revolved and stopped on quarters. No. 2 is a rubber block, held by friction on its arm, and can readily be turned to any position. This rubber, being slightly elastic, makes a very suitable filing bed for small articles of any material and may be used without risk of scratching or defacing polished surfaces. No. 3 is a wooden block, held on to its arm by a spring friction device, which also allows it to be turned around to any desired position. The three-armed hub is revolved by pulling out slightly and is automatically held perfectly firm and solid in any of the three positions.
310. Micrometer Caliper. Fig. 135 is a full size cut of the Brown & Sharp Mfg. Co.’s micrometer caliper. It measures from one-thousandth of an inch to one-half inch. It is graduated to read to thousandths of an inch, but one-half and one-quarter thousandths are readily estimated. This instrument is also graduated to the hundredths of a millimeter, but when so graduated the table of decimal equivalents is omitted. They are also made to read to ten thousandths of an inch. The edges of the measuring surfaces are not beveled, but are left square, as it is more convenient for measuring certain classes of[271] work. It will gauge under a shoulder or measure a small projection on a plain surface. Watchmakers will especially appreciate micrometers of this form. This tool will be found very useful for gauging mainsprings, pinions, etc. In the caliper, shown by cut, the gauge or measuring screw is cut on the concealed part of the spindle C, and moves in the thread tapped in the hub A; the hollow sleeve, or thimble D is attached to the spindle C and covers and protects the gauge screw. By turning the thimble, the screw is drawn back and the caliper opened.
The pitch of the screw is 40 to the inch. The graduation of the hub A, in a line parallel to the axis of the screw, is 40 to the inch, and is figured 0, 1, 2, etc., every fourth division. As the graduation conforms to the pitch of the screw, each division equals the longitudinal distance traversed by the screw in one complete rotation, and shows that the caliper has been opened 1-40th or .025 of an inch. The beveled edge of the thimble D is graduated into 25 equal parts, and figured every fifth division 0, 5, 10, 15, 20. Each division when passing the line of graduation on hub A, indicates that the screw has made 1-25th of a turn, and the opening of the caliper increased 1-25th of 1-40th, or a thousandth of an inch.
Hence, to read the caliper, multiply the number of divisions visible on the scale of the hub by 25, and add the number of divisions on the scale of the thimble, from zero to the line coincident with the line of graduation on hub. For example: As the caliper is set in the cut, there are three whole divisions visible on the hub. Multiply this number by 25, and add the number of divisions registered on the scale of the thimble, which is 0 in this case, the result is seventy-five thousandths of an inch. (3 × 25 = 75 0 = 75). These calculations are readily made mentally.
[272]
Differences between Wire Gauges in Decimal Parts of an Inch.
| No. of Wire Gauge. | American or Brown & Sharpe. | Birmingham or Stubs’. | Washburn & Moen Manufacturing Co., Worcester, Mass. | Trenton Iron Co., Trenton, N.J. | New British. | Old English from Brass Mfrs. List. | No. of Wire. |
| 000000 | —— | —— | .46 | —— | —— | —— | 000000 |
| 00000 | —— | —— | .43 | .45 | —— | —— | 00000 |
| 0000 | .46 | .454 | .393 | .4 | .4 | —— | 0000 |
| 000 | .40964 | .425 | .362 | .36 | .372 | —— | 000 |
| 00 | .3648 | .38 | .331 | .33 | .348 | —— | 00 |
| 0 | .32495 | .34 | .307 | .305 | .324 | —— | 0 |
| 1 | .2893 | .3 | .283 | .285 | .3 | —— | 1 |
| 2 | .25763 | .284 | .263 | .265 | .276 | —— | 2 |
| 3 | .22942 | .259 | .244 | .245 | .252 | —— | 3 |
| 4 | .20431 | .238 | .225 | .225 | .232 | —— | 4 |
| 5 | .18194 | .22 | .207 | .205 | .212 | —— | 5 |
| 6 | .16202 | .203 | .192 | .19 | .192 | —— | 6 |
| 7 | .14428 | .18 | .177 | .175 | .176 | —— | 7 |
| 8 | .12849 | .165 | .162 | .16 | .16 | —— | 8 |
| 9 | .11443 | .148 | .148 | .145 | .144 | —— | 9 |
| 10 | .10189 | .134 | .135 | .13 | .128 | —— | 10 |
| 11 | .090742 | .12 | .12 | .1175 | .116 | —— | 11 |
| 12 | .080808 | .109 | .105 | .105 | .104 | —— | 12 |
| 13 | .071961 | .095 | .092 | .0925 | .092 | —— | 13 |
| 14 | .064084 | .083 | .08 | .08 | .08 | .083 | 14 |
| 15 | .057068 | .072 | .072 | .07 | .072 | .072 | 15 |
| 16 | .05082 | .065 | .063 | .061 | .064 | .065 | 16 |
| 17 | .045257 | .058 | .054 | .0525 | .056 | .058 | 17 |
| 18 | .040803 | .049 | .047 | .045 | .048 | .049 | 18 |
| 19 | .03539 | .042 | .041 | .039 | .04 | .04 | 19 |
| 20 | .031961 | .035 | .035 | .034 | .036 | .035 | 20 |
| 21 | .028462 | .032 | .032 | .03 | .032 | .0315 | 21 |
| 22 | .025347 | .028 | .028 | .27 | .028 | .0295 | 22 |
| 23 | .022571 | .025 | .025 | .024 | .024 | .027 | 23 |
| 24 | .0201 | .022 | .023 | .0215 | .022 | .025 | 24 |
| 25 | .0179 | .02 | .02 | .019 | .02 | .023 | 25 |
| 26 | .01594 | .018 | .018 | .018 | .018 | .0205 | 26 |
| 27 | .014195 | .016 | .017 | .017 | .0164 | .01875 | 27 |
| 28 | .012641 | .014 | .016 | .016 | .0148 | .0165 | 28 |
| 29 | .011257 | .013 | .015 | .015 | .0136 | .0155 | 29 |
| 30 | .010025 | .012 | .014 | .014 | .0124 | .01375 | 30 |
| 31 | .008928 | .01 | .0135 | .013 | .0116 | .01225 | 31 |
| 32 | .00795 | .009 | .013 | .012 | .0108 | .01125 | 32 |
| 33 | .00708 | .008 | .011 | .011 | .01 | .01025 | 33 |
| 34 | .006304 | .007 | .01 | .01 | .0092 | .0095 | 34 |
| 35 | .005614 | .005 | .0095 | .009 | .0084 | .009 | 35 |
| 36 | .005 | .004 | .009 | .008 | .0076 | .0075 | 36 |
| 37 | .004453 | —— | .0085 | .00725 | .0068 | .0065 | 37 |
| 38 | .003965 | —— | .008 | .0065 | .006 | .00575 | 38 |
| 39 | .003531 | —— | .0075 | .00575 | .0052 | .005 | 39 |
| 40 | .003144 | —— | .007 | .005 | .0048 | .0045 | 40 |
311. Registering Gauge. The registering gauges shown in the illustrations are two of the best examples of this class of tools. They are manufactured by A. J. Logan, Waltham, Mass., and are very accurate and nicely finished. Fig. 136 is an upright and jaw gauge, and Fig. 137 is designed as a jaw and depth gauge. They are both made to gauge one-thousandth of a centimeter or one-thousandth of an inch. Fig. 137 shows the piece of work marked A being gauged, while B represents a sliding spindle to get the depth of a hole or[274] recess, or the thickness of any piece of work, which will be indicated on the dial.
Another form of registering gauge is shown in Fig. 138. It is an English gauge and but little used in this country. The principle of its construction, however, is good, and any ingenious watchmaker can make it. The back of the dial is recessed and arranged as in Fig. 139. One limb is fixed; the other is pivoted, and has a few rack teeth meshing into a center pinion. The pinion carries the hand, which should make a revolution in[275] closing the calipers. The spiral spring attached to the pinion is to keep it and the hand banked in one direction for shake. The spring s is to keep the jaws open. The milled headed screw and the clamp c are to fix the jaws in case it is required to do so. A cover is snapped into the recess, and takes the back pivot of the pinion.
312. Staff Gauge. The tool shown in Fig. 140 is designed for measuring the height of the balance staff from the balance seat to the end of the top pivot. The illustration is enlarged to give more distinctness. E E′ is a piece of curved steel about ¹⁄₂₀ of an inch thick, and ¹⁄₂₅ of an inch wide. On the lower side from E′ to the end, the arm is filed down in width and thickness to correspond to an ordinary balance arm; C is a slot in the upper arm E, which allows A, B, D, A′ to be moved backward and forward. D D′ is a round brass post drilled and tapped. The part D′ has a thread cut on[276] it, and the part shown in the slot C fits with easy friction. B is a lock-nut, drilled and tapped to fit the thread on D′. It is for the purpose of clamping D D′ against the arm E. A A′ is a small steel screw with milled head, and is made to fit the tapped hole in D D′.
Mr. Beeton describes his method of using this tool as follows: Take your measurement of the distance the balance seat is to be from the end of the top pivot, as follows: remove the end-stone in balance-cock, and screw the cock on the top of the top plate (18-size full plate movement); then taking the plate in your left-hand, and tool (shown in Fig. 139) in your right, place H in position, so that the end of the screw A′ rests on the jewel in the balance cock, and notice the position of the arm E′ which corresponds to the balance arm, between the top plate and under side of the balance-cock. If the distance between the arm E′ and end of screw A′ is too great, the arm E′ will be too low and touch the plate; if not enough, it will be too high and touch the regulator pins. Therefore, all that is necessary to do is to move the screw A A′ up or down as the case may be, sufficiently to ensure that the arm E′ will assume the position the arm of the balance is to have. Take an 18-size balance with oversprung hairspring, the arm is at the bottom of the rim; in that case, when measuring, the screw A′ is adjusted so as to bring[277] the arm E′ close to the plate, when A′ is resting on the balance jewel; if the balance is old style with undersprung hairspring, the balance arm is at top of rim, in which case A′ is adjusted so that the arm E′ is close to the balance cock; if the balance arm is in the center of the rim, as in some English and Swiss balances, the screw A′ is adjusted so that the arm E′ is midway between the plate and cock.
The reason the part A, B, D, A′ are arranged to move laterally in slot C is, because all balance shoulders are not the same distance from the center, and where, in some cases, the screw A′ would be in a line with the center of the staff when the arm E′ was resting on the balance seat, in other cases it would reach past the center, of course, short of it; and, therefore, it is made adjustable to suit all cases.
313. Staff or Cylinder Height Gauge. The obvious advantage of this tool, which is shown at Fig. 141, is the automatic transfer of the measurement so that it may be readily applied to the work in hand. The tool, as the illustration shows, consists of a brass tube terminating in a cone-shaped piece. To the bottom of this cone is attached a disc through which a needle plays. Around the upper end of the tube is a collar upon which is fixed a curved steel index finger. A similar jaw, which is free to move, works in a slot in the tube. The movable jaw is tapped and is propelled by a screw that terminates in the needle point. This tool is very useful in making[278] the necessary measurements required in putting in a staff. To use it in this work, set the pivots of the gauge through the foot hole, and upon the end-stone project the needle such a distance as you wish the shoulder to be formed above the point of the pivot. Next set the gauge in the foot hole as before, and elevate the disc to a height that shall be right for the roller, which is done by having the lever in place, the little disc showing exactly where the roller should come. Finish the staff up to that point; then take the next measurement from the end-stone to where the shoulder should be, for the balance to rest upon. This point being marked, the staff can be reversed and measurements commenced from the upper end-stone, by which to finish the upper end of the staff. Distances between the shoulders for pinions and arbors can be obtained with the same facility, a little practice being the only requisite.
314. Vernier Caliper. Fig. 142 is an illustration of the Vernier Caliper, a light, convenient and valuable instrument for obtaining correct measurements. The side represented in the illustration is graduated upon the bar to inches and fiftieths of an inch, and by the aid of a Vernier is read to the thousandths of an inch (see description below). The opposite side is graduated to inches and sixty-fourths of an inch. The outside of the jaws are of suitable form for taking inside measurements, and when the jaws are closed, measure two hundred and fifty thousandths of an inch in diameter.
These instruments can be furnished with millimeters (in the place of sixty-fourths of an inch), and provided with a Vernier to read to one-fiftieth of a millimeter.
On the bar of the instrument is a line of inches numbered 1, 2, 3, each inch being divided into tenths, and[279] each tenth into five parts, making fifty divisions to one inch. Upon the sliding jaw is a line of divisions (called a Vernier, from the inventor’s name), of twenty parts, figured 0, 5, 10, 15, 20. These twenty divisions on the Vernier correspond to extreme length with nineteen parts, or nineteen-fiftieths on the bar, consequently each division on the Vernier is smaller than each division on the bar by one-thousandth of an inch. If the sliding jaw of the caliper is pushed up to the other, so that the line 0 on the Vernier corresponds with 0 on the bar, then the next two lines on the left will differ from each other one-thousandth of an inch, and so the difference will continue to increase one-thousandth of an inch for each division till they again correspond on the twentieth line on the Vernier. To read the distance the caliper may be open, commence by noticing how many inches, tenths and parts of tenths the zero point on the Vernier has been moved from the zero point on the bar. Then count upon the Vernier the number of divisions until one is found which coincides with one on the bar, which will be the number of thousandths to be added to the distance read off on the bar. The best way of expressing the value of the divisions on the bar is to call the tenths one hundred thousandths (.100) and the fifths of tenths, or fiftieths, twenty thousands (.020). Referring to the accompanying cut, it[280] will be seen that the jaws are open one-tenth of an inch, which is equal to one hundred thousandths (.100). Suppose now, the sliding jaw was moved to the left, so that the first line on the Vernier would coincide with the next line on the bar, this would then make twenty thousandths (.020) more to be added to one hundred thousandths (.100), making the jaws then open one hundred and twenty thousandths (.120) of an inch. If but half the last described movement was made, the tenth line on the Vernier would coincide with a line on the bar, and would then read, one hundred and ten thousandths (.110) of an inch.
315. Hair Spring Stud Index. Fig. 143 illustrates Johanson’s hair spring stud index. The engraving shows the full size of the tool, which consists of a steel plate mounted on feet, and pierced with a number of holes for the reception of screws, when taking down a watch. In the center of the index is a hole for the staff, and an oblong slot for the reception of the roller jewel. To get any American movement in beat, proceed as follows: In front of No. 100 is a small spring; push same towards No. 10; then place the balance on top of the stand, with staff in center and roller jewel in the oblong hole; let the spring back gently; the balance will then take its own position. Set degree hand in front of the desired degree, as per direction on index table; place hair spring stud in front of degree hand, and push on the collet.
[281]
INDEX TABLE FOR HAIR SPRING STUDS.
| Size. | Degree. | ||
| Columbus | 18 | Open Face Breguet | 23 |
| Columbus | 6 | Open Face Breguet | |
| Elgin | 18 | Open Face Breguet | 66 |
| Elgin | 16 | Open Face Breguet | 52 |
| Elgin | 16 | Flat Hair Spring | 52 |
| Elgin | 10 | Flat Hair Spring | 50 |
| Elgin | 6 and 8 | Flat Hair Spring | 50 |
| Elgin | 0 | Flat Hair Spring | |
| Illinois | 18 | Open Face Breguet | 33 |
| Illinois | 18 | Hunting | 84 |
| Illinois | 18 | Open Face Flat | 89 |
| Illinois | 16 | ||
| Illinois | 6 | Hunting | 52 |
| Illinois | 4 | ||
| Hampden | 18 | Dueber Hunting | 80 |
| Hampden | 18 | Open Face | 75 |
| Hampden | 16 | ||
| Hampden | 6 | Hunting | 50 |
| Howard | 18 | Old Model | 5 |
| Howard | 18 | New Model | 23 |
| Howard | 16 | ||
| Howard | 6 | ||
| Rockford | 18 | 27 | |
| Rockford | 6 | ||
| Waltham | 18 | Key Flat Hair Spr’g | 48 |
| Waltham | 18 | O. F. Hair Spring | 61 |
| Waltham | 18 | Breguet | 50 |
| Waltham | 14-16 | 42 | |
| Waltham | 4-6 | 50 | |
| Waltham | 1 | 42 | |
| Seth Thomas | 18 | Open Face | 50 |
| Seth Thomas | 18 | Hunting | 52 |
316. Oil-cup Drills or Chamfering Tools. The reservoirs that contain a supply of oil at the ends of pivot holes are made in the lathe with a semi-cylindrical drill, or by hand with a chamfering tool of the form shown at B or C, Fig. 144. A drill gives a clean cut, but necessitates a subsequent polishing of the hole; as to the chamfering tool here referred to, some inconvenience will be experienced in its use, owing to the point being apt to jump out of the hole and make irregular scratches on the brass, which are difficult to remove.
The best shapes of drills for making, or at any rate for re-forming or finishing oil-cups, are shown at D and F, Fig. 144, and in Fig. 145.
D and F are two drill-blades that terminate in non-cutting circular arcs. The flat curved end is more and more[282] inclined from the top towards the corner, from i towards the side e; the angle at i becoming more acute, and at e more obtuse towards the corners. The drill will, of course, only cut when rotating in one direction; in the other direction the obtuse angles and the reverse sides of the cutting angles will act as burnishers. Thus if the angles on either side are well formed and the blade has been polished, the surface of the oil-cup will be clean cut and polished. F is similar to D, but made from a steel rod.
317. Observations on making the oil-cups. Reservoirs that are made with a drill, or with a chamfering tool by hand, will often be found to be eccentric, and, when a pivot-hole is bushed and re-drilled, it proves to be struck from a different center from the oil-cup. In such cases watchmakers often give themselves endless trouble without securing a cup of good form and well centered. This difficulty can be avoided by using the tool in a lathe driven by a wheel; then, holding the plate in one hand square against a drill rest in tail stock, advance the tail stock with the other hand so as to bring the plate in contact with the drill.
When it is only required to correct the form of an oil-cup, the drill may be replaced by a rod with file cuts on its rounded extremity (H, Fig. 144). The reader will find no difficulty in making such a cutter for himself, drawing a file with both hands over the rounded end, but always in the direction of the file-cuts. After covering the surface with lines in this manner, rotate the cutter through a right angle and form a number of cross cuts. Or roughen the surface with a chisel of the form shown at[283] H; after making a few cuts parallel to each other, turn the chisel through an angle and repeat the operation.
318. Chamfering Tool. As is well known, this is used for removing the roughness that a drill leaves at the edge of a hole, or to take off the cutting edge around a screw head sink, etc., thus forming a bevel edge. The tool commonly has a flat semicircular blade, the diameter of which depends on size of hole to be made; this semicircle is ground to a cutting edge like a drill, as shown at A, Fig. 144. Chamfering tools are also made pyramidal, with flat faces, as at B and C; the angle at the apex is more or less acute, according to the depth of chamfer required.
The oil-cup drills D and F are also used for chamfering the edge of a hole.
A cone formed at the extremity of a piece of pinion wire with a cutting edge on each leaf and hardened will be found very useful for this purpose.
319. The two forms of chamfering tool first described leave a series of undulations on the bevel edge, so that, instead of being conical, it presents a number of small facets. This inconvenience can be avoided by using the tool shown at Z, Fig. 145.
A small disc of hardened steel is pivoted within a recess formed at the end of a rod, the pin on which it rotates being at right angles to the direction of the rod. As is seen in the figure to right of Z, the section of this roller is a rectangle, and the surface is carefully polished, the edges being left sharp.
Clockmakers make use of a tool for forming oil-cups that only differs from the one above described in two particulars: (1) The disc is fixed on its axis; and (2) the[284] edge, instead of being square to the two faces, is inclined as shown at j and at the same time is slightly rounded crosswise.
A few trials will be found necessary before the most convenient thickness and inclination of edge are arrived at.
320. Hollow Chamfering Tools. These, as is well known, are used for removing the angles at the ends of cylindrical rods, of steady-pins, etc., or for rounding them off. Three forms are shown at O, Q, N, Fig. 146.
O is a round rod, the flat end of which has been filed across with the corner of a triangular file. Four cutting edges are thus produced which will act on the end of any object that rotates within them, or vice versa. If it be required to form a very acute angle, two slits must be cut with a screw-head file and the sides afterwards inclined to the required extent with a flat file. This tool will serve a double purpose: (1) to chamfer off the edge of a rod; and, (2) by prolonging this operation to form a point at the end.
As a rule, when it is desired to round off, say, a pillar of a clock after reducing its length or from any other cause, a hollow chamfering tool of very open angle is used, a rocking motion being imparted to it round the axis of the spindle; it is better to use a tool of the shape shown at N or Q. The latter, Q, is easily formed by strokes of a rat-tail file at right angles across its end; the other, N, is cut internally with a shaped chisel or with a small rotating cutter to which different inclinations are given during the cutting, as is also done when using the chisel.
[285]
321. The tool shown at O, Fig. 146, has been modified as follows by M. Roze. The two notches at right angles are replaced by three equidistant notches of equal depth. To make these in a piece of round steel it should be divided on the circumference into six equal parts; then cut the three notches as follows: Calling the points marked on the circumference 1, 2, 3, 4, 5, 6, one notch will lie parallel to the line joining 1, 3, and equidistant between this line and the point 5; a second will be parallel to 3, 5, and midway between that line and point 1, and the third will be parallel to 5, 1, and midway between this and the point 3.
In a hollow chamfering tool thus constructed it will be found that only the three long sides 1, 3, 5, actually cut, and at 2, 4 and 6 are short sides that are set back. But when a file is laid on the face joining two of the former sides, say 1, 3, the short faces 4, 6, will protect the cutting edge 5 from contact with the file.
322. Tool for Centering Rods. These appliances are well known to watchmakers, who often employ them for marking the position of the hole in the brass wire when making bushings. It is advisable to have such a tool somewhat large, about a third as large again as that shown at s r, Fig. 147.
The head of the centering punch or drill is filed flat on either side, and this flattened portion passes into a notch in the spring r, which maintains it in position and prevents rotation when the triangular-pointed blade is pressed against the end of this rod, this rod being caused to rotate in the hollow cone of s. Instead of a spring such as r, a helical spring is often used; but it[286] then becomes necessary to fix a pin in the drill that slides in a groove in s, so as to prevent the drill from rotating.
323. Centering with a Set-Square. The set square may be used for centering round rods, and the following is a very simple mode of applying it:
On one arm of the square R, Fig. 148, a triangular plate c d is screwed or riveted so that its edge c d exactly bisects the right angle, that is, divides it into two equal angles. The flat end of a round rod is held within the angle and against the plate, a line being traced on it along c d; it is then turned through about a right angle and a second line traced. The intersection of these two lines gives the axis of the rod.
324. Tool for Roughing Out Points. This is merely the inverted chamfering tool of which two forms are described in paragraphs 320-21, one of them being also shown at O, Fig. 146. It will be evident that when the end of a rod is caused to rotate in this hollow cone it will take its form.
In some cases it may be found convenient to place such a tool in the tail stock of the lathe.
If the bottom of the cone at the end of O were prolonged by continuing the cuts farther down with a thin flat file, the point of the rod might be formed like a conical-headed screw before it is tapped.
325. Balance-spring Collet Tool. This convenient little tool for rotating the balance-spring collet is commended almost as much by its simplicity and facility of construction as by its usefulness.
A steel rod n, Fig. 149, is fixed in a handle T; it terminates in a cone a and is drilled with a fine hole as[287] indicated by the dotted lines. A thin wing b, pointed at its extremity, is also attached to the handle.
Holding the balance between the fingers of the left hand and the tool in the right, the blade b is introduced into the slit in the collet while a rests on the balance staff shoulder, the pivot being within the hole n. Now rotate to the right or left until the stud is opposite to the mark on the balance rim, and this may be done without danger, providing the tool is held firmly and vertical.
326. Watch-hand Holder. A very convenient form of tool, in which to clamp a hand while enlarging the center hole is represented in Fig. 150. Two brass plates, f and g, are hinged at m like a sector. A collar, a b, surrounding the two is pivoted at a and has a clamping-screw b by which the two plates can be forced together. Several circular sinks of different sizes and equally divided between the two plates, are cut of a depth varying from one-half to two-thirds that of the plates, and they must be made to increase in diameter as they get deeper, thus resembling the internal groove that receives a barrel cover. The plate a is cut away along the portion c d and grooves are formed to leave passages open between this surface and the bottom of the sinks in g and f.
When it is required to enlarge the hole of a watch-hand, place it, inverted, in the hole of suitable size, as shown at c of the figure, and tighten the screw b. Held round the whole or greater part of its circumference, the hand is thus firm and its center hole can be enlarged without risk, either with a drill or broach; the hand will not show marks due to the pressure with which it has been held.
[288]
327. Common Hand fitting Pliers. The sliding tongs with large flat head, perforated with a number of holes in which the head of a hand is clamped when the opening requires to be enlarged, are often useful, but we feel them to be less so than the holder just described. It is desirable that the inner faces of their jaws, which are usually left rough, be at least smoothed.
328. Another form of Watch-hand Holder. M. Fiquemont has devised the simple little tool shown in Fig. 151. It consists of a short brass rod R, perforated lengthwise and having a thread cut externally on the surface a b. It should be reduced in thickness below this tapped portion. The rod, shown also in longitudinal section at P, is cut into four quarters by two slits from a to b, which are at right angles and leave the points as indicated apart at d. The elasticity of these four quarters should make them take the form of a reversed cone when holding a hand, so that the ascent of the screw c shall tighten them.
Within the head a of the tool is formed a circular recess, so that, if the reversed head of a watch-hand be placed within it and the screw made to ascend, it will be held very firmly by the circumference, as seen in the figure. The hand will thus be perfectly free to adjust in any way that is needed for fitting it while held at the end of the tool, and without being removed before the work is complete. Three or four sizes will suffice for all ordinary watch-hands.
A tool may be made in a similar manner, except that the screw is not divided by the longitudinal slits, and the[289] hand is held against the point by a lantern (similar to those of a screw-point tool), which must be cut away in the manner indicated in Fig. 150, explained above (326). An assortment of three or four lanterns will render the tool serviceable for all sizes of hands.
329. Clip for Holding Escapewheels while Cleaning. A mere inspection of M, Fig. 152, will make the arrangement of this little tool evident. The fork is made of a piece of brass rod and its two arms are elastic, a handle being screwed into the lower extremity.
Two small steel jaws are fixed to the upper ends inclined towards each other, and, in using the tool, it is only necessary to press with two fingers on the heads of the screws, when the jaws will open. Having placed the escape wheel pinion between them, the wheel will be firmly held so that its teeth can be easily cleaned, etc.
330. The appliance shown in Fig. 153 can be used for a similar purpose, and is further especially serviceable for holding an escape-wheel that is not riveted to its pinion. It consists of two parts, a handle T, shown separate at t, which is drilled throughout its length and tapped externally at the portion t, and a collar or nut D, the end of which is traversed by two cuts at right angles that resemble the letter T in section. If the tool is intended for holding escape-wheels that have three instead of four arms, this cross must be replaced by three radiating grooves of similar section. The position occupied by the wheel[290] is indicated by the dotted lines r r, and it will be evident that, when the flat end of T is screwed up against this wheel, after dropping it into the cross and slightly turning round the axis as in a bayonet joint, it may be firmly held. The safest mode of introducing the wheel is by holding it on a broach, which is subsequently removed.
331. Tool for Testing the Truth of a Cylinder Escapewheel. The small tool shown at D, Fig. 154, can be advantageously used in place of the plain arbor commonly employed for testing the equality of the spaces in such a wheel. The plate D, which may be mounted on three feet, is traversed at its center by the smooth conical portion f of the screw f v, tapped somewhat tightly into a cock fixed to the other side of the plate. There is a radial slot, a c, cut in the plate large enough to allow an escape-wheel pinion to move freely. An inspection of the figure will make evident the manner in which the tool is to be used: a wheel being placed as shown, or with reverse side upwards, is made to slide towards the center, gradually raising the screw until the largest space is found to admit f with contact at both sides. All the smaller spaces are then carefully opened until they admit the cone in the same manner as the largest.
332. Novel tool for the same purpose. When the spaces are adjusted in the manner explained above, or if the length of the teeth is measured in a narrow gauge plate, there will nearly always remain a certain degree of irregularity in the teeth. A more efficient means would be for the gauge to embrace both a tooth and space, and this condition is satisfied by the following appliance.
[291]
The slide k k, Fig. 155, is dovetailed into a plate, level with its surface, so that k k can be moved in a vertical direction by a screw; it is perforated with a series of holes of gradually decreasing diameter. To the same plate are also fixed: (1) a smooth tongue, b, with a foot and screw; and (2) a second tongue, j, terminating in an index x n, which is movable about a pivot, x, and held against a pin in the plate by a light straight or spiral spring. The extremity, n, traverses a graduated arc.
Having introduced the pinion of the wheel, or the arbor on which it is held, into a hole of the slide that it fits without shake, and brought this hole to the position indicated in the figure, apply a slight pressure to the wheel in the direction of its rotation. With one tooth resting against b the tongue j will be held by the spring against the next and the reading of the index is to be noted accurately. Withdraw the wheel slightly, and, placing the succeeding tooth against b, take a second reading, and so on around the entire circumference.
Of course, the delicacy of the instrument will be increased by lengthening x n in comparison with x j.
333. Tool for Removing Studs. Fig. 156 represents a small tool which may be employed for this purpose. It consists of a thick strip of metal, C, spreading out like the letter T at the end which is not shown, so as to form two feet, the screw, j, being a third, so arranged that the T rests horizontally. The disc, d (shown also in plan), rotates on the screw, j, and is partially enclosed in a horizontal slot. Around the circumference of d are four rectangular notches of different sizes. The holes[292] indicated by black dots on the plan receive the point of the screw, v, which clamps the disc when the notch corresponding in size with the stud to be removed has been brought under the small cone projecting from the spring, b; the other end of b is fixed to the T-shaped piece, C. The mode of using this little instrument will at once be evident. Resting the right arm on the bench, and, with the left-hand, bringing the wing of the cock above the notch in d, the other hand presses upon the milled button of b, forcing the conical pin against the stud and thus removing it from the cock. The screw, a, can be adjusted so as to prevent too great force being applied.
334. Tweezers for Removing Studs. One form is shown in Fig. 157. The upper arm, H, is bent downwards as indicated at g. The lower arm is shorter and carries a separate piece, n m, which slides under two screws, s, and is pressed forward by a spring, r. The action will be easily understood; the extremity, m, rests against the stud, and m n is forced backwards until the point, g, is exactly over the stud pin. A simple pressure of the finger will then suffice to remove the stud.
A still more simple pair of tweezers for this purpose may be made by filling a square notch in the end of one prong of an ordinary pair with broad noses, and setting a pin opposite to its center in the end of the other prong.
335. Staking Tool. The modern staking tool will perform the same work as the last two tools described[293] and many other operations. It consists of a shifting table, around which holes of various sizes are arranged in a circle, so that any desired hole may be brought under a suitable punch moving in a vertical holder. Usually twenty-four tempered steel punches and four stumps are provided, which will be found sufficient to cover all the operations in the ordinary run of watch repairs, and the ingenious workman can from time to time add to these by making punches in his spare moments, if he finds from experience that he is in need of punches of a different shape. Fig. 158 illustrates the Johanson combination staking tool, on the front end of which a hairspring stud indicator is arranged.
336. The staking tool can be used as a cannon pinion tightener by making a punch for it having a blunt chisel edge. When a cannon pinion is placed on a stump which[294] is slightly dished in that portion of its face opposite to the punch, and the punch gently struck with a hammer, it will be sufficiently contracted to insure the requisite adherence to the set-hands arbor. If fears are entertained lest the pinion should be cracked with the blow, it may be placed loosely on an arbor and held in position.
337. It may also be used to advantage for tightening the set-hands arbor in the center or cannon pinion, but care must be exercised or the arbor may be bent so that the minute hand which it carries passes nearer the dial at one place than another.
An arbor that is too loose is introduced into a suitable stump and at the top and bottom of the slack portion two punch marks are made opposite one another. The punch having a conical or three-sided point, will occasion an expansion of the metal round each mark; if a smooth file be passed over the surface so as to remove the burr, which would not offer any permanent resistance, sufficient projecting metal will be left to secure a sound and lasting friction when a little oil is applied.
If the arbor is well supported immediately beneath the punch, it will not be distorted by any moderate impact. It is advisable before operating on the metal to ascertain its degree of hardness.
338. It may also be used as a pinion riveting tool. The pinion, with its wheel in position, is placed on the hardened steel stump, the end to be riveted being upwards. The riveting is then struck with the polished end of a hollow punch. If it be required to spread the riveting, a punch must first be used that is rounded from within outwards, to be followed with a perfectly flat punch. A little practice will at once enable a workman to select the best form of punch.
[295]
The stump should be very hard and polished, funnel-shaped downwards and carefully fitted to the bed, so as to be firm and central with the punch. If these precautions are not taken the pinion will spring and the riveting will be imperfect.
339. The staking tool may also be used for closing up barrel holes, screw-holes, etc. In repairing watches it is often found that the screws hold badly or not at all, and the holes at times cannot be satisfactorily bushed. In such cases it becomes necessary to close them, an operation which any intelligent workman can perform very well in the following manner: Make a stump rounded at the top and provided with a pump-center. This can be merely a pointed steel rod that passes through the stump from below with slight friction, and is forced upwards by a light spring fixed by a screw, so that, on undoing the screw, the rod can be removed. The one pump-center can be used for various stumps as the openings are funnel-shaped downwards. Center the hole to be closed by means of the pump-center, then bring down the hollow punch and strike it as in riveting a pinion. A small circular groove will be formed around the hole, which, if the punch is in good order, will be perfectly even. The form of the punch is very important; the watchmaker must decide for himself by trial as to the most convenient shape. The thickness of the ring of metal may be modified; it is rounded off in a semicircle by some, and curved inwards or outwards by others.
Instead of a pump-center below we have used punches that were themselves provided with a pump center and helical spring. Either form gives satisfactory results.
The holes of barrels can be closed with a punch that is only depressed at its center enough to avoid the point of[296] the pump-center. When the face is more or less rounded the hole will be closed by forming a cup as with a chamfering tool. The tool may then be enlarged if requisite with a round broach or an arbor covered with white wax. It will thus be hardened, and the cup-shaped recess will serve to retain the oil, while the somewhat thinner hole will probably be in a condition to resist friction as long as formerly.
When the hole is of moderate thickness, and it does not require much reduction in diameter, this method will be found satisfactory; barrels that have been thus treated have been found to stand ten years without appreciable wear. When the metal is thicker, however, the spreading inwards is very slight, and there is some danger, in using a round broach to do it, of straining the metal or detaching the central ring of the barrel or its cover.
It should be observed that the methods explained above are absolutely useless for closing pivot-holes, and should only be resorted to for barrels, on an emergency.
340. Drifting Tool. This appliance, shown in Fig. 159, is very useful for making holes of round, oval or square, or, indeed, any required form. It takes the place of a punching machine for light work.
The punch, or “drift,” is screwed into the stock C C′. [297]A pin, p, fixed in C C′ prevents its rotation while allowing an end motion along the slot m n. The end C′ is hollowed out to receive the point of a screw, B, and a pin, shown near C′, is received in a groove turned in B, thus enabling it to draw the stock in the direction C C′. The part H is gripped in the jaws of a vise, and a strong handle, E, is used to advance the screw B B′. With a tool about three times the size of the figure there is no difficulty in punching the eyes of mainsprings, square holes in stop fingers, etc., and it can be made by an apprentice. Of course its strength depends on the pitch of the screw and the radius of the handle E.
341. For heavier work it will be necessary to resort to the punching machine. There are several constructions in use, but the most usual is essentially the same as that of the tool just described. The screw works vertically in a strong bridge that is fixed to the bed in which the counterpart of the punch is held. Great use is made of this machine in factories at the present day, almost every part of a watch being in the first instance roughly shaped by its means. Indeed, thin metal is often left as it comes from the punch, and very perfect crossings of wheels, etc., are thus produced.
Steel does not cut well in the press unless it is soft and homogeneous, and the final dimensions of the object can be more nearly approached according as these conditions are satisfied. Attempts have been made to cut levers, etc., of the exact dimensions required, but it is better to leave a slight excess of metal to be afterwards removed by a mill cutter or other means. The crossings of steel lever and cylinder escape-wheels are punched out, but the metal used is of special excellence. Before introducing a piece of steel into the press it is advisable to remove any scale, etc., by pickling, or with a file.
[298]
342. Draw-Plate. Every watchmaker should possess a plate for drawing round wire so as to be able to obtain it of any required diameter. They are to be had at all material houses. In bushing holes in a brass plate, it not unfrequently happens that the brass used for the bushing is not of the same color as the plate. To avoid such a difference cut off a piece from a plate of the same color and round it by hand, making one end to taper. Fixing the draw-plate in the vise, pass this end through one of its holes, and, gripping it in the hand-vise, pull the brass through the plate. Continue this operation through successive holes until the requisite thickness is attained.
No special precautions are necessary, further than keeping the holes well greased and annealing the brass from time to time so as to counteract the hardening caused by the operation.
Such a plate can also be used for steel wire, and plates with holes of special form, for example those for drawing click and pinion wire, are well known in the trade.
343. The Grammaire, or Dividing Plate. This tool is shown in Fig. 160. To mark out the crossings of a wheel, etc., fix it by the conical-headed screw t to the middle of the plate, on which are traced a series of concentric circles (not shown) divided into 6, 8, 10 and 12 equal parts. By laying the little ruler r r over the wheel blank and using these division marks as a guide, 3, 4, 5 or 6 radii can be drawn to serve as guides for cutting out the arms.
If it is desired to indicate the width of the arms instead of a mere central line, a series of holes must be drilled at[299] the division marks and screws with tapered points tapped into them from below. Resting the ruler against these cones, the arms can be drawn of any required width, according to the distance to which the screws project. No further explanation is necessary, for the figure shows: (1) a grammaire adapted to mark out a four-armed wheel, these arms being indicated by the dotted lines; and (2) the small ruler r r cut away at the middle so as to avoid coming into contact with the conical-headed screw.
344. Jewel-resetting Tools. Hopkins’ patent jeweling and staking tool, shown in Fig. 161, is an ingenious device, and one that will be found very useful to the watch repairer. As the spindle, or handle, to which the cutters and burnishers P P P are attached, is sustained in upright position when in use, by the long bearings through which it passes in the upright F, independently of the lower center, the hole to be cut may be centered either from above or below as preferred; and the depth to which it is desired the cutter shall work is regulated by adjustment of the sliding collar E, and this being a correct uprighting, as well as jeweling tool, with it a pivot hole, or a jewel setting, the correct center (upright) of which has been lost, may readily be corrected, or its true center again found, and, what in some cases would be a very desirable consideration, by careful manipulation with the cutter, which is under perfect control of the operator, the position of jewel settings may be changed so as to alter the depth of locking of the wheels to any desired extent. To regulate the depth to which it is desired a cutter shall work below the surface of a plate, lower the spindle D until, when moved out sufficiently far, the end of the cutter will rest down on the top of the plate to be operated upon, and fasten it there by lightly[300] tightening the screw K; this done adjust and fasten the collar E on the spindle D, to the same height above the top of the upright F as it is desired the cutter shall work below the surface of the plate on which it now rests. This, when the spindle D has been again set free by loosening the screw K, will of course allow the cutter to sink into the hole to be operated upon to the exact distance the collar E had been set above top of F. In adjusting the collar, E, the graduated wedge No. 4, or the jewel to be set, as preferred, may be used as a[301] gauge. The burnishers, No. 9, are used both for opening and closing settings; the same burnisher, having chosen one of proper size, is used for both purposes; the side being used for opening the setting, and the beveled and rounded end for burnishing it down again over the jewel. The pieces 13 and 14 are made to fit in the lower end of the spindle D (the cutter P having been removed), same as an ordinary drill-stock, and are used for burnishing the edges of a jewel setting down flat over the jewel, countersinking screw heads, giving end-shake to wheels, etc.; and being easily made, any one owning the tool can make these for himself, of forms and sizes to suit the particular work in hand. For uprighting purposes, withdraw the spindle D and substitute No. 5, the rings, No. 3, being intended for laying the work on, on the tool bed. For upright drilling through watch plates, mark the place to be drilled (prick punch it slightly) with the cone point of No. 5; which done turn the spindle No. 5 upside down and rest the upper end of the drill in the countersink in its end, the drill being operated with a fiddle bow acting on a collet placed on its shank for the purpose. For cutting off bushings level with a watch plate, either a cutter of the No. 13 or 14 class, or one of the P cutters can be used. For staking or riveting wheels upright on their pinions, lay the stake No. 7 level on the tool bed (the center M having been fastened down out of the way), and with No. 5 center accurately the hole to be used in the stake, and fasten it there by means of the clamps N; then remove the cone end of No. 5, and place a punch with a hole in its end of the required size, on the part m, and proceed as in an ordinary upright staking tool.
345. Tool for Flat Polishing. A thick brass plate is provided with three strong screws arranged in[302] triangular form (G, Fig. 162), and far enough apart to ensure that, if the plate is reversed and rests on their heads, it will remain flat when moved by hand over a polishing surface.
The screws should fit tightly or be provided with lock-nuts.
We believe that every watchmaker must be acquainted with this little tool. The object to be smoothed or polished is fixed with shellac or sealing-wax to the middle of the triangle formed by the screws; the level is then adjusted so that, when resting on a flat surface, the object to be polished coincides exactly with it. The polisher (for example, a sheet of ground glass) is charged with oilstone dust or polishing rouge, and the object is passed over it until perfectly flat and smooth.
346. For smoothing, it is best to use a large sheet of iron or steel. For polishing, copper or bronze is preferred. Ground glass may be employed for both operations; it must be hard and perfectly flat.
A disc rotating in the lathe or mandril, etc., is often used.
The tool may be inverted and rest firmly on a cork, the polisher being then moved backwards and forwards by hand, and always in contact with the three screws.
It is best to use pith for cleaning the polished surface; in its absence use soap, then wash and dry with a soft linen rag. The object is detached by heating the tool, and is cleaned by boiling in alcohol; afterwards pass through pure alcohol at the ordinary temperature and dry.
347. This tool can be employed for polishing small surfaces, such as the end of a rod, of a barrel-arbor or a[303] screw-head, as well as for those of greater extent. But it appears needless to enter into further detail.
Instead of three screws some workmen only use two, at some distance apart. The object to be polished, being placed at the third corner of the triangle, takes the place of the remaining screw.
Lastly, if a band be fitted to one side of the brass plate, as shown at b, Fig. 162, and held by two screws, it will often be of service as a clamp for fixing the object, as at s.
348. Flat pieces can be polished on a revolving lap worked by the foot, being simply held in the hand or in a piece of soft leather; but a certain amount of practice is needed in order to do this successfully.
349. With a view to simplify the work, we will here give, in a collected form, a number of operations that may be performed in the mandril, or universal head, among which the practical watchmaker will easily be able to distinguish those that can be done in the ordinary lathe; we will also describe numerous accessories that the workman should make for himself, if he is desirous of making his mandril or universal head still more generally useful.
350. Prepare a number of chucks of the form shown in Fig. 163. Some of these carry a small bar with screws, by which an object may be clamped firmly to the chuck, an arrangement which is also shown at A, Fig. 163; others have a hole drilled through their axis; others again have a projecting arbor, etc. They[304] may also be made with a flat face on which to cement objects in the ordinary manner.
As it is often necessary to have a considerable surface to cement, for example, a watch-plate, one or more may be made of the form shown at T, Fig. 164. The lower plate being clamped in the dogs, the disc e will be free. If this disc be made of bronze or steel it may be used as a lap; if of brass, it may be turned true and used as a wax chuck, etc.
The chucks should, as far as possible, be well made, so that they can be truly centered by means of the pump-center.
351. When there is a hole at the center on the side towards the face-plate, in the universal head, as is usually the case, it is only necessary to place this hole over the point of the pump, pressing it inwards, and then to clamp the object in the dogs; the pump is then drawn within the body of the arbor. Very often, however, there is no central hole, or there is only a mark on the face that is towards the cutter; in such a case it becomes necessary to center from the front or by the circumference.
352. To Center from the Front. If the object is held by wax on a plate, it may be centered as in the ordinary lathe while the plate is hot, by resting a piece of pegwood on the T-rest with a point placed in the central hole, and observing whether its free end remains stationary.
After the plate has cooled, the accuracy of the centering should be tested by means of a long piece of pegwood which rests on the T-rest brought close up to the object. The pegwood is held parallel to the lathe-bed, and, if the centering is satisfactory, its outer end will not move.[305] The detection of any slight movement is greatly facilitated by placing some fixed object close to the free end of the pegwood. If a motion is still observed the centering is imperfect, and must be corrected in the manner explained below (354).
353. Perrelet’s method of Centering. In principle, this is identical with the one just described; but the pegwood index is replaced by the small apparatus shown in Fig. 165.
A hollow cylinder, of which a c c a′ is a section, is firmly held by friction by its portion a b b′ a′ in the tailstock. In the front of this cylinder is fixed a steel ring that is thick at the circumference and tapers inward, so that the central hole has a cutting edge. The two black triangles represent a section of this ring. The rod r n passes without play through this hole, and carries a projecting ring at s to determine the distance to which it enters the collar c c; there is also a small key that corresponds with a nick in c c, and thus prevents rotation.
An inspection of the figure will show that, when s rests against c c, if the finger be placed on r and communicate motion to it, the rod n r will be able to oscillate in any direction, and to an extent limited by the diameter of the hole in the cylinder.
The error in the centering at r will be multiplied at n in the proportion of n s to s r; thus if n s is ten times s r, the motion at n will be ten times as great as the actual error at r.
354. The instrument is used as follows: The object to be centered being placed between the jaws, having the[306] centering spindle in position in tailstock. Slide tailstock towards the face-plate until the point r of the rod enters the hole, or central mark of the object, and, setting the T-rest close to the point n, rotate the face-plate. If the centering is exact, the point n will remain stationary. If n moves to and fro, give a gentle blow against the edge of the object, which should not be held firmly in the dogs; the blow must be on the side opposite to that at which n shows the greatest deviation from the point of reference. Repeat the process until the centering is perfect or sufficiently accurate; then clamp the dogs firmly, taking care not to disturb anything.
In centering from a jewel hole, an aluminium rod n s may be employed on account of its lightness, and it may be terminated in an ivory cone at r.
355. There is one precaution to be observed, as it facilitates the use of this appliance; it is advisable that the portion a b b′ a′ of the cylinder be somewhat long and well made, in order that, while being in the first instance inserted in tailstock up to the shoulder, the cylinder may be partially withdrawn and still held firmly. The reason for this is as follows: When the tailstock is pushed along, a considerable amount of friction resists its motion, and, as the hand cannot always control this motion, it may happen that r comes up against the object with some force. To avoid this, bring the point near the hole and then rotate the collar in the tailstock so as to gently withdraw it to the requisite amount. The cylinder may, if desired, be fixed by a small screw after the point r has been set in position.
356. Another Centering Device. The centering indicator shown in Fig. 166 will also be found useful for testing for exact center. The body of the indicator is[307] made of sheet brass, and should be about five inches long by two inches in width at the larger end. The shank C is made to fit in rest holder, and is either riveted or soldered to the body; R is steel or copper wire sharpened to a fine point, and balances on a pivot at 1; B is a clock hand pivoted to the body at 1; 2 and 2 are pivot joints only, and do not go through the body; C will perhaps give a better idea of the end R. To center with this tool, unscrew your rest and remove it, then place the shaft C in rest holder and adjust it till the needle point R touches the top of hole, as shown at A. The index hand will then note the variations as the head revolves. If too low, the hand will point above center, and if high, vice versa.
357. To Center from the Circumference. Two cases may occur: Either the entire rim of the object is exposed, as when the teeth are to be cut in a wheel blank; or the rim can only be used as a means of determining the center, as when a barrel has been bushed with an undrilled bushing.
358. The tool shown in Fig. 166 may also be used for the test if the short end of arm R rests against the under side of the object that it is desired to center.
359. When it is required to drill or merely to center the hole in a wheel, barrel, etc., that does not run true, clamp a piece of sheet brass in the dogs and turn out a sink that will exactly receive the wheel, etc., but allowing[308] it to project slightly. Now unscrew one dog and advance it a little, so as to grip the edge of the object as well as the plate; move the other dogs inwards in succession, and it will only remain to drill or true the hole with a suitable drill.
360. When the Lathe is Provided with a Tailstock. Let it be required to mark and drill a pivot-hole in the cock when the plate-hole is accurately centered by means of the pump-center. Place the tailstock in position on the lathe-bed, and mark the position of the hole with a center, as in an ordinary uprighting tool; then, if the hole is to be very fine, make it with an ordinary pivot-drill.
If the hole to be drilled is somewhat large, it may be drilled with the twist drill, the bed of the lathe being, as usual, horizontal.
361. When the Lathe is not Provided with a Tailstock. In such a case it is possible to upright and drill by using fine drills, and making points so formed as to take the place of the cutter. Or a stock may be made to receive drills, points, etc., and it may be well here to remark that stocks of the same form are convenient for receiving chamfering or sinking tools.
This stock is shown in Fig. 167. An inspection of E c will suffice to show its form, and it may be used for holding either a drill or a marking point, or a small hollow center in which to support a pivot drill.
[309]
The following method should be adopted for securing accuracy in the adjustment of these stocks:
There must be no shake of the stock in the tool-holder; it is especially important to avoid any displacement during the act of clamping. If there is any reason for doubt on this point, drill a hole at the foot of the cutter in which an index, y, can be temporarily inserted; any displacement can be detected by its deviation from a fixed mark. As a rule, however, there will be no occasion for doubt if the plate that is screwed down upon the stock is parallel to the bed of the tool-holder.
The cutter is then replaced by a stock of the form shown at E′, in which a hole has been previously drilled to receive the drill or other bit, but somewhat smaller than it is required finally to be. The pump-center must now be replaced by an accurately fitting piece B that terminates in a short semi-cylindrical drill.
It will be evident that if the mandrel be revolved, and, at the same time, the tool-holder advanced towards this drill, the hole in the stock E′ will be enlarged and smoothed, and its axis will accurately coincide with that of B. Any drill, chamfering tool, etc., that has been turned true, will, therefore, on being inserted in the stock, prove to be strictly in the axis of the lathe.
362. To Drill a Series of Holes. Mount on a stock similar to that just described, a small frame carrying a drill-stock, as shown in Fig. 168. If this be fixed in the slide-rest in place of the cutter, it can be used for drilling a hole or a series of holes previously marked out, or, if the pitch of the transverse screw of the slide-rest is known, for a series of equidistant holes in a horizontal line. When it is required to drill a series of holes in a circle, as, for example, in the escape-wheel of the[310] pin-escapement, bring the point of the drill onto the circumference and then proceed as when using the ordinary wheel-cutting engine provided with a vertical drill-holder, taking care to fix the face-plate by means of an index.
This index should have a means of slightly modifying its length, so that the point of the drill may always be brought into exact coincidence with the points that have been previously marked on the object.
It will be observed that, if the drill were replaced by a round milling tool, the U’s of a cylinder escape-wheel might be polished, or, indeed, cut, the concave ends of the teeth of the star-wheel in a Geneva stopwork could be corrected, etc. But it is unnecessary further to insist upon the many uses to which this form of tool can be applied.
363. To Cut the Teeth of a Ratchet, Minute-Wheel, Etc. When the face-plate is divided on the circumference, it is easy to cut the teeth of an ordinary wheel of a timepiece, escape-wheel, barrel ratchet, to cut or true a star-wheel for the stopwork, etc. After mounting the wheel on a chuck and carefully centering it, replace the cutter by a small revolving cutter-frame after the model of that shown in Fig. 168.
The stock d, shown in both plan and elevation, carries a piece c at right angles, which has a slot cut throughout its length. In this slot a U-shaped support can be clamped by a nut in any position. The U portion forms a bearing for a cutter, such as is shown at f in the figure, and the axis projects so as to receive a ferrule for rotating the cutter.
[311]
It will be evident that, with such an arrangement, the height of the cutter can be adjusted in accordance with the teeth to be cut.
364. To Cut a Circular or Elliptic Groove. For this purpose no special accessory is needed; an ordinary cutter will suffice.
Let a b c d, Fig. 169, be the form of the required groove. Mark a series of centers so that circles struck from them will just overlap one another, and at the same time nearly reach the edge of the groove. Then turn out all the circular sinks, indicated by shaded lines, to the required depth.
Center the plate by the point o from which the arc a b is struck; now bring the cutter to such a position that its outer cutting edge coincides with the arc a b, and bring it against the plate; set the face-plate in motion, not, however, by using the treadle, but by the hand at its circumference, and traverse the arc from b to a; then withdraw the cutter. By this means the projecting angles, left white in the figure, will be removed, and a clean edge will be left to the groove.
As an operation of this description will not present any difficulty, further explanation appears unnecessary; for the information above given will enable any watchmaker to make curved grooves of the kind indicated.
If it is required to smooth the surface of the groove, replace the cutter by a pegwood stick that can be rotated with friction, and the end of which just fits into the groove, charging it with pumice or other stone and oil. One hand moves the face-plate backwards and forwards, while the other rotates the stick.
[312]
365. To Cut the Cylinder Escape-Wheel Cock Passage. As a rule the cock is cemented, inverted, to a wax chuck, and the passage cut or enlarged on the lathe. It is more expeditious to use a plate provided with a clamping bridge, as shown at Fig. 170. The face-plate should be made to oscillate backwards and forwards by hand, and not rotated by the wheel.
366. To Make a Straight Groove. First method. The tool devised by M. Chopard, director of the school of horology at Besançon, and shown in Fig. 171, is used for this purpose. As will be seen, it consists of a small lathe which is adapted to the slide-rest as follows:
Two pins, a a′, are planted in the top of the tool-holder, the cutter together with the plate by which it is clamped having been first removed. Holes drilled in the frame f f fit accurately onto these pins, while a screw, h, passing through an intermediate hole, affords a means of firmly fixing the apparatus to the tool-holder M.
This tool should satisfy the following conditions: The arbor C should fit into a recess that receives a cutter, but without coming into contact with it; this arbor should be parallel to the bed of the lathe; and, lastly, the axis of C should be on a line with the lathe center.
367. Having set this little appliance in position, trace on the watch-plate two lines indicating the directions of[313] the sides of the groove as well as lines fixing its length. Now place the plate in the dogs, setting the point of the pump-center anywhere on the line drawn along the middle of the groove. Turn the plate so that this line is horizontal, and fix it in any way that is convenient.
The arbor C carries a revolving cutter k, which can be changed as desired, and is held in position by the clamping screw d. Assume that the diameter of this cutter corresponds exactly with that of the required groove; advance it towards the plate, turning the wheel rapidly, the cord being round the ferrule b; a circular sink will thus be formed in the plate of the same diameter as k.
When this has been cut to a sufficient depth, the tool is moved parallel to the face-plate, and the cutter k, continuing its movement of rotation, will now cut, not with its extremity i, but with its sides. It will thus form a straight groove of any desired length.
368. The cutter is a three-sided prism, or it may have four sides with four cutting edges on the sides, and only one cutting edge at the extremity i. If it is preferred to retain only the two acting edges that start from either end of the cutting edge i, they may be made more acute, and the other pair reduced by means of a file.
369. Second method. This is simpler than the one just considered. At the end of a rod G, Fig. 172, which takes the place of the cutter in the slide-rest, a plate p is fixed. A line is drawn across the face of this plate in such a position that, when G is clamped in the tool-holder, this line is horizontal, and in the plane that contains the axis of the pump-center.
[314]
Let it be required to cut a straight groove in the piece of brass l. Wax it to the plate p so that the axis of the required groove is over the line traced on the plate. Now fix G in the tool-holder and replace the pump-center by a rod D, the extremity of which is formed into a cutter of a diameter equal to the width of the required groove; the rod D should be fixed in the hollow arbor by a screw. It is then only necessary to set the cutter in motion, forcing the piece l against the revolving cutter, until the requisite depth is attained. Then, by making the tool-holder travel parallel to the face-plate, the groove will be elongated until of the desired length.
370. The cutter may be of the form shown in Fig. 171, or it may be as shown at b in Fig. 172, since the movement is always in the same direction. The cutting edges are each formed by two small inclined faces, one pair of which is shown at b; they occupy half the diameter of the cutter. At the back of this pair the cutter presents the appearance of the lower half shown in the figure and vice versa.
It will be evident that the two sides of this cutter will act while its motion is continuous in one direction.
Besides the numerous operations that can be performed on the lathe as we have hitherto indicated, it may be employed, if divided on the head stock, for tracing out angles, marking the crossings of a wheel, a balance, etc., and for other purposes, many of which are referred to in the course of this work.
[315]
371. The lathes employed in the manufacture of screws are of two kinds; those intended for polishing and, where necessary, modifying the form of screw-heads, much used by watch examiners and repairers, and those specially designed for cutting the threads, which are mainly in use in factories.
Before discussing them, however, we will give some account of the screw-plates and taps in ordinary use.
372. Common Hand Screw-plates. The use of these is much facilitated by providing a second plate perforated with holes of such sizes that a spindle which just passes into a hole of any given number will be of the size most convenient for forming a screw in the hole of the same number in the screw-plate. For a long time we have made use of two Latard screw-plates so made that a rod which would enter one hole without play was of the most convenient size for forming a screw in the next smaller hole but one (thus the plate perforated with plain holes can be replaced by a second screw-plate, or by using the successively larger holes on a single plate as gauges).
In order to form a screw that is clean-cut and even, with the least possible straining of the metal, the holes in the screw-plate should have notches cut as shown at F, Fig. 173; they should be carefully hardened and well polished on each side of the notch, and this system is now even applied in the case of the smallest jewel screws.
373. Screw Dies. The ordinary plate, in which notches are not cut at the sides, squeezes up and strains the metal. This effect is less marked when separate dies[316] are used, and disappears entirely if only a small quantity of metal is removed at a time, and the cutting edges of the dies are smooth and in good order. In addition to possessing other advantages, this form of screw-plate enables us to obtain at will screws of the same thread and different diameters or of the same diameter and different threads. The dies must be carefully fitted to the slides that receive them. Dies cannot be employed for cutting very small screws.
374. Fine-threaded Screw-plates. At the present day these can always be obtained at the material stores; but thirty years ago it was not so, and the watchmaker was obliged to make them for himself. The following method was adopted:
Take a screw formed with an ordinary plate, in which the thread is broad as compared with the hollow. If the screw does not satisfy this condition it must be modified thus:
Having ascertained that it runs true, and that it is larger than will be ultimately required, insert it in a chuck in your lathe. The T-rest must carry a smooth horizontal rod of hardened steel.
Rotating the screw, hold a slitting file in the hollow; the file should fit into this hollow accurately, and should be smoothed on its two sides, only cutting with one edge. The bar of hardened steel will determine the depth to which the file is allowed to cut. By this means a screw is obtained that has a thread thick at the bottom. With the graver remove the top of this thread, round off its corners, and harden the screw, filing three facets along its entire length, that make it taper.
The tap, having been thus prepared, is employed for cutting a thread in a piece of steel, not too thick, that has[317] been previously annealed, and in which a hole is drilled of the proper size. The thread of this internal screw will be thin and the hollow proportionately broad.
The plate is now hammered cold with care until the thickness is so far diminished that the thread and hollow are as nearly as possible of equal thickness. Harden it and chamfer the ends of the hole with a conical steel point and oilstone dust. Then clean it and cut a thread on a piece of soft steel which may be formed into a tap.
If the operation has been properly conducted, this tap will satisfy the prescribed conditions, and, when hardened, it is to be employed to cut a thread in a second steel plate, which will be employed as a screw-plate; for that first formed must, in consequence of the hammering to which it was subjected, present irregularities in the hole, and can only be used to cut one or two taps cautiously. It is useless for making screws or tapping brass. (See also 378.)
375. To Clear a Stopped Hole in a Screw-Plate. Drill a hole through the center of the piece of metal that fills up the hole, taking care to maintain it central, and to employ a drill that is sufficiently small to avoid all risk of contact with the screw threads. Pass a broach through this hole and, after tightening it with a few gentle blows with the hammer, turn it in such a direction that it tends to unscrew the broken screw, which will in nearly every case, be removed without difficulty by this means.
376. Screw-cutting comprises two distinct operations—the formation of a spiral thread on the circumference of a cylindrical spindle, and of a spiral groove within a cylindrical hole to receive this thread.
[318]
Taps are made either by means of a screw-plate or in the lathe; we shall presently refer to this second method. Every watchmaker may be supposed to have received, early in his career, instruction as to the cutting of a tap with a screw-plate. Great caution is necessary in the hardening, for if the tap is not true or the metal burnt it will cut badly and be apt to break. Taps are cleaned after hardening with a piece of wood in the lathe or between two hard pieces of pith covered with oilstone dust, and either three or four cutting facets may be made. It is important to avoid the production of a burr in making these facets; a good plan is to make them while the metal is still soft, and to pass the tap through the plate subsequently, as a sharp cutting edge is thereby produced. The facets should be carefully smoothed, and the use of coarse rouge is an advantage.
A tap with three facets gives the cleanest cut and leaves the most space to receive the metal that is removed, but with four facets the roundness of the hole is more certain to be maintained.
We have seen taps formed as represented at M, Fig. 174, so that the object in which a thread is being cut is loose at the part o, when the direction of movement of the tap is reversed. They are also at times made semi-cylindrical, as at G, and work well in the lathe for tapping brass, but we have not tried this form with steel.
377. To Cut a Tap when of Considerable Length. The following precautions must be observed in order to ensure that a long screw shall be both round and true.
[319]
The steel must be of very goad quality, and loose dies should be used in preference to a screw-plate. It is a good practice to employ two pairs of dies (or even more); one to rough out the screw, leaving the thread somewhat larger than it will finally be, and the other to finish after having trued it, and even sometimes lightly turned the surface in places. Very little metal must be removed at a time, the dies should have sharp cutting edges, and a rather large number of threads.
A screw can be made in the ordinary manner in a screw-plate rather larger than is required, then reduced to the requisite diameter, and finished with a plate in which the holes are of the form shown at F, Fig. 173, or in a screw-cutting lathe; in either case, however, care must be taken to avoid straining the metal in its passage through the first plate, on account of the tendency which it then possesses to become distorted in the hardening.
If a micrometer screw is required, that is, a screw of absolutely uniform pitch, it is necessary to apply to makers of astronomical and other similar instruments of precision.
378. To Cut a Screw of any Desired Pitch and Diameter. Let it be required to cut a thread on the stem B, Fig. 175, of any pre-determined pitch that already exists in a screw-plate. Turn down the portion d to such a diameter that a screw can be cut on it in this hole, and fit two runners to the lathe of the form shown at G and H. The end of H is drilled and tapped so that d turns freely[320] in it, and a hole is drilled in G to receive the stem B freely, but without sensible play, and a fine notch is cut at a.
It will be obvious that if now the ferrule r is caused to rotate, while a fine saw or file is inserted in the notch a, a screw will be formed on B of the same pitch as that on d, although there may at the same time be a very considerable difference in their diameters. This method may be adopted in place of that explained in article 374 for obtaining a fine-threaded screw.
379. Left-handed Screw Taps. The manner in which these are made in the screw-cutting lathe will be subsequently explained; in its absence the watchmaker may adopt one of the following methods:
First method. If, when an internal screw has been cut with a right-handed tap, B, Fig. 176, it be required to tap a second hole in the reverse direction, the following plan may be resorted to:
File the original tap B on two opposite sides, so as to give it the flattened shape shown at A in the same figure. Insert the end into the hole to be tapped and turn the tap to the left with the application of considerable pressure, so as to force the tap to bite. When the tap has been passed in and withdrawn there will be found to be a left-handed thread cut in the hole. For, if the tap is turned towards the right, the thread f passes into the groove already formed by the thread a; but, if turned towards the left, f will originate a groove into which b will pass, traveling in an inverse direction to that previously given to it.
The finer the thread of the screw, the better is the chance of success, and with a wide thread it is often necessary to recommence two or three times. If a plate[321] or pair of dies be cut in this manner and hardened, they will serve to cut an even left-handed tap.
Second method. Attach a comb to one or two sides of a cylinder, as indicated at F, Fig. 177. This can be used to cut a thread in the piece of metal S, that is either right or left-handed according to the direction of rotation of F, sufficient pressure being at the same time applied to force it into the plate. The pitch of the thread will depend on the amount of pressure applied. This plan is only a modification of the one described above, and, as in that case, success can only be guaranteed when a means is adopted for securing a definite relative amount of motion in F around its axis and S vertically.
Third method. A tap of unhardened steel is filed into a triangular form, C, Fig. 178, and twisted so as to bring the angles b, f, towards a, d, etc.; we thus obtain a tap which will serve, throughout a certain portion of its length, to cut a left-handed thread, but the part that is not so adapted, at the extremities, will require to be removed before hardening.
380. To Make a Left-handed Tap by Means of a Right-handed Tap. A portion of the right-handed tap is filed off on three faces to the section shown at b, Fig. 179, and firmly set in the die d so as to be held in the frame for screw-cutting dies. A second die, f made of brass and having a semi-cylindrical recess opposite b is fitted to the frame. The diameter of this semi-cylinder should be the same as that of the rod on which a left-handed thread is to be cut. Now grip this rod as shown at a by means of the screw g, so that it is held between the die f and the block b, and rotate the frame or the rod[322] a towards the left; a spiral groove will thus be cut by the thread on b. It is sometimes an advantage to cut this thread lengthwise in the manner indicated at b′.
This method enables us to cut a given thread on a rod of any given diameter. From an examination of Figs. 179 and 180, it will be seen that a simple comb of the form of C or D, carefully made by hand and fixed in the place of b, can be employed to cut a right or left-handed thread on any given rod; it is advisable, however, that the teeth of the comb be inclined to the axis of the screw, like the thread of an ordinary tap, as otherwise the operation becomes more difficult and success less certain.
The method may be simplified by taking a brass plate, D, Fig. 181, of sufficient thickness, and firmly setting in it the right-handed tap, v, having only filed away two opposite faces before hardening. The rod to be tapped is then introduced with considerable pressure into the hole j, and, if rotated towards the left, it will receive a left-handed thread of the same pitch. The notch shown at b′, Fig. 179, will facilitate the operation, as a cutting action will take the place of compression.
381. M. Gontard has suggested a modification of this arrangement, which consists in forming the die f, Fig. 179, so that the original right-handed tap can be embedded in a hole previously tapped in it and filed away on the side towards b so as to expose a cutting edge; and[323] he points out that, by suitably inclining the frame with reference to the axis of the rod to be tapped, the appliance can be used to cut a double or even a triple-threaded screw, right or left-handed. He further draws attention to the fact that in a screw formed in this manner the sides of the thread are smooth and polished, a condition which cannot be secured when either a plate or dies are used.
382. To Increase the Diameter of a Tap. It sometimes happens that a screw will not penetrate to a sufficient depth, or fits too tightly into its hole, owing to the tap employed being of a less diameter, either in consequence of the hardening, polishing or wear, or through having been formed in a different screw-plate. In such a case the following expedient may be resorted to:
Make a fresh tap in soft steel and file away two opposite sides so as to give it the section shown at A or B, Fig. 182: after measuring the diameter at several points in its length, hammer gently on the flattened sides. With a little care and by using a micrometer at intervals for testing the alteration in diameter, it will be found that the required increase can be obtained without much difficulty. The tap is then hardened and polished, etc.; indeed, it is best to make a fresh tap.
383. It is needless to refer to the method of tapping by hand, as it is well known to all practical men.
384. Tapping in the Lathe. The plate of a watch is gripped in the dogs of a face-plate, the hole to be tapped being centered by means of the pump-center, which is then withdrawn, and a tap held to the hole; the[324] face-plate is then caused to rotate either by the hand resting on its circumference, a slight backward motion being given after each advance, or the motion may be continuous and be given by the wheel. In the latter case, however, the tap must have a good cutting edge and only be held in the hand with the degree of force required to make it cut, so that it may rotate without breaking in case the resistance opposed becomes too great. The tap may be steadied on the T-rest.
385. To Tap with a Mainspring Winder. The ordinary mainspring winder will, if the click work is removed, be found very convenient for tapping holes, and indeed, for forming the external thread on screws. Having removed the winding arbor, replace it by a tap carefully centered; then introduce its coned end into the hole in the plate, which must be pressed forward while the handle is turned, a short backward motion being given to it at frequent intervals. When the tap is engaged sufficiently in the hole it is merely necessary to maintain the plate at right angles without applying pressure.
386. To Tap with a Bow. Instead of the mainspring winder, one of the small drill-stocks to be driven by a bow, consisting of an arbor, with a coned hole at one end and ferrule at the other, supported in a frame that is clamped in the vise, may be used. They are to be obtained at any tool-shop.
The bow being on the ferrule and the tap properly centered in the arbor, the hole is held against the coned end and the bow worked with an alternate forward and backward movement; but if the tap has a good cutting edge and the bow is strong (of steel or cane), a hole may[325] be tapped with a single stroke of the bow. After a few trials the method will be found very easy and certain.
A regular and rather slow motion should be given to the bow, which should be long and strong. It is well to ascertain the number of revolutions of the ferrule that correspond to a stroke of the bow, so as to ensure that the tap is not introduced to a greater depth than is required. If it is desired that the screw work easily in the hole, the tap should be moved several times backwards and forwards.
387. The little turns here referred to, some of which are perforated throughout their entire length and others only at one end, are very cheap and will often be found useful; they can be adapted to receive drills, broaches, taps, etc.
388. To Tap in an Ordinary Lathe. In factories it is a common practice to tap the holes in plates, etc., and even to cut the threads of screws in a lathe specially arranged for the purpose. The tools adapted for such work are of two kinds: in some the tap enters to the required depth, when it is immediately arrested, disconnected, and then rotated in an opposite direction; in others, the tap advances to a definite point, and is immediately withdrawn. As a rule, however, the tap remains stationary and the object is caused to rotate.
389. Beillard Lathe for Tapping Screws. The axis F M, Fig. 183, is perforated throughout its length. At F, the screw-plate G is dovetailed into it. The inner end of the hole in this plate is slightly coned to facilitate the insertion of the brass wire D, and it must be exactly in the axis of F M. A guide B sliding on two rods c, c,[326] is traversed by the rod D which can be clamped in it by the screw a.
By pushing D against the screw-plate at the same time that the handle N is rotated, a thread will be traced on it and it will emerge at k. When B has advanced to the point m, the screw a is released, B is drawn back, and a again clamped.
When a long screw, such as X x has to be tapped, the screw-plate is fixed at m, and the guide B is fastened on to the portion X. Of course the hole in the screw-plate must always be abundantly provided with oil.
If the screw-plate F is replaced by a plate perforated with a round or square hole, a drill, broach or tap may be substituted for k, being clamped by the screw h, and the tool is at once available for drilling, broaching or tapping any given hole.
390. The methods ordinarily adopted by watchmakers are too well known to need description; we will therefore at once proceed to give a special plan recommended by M. Vissiere.
An eccentric poppet-head with boring-plate, Fig. 185, is fitted to the bed of the lathe, the eccentricity being such that the axis of the centers is at the point a on the circumference of the circle a y. The conical hole, having a center at a, is cut away towards the rim of the plate to the degree indicated in the figure, and its center is so placed that the vertical line f and the radius d are inclined at 120°. The position of the T-rest is shown at s, and by[327] bringing it into actual contact with the disc the steadiness of both is increased.
The fixed headstock of the lathe is provided with a runner of the form B, Fig. 184, terminating in a point m at one end and a hollow cone or funnel n at the other end.
Having filed the ends of a rod T, of any required diameter, square and fitted a ferrule, support it between the two cones, a of the boring-plate and n of the runner. Near the end a cut a hollow r sufficiently small to allow the stem to pass through the notch in the hole a, Fig. 185. After passing it through, the rod will be supported as shown at H, Fig. 184, so that the rim e i rests against the cone.
Further explanation is hardly necessary; after removing the portion c g with a graver, turn down to a point p. When making a screw, turn out a second hollow o o′; it then only remains to turn off the disc at the extremity, and the screw will be roughed out of the form c p g v.
If it is preferred to work with a point at the left-hand end of B, remove the rod after the point v has been turned, replace m B n by a common runner, reverse B, and recommence the operation.
It would be difficult to devise a method for roughing out a screw and making a point that would be more expeditious than the one here described.
[328]
391. These are of various kinds: some work by hand and others by a bow. The jaws are brought together sometimes by a sliding ring, and at others by a milled head placed between them and rigidly attached to a pin tapped with right and left-handed threads that engage in the jaws. But neither of these plans is good; the screws are not held firmly and they are rarely well centered; owing to the slight displacements of the jaws.
A better plan is to arrange, either in the lathe or in the jaws of the screw-head tool (when driven by a bow), a series of chucks of the form shown at T, Fig. 186. They are easily made and tapped, the hole i serving to remove the metal from the inner end of the hole that has to be tapped; such chucks occupy very little space, and, if numbered to correspond with the size of screw, any chuck required can be found without trouble. If the hole becomes too large owing to frequent use, a larger size of tap can be passed through the hole and its number changed.
392. A set of such chucks is almost indispensable at the present day to the watchmaker who wishes to repair watches well; for he rarely makes his own screws, as they are to be obtained well made and very cheap at the material dealers, whereby a great saving of time is effected. But their heads are seldom of the proper size to fit the original sinks, and by being provided with such a series of chucks the watchmaker can at once overcome this difficulty, as he can turn the heads down with a graver.
393. R, Fig. 187, is an arbor for a screw-head tool that is driven by a bow, and is adapted to receive such[329] chucks, or it can be used in an ordinary lathe, d being supported on a pointed center, and g in a boring-plate, Fig. 188, or in a cone-plate center.
394. In this form of screw-head tool the portion A is sometimes perfectly cylindrical, so that the piece V can slide on to it, being clamped by the screw b.
This tube V is cut away through about half its length with a notch, as indicated in the figure; bent pieces of hardened steel c and n are screwed to either side of the notch. Screws, h and f, provided with lock-nuts, determine the distance between these plates, and when V is in position on A the ends of c, n, will rest on the screw-head, leaving just sufficient space between them for inserting the file that cuts the slit.
Hard steel caps of the form shown at M may also be fitted to A, a notch being cut in them to receive the screw b. These will be found useful as guides for filing or polishing screw-heads, or the ends of arbors flat, reducing the heads of several screws to the same height, etc.
395. The tool for forming the U-spaces in a cylinder escape-wheel can be easily be converted into a screw-head tool with laps. A glance at Fig. 189 will at once make this evident. A number of chucks are adapted to the arbor A, and in the tube c c either a T-rest or a spindle carrying a lap is fixed.
It will also serve as a tool for drilling; a drill-chuck with drill, f, being adapted to A, and the object to[330] be perforated at b resting against a plate that projects at right angles from a slide d d, which may be advanced by a screw g.
396. The modern watchmaker has so little call to cut screws that it does not pay him to purchase a screw-cutting lathe; for a very small sum he can have screws of any thread or diameter cut by those who make a specialty of such work, always provided that he cannot find what is wanted in the material stores. The same thing also applies to fuzees.
397. The machine for dividing the circumference of a wheel, termed the wheel-cutting engine, and one form of which is shown in Fig. 190, is well known to nearly all workmen. The wheel is fixed to a chuck at B by wax or screws, or by the pressure of a hollow cone or “sugar loaf” of steel, to the apex of which pressure is applied by the arm D, or in other ways. The wheel may be centered either by a pump-center within the chuck or by an appliance such as is shown in Fig. 191, except that the arm b is curved and its index much longer. This little addition may be fixed to the frame of the engine in any convenient position.
[331]
The chuck B that carries the wheel is rigidly connected with a large brass plate A A, on which are concentric circles of divisions, and the whole can be maintained stationary by setting the point of the index C C in any desired hole on the division-plate. The cutter is carried on an arbor (shown separate at L) between horizontal bearings in the frame J, and is caused to revolve by means of the pulley K. The several parts lettered E, F, G, H, are for bringing the cutter against the wheel and modifying the direction in which it moves, so that the machine can cut straight or inclined teeth, bevel or crown wheels, etc. It should be added that the engine here represented is more complex than those ordinarily used for cutting[332] watch wheels, although the principle on which it acts is the same.
The teeth may be cut by circular cutters of the nature of files, by a small straight cutter, similar to those used in a slide-rest projecting from a rotating axis, or by several such cutters mounted on a disc which is caused to rotate. For the sake of distinction it will be well to refer to the first of these as file or mill cutters, while the second and third may be termed respectively single and multiple blade or composite cutters.
Watchmakers rarely possess a sufficiently large assortment of file-cutters for making all the various forms of teeth that are met with in horology; but this deficiency can be supplied by making them for themselves to any required pattern in the manner subsequently described.
398. Observations. The wheel-cutting engine in which the plate is caused to rotate by means of a tangent screw is usually the most accurate. If the pitch of the screw is fine it will give all the subdivisions of a circle that are required for ordinary work, but it is essential that a good form of counter be attached to the screw, and a certain amount of calculation is always needful.
The engine that has a division-plate with conical holes arranged concentrically over its surface is simpler and better adapted for rapid work. The larger this plate, the greater is its chance of being correct and, at the same time, it affords room for a larger number of divisions.
It is preferable that the cutter frame rise and fall in a vertical dovetail, for when the arbor is carried in an H[333] shaped arm pivoted on two screws, the teeth are always slightly dished. The entire apparatus should be somewhat heavily constructed and supported on a solid bed; so as to prevent the vibration of the cutter-arbor from being distributed over the entire machine.
The highest numbers on the plate should be used whenever it is possible, so as to diminish the error due to irregularities in the sub-division. For example, in cutting a wheel of 30 teeth, use the 90 or 120 circles, taking every third or fourth hole.
These remarks will probably be sufficient to enable any watchmaker who possesses a wheel-cutting engine to employ it with success; we will, however, add the description of a few appliances or processes that have a bearing on this question.
399. To Divide a Wheel so that it has one Tooth more or less than any given number on the Division-plate. It is to be observed that neither this nor the following method is mathematically exact, but if it is practiced with care and the division-plate is of sufficient diameter, the error may as a rule be neglected.
Let P, Fig. 192, be a division plate that has a 30 circle, but not one of 29 or 31 divisions. Divide the circumference of a disc d, seen on edge, into a large number of parts in the engine, 360 for example, and fix it to the end of the index, at the same time attaching a finger, i, to the support s. Now advance the screw of the index through a distance corresponding to the angle l P k included between the two successive points of the 30-division circle. To measure this distance a pointer should be previously fixed to the frame[334] to correspond with the middle point of a hole in the circle under consideration, and the motion should be arrested when it coincides with the next succeeding hole. Assume that this amount of displacement has required three complete turns of the screw; 1,080 divisions on the disc have thus passed under the finger i. Dividing this number by 31, we obtain 34.83.
After observing the division on d that coincides with the pointer i, cut the first space of the wheel; then cause 34.83 divisions to pass under i, in such a direction that the plate is drawn with the arrow, and transfer the index to the next hole of the circle, rotating this time opposite to the arrow; the second space can now be cut, and so on.
With a view to diminish errors arising from the omission of fractions, since 31 does not divide evenly into 360, a number of multiples of the number 34.83 should be determined. Thus 4 times 34.83 is 139.32, so that, when the fourth space is cut, the pointer i must be at this number of divisions from its initial position.
The index should be so situated that, when half the arc l k has been traversed, as explained above, s a is at right angles to the radius P r of the division-plate. If it is desired to move d in a reverse direction, it must be moved backwards to a considerable distance and then forward up to the required point so as to avoid error due to backlash. The screw of the index should fit the support s firmly and without any shake.
400. To Cut a Wheel with any Given Number of Teeth. When the given number does not occur on the division plate, proceed as follows: Take a strip of metal, for example a pliant piece of soft steel, and cut in it a series of equal and equidistant notches as shown[335] at B, Fig. 193. Cut the band to such a length that it has the same number of pairs of teeth and spaces as the wheel is required to have teeth. Now turn a lead disc of a diameter that the strip of metal will exactly enclose; fix this strip round the circumference with pins, screws, or in any convenient manner, as is shown at C. We thus obtain a temporary division plate which can replace the permanent one or be attached to its upper or under surface, and, when an index has been adapted to it, the wheel can be divided into the requisite number of parts.
When employing an engine the division plate of which is worked by a tangent screw, the above affords an easy means of making the divided head for the screw with any desired number of divisions.
401. With a view to insure accuracy, it is advisable to employ a disc of large diameter as the errors of division are thereby rendered less important and the metallic blade can be made to lie closer to the rim.
The blade is subdivided by a saw to which a guide is attached as indicated at H, Fig. 193, or the saw can with advantage be replaced by a file that only cuts on its edge and not on either face, or by a pair of mills or revolving cutters united together as shown at S. The following plan, however, appears to be more expeditious and to involve less trouble to ensure accuracy.
A hole a, Fig. 194 is drilled in a metallic band by means of a semi-cylindrical drill fixed in the chuck of a lathe or in a wheel-cutting engine, etc. It will be convenient if the drill can be set vertical. Beneath it is a brass[336] bed-plate in which are fixed two pins equal in diameter to the hole a; this hole having been placed over one pin b, the band is held firmly against the other, while the second hole is drilled. This is then transferred to the pin, and so on.
In the absence of a suitable tool, a well made measure can be employed for marking a series of points with the aid of an eyeglass; the holes are then drilled with the bow or in any other manner.
402. To Cut a Wheel, Ratchet or Pinion on an Ordinary Lathe. When only a moderate degree of accuracy is required, the ordinary lathe can be adapted for cutting the teeth of minute wheels, ratchets, pinions, etc., by making the following appliance:
The piece B, Fig. 195, provided with a stud at p, slides on two horizontal and parallel cylindrical rods fixed to the slide C, or it may move in a dovetail. The cannon d, carrying a ferrule k and a file-cutter f, rotates on the foot at p without shake; and the cord of a wheel or bow passes round k.
R, the wheel to be cut, is supported between the runners, the divided plate V, which may even be an old wheel with the required number of teeth, being fixed to the axis of R. V is held stationary during the operation of cutting, by the index l. The mode of action hardly requires explanation: while f is rotating, advance B until it is arrested[337] by the stop t; then draw B back, advance l to the next division on the plate, and so on.
403. We have said enough on this subject to enable any watchmaker to make such a tool, modifying it or completing it according to his requirements. We would only remark that: (1) If a cannon of the form d is used, the stud should be diminished in diameter at its middle part for about three-quarters of its length, so that friction occurs only at extremities; and (2) if a wheel is used to rotate k, there should be an idle pulley at m supported on a fixed arm independent of B, either attached to the lathe-bed or bench, or fixed in the vise, so that the ferrule k can move backwards or forwards without altering the tension of the cord, in the manner indicated at Y.
404. Wheel-cutting Arbor-chucks. These appliances are specially useful in making wheels that are required to be rigorously true, such, for example, as escape wheels. The form is represented in Fig. 196.
It is simply the arbor of an ordinary lathe, formed in two pieces, b a and b c, the body b d being very accurately fitted into the conical hole in the plate of the wheel-cutting engine. If now a wheel is fixed with wax on the extremity z and turned in the lathe to the required form, it is only necessary to unscrew b c and introduce b d into the socket of the wheel-cutting engine; then having cut the teeth, the piece b c is replaced, and the whole is set in the lathe, if required to test its truth, without the wheel having been displaced from the chuck.
It will, of course, be evident that the two parts must be accurately fitted together; the tapped hole and the[338] screw must be true with the axis. M. Millot, with whom we have seen this form of arbor in use, has not been able to detect any eccentricity, although he often employs them.
405. They might be formed in one piece, as a d b, with a point at p. A boxwood ferrule is then fitted onto the portion b d, where it is clamped by two screws, and these can be released when it is desired to insert the chuck into the wheel-cutting engine. The points of these screws should be received in recesses in order to avoid the production of any roughness on the surface of b d.
Wheel-cutting engines have been made to receive these arbor-chucks without removing the pulley. The point c is placed in a hole and the upper end is enclosed in a collar, which is tightened by means of a screw.
The arbor used by M. Millot had a lantern chuck, and this is very convenient in making objects that require to be measured during the progress of the work.
406. Modification of the Ordinary Arrangement for Holding the Wheel While Cutting. In the wheel-cutting engine as usually met with, the wheel (when not mounted on an axis) is held against the chuck by a hollow steel cone, on which presses an arm that slides on a vertical pillar and can be clamped in any position. The hole at the end of this arm does not always, therefore, correspond with the point of the cone, and, as a consequence, the wheel often gets displaced during cutting. This inconvenience can be avoided by adopting the following device, which we have seen in use with several watchmakers.
The pillar with its sliding arm is replaced by an iron or steel piece of the form G, Fig. 197. The point a is[339] received by the central hole at the lower end of the division-plate axis, while the screw b presses on the point of the cone, clamping it firmly. Further explanation seems unnecessary; we would only add that the piece G must be made strong and perfectly rigid.
407. For making the teeth of the wheels of a train, a special form of cutter, set to revolve on an axis, is employed, and it may be constructed on either of three distinct systems.
(1) A single cutter mounted on an arbor, as at A, B, Figs. 198 and 199; this may be termed a single cutter.
(2) A circular cutter, formed of a series of such single cutters, which will be termed a multiple blade or composite cutter. Two specimens are shown at F, J, Fig. 200.
(3) The pinion, or steel wheel cutter or mill, formed of a single piece of metal, as seen in Figs. 201, 202 and 203. These may be described as mill or file cutters.
[340]
408. To Make a Single Cutter. The form shown at A, Fig. 198, is roughed out to as nearly as possible the required form in good steel. Some makers, possessed of exceptional skill, make them entirely by hand, and they make very beautiful teeth by this means; but as a rule watchmakers cannot look for such success, so that it is better to complete the formation of the cutter in a specially arranged tool.
The two sides may be made in the wheel-cutting engine, with the same mill cutter, which is inclined when used to undercut the acting edge; but this operation is not as easy as it appears at first sight, and the watchmaker will find it to his advantage to make the following device:
A spindle, b d, Fig. 204, supported between the runners, t, v, serves as an axis for the arm f g h, which is bent at g so as to afford a support to a conical cutter a, driven on the ferrule c. The descent of this arm is limited by an adjustable stop, fixed to the bed of the turns.
Having removed the T-rest, replace it by the rod N, to which the cutter is clamped by a screw k, after being roughed out so as to reduce the work required of the cutter.
Place N so that the conical cutter occupies the position indicated at z, and, if a slight pressure be applied at h while a is caused to revolve, both the straight and curved portion of the side will be formed, and the side will, at the[341] same time, be bevelled to an angle corresponding with that of the cone. The curved portion of the side will be more or less undercut, according as the arm h is depressed below the horizontal plane passing through the axis of the lathe. The opposite side is formed by inverting the piece f g h.
In smoothing or polishing it is only requisite to replace the cutter by a smooth conical roller, and to work as before.
409. The cutter is sometimes fixed in the arbor as shown in Fig. 198. The arbor itself is thick and perforated with a round hole in which the tail of the cutter accurately fits, a slight pressure applied by the screw m being sufficient to make it steady.
For cutting the escape-wheels of clocks the arbor should have a velocity of about 200 turns a second.
M. Peupin, a skilful watchmaker who adopts the practice here given, having observed that with a sharp cutting edge he did not obtain a sufficiently smooth surface, succeeded in obviating the difficulty by drawing a polisher with rouge along the cutting edge, maintaining it at right angles to the plane of the cutter. This operation, if carefully executed, will serve to remove the feather-edge, to make the edge even and yet not dull, and to secure a highly polished cut surface. The sides of the teeth will present a proportionately better surface, according as the portion c a (M, Fig. 198,) approximates towards the dotted line c d.
His escape-wheel teeth are cut in successive stages. The last stroke of the cutter is given by advancing it[342] against the side of the wheel, so that the cutter axis remains in the plane of the wheel.
410. Triangular Cutters. When a cylindrical or conical mill is not available for finishing and sloping the sides of a cutter, it may be replaced by a triangular cutter (T or C, Fig. 205,) and when the application of much force is required there may be a pointed bearing; but this is seldom necessary.
If carefully hardened and set, such a cutter gives a clean cut; of course it will not act for as long a period as the conical form above described, but this is of comparatively little importance, since the blank cutters are always roughed out previously to nearly the requisite shape.
411. To Make Several Cutters at Once. By adopting the following method, it is possible to make several such cutters in one operation.
Turn a steel disc of the form of an ordinary mill cutter, as shown at l p, Fig. 200. To finish it, giving the same curvature to the two sides, take a piece of steel, C, and shape the corner r to exactly correspond with the side of the point or ogive of a tooth, bevelling it so as to give a cutting edge at the upper surface; then harden and smooth it with care. Having fixed it in position in the tool that carries the arbor a and the roughed out disc (whether this be the lathe, wheel or pinion-cutting engine, or a special device) in the required position, one side of the disc may be finished. The arbor a is then reversed and the other side finished in the same manner, so that both sides have the same curvature in opposite directions.
[343]
Of course the tool C may be advanced against l p, either sideways from r towards l, or radially in the direction l p, as is most convenient. Or the tool might remain fixed and the disc advance against it radially or laterally.
The traverse slide in a lathe is usually provided with a stop; it would then be very easy to form one side of the disc in such a tool, afterwards reversing the arbor and forming the other side.
If a very good cutting edge is desired, the sides should be smoothed and, when the disc is completed, it may be divided into pieces similar to B, Fig. 199, each of which will serve as a cutter. It will be noticed that the acting edge is not undercut behind; it is thus necessary to slope the cutter a little as shown at B, as otherwise the rim will choke in the spaces of the wheel, straining it without cutting.
412. Composite Cutter Formed of a Succession Of Single Cutters. By mounting a series of identical single cutters round the circumference of a disc, a circular cutter can be formed in the manner indicated in Fig. 206. The upper portion represents the arrangement of the pieces while they are being turned, and the lower portion shows their positions when the cutter is ready to be used. M. A. Croutte, to whom we are indebted for several of the details here given, was much surprised that this form of cutter is not better known, since it possesses certain special advantages; we will summarize his remarks on the subject.
The separate cutters b, g, etc., Fig. 206, are not undercut from the acting edge backward; they are merely[344] reversed, so that this acting edge is towards the front, in other words it lies along the radius. These separate pieces possess a special advantage in that they can be used until the steel is quite worn out by the setting; in this respect differing from the undercut cutters, for they are not altered either in form or thickness by setting.
As a set-off against this important advantage, they are characterized by the inconvenience of requiring that the two sides of the blade be exactly in a plane at right angles to the axis, and that the slide carrying the cutter-arbor shall move in a direction parallel to this plane. And even when this double condition is satisfied, there will be friction of the two sides above the dotted line i j, Fig. 199, against the sides of the teeth; and if the above named conditions are not satisfied, the cutter, being presented edgeways, will be choked with brass, and the results will be unsatisfactory.
413. In order to ascertain whether such a fault exists, it is only necessary to notice whether the cutter becomes brass-colored on one side towards the point, and on the other more inwards, and the sides of the teeth exhibit striæ or scores in opposite directions, as indicated at E, Fig. 207. The white strip, 1, 1, corresponds to the bottom of a space between two teeth; 2, 2, and 3, 3, the two sides of this space, spread out like an open book.
By examining the marks with care, and noticing the direction in which they are inclined, it will be possible to ascertain both whether the separate cutters are out of place, and in which direction the arbor should be moved in order to correct any error.
We must, then, repeat that all the cutters must satisfy this condition, because if only one is wrong it will produce the scores here referred to.
[345]
The necessity of these precautions in the use of such a composite cutter, and the fact that the friction of the portion above the line i j, Fig. 199, renders it difficult to obtain a polished cut (which is essential for such delicate depths as those of watches), have doubtless prevented its use becoming general. For work that is somewhat larger or rough, it will be found to give satisfactory results and will last longer than a single cutter. A lubricant, such as glycerine or oil, should be applied to it.
414. Composite Cutters with the Cutting Edges Undercut. An old Paris clockmaker, Brisson, used a cutter of the form F, Fig. 200, for the teeth of his wheels. He undercut the two sides of the blades by means of a small special tool. Strictly speaking, the operation can be performed by hand.
In order to ensure that the curves that form the ogives of teeth are alike on the two sides of a cutter, he made a series of templates or standards of the form C, Fig. 206, in which were two holes, C and c, of equal diameter. The upper one, which might be funnel-shaped so as to give a cutting edge, was half cut away, and, after being hardened and set, could be used to give a final stroke to the circumference of two discs of equal diameter. These two discs, or one cut through a diameter would suffice, having been brought by a file to the form H, and joined as shown at r s, can be mounted eccentrically so as to present a cutting edge to the roughed out cutter A; the two sides can thus be made even. The disc may then be finished by cutting away the metal so as to give the form shown at F, Fig. 200.
By the aid of the standards he could easily reproduce the same forms of teeth when required.
Fig. 200 comprises, at J, a cutter for the teeth of watch[346] wheels of the form employed successfully by M. A. Phillippe. The figure will explain itself.
We have known a Geneva wheel cutter who employed these composite cutters with advantage in making duplex wheels. The principal difficulty he experienced arose from the distortion of the metal in hardening, because the acting portion naturally lengthened a little. This form of composite cutter certainly demands careful workmanship, but, if the construction, hardening and polishing are good, it will produce fine work and will last a long time.
415. General Observations on Cutting the Teeth of Brass Wheels with a Single or Compound Cutter. High-class English watches, the movements for which are made at Prescot, in Lancashire, have the wheel teeth made by a composite cutter after the wheels are riveted to their pinions. We have remarked that these watches make less noise when running down than those in which the teeth have been formed with a mill or continuous action cutter.
Success in forming teeth with cutters depends mainly on the securing of a good form as regards the cutting edge, and on its being maintained in good condition; on the steadiness of the entire machine, so as to avoid vibration; on the weight of the wheel, and on the velocity of the cutter being sufficient. A cutter ought never to assume a brassy color except when it requires setting; if it does so, and this is not the case, it proves that the metal is being strained or scraped with friction. The velocity must be very considerable; greater with a single cutter than with one that is composite. The velocity is limited by that point at which the heat generated would cause the oil to evaporate, soften the cutter, distort, and sometimes even displace, the wheel operated on. The[347] engagement of the cutter with the metal must be very slight, and should never be increased suddenly.
Attempts have been made to enclose the arbor bearings in horn, but it is liable to be distorted by the heat.
Before dividing the disc into cutters it is essential that the two edges be carefully smoothed, and this without their being distorted. This can easily be done in an old depthing tool, using an arrangement like that shown in Fig. 208. The lap must be of hard wood, and its right-hand corner rounded off so as to resemble the side of a tooth; it is set to engage with one side of the cutter. We say the right-hand corner, because a lateral pressure can then be applied. It is important that the surface as left by the graver be clean cut, because if the smoothing is too much prolonged, it will deform the cutter.
416. In some factories it is usual to use discs about 2½ inches in diameter, for cutting the teeth of brass wheels in timepieces. The single cutters are arranged round the circumference as follows: One forms a space between two teeth; the one immediately preceding forms the right-hand side of the ogive, and that which follows forms the left-hand side. By adopting such an arrangement of separate cutters, if their side that lies against the disc is slightly inclined backwards it is no longer necessary to bevel off the cutting edge.
417. Pinions, Keyless Wheels, Etc. The cutters that last for the longest period when used for cutting steel are those formed like a file; but a watchmaker is not[348] always in a position to make them himself; we will, therefore, here only speak of those he can make, the description of the first few being taken from a work by M. A. Phillippe, of Geneva, Les montres sans clefs (keyless watches).
418. Cutter for Forming the Inclined Teeth of Winding Pinions. Fig. 201 shows at S a section along the axis of such a cutter, and at P a side view. When it is believed to be of the required form, rest a piece of lead on the T-rest of the lathe and press it against the rotating disc. The impression made in the lead will afford a means of ascertaining both whether the form is correct, and whether the surfaces are smooth enough. This last point is important.
The cutting edges are formed by merely making a number of notches around the circumference with a tool for cutting ratchet teeth. Then advance this ratchet cutter so that it may engage with the convex edge of the cutter operated upon, and against the back of the teeth of this cutter; the ratchet cutter is then in a position to form a second face, o i, by which the teeth of the cutter are undercut at the back, but in such a manner that a small flat surface o a is left in order to retain the form. When a cutter made in this way will no longer bite, it may be set by passing a hard slip of whetstone over the faces of the teeth.
The ratchet cutter employed for making this cutter should never be pressed against it heavily.
419. Cutter for Ordinary Wheel Teeth. We will now pass to the consideration of cutters for forming teeth of the usual shape, of intermediate steel wheels, set-hands wheels, pinions, etc. They may be made as follows:
[349]
The rim is indented with small fine ratchet teeth, b d, Fig. 202. Any burr produced on the sides is then carefully removed, and the cutter is placed in the wheel-cutting engine, and notches, c, c′, c′′, c′′′, etc., are formed on either side with a flat square-edged cutter of such a thickness that the circumference is about equally divided into hollows and prominences. It is important to note that the right side of the teeth must be but slightly roughed, not more than is required in order to raise a slight burr, all that is necessary to form the cutting edge of this portion of the disc. In roughing these sides, at least one out of every two of the small ratchet teeth on the circumference should be left untouched, so as to ensure the required thickness being maintained.
The cutter shown in section and elevation at S and P, Fig. 201, might be cut on the side n in the manner here explained, and the convex portion k might be indented with a fine ratchet-toothed cutter, carried in the hinged cutter-frame of the wheel-cutting engine. The degree of penetration may be determined by fixing an ivory disc against the cutter and concentric with it, the two differing in diameter by the depth the cuts are to be made. The teeth will be rather too square towards the circumference, but their form can be carefully corrected by hand. It is obvious that the very greatest caution is necessary in hardening cutters.
420. Rose-Cutters or Forming Pinion Cutters. As the edges of pinion cutters are rounded, they can be made in the manner suggested by Thevenin. Supporting the roughed out cutter in the cutter-frame of a wheel-cutting engine, he fitted in the axis of the division-plate a kind of rose-cutter, N, Fig. 205. Its extremity, n, instead of being flat, is hollowed out as indicated by the dotted[350] line, and, by presenting the cutting edge thus obtained endwise to the grooved edge of the cutter, the correct form can be given to it. With a mushroom-headed piece of steel and oilstone dust, the cutting edge of the rose-cutter can be made more or less acute by modifying the angle of this steel lap.
421. Other Forms of Pinion Cutter. When a cutter is merely required for a special piece of work, and not for continuous use, it will often be sufficient to make it as shown at A, Fig. 203; this is made by grooving the disc (c), or forming its edges as at d, after which a series of teeth are cut on the periphery with a revolving cutter, taking care to leave no more burr on one side than on the other. Then pass a smooth worn file (or a worn flat cutter) over the faces of the teeth, applying oil at the same time, so as to produce a slight burr on the edges; if the file is not allowed to bite too much and is well managed, these minute ridges will be uniform. After hardening, the cutter is ready for use.
If the faces were smoothed without subsequently applying the file, the cutter would not bite; for its action depends on the slight projection of metal that corresponds to the file-cuts. The cutter is nothing more than a circular file, with two cuts per tooth. If the corners are turned over evenly by means of a very hard burnisher the same effect will be produced; but this operation is delicate, as the amount of metal turned over must be the same in every case.
When a cutter does not bite, it must be softened and restored to its initial condition.
422. Or the following method may be adopted when it is required to make a cutter for a special purpose.
[351]
Proceed at first in the manner just described, but the periphery is divided into a greater number of teeth with a flat cutter, and to a rather greater depth, as at E, Fig. 203. Bend backward each tooth to a distance equal to about half a space by any convenient method; for example, by a lever resting at the bottom of each space and pressing against the corner of the tooth, etc. Before bending the first tooth introduce a piece of brass into the space behind it, of a thickness equal to about half this space, so as to avoid bending too far; for succeeding teeth the thickness must be about equal to a space; thus E will become E′. An inspection of Fig. 203 will suffice to make the operation evident; it amounts to bending back a series of separate cutters. The disc is then hardened, and the faces of the teeth are smoothed when they do not cut well; or merely smooth those that are the first to become dull.
It is important to employ soft steel that has previously been well annealed.
423. Cutter for Making Square Spaces. The teeth of such a cutter can be easily formed with a file, as shown at L, Fig. 209, the edge of the cutter, f, being passed backwards and forwards in the direction of the arrows, applying considerable pressure and at the same time slowly rolling f around. Or the cutter may be set up on a short arbor between the centers of the lathe; then pass the file backwards and forwards across the edge until the cuts are formed, slowly advancing the file in the meanwhile, so as to form the cuts around the circumference without once raising the file. The cutter must then, of course, be hardened.
[352]
424. Forming Cutters with a Milling Tool. The roughing of a round-edged, or even of a square cutter, can also be effected with the aid of a milling or “nurling” tool, proceeding in the same manner as when milling the heads of screws, etc. The tool must be in good condition, well provided with oil, and applied with considerable pressure against very soft steel.
If necessary, the workman can make the mill for himself; it is shown at M, Fig. 210. F shows the method of applying it to the cutter, and by partly turning the mill (of course carried in a strong holder) around its point of contact with the cutter, as indicated by the dotted lines, the rim of F will be evenly roughed all around.
With good steel fairly satisfactory results are obtained in this manner, but it is needless to observe that such cutters never bite as well as those made in the usual manner.
425. General Observations. When cutters are used with steel they must be driven at a less velocity than when cutting brass, and, as M. A. Phillippe has observed, it is best to make the cutters for steel of small diameter (about half an inch). They are more easily made and are less distorted in the hardening. The velocity should diminish as the diameter increases; for too great a velocity, especially when the diameter is great, will dull the cutter and soften it, owing to the heat produced.
Cutters must be turned very true: it is advisable to give them a last stroke with the graver after they are fitted to the cutter-arbor that will subsequently carry them.
When operating on steel it is best that the cutter frame of the wheel-cutting engine be advanced by a screw so as[353] to give it a slow and easy motion; the results obtained are more satisfactory than when it is advanced by hand or with a lever.
The following practice is not uncommon in factories when it is desired to reproduce the exact form of a cutter. A notch is made with the cutter in the edge of a piece of steel, X, Fig. 211, or a series of notches o o′, etc., can be made by several cutters in the circumference of a disc Z (same figure). After being hardened and sharpened at the cutting edge, this disc is fixed at the center of the division-plate of a wheel-cutting engine, and can then be used to complete the grooving of any cutter that is set in position on the cutter-arbor before hardening. The positions opposite to which the notches were cut should be marked on the chuck, so that they may always be set-square to the cutter.
426. Besides the forms of cutter above described for operating on steel, we may mention that circular cutters may be used in which all the notches around the circumference have been polished, thus removing the burr, and preventing them from acting in the manner of a file. But while, with the former kind, a somewhat rapid rotation is necessary (although not so rapid as when cutting brass), with this latter class the movement must be comparatively slow, and produced by means of a hand-wheel; otherwise they will not cut, since the action depends rather on the application of pressure, and resembles that of a slide-rest cutter. The distance apart and width of the teeth of the cutter, as well as their inclination, are of importance; if too far apart they occasion a waste of time; if too large the machine will act in a jerky manner, and when too narrow, an excessive pressure will be needed in order to make the cutter bite the steel, which, it is to be observed,[354] must always be thoroughly annealed. The edge must be well supplied with oil or soapy water when in action.
It is generally found best to advance the cutter against the edge of the steel rather than across it.
427. The instruments usually employed for making cutters for the teeth of wheels and pinions are complicated[355] and expensive, but the author has designed one for his own use that is comparatively simple, and can be made by any watchmaker. When the reader has grasped the principle on which it acts he will be able, without difficulty, to modify it so as to suit his requirements.
The frame B B b, Figs. 212 and 213, consists of the body of the tool, B B, and a bar b b, which is attached to[356] it by screws. Between the two the division-plate P rotates on an axis E R. The end E of this axis is formed as a chuck to receive the cutter f, which is clamped by a screw t.
The support S s J is held with friction in the lower part of this frame, to carry the cutter-holder A L M. This cutter-holder is hinged at n, so that it can receive a double motion, revolving about a horizontal axis J, and about an inclined axis n.
The portion A L of the cutter-holder carries a perforated arbor a c, with a ferrule c that receives the tail of the small rose-cutter, which will presently be described.
The end M rests against a guide G, held by a vane o z, which is pivoted on a pillar z, and can be clamped in either of the directions z y, z x, or by one of the screws o, o.
428. We will now consider the mode of action of the machine. Having set the little arbor c a in rotation, rest the end M of the arm against the guide, and gradually advance the rose-cutter towards f; the edge of d will form the first notch in the grooved rim of the cutter, and then will be raised from contact with it, owing to the influence of the guide G. After moving the tool-holder back to its initial position, advance the wheel P by a tooth, repeat the operation, and so on.
429. If the cutter f has to be notched on both sides, it must be reversed on the chuck; turn the guide so as to point in the direction z x, corresponding exactly to z y; then having set the cutter-holder in the line z h, recommence operations. The two grooves of the cutter will then necessarily be of similar form.
Teeth can be cut on the rim of f by using a cutter of the form F, Fig. 214, and holding M against a straight vertical guide.
[357]
With a given divided wheel, P,
the teeth can be brought nearer together by reducing the diameter
of the cutter, and vice versa. It is well to have some change wheels, but a better plan
is to advance
the division plate by the aid of a tangent screw.
430. To Make the Several Accessories. Form of the rose or star-cutter. The rose-cutter is formed of a mushroom-headed piece of steel. Such a conical cutter is shown at C and R, Fig. 215, and at F, Fig. 214. F and C are cut in the same way that conical cutters are always made, and R is a small triangular prism that only cuts by its three corners, a, a, a. As it is necessarily very small when employed in making the cutters for watch pinions, it must, in such a case, be supported at the neck by a little fork. Moreover, it must be brought gradually against the steel to be operated upon, so as only to engage a very little at a time. With a view to this, it is advisable that the cutter-holder be advanced by a screw.
The star-cutter, shown at E, Fig. 216, is at times substituted for the rose-cutter. It cuts with the corners e, e, etc., whether it be going to the right or left indifferently. Or a triangular cutter like T, Fig. 216, can be used in its place; but its angles are fewer and less acute, so that they become dull more rapidly.
A few trials will be needed in order to determine the most convenient rate of movement of the several parts; and the edge of the cutter f must always be liberally supplied with oil. A little can may be so arranged as to allow oil to fall drop by drop on to the cutter d, Fig. 213.
[358]
431. To make the guide. Having mounted a plate, G, on the vane o z, trace out the approximate form of the cutter with the point of M; then cut off the superfluous metal, leaving a slight margin. This excess is necessary because the curvature of the guide is not the same as that of the cutter, for the indentations as they spread out from the center (t) become gradually deeper. The guide should be tested from time to time by operating on a blank brass disc fixed in place of the cutter f and the guide must be modified as experience shows to be requisite. Its edge must be saddle-shaped so that the middle may correspond exactly with the two dotted lines z x, z y, Fig. 213.
The position of the disc on the chuck t must be brought to correspond with the guide by carefully turned washers placed behind it.
432. Driving attachment. Fig. 217 shows one system that may be adopted for connecting the ferrule C with a driving wheel. All that is required is that the instrument be set in such a position that this ferrule is placed as indicated in the figure with reference to the distributor.
433. Cutters of uneven thickness at the circumference. It is well-known that the edges of the cutters of rounding-up tools (435) are made to taper off around the periphery. In order to indent such a cutter, the guide must be mounted on a slide, so that it may be gradually displaced while the operation is in progress, by an amount previously determined upon.
The desired result can be obtained with sufficient accuracy by moving the guide backwards by successive[359] stages with a screw. The end k of the arm M, Fig. 213, is slightly tapered, so that a gradual depression of M occurs, and each cut is deeper than that which preceded it.
434. Modification in the construction. This instrument may be modified as follows: The disc to be operated upon is fitted to the chuck of the division-plate D, Fig. 218, which is vertical, and the entire system is capable of a movement of rotation round the axis of the base P. Having set the disc in the plane a b, as shown in the figure, clamp P; then, by traversing the cutter-holder, the teeth on the side of the cutter towards a b are made. This cutter frame having now been removed, the base P is turned until the cutter is in the plane c n, such that it is equally inclined on the opposite side of the axis of the cutter frame; the teeth on that side may then be made, the star-cutter being rotated in an opposite direction.
It is unnecessary to prolong our explanations of the instrument, as the details already given will suffice for any intelligent workman.
435. Rounding-up Tools. In Europe it is the practice, in making watch wheels, to first notch the circumference by means of a flat circular cutter in a wheel cutting engine, thus forming a number of square teeth. They are subsequently rounded off to the usual form, after the wheels are riveted to their pinions, in a special tool.
[360]
The apparatus employed for this purpose is termed a rounding up tool, and its principal feature is a mill cutter F, Fig. 219, the portion a b of whose circumference is cut away and replaced by a guide g f made of steel spring, and so fixed as to coincide with the edge of the cutter at f, and incline at g in order to compel the cutter to pass, at each rotation, into consecutive spaces of the wheel. Two screws are provided, the one f for setting the guide opposite the edge of the cutter, and g for placing the free end of the guide opposite to a space.
This tool acts with great rapidity, a fact which has led to its being very extensively used in the factories of France and Switzerland, although the ordinary system of wheel cutting is preferred in England for all the better class of work. For it should be noted that the rounding up tool does not correct any errors that are due to bad dividing; for example, if a wheel is found to have some of its teeth larger than others, the tool can not be relied upon to correct them; on the other hand, if a wheel is exactly divided it is improbable that the employment of this tool will occasion irregularity.
The instrument we are discussing is, however, not much used by watch repairers, although they are frequently called upon to touch up the teeth of wheels, or to slightly reduce the diameters of their pitch circles, operations which cannot be done by hand with much chance of success. The limited use to which rounding-up tools have been put is owing, in great part, to their high price, but cheaper tools on this principle are now coming into use.
436. One of these is shown in Fig. 220. The wheel to be operated upon is held against a small table at D[361] between two vertical runners with guard-pivot centers, and a cutter of the form shown at Fig. 219, is fixed at C to a suitable chuck of a small lathe-head B; this is caused to revolve by the hand-wheel A, a supplementary pulley K taking all strain off the axis. The three milled-headed nuts seen at E, F, and G are for adjusting the instrument; E for moving the lathe-head, so that the cutter is in the same plane as the axis of the runners, a position which is determined by the pointer I; F for advancing the wheel against this cutter; and G for setting the plane of the wheel to pass through the axis of the lathe-head as indicated by the index H. The instrument is accompanied by a number of cutters to suit the various sizes of teeth ordinarily met with, as well as of tables to support wheels of different dimensions.
[362]
437. Ingold Fraise or Cutter. Rounding-up Cones. Either the cutters devised by M. Ingold, or the rounding-up cones of M. Berlioz, may be used for correcting the form of wheel teeth.
The Ingold fraise is a small steel cylinder perforated through the axis so as to be mounted on an arbor, and having a number of longitudinal notches on its circumference which makes it resemble a pinion, the points of whose leaves have been ground off. The spaces of the fraise are of the exact form required to be given to the teeth of the wheel, and their surfaces are covered with fine file cuts so as to enable them to remove metal from the wheel operated on.
Having mounted the arbor that carries it between two centers of a depthing tool (made especially strong for the purpose), the wheel is supported by its axis between the second pair of centers (with guard-pivot points). If now the fraise be advanced by the screw until its teeth engage with those of the wheel, and either be caused to rotate, it will drive the other, and the fraise will thus shape the teeth to a pre-determined form, the faces of each notch acting the part of a minute file introduced between the teeth.
It will be observed that such an instrument is preferable to the ordinary rounding-up tool, in that it may be relied upon to bring all the teeth to the same shape, but, on the other hand, the latter tool has an advantage in being available for slightly reducing the diameter of a wheel when a depth is found to be too strong.
438. An objection has been urged against the Ingold fraises on the ground of expense, as each dimension of tooth evidently requires a cylinder specially adapted to it. This fact has led to the introduction of “rounding-up cones” the invention of M. Berlioz, which act on precisely[363] the same principle, but are conical instead of cylindrical, so that each fraise evidently takes the place of a number of Ingold fraises. The total number being proportionately reduced. But great dexterity is required in their use, so that they cannot be successfully employed until after numerous trials.
439. Exact Rounding-up Tool. The author has devised an instrument for giving to the teeth of wheels the exact form determined upon by theory, but as it is of too elaborate a nature to come into general use, we shall not do more than here refer to it. It is rather of a nature to be used for scientific work, but might be found of considerable value for accurately forming the blades of cutters that are used in grooving the circular cutters employed for cutting the teeth of wheels.
440. To Round Up Teeth By Hand. We have seen a country watchmaker proceed somewhat as follows: His method was only effective, however, for ensuring the verticality of the file, and did not maintain it straight, nor could the curvature of all the teeth be relied upon to be the same; these two conditions are satisfied by the system here explained.
Formerly watchmakers possessed very considerable skill in this kind of work, as the teeth were always formed by hand; but at the present day, for want of practice, there is not one to be found in a hundred competent to round up a wheel properly by hand alone. Recourse may be had to the following expedient in an emergency; it necessitates the construction of a small special tool, but this is so simple that it can be made in a few hours by an apprentice.
[364]
441. Take a bar of metal or hard wood, made smooth on its faces and square at the corners (R, Fig. 221), and adapt to it a slide, c c, through the center of which a slot is cut to receive a clamping screw; it slides between the four pins indicated in the figure. An arbor a is supported by c c, parallel to R, having a plate at its end on which a wheel to be operated on can be fixed by three screws and a loose plate. It is centered by the circumference before clamping these screws, rotating a with a bow, and it may be well to place a piece of tissue paper under and over the wheel in order to avoid scratches. V is a tongue that can be introduced into the space between two teeth in order to prevent the wheel from moving.
Two arms, p p, screwed to the bar R R, support the handle of the rounding-up file l, which consists of a large cylinder t, t, that slides in the arms p, p. The cylinder T must be exactly parallel to the arbor a, and the longer it is the better. The file-holder s, also shown detached at Y, Fig. 222, is merely driven onto the rod t. The distance between the center of the axis t and the face of the file (b b′, Fig. 222) is equal to the radius of the circle that embraces the external curves of two or more teeth, as will be explained.
The several parts being arranged as shown in Fig. 221, and the bar clamped in a vise at E, it will be obvious that, if the wheel is held in two fingers of the left-hand so as to prevent it from being displaced, while the rod T is moved up and down, at the same time rotating it with the[365] right-hand, the curves of two teeth will be adjusted to correspond with the arc o o o (Z, Fig. 223), and, by transferring the tongue V to the next succeeding space, the curve i i i can be struck.
442. Observations. The curvature of the point of a tooth coincides very closely with a circular arc described from a certain definite center, and comprising either two or three teeth. In order to realize these conditions in practice, the slide c c is so adjusted that the axis of T passes just within the circle that passes through o, o, o, etc. (Z, Fig. 223), at which the points of the teeth commence; by making trials with two or three file-holders that differ in regard to the distance b b′ (Y, Fig. 223), it will be easy to select the most suitable for producing the required curve. After operating on all the teeth in succession, advance the wheel by means of the screw D, and again work around the circumference, and so on. The progress of the work should be frequently examined with the glass.
It is possible to dispense with the tongue V, and to merely steady the wheel by hand; the work is thus done more rapidly, but must be examined with very great care.
We would insist that the lengths of the two axes are an element of success. In operating on watch wheels T should not be less than six inches long.
By suppressing the tongue the motion of the two axes may be co-ordinated so as to form any theoretical curve; This is the case in the exact rounding-up tool already referred to, but it of course renders the instrument more complicated.
443. To Ease a Train of Wheels. In very many of the cheaper watches and timepieces now met with in[366] commerce the teeth are rough and badly cut, and the pinions but little polished, so that watchmakers are constantly complaining of the difficulty of securing even a moderately good depth. In such cases they have a simple method to adopt in addition to those already referred to, namely, to polish the teeth with a piece of charcoal.
A piece of smooth, even charcoal, with regular fibre, is moistened with oil or water, and passed across the teeth individually; first with the fibres lying in the direction of motion, and afterwards with them at right angles to that direction.
If the charcoal is carefully selected and lightly applied for a sufficient length of time and no more, the ogives will be found to be nicely smoothed, and the depth will run far more easily than it did previously. It is dangerous to use quick-cutting charcoal, as it is apt to deform the teeth.
Smoothing with a brush charged with charcoal powder cannot be regarded as anything more than cleaning; if the action is too much prolonged the form of the teeth will be spoilt.
444. Drilling Tool. First center the runner in the lathe, and ascertain that it is straight, cylindrical, and exactly centered; then fit a ring to it so as to slide with friction to (temporarily) limit the descent of this runner in the vertical stock of the tool.
After placing it in position, adapt to its lower end a collar, provided with a long index of soft brass, which is bent so as almost to touch the plate at its circumference. Rotate the runner and it will be shown to be perpendicular to the plate if the point of the index remains at the same distance from the plate.
[367]
As a confirmatory test the runner may be drawn up in the stock, and the trial repeated after bending the index nearly to touch the plate.
445. Uprighting Tool. If the two stocks or tubes that receive the runners are exactly in line, a runner should move easily through the two at once.
Setting the points in contact in various positions in a vertical line, observe whether they coincide, both when at rest and when rotated together or independently.
First ascertain that the table is at right angles to the axis in the manner already explained for the drilling tool, making the necessary tests with the two runners independently. Then support between their points a short arbor carrying a soft brass index. The position of the lower runner being maintained constant by means of a collar as above explained, rotate the upper one by hand; its friction will carry the index and arbor around, the point of this latter being set close to the plate. Repeat the operation by raising the pair of runners and bending the index down to the same amount.
If in these various positions the point remains at the same distance from the table, it affords evidence that the tool is accurate.
An uprighting tool consists of two parts: the table carrying the lower stock, and the bridge that forms the upper stock. The base of this latter is a ring turned flat and co-axial with the stock, and is fitted accurately into a square groove surrounding the table, where it is fixed by screws.
Any watchmaker understanding this mode of construction will easily perceive when he has tested the tool in the manner above indicated, both what are its faults and how far he can correct them.
[368]
446. The English uprighting and drilling tools, and some of foreign construction, are combined on the same stand, and a good arrangement, made by Boley, is shown in Fig. 224. It will be seen that the drill can be set in motion by a hand or foot-wheel; the table is fixed in a vise and provided with two dogs for clamping the object. The drilling spindle is perforated throughout its length so that the drill can be held by an American split chuck.
447. Depthing Tool. As the value of a depth depends essentially on the overlapping of the teeth being the exact amount required by theory, it is specially important that the tool used for determining the distance[369] between the centers of the wheels and pinions should be of the utmost attainable accuracy.
First ascertain that the spindle which serves as an axis for the two halves of the tool does not change position when they have been several times separated and brought together. For, if this were to happen, and a runner were uneven or the hinge not smoothed within, the parallelism of the two pairs of runners would be impaired.
The runners must be of equal thickness throughout, and should pass with ease from one head to that opposite. Their points and center holes must be seen to be in good condition, and, on placing them in their turns, they must be found to be both true and cylindrical. Having restored them to their places with the points together, move the pair lengthwise from one head to the other, examining the points in successive positions to ascertain that they coincide accurately, both when the runners are loose and when clamped. When the adjustment has been carelessly done the runners will be found to bend under pressure, causing the points to be displaced.
Having set two runners side by side and level, describe with them circular arcs on a smooth piece of brass from centers previously marked, first with the points just projecting from the heads and then projecting more and more. These tests may be made both within and without the tool; so that there will be four sets of tests in all.
It is very important in making the last-named trials, that the tool be maintained at right angles to the plate on which the circular arcs are traced; this condition can easily be satisfied by a special device, or by merely causing the compass to slide along a set-square. It may be added that the series of arcs should be drawn end to end, in order that it may be easier to observe their agreement or difference when examining with the glass.
[370]
448. When this series of tests has been gone through, and the points have been examined so as to make sure that there is no burr which bends over while tracing the arcs, it is possible to determine the value of the tool; we know whether it is perfect or not, and what corrections are required. As a rule there are two points mainly at fault; the holes in the heads are not exactly continuations the one of the other, so that they need to be broached out afresh and new runners have to be made. A careful and intelligent workman who is provided with suitable tools will be able, from the information given in this work, to correct, or at least improve, a defective depthing tool; but, as a rule, it will be better done by the maker.
[371]
449. Expedition and certainty in watchmaking and repairing are primarily secured by proceeding on a definite system, both in details of construction or repairing.
The best watchmakers, and practical men generally, take their work in a certain order, from which any departure is exceptional. By this means they avoid the necessity of doing work twice over and of frequently taking up the same piece; a circumstance that often occurs with young watchmakers, owing to forgetfulness or to a want of sequence in their ideas.
They should from the first exercise themselves in working methodically on a definite system.
It must, however, be understood that no method can be inflexible, nor can it be equally advantageous for different individuals, because men differ in regard to manual dexterity, goodness of eyesight and of memory, power of associating their ideas, etc. A system that is suitable to a person of unexcitable temperament will have to be modified by one is oppositely disposed. Everyone will be able to decide for himself as to the best system to adopt and the order in which to take his daily work.
These preliminary observations appear necessary because the method explained below of examining a[372] Geneva watch has been regarded by some as too long and minute. We would urge any young watchmaker that hears such ideas advanced to assure himself that it is a mistake, because the system here explained is only put forward subject to the modifications that experience suggests; and it is to be observed that many of the operations given can be performed more rapidly than they are described.
When a watchmaker experiences a great loss of time, does it not usually arise from the fact that he is obliged to take a watch to pieces, or nearly so, after its repairing and examination were thought to have been completed; or when a watch that has been repaired is brought back to be examined before the ordinary period of cleaning has elapsed?
Let him add together the numerous hours spent in this kind of thankless work, let him sum up the worries experienced, and the discredit, etc., to which he has been subjected, and he will see that systematic work would have saved him both loss of money and loss of credit.
450. In the following paragraphs, when the manner in which a given fault manifests itself is not indicated at once, it should be sought in the index of this volume, either under the name of the operation or under that of the object to which it relates. The reader will see for himself which passages refer exclusively to the English or American and which to the Geneva watch.
451. Case, Glass, Dial, Dome. Glance at the case in order to ascertain that it has not received a blow or been subjected to pressure; that the joints and fly springs work well; and that the hands in rotating touch neither[373] the glass nor dial. By laying the nail on the surface of the glass, it will be easy to see whether there is sufficient freedom between the socket of the hand and the glass. In case of doubt, place a small piece of paper on the hand, close the bezel and tap the glass with the finger while the watch is in an inclined position. If free, the paper will be displaced.
The set-hands square should be rounded at the end and a trifle below the level of any accidental bending of the back of the watch, and the dome must not press on the balance-cock wing or the central dust cap (if present). The above remark also applies to the winding square of a fusee watch.
There must also be sufficient freedom between the going-barrel teeth and the banking-pin of the balance on the one hand, and the internal rim of the case, the fly-springs, and the joints on the other. Otherwise there is danger of contacts when the case is closed which occasion irregularity and stoppage often difficult to detect.
452. The dome must be at a sufficient distance from all parts of the movement, more especially the balance-cock. If there is any occasion for doubt on this point put a thin layer of rouge on the parts that are most prominent. Close the case and holding it in one hand to the ear, apply a pressure at all parts of the back with a finger of the other hand, listening attentively in order to ascertain whether the vibrations are interfered with. If the interval is insufficient, a trace of rouge will be found on the inside of the dome. In such a case, if the dome cannot be raised nor hollowed slightly in the lathe (when formed of metal), lower as far as possible the index work and the balance-cock wing and[374] fix in the plate, close to the balance, one or two screws with mushroom heads that will serve to raise the dome.
Ascertain that the hands stand sufficiently far apart; that the hour hand does not rub against the hole in the dial; and that the minute hand does not come nearer to the dial in one place than in another, a fault which may arise either from the dial not being flat or from the center-wheel being badly planted.
Remove the movement from its case, after making sure that it is held steadily by the locking screws; take off the hands, and see that the hour wheel has the right amount of play; this freedom may be diminished if required by laying on the wheel small discs of tinsel cut out with a punch. If the dial presses against any part of the movement, or is not flat or comes so near to any of the pivot-holes as to draw off the oil, it must be ground away until a sufficient amount of freedom is obtained.
453. Although the following remarks refer in the main to foreign watches with a Lepine movement, very many are also applicable to the English and American watches; further observations specially bearing on them will be found in articles 477-80.
454. The Motion Work and Hands. Rotate the wheels connecting the hour and minute-hands by the aid of a key and a glance will suffice to show whether the several depths, which should be light, are satisfactory. The wheels should not rub against one another, the plate, barrel, or stopwork. The barrel should have been previously examined to ascertain that it is not inclined to one side, as if it were, an error would probably be made in estimating the degree of freedom.
[375]
The set-hands arbor (the square of which should be a trifle smaller than that of the barrel-arbor) must turn rather stiffly in the center pinion, and the cannon pinion must be held on the arbor sufficiently tight to avoid all chance of its rising and so becoming loose; for this would alter the play of the hands and motion work. If any fault is found in the adjustment correct it at once, so as to avoid doing so after the movement has been cleaned.
If it has not been already done, slightly round the lower end of cannon pinion and the steel shield, care being taken to avoid forming a burr on the pinion leaves. These two pieces ought to rest on the ends of the center pinion pivots, and at the same time be some distance removed from the plate and bar respectively.
455. Freedom and Endshake. Observe that there is sufficient clearance between the plate and barrel; the barrel and center-wheel; the several wheels in succession both between themselves, their cocks, and sinks; between the balance on the one hand and its cock, the center-wheel, fourth wheel cock, the balance-spring coils and stud on the other. The fourth wheel is frequently found to pass too near to the jewel forming the lower pivot-hole of the escape-wheel.
The end-shake of the wheels may be tested by taking hold of an arm of each with tweezers and lifting it. This may also be done in the case of the escape-wheel, but, when the cock is slight, it will be sufficient to press gently upon it with a pegwood stick, then releasing it, and observing the apparent increase in the length of pivot. At the same time ascertain that the width and height of the passage in the cock is enough to allow the teeth, when carrying oil, to pass with the requisite freedom.
[376]
Holding the watch on a level with the eyes, lightly raise the balance with a pegwood point several times, each time allowing it to fall. The variation observed in the space between the collet and cock will indicate the end-shake of the balance-staff.
456. Action of the Escapement. The side play of the balance pivots in their holes can be easily estimated by touch, or this may be done by the eye, attentively watching the upper pivot through the end-stone with a powerful glass, while the watch lies flat and the lower pivot in the same manner with the watch inverted. If the end-stones are not clear enough, although such a case is rare, remove first one end-stone and examine the pivot; then replace it and remove the other.
It should be possible to rotate the balance until the banking pin comes against its stop, without causing the escape wheel to recoil at all, or allowing a tooth to catch outside the cylinder behind the small lip. The banking-pin sometimes passes too near to the fourth wheel staff. The U-arms should rest nearly in the middle of the banking slot of the cylinder: they should be as far from the upper as from the under edge of this slot, so that the end-shakes may have free play in all positions of the watch.
Ascertain that the balance-spring is flat; that it coils and uncoils regularly without constraint; that it does not touch the center wheel, the stud, or the inner curb-pin (with its second coil). The rapid examination of the escapement may now be regarded as completed if the watch in hand is merely being cleaned after having previously gone well.
But if engaged on a watch that has not gone well previously, or if examining a new one, the action of the escapement must be thoroughly tested.
[377]
457. Visible Depths. While the train is in motion through the force of the mainspring or the pressure of a finger against the barrel teeth, examine with a glass all the depths that are visible. That of the escapement, for example, can be easily seen through the jeweled pivot-hole when this is flat, the watch being laid horizontal and a powerful glass used. When the action cannot be seen in this manner with sufficient distinctness, hold the watch up against the light and look through it. Depths that cannot be clearly seen, or about which any doubt exists, must be subsequently verified by touch. (458.)
If examining a new watch, it may be found necessary to form inclined notches at the edge of the cocks or near the center hole of the plate so to see the action of the depths. But it is important that the settings of the jewels are not disturbed, and indeed that enough metal is left around these holes to admit of their being re-bushed if necessary.
458. Invisible and Doubtful Depths. These must be tested by touch, and the requisite corrections applied after having re-polished the pivots, etc., as may be necessary. We would observe that holes a trifle large are less inconvenient than those which afford too little play; providing the depths are in good condition.
459. Length of Balance Pivots: Centering the Balance-Spring. Remove the end-stone from the chariot and see that the pivot projects enough beyond the pivot-hole when the plate is inverted. Then remove the cock and detach it from the balance. Take off the balance-spring with its collet from this latter and place it on the cock inverted, so as to see whether the collet is central when the outer coil is midway between the[378] curb-pins. Remove the cock end-stone and end-stone cap, place the top balance pivot in its hole and see that it projects a little beyond the pivot-hole.
Place the balance in the figure-of-8 calliper to test its truth, and, at the same time, to see that it is sufficiently in poise; it must be remembered, however, that the balance is sometimes put out of poise intentionally.
460. Play of Train-Wheel Pivots. Allow the train to run down: if it does so noisily or by jerks, it may be assumed that some of the depths are bad in consequence either of the teeth being badly formed, or the holes too large, etc. To test the latter point, cause the wheels to revolve alternately in opposite directions by applying a finger to the barrel or center-wheel teeth, at the same time noting the movement of each pivot in turn in its hole; a little practice, comparing several watches together, will soon enable the workman to judge whether the play is correct. The running down of the train will also indicate whether any pivots are bent. Now remove the barrel-bar with its several attachments.
461. Center-Wheel: Bad Uprighting. Remove the third wheel, and, if necessary, test the uprighting of the center-wheel by passing a round broach or taper arbor through it, and setting the plate in rotation about this axis, holding a card near the edge while doing so. This will indicate at once whether the axis of the wheel is at right angles to the plate.
When a marked deviation is detected, or the holes are found to be too large, they must be re-bushed and uprighted again. When, however, the error is but slight the axes may be set vertical by bending the steady pins a little, in doing which proceed as follows:
[379]
Set the bar in its place alone, the screw or screws being a little unscrewed, and rest the side of the bar opposite to that towards which it is to be bent against a piece of brass held in the vise, and strike the farther edge of the plate one or two sharp blows with a small wooden mallet. Experience alone can teach the workman to proportion the blow so as to obtain a given amount of deviation, and must enable him to ascertain whether it is desirable or not to pass a broach through the steady-pin holes before operating as above explained. Some discretion is essential in practising the method.
It is important that the center pivots project beyond the holes in the plate and bar. A circular recess is turned around the outer end of each of these holes so as to form reservoirs for oil. Owing to the neglect of these simple precautions, which are so easy to take, many watches, especially those that are thin, come back for repair with their center pivots in a bad state, because the oil could not be applied in sufficient quantity, and has been drawn away by the cannon pinion or the steel shield.
If the watch has a seconds hand, ascertain by means of the calliper that its wheel is upright. Finally, examine each jewel to see that it is neither cracked nor rough at the edges of the hole.
462. The Barrel: to Take Down and Repair. The side spring, which must not be too strong, should reach with certainty to the bottom of the spaces between the teeth of the ratchet, and this latter should be held steadily in position by the cap. It is a good plan after making the extensive repairs here spoken of to again test the barrel and center pinion depth, either by touch of by drilling a hole for observation.
[380]
The screw of the star-wheel must not project within the cover nor rub against the dial; it must be reduced if either case presents itself. The action of the stopwork must be well assured, especially when the actual stop occurs. It is a good plan to, as it were, “round-up” the star-wheel and finger-piece, with an emery stick, supporting them on arbors. There must be no possibility of friction between the finger and the bottom of its sink.
463. To Test the Stopwork. Take up the winding square of an arbor, with the barrel, etc., in position, in a pair of sliding tongs or a Birch key; hold the tongs between the last three fingers and the palm of the left hand, the first finger and thumb being applied to the circumference of the barrel so as to rotate it, first in one direction and then in the other. During this movement, take a pegwood point in the right-hand, and try to turn the star-wheel against the direction in which it would be impelled by the finger; the position is indicated by B in Fig. 225. The tooth that is just going to engage with the finger will thus be caused to take up the worst possible position for being turned, and thus, if the action proves to be satisfactory for each tooth, we may rest content as to the future; providing, of course, that the engagement takes place square, and there is no tendency[381] to cause distortion of the metal. When the corner of C is stopped against the convex tooth of the star-wheel, the finger should be free in a space, and directed towards the center of A. By holding the sliding tongs in a vise both hands can be kept at liberty.
For details in regard to the examination and repair of keyless mechanism, see article 481.
464. To facilitate the work by securing order in taking to pieces and cleaning, preventing the screws from being mixed, etc., it is a good practice to prepare beforehand one or more boards, in which grooves and holes are made in positions to correspond with those of the several pieces on the plate of the watch, as indicated by Fig. 226.
The round holes receive the cock and bar screws, which may be cleaned while the other parts are in the benzine solution. (Two holes are shown side by side for each bar and cock, so that the same plate will serve for a large and small watch). The oval or circular hollows at a and around m receive the cap screws, and m the shield; c, c, c, hold the screws of the side spring and[382] star-wheel and the finger-piece pin; j is for the screws of the top end-stone, and n for those of the bottom end-stone, etc.
It may be well here to mention the very convenient divided boxes for holding the several parts of a watch when taken to pieces that are in general use by watchmakers. They measure about six inches by four, and one inch in depth, thus being large enough to contain all the parts of any ordinary watch.
At first every young watchmaker will find the advantage of noting on paper, bearing the number of the watch, the successive operations that have to be done. He will then merely have to strike them out one by one as the work progresses. As he becomes more practiced he can dispense with this auxiliary.
465. Whatever system of cleaning is adopted it is essential that it be concluded by passing a pegwood point into each of the holes.
Brilliancy is given to the surfaces of cleaned pieces by passing a carefully kept fine brush over them. A brush that is greasy can only be cleaned by soap and water, and a new brush is prepared for use by passing an inclined cutting edge over the ends of its bristles so as to taper them off to fine points, and to remove knots due either to hard parts or to bristles becoming united. This preliminary treatment is completed by charging the brush with French chalk, and rubbing it vigorously on a dry crust of bread until the brush can be passed over a gilded surface without scratching it. The bristles are maintained in good condition by the same treatment. Billiard chalk is also very effective for this purpose, and the greater[383] number of cavities there are in the crust the better it will act. A burnt bone is an excellent substitute for the crust, and has the advantage of causing the brush to impart a very brilliant appearance to objects to which it is applied.
466. To Clean with a Brush. This method is less used now than formerly, as it can be adopted with safety with the old-fashioned gilding, but is too severe for the thin galvanic coats that are applied at the present day. It may, however, be resorted to for getting up the surface of polished brass wheels, for example.
Put some French chalk or powdered sal-ammoniac (which can be bought at a chemist’s) in pure alcohol. Shake the mixture, and with a fine paint brush coat the object with a small quantity of it, subsequently brushing the surface with a brush that is in very good condition. Polished wheels may be made to present a very brilliant appearance by this means, but their teeth and the leaves of pinions must be afterwards carefully cleaned.
The French chalk and sal-ammoniac are all the more effective according as they have remained a longer time in the alcohol; doubtless owing to the fact that the hard grains met with in them are then more completely dissolved.
467. Soaping. It is advisable to use a soap that quickly produces a good lather; and the object is held in the hand and cleaned by rubbing with a soft brush charged with this lather; then immerse first in clean water, and subsequently in alcohol, moving it about in each: it may be left for a few seconds in this latter, and, on being removed, is dried with a fine linen rag or soft muslin. A stroke with a soft brush in good condition[384] will give brilliancy to the surface. As water sometimes dissolves the soap very slowly, it is desirable that it be employed warm. If about to soap polished wheels, the surface must be first got up with a buffstick and rouge, or by brushing with sal-ammoniac.
The balance spring may be cleaned by laying it on a linen rag doubled, and tapping it gently with a brush charged with lather; then dipping in water and alcohol in succession.
The alcohol may be used hot or cold; its action is, however, more rapid and effective in the former case. But there is no occasion to use hot alcohol except when dealing with substances such as wax, that resist its action.
468. Essences and Benzine. The employment of essences in cleaning watches is becoming more general every day. They are to be obtained at all material dealers, together with full instructions in regard to their use. A few observations may nevertheless not be out of place here.
The objects are left in the solution for a few minutes in order to allow all adhering matter to dissolve, but they must not remain too long, as certain qualities of benzine, etc., are apt to leave stains. Dry the pieces on removing them, and finish by passing over a fine brush that has been charged with chalk and subsequently been rubbed on a hard crust or burnt bone; as has already been observed, this will produce a brilliant surface on either gilding or polished brass.
The following composition, the ingredients of which can be obtained at any chemist’s, has been strongly recommended to us by a clever watchmaker:
| 90 | parts | by weight of | refined petroleum. |
| 25 | ” | ” | sulphuric ether. |
The objects are immersed for several minutes; indeed, they may remain for a longer period without danger, and on removal from the bath are found to be clean and bright. It must not be forgotten that many of these essences are liable to ignite with the mere proximity of a lamp.
469. The three following rules must be observed in arranging a system of putting the watch together: (1) avoid taking up the same piece two or more times; (2) hold it lightly, as any pressure will produce a mark; (3) keep it as short a time as possible in the fingers. Any linen rags used must be free from fluff, but rags of all kinds should as far as possible be replaced by certain kinds of tissue paper. The best kind will be that which, while securing a given degree of pliability, will best prevent heat and moisture from passing through. Blue-shaded tissue paper should be avoided, as it is often found to encourage the formation of rust on steel work.
470. The following order is adopted by some excellent watchmakers in putting together the ordinary form of Geneva watch; it may be adopted exactly or modified as experience dictates.
Commence by putting the several parts of the barrel together, attaching it to the bar and observing the directions given farther on (474) in regard to the distribution of oil. Owing to the position of the stop-finger, it is sometimes found that the mainspring must be set up either one-quarter or three-quarters of a turn. Very often one-quarter is not sufficient, and in such cases it is necessary, before putting together, to ascertain that the[386] spring admits of at least 5 or 5¼ turns in the barrel. If it will not allow this amount, and yet has to be set up three-quarters of a turn, too great a strain will come upon the eye of the spring in winding. Fix the chariot with its end-stone on the under side of the plate.
Replace the fourth wheel, making sure that it is free and has no more than the requisite end-shake and is upright. Then the escape-wheel, testing it in a similar manner. See that the teeth have sufficient freedom on both sides of the cock passage, then make the two wheels run together with a pair of tweezers of pegwood, in all positions of the plate, to make sure of everything being free.
471. After attaching the index and end-stone to the balance-cock and the balance-spring to the balance (observing that the center of the stud is against the dot on the balance rim), place some oil in both the balance pivot-holes (476); adjust the balance to the cock after placing a drop of oil in the cylinder (though a much better plan is that given in article 476), and set in position on the plate. Some workmen apply a drop of oil to the top of the escape-wheel pivot-hole before setting the balance-cock in its place, but others prefer only to add the oil after the escapement has been tested.
Placing a small piece of paper first between the balance and cock, and then between the balance and plate, ascertain whether the escape-wheel occupies its correct position in reference to the cylinder, in order that the escapement may act properly. This test is especially necessary in dealing with very thin watches or those in which the cylinder banking slot is exceptionally narrow. The barrel bar is now fixed to the plate.
[387]
472. Set the third wheel in its place, and lastly the center wheel, after putting a little oil on the shoulder of its bottom pivot. Before putting the bar over it, apply oil to the top pivot in a similar manner; then screw it down. After this is done screw on the third wheel cock.
Now apply a small quantity of oil to the two center pivots, and very lightly to the others that have not already been oiled; give a turn to the key and listen to the tick of the watch in all positions. This should always be done before replacing it in the case.
After passing the slightly-oiled set-hands arbor through the center pinion, and adapting the cannon pinion to its end, reverse the watch, passing the end of the center arbor through a hole in the riveting stake, so that the watch is supported on the end of the cannon pinion; a light blow of the hammer on the square end of this arbor will then suffice to drive the cannon pinion home. Some do this before replacing the movement in its case, and some after.
Add a little oil to such pivots as have not already received enough, and fix in their places the remaining parts of the motion work, the dial and hands: the watch then only requires to be timed.
473. Precautions to be Observed in Applying Oil. The method of distributing and applying the oil is of more importance than might be thought, and has a very marked influence on both the time of going and the rate.
Oil that is very fluid may be used for the escapement and fine pivots, where only a small quantity is needed and the pressure is slight; but it is not suitable in other places on account of its tendency to spread, and thus leave the rubbing surfaces.
[388]
If too much oil is applied the effect is the same as if there had been too little; it runs away, and only a minute quantity is left where it is wanted.
474. Barrel. It is not enough to apply oil to the coils of the spring; some must also be placed on the bottom of the barrel. Before putting on the cover, moisten the shoulder of the arbor-nut that comes in contact with it with oil; by doing so, when oil is applied to the pivot, after the cover is in its place, this oil will be retained at the center of the boss in the cover. Moreover, it will not then be drawn away by the finger-piece, passing from this to the star-wheel.
The oil applied to the upper surface of the ratchet to reduce its friction against the cap must not be in such quantity as to spread on to the winding square. It is a good plan to round off the lower corner of this cover.
475. Center-wheel. The observation made above in reference to the oil applied to the barrel-cover may be repeated here. By proceeding as explained in article 472, and adopting the precautions mentioned at the end of article 461, it is possible to make sure of the pivots lasting for a long period.
476. Escapement pivots: Cylinder. When the drop of oil is introduced into the oil-cup of the balance pivot-hole, insert a very fine pegwood point, so as to cause the descent of the oil; a small additional quantity may then be applied. When this precaution is not taken, it frequently happens that in inserting the balance pivot its conical shoulder draws away some of the oil, and there is a deficiency both in the hole and on the end-stone.
As has been already noticed (471), some workmen place a single drop of oil within the cylinder, and when[389] the escape-wheel advances each tooth takes some up. This method is unsatisfactory, because the earlier teeth receive such a quantity of oil that it runs down the pillars, where it is useless and merely tends to increase the weight of the wheel. A much better plan is to put a very small quantity in the cylinder, and on the flat of each tooth or every second or third tooth. It will thus be evenly distributed, and will not tend to flow away.
The escape-wheel pivots require but a small quantity of oil. It often happens, however, that, owing to carelessness, the workman applies too much, and it runs down to the pinion. The leaves will thus become greasy and stick, while the pivots are running dry.
477. As has been already observed in article 453, many of the remarks made in speaking of the Geneva movement are equally applicable to that of English or American construction, and any intelligent watchmaker, on reading articles 450-463, will be able to select for himself whatever has a bearing on the English watch, without difficulty. It will be well, however, to supplement it by the special directions contained in the four following articles:
478. Case, Glass, Dial, Cap, Dome. In addition to the points specified in articles 451-452, the following require attention. See that the position of dial is not altered by closing down the bezel, that the fuzee dust cap does not touch the dome or cap, and that the diamond end-stone or other jeweling of the balance-cock is free of the case. In ¾-plate watches the chain is occasionally[390] found to rub against the edge of the case, or the top-plate to press against the bottom edge of the same, causing the train to bind. See that the balance and chain and the fuzee great wheel are free of the cap, where one exists; the chain is especially liable to rub after the breaking of a strong spring, which may cause the barrel to bulge, when it may also rub against the potence. Ascertain that none of the dial-plate feet or pins touch the train, that the hour wheel is clear of the third and fourth wheel bar, and the minute wheel out of contact with the dial-plate and not pressed by the dial. See that the third wheel is free in its hollow, and that the balance, more especially in oversprung watches, is clear of the barrel.
479. Movement. The regulator or index must be tested, especially in watches that are undersprung, at several points between “fast” and “slow,” to see that it nowhere approaches too near to the spring, is held with sufficient firmness, and that it never comes near enough to the guard pin for contact to occur. See that the potence screw and steady-pins do not project, and that the barrel does not touch the name-plate, balance-cock, top-plate hollowing or great wheel.
Before taking off the top-plate, notice the position of the detent in the steel wheel, and the amount of its end-shake; the wear of the holes, and freedom of the train wheels; the position of the third pinion with respect to the center wheel, and that of the escape wheel to the lever; see that the banking pins are not loose or bent; that the guard pin, which protects the balance staff when the chain breaks, is near enough to the barrel and the potence. When the watch is taken to pieces, any loose pillars or joints must be secured, pivots examined to see whether worn or bent, and those working on end-stones[391] that they come through the holes. The fourth wheel pinion must be free in the hollow of the pillar plate and the center wheel in its hollow; a similar examination also must be made of the collet and pin which secure the great wheel to the fusee. If a chain is broken near the barrel end, the stopwork is probably defective or the spring too strong.
The following faults may be met with in the English stopwork. The stop may come opposite the fusee snail too soon or too late, allowing one turn too few or too many of the fusee; or the back of the snail may butt against the stop, and thus stop the watch after going for a few hours. Overwinding sometimes occurs in consequence of the stop-spring being locked between the shoulder of the stop and its brass stud; and the blade of the snail or the end of the stop may be worn or bent in cleaning.
In ¾-plate fusee watches, see that the balance does not come too near to the fusee, fourth wheel, center wheel, and sometimes the escape-wheel. It is to be observed that the breaking of a mainspring sometimes causes certain teeth of the great wheel to be strained.
480. Escapement. It may be well to note the few following particulars that should always be attended to. See that ruby-pin and pallet stones are firmly set, that neither pallets nor roller is loose on its staff, and that the lever and pallets are rigidly fixed together. The guard pin must be firm, the balance well riveted to its collet, the spring collet sufficiently tight and the curb pins firm. If there is a compensation balance, ascertain that each screws tight. The precautions to be observed in regard to the balance-spring are given in article 456.
[392]
481. Keyless Work. So great a variety of arrangements of the mechanism for winding watches at the pendant is met with at the present day that it would be impossible to give detailed directions in regard to their examination; the following general remarks, however, mainly taken from the work of M. A. Philippe on Keyless Watches,[6] will be found of value in directing attention to the points which most require it, and will suffice for any intelligent workman. Is should be observed at the outset, however, that the adjustment of keyless work is almost entirely a question of depths, and the workman who has thoroughly mastered this subject will rarely experience any difficulty in dealing with keyless mechanism.
Carefully observe each depth, etc., in succession, to make sure that no prejudicial friction occurs either between teeth or by contiguous parts coming in contact. All springs should act solely in the direction in which pressure is required of them. Special attention should be given to the intermediate steel wheel for communicating motion to the cannon pinion, when this exists, as it is permanently in gear with the train, so that any unevenness of the depth will effect the rate: if the minute wheel have too much end-shake or play on its stud, it is apt to ride on the intermediate steel wheel. The friction of the cannon pinion on the set-hands arbor must not be excessive, since it would involve too great a strain on the teeth of the minute wheel, nor too slight, since the hands would be liable to be displaced on releasing the set-hands stud. If the intermediate wheel has too much end-shake, limit this by an eccentric screw overlapping its edge.
[393]
Test the spring of the set-hands stud, to see that it is not too strong nor too weak and that it moves parallel with the plate. Failure in this latter particular might lead to its rising on to the rocking-bar or other pieces on which its acts.
The winding pinion depth must be examined to see that it is neither too deep nor shallow.
The set-hands stud-spring must be strong enough to resist any accidental pressure on the stud, but, on the other hand, the strength must not be excessive, as the spring will then be all the more liable to break, besides causing inconvenience when setting the hands. The course of the spring should be banked at the point which gives a good depth between the winding and intermediate wheels. The minute-wheel stud must be firm in the plate, as any accidental binding might otherwise unscrew it, occasioning the breakage of the dial. When the minute hand is carried by the set-hands arbor, and not by the cannon pinion, care is necessary in fitting this latter, for if too loose it will rotate in setting the hands without carrying the minute hand round, and the minute and hour hand will cease to agree.
It is important that attention be paid to the application of oil to keyless work, as, in its absence, rust rapidly forms, and the mechanism becomes bound. Of course, all bearing surfaces, such as the interior of the pendant, intermediate and minute wheel studs, studs or screws of the rocking bar or other surfaces on which wheels rotate, must be lubricated; an equally important point is to liberally oil the teeth of the winding pinion and the bevel or crown wheel that engages with it. The application of a little oil inside and outside the cannon pinion must not be forgotten.
[394]
482. It seems desirable to supplement the information here given by a few details, since we have observed that, either from want of patience or method, many watchmakers are not always successful in counting the vibrations.
483. To Practice Counting Vibrations. At the outset it is to be observed that to each vibration to the right there is a corresponding one to the left, so that it is only necessary to observe those in one direction, or else to count one for each two impacts of the escapement, in a minute (or half-minute), in order to ascertain the number of vibrations.
14,400 vibrations per hour correspond to 4 per second; that is 240 per minute, or 120 per half-minute, and the half of this number is 60.
Similarly, a 16,200 train would give 4½ vibrations per second; or 270 in a minute, the half of which number is 135.
An 18,000 train giving 5 vibrations per second, or 150 per half-minute, would count 75 in this interval of time.
This being understood, the required number of vibrations is to be ascertained as follows:
The movement is placed in such a position that the light is reflected from an arm of the balance, so that, by reference to some fixed point, (such as the side of the balance-cock, the stud, etc.), each return of the balance can be noted and counted. A very little practice will remove any difficulty that may be experienced in doing this. When the requisite skill has been acquired, one can listen to the impacts of the escapement while continuing to count, and in order to determine with greater facility the correspondence of the position of the balance[395] with successive pairs of vibrations, close the eyes from time to time while still counting. On opening them, the accuracy of the coincidence can be at once tested by the sight, and, with a little patience, it is possible to count the double vibrations with certainty in this manner, both by the eye and ear; it is only necessary when nearing the end of the minute or half-minute to continue counting aloud, while keeping the eye on the regulator: for the ear will guide the voice, which will thus accurately reflect the motions of the watch.
The above explanations will be sufficient to enable any watchmaker of average intelligence to acquire the power of counting vibrations, either in the manner here recommended, or by modifying it in any manner that may suit his temperament. This power, when once acquired, will be of very great assistance in his daily work, for before taking a watch to pieces that requires repair, he can in one or two minutes ascertain the number of vibrations it should make; he will thus be enabled to regulate the watch almost instantaneously when the necessary repairs have been completed. We would again observe that the main point is to educate the ear to ignore each alternate vibration, and thus to count only the intervals of the balance being in the same position and the same phase of its motion.
484. Vibration Counter. Leclerre’s Vibration Counter is shown in Fig. 227. R is a ratchet wheel with 30 teeth, mounted on a vertical plate, so that it can rotate freely. A pawl, v, prevents its movement except when forced forward one tooth at a time by depressing the spring gathering-click, p, a finger being applied to the button, o, each time the word “ten” is uttered. The number of teeth advanced thus[396] affords a record of the vibrations without there being any necessity to go into higher figures.
485. To Regulate a Watch. Place the movement near to a regulator or watch indicating seconds, in such a position that the eye can easily observe the periodical return of an arm of the balance, as already explained, and commence to count, always starting from the instant at which the seconds hand points to zero. Then count steadily 1, 2, 3, 4, etc., until this hand reaches 30 seconds.
Assume, as is very commonly the case, that the balance should make 18,000 vibrations in an hour, or 150 in a half-minute, and that, on counting its vibrations, we find 65 double vibrations, or 130 beats, whereas it should give 150. It is thus 20 beats slow. Advance the index, and repeat the operation; and so on till the regulation is effected.
A greater degree of accuracy will be secured by counting for a longer period, say one, two, or three minutes; but when this is done, it is advisable, in order to avoid confusion, to recommence at one after each 30 or 50 have been counted, because all that is required is the final deviation.
[397]
Remarks. 1. All men are not equally quick of perception, so that, in counting and uttering the word one, it will be found to correspond with the end of the first beat in the case of some observers, and its commencement with others. By practicing on a well regulated watch, a watchmaker can determine to which of these classes he belongs. If to the second, he should double the one at starting; in other words, he should count thus:
1, 1, 2, 3, 4, 5, etc.
2. Advantage may be taken of the principle of the sounding-board by placing the watch on a sonorous body which will make the vibrations louder, or by placing between the plate of the watch and the ear a rod that is a good conductor of sound. By either or both of these means, the operation is rendered very easy, especially if the vibration counter recording the tens is employed.
486. Another Method of Regulating a Watch. When the movement is in going order, arrest the balance and make a mark with rouge on one arm of the escape-wheel. Release the balance when the seconds hand of the regulator crosses 60. Observing the number of revolutions that should be made by the escape-wheel in a given time (it would be six turns per minute with an ordinary 18,000 train), count its revolutions while the fourth wheel makes one complete turn; indeed, even this counting may be avoided by making a rouge mark on its edge where it corresponds with the mark already made on the escape-wheel. If after two or three minutes these two marks are found to occupy similar positions at the instant the seconds hand of the regulator crosses 60, the watch is to time. If there is any difference it is easy to ascertain whether this indicates a gain or a loss, and the index is moved accordingly.
[398]
487. To Regulate a Clock. The timing of timepieces by counting vibrations is much more easy than that of watches.
Before removing the pendulum count the number of its vibrations during two or three minutes. This time will be sufficient to afford a guide in regulating the clock after it has been repaired.
In most modern timepieces the escape wheel makes 120 revolutions in an hour, or two in a minute. Hence we have two modes of timing.
(1). Having made a light mark on the circumference of this wheel opposite to a fixed point, observe if the coincidence is maintained after intervals of two or three.
(2). Multiply the number of the escape-wheel teeth by 2, and the product by 120. This gives the number of oscillations the pendulum should make in an hour. Thence deduce the number it should make in two minutes, or the number per minutes can be obtained by multiplying the first product by 2, and it only remains to count the number actually performed in any definite interval.
488. Guilmet’s Synchrometer. When a clock is to time, its pendulum makes a certain definite number of oscillations per minute, dependent on the train. If, therefore, before taking it to pieces a comparison pendulum be set to make the same number of oscillations as that of the clock, or if the former be set to make the number which the train shows that the clock pendulum should perform, it can be used as a term of comparison for setting the clock to time after it has been cleaned. This is the principle on which the synchrometer is based. A pendulum is lightly supported on a frame, and has an adjustable rod sliding in a tube, and graduated so that it[399] can be firmly set without difficulty to give the various periods of oscillation commonly met with in timepieces. The pendulum is hung freely without any train to drive it, and continues to oscillate for two or three minutes, quite long enough to ascertain whether agreement is maintained between the two pendulums.
489. Other Methods of Regulating a Clock. Various plans have been recently proposed for rapidly timing a clock, all based upon one idea: namely, the temporary addition of a seconds hand for purposes of observation. That suggested by M. Jacomin is recommended by its simplicity.
Having removed the pin and washer that maintain the minute hand in position in an ordinary timepiece, replace them by a light brass cap that can be fixed by a screw or in any convenient manner, so that a fine steel pin projecting from it shall be accurately in the axis of the minute wheel. Part of a watch movement, comprising only the center, third and fourth wheels with seconds hand attached, is supported in front of the clock dial, so that this pin can be inserted in place of the set-hands arbor, and it is evident that, if the clock is to time, the seconds hand should perform one revolution per minute as it will form part of the clock train. The length of pendulum must then be varied until this condition is found to be satisfied.
490. To adjust a watch so that it has the same rate when first placed in a horizontal and then in a vertical position is a delicate and often difficult operation; thus it is seldom found to be properly done in ordinary watches.
[400]
The rates in a vertical and horizontal position are made identical or nearly so by equalizing the resistances that interfere with the motion of the balance in the two cases, and by taking advantage of the displacement of the center of gravity of the balance spring.
Satisfactory results will be obtained in most cases by employing the following methods, either separately, or two or more together, according to the results of experiments or the rates, the experience and the judgment of the workman:
1. Flatten slightly the ends of the balance pivots so as to increase their radii of friction; when the watch is lying flat the friction will thus become greater.
2. Let the thickness of the jewel-holes be no more than is absolutely necessary. It is sometimes thought sufficient to chamfer the jewel hole so as to reduce the surface on which friction occurs; but this does not quite meet the case, since an appreciable column of oil is maintained against the pivot.
3. Reduce the diameters of the pivots, of course changing the jewel-holes. The resistance due to friction, when the watch is vertical, increases rapidly with any increase in the diameters of pivots.
4. Let the balance spring be accurately centered, or it must usually be so placed that the lateral pull tends to lift the balance when the watch is hanging vertical. In this and the next succeeding case it would sometimes be advantageous to be able to change the point at which it is fixed; but this is seldom possible.
5. Replace the balance spring by one that is longer or shorter but of the same strength; this is with a view to increase or diminish the lateral pressure in accordance with the explanation given in the last paragraph.
[401]
6. Set the escapement so that the strongest impulse corresponds with the greatest resistance of the balance.
7. Replace the balance. A balance that is much too heavy renders the timing for position impossible.
8. Lastly, when these methods are inapplicable or insufficient, there only remains the very common practice of setting the balance “out of poise.”
If there is a gain in the vertical hanging position of the watch, slightly reduce the lower side of the balance; the oscillation will increase somewhat in extent, and there will be a losing rate in this position.
The converse must be done in the opposite case.
When the vibration exceeds a whole turn, the changes will be the reverse of those above indicated. This fact must not be forgotten, especially in regard to the duplex and lever escapements, which may at first make a vibration of more than a turn, and subsequently less, according to the state of the oil.
We would again observe that the timing of a watch for position presents some difficulty, and it will only be after making a number of trials that the watchmaker will be able to accomplish it with certainty.
491. Two very important elements in the timing are the weight and dimensions of the balance; it is, then, necessary that a watchmaker should practice himself in observing their relative values, and the effect of increasing one at the expense of the other on timing, and more especially on timing for positions.
The sensibility of a balance to variations in the motive force, and the time that elapses between the initial short[402] vibration and the first that is of normal extent, a time that is approximately constant will serve as criteria. A balance that is very sensitive to variations in the motive force is generally too small; and one that attains to the normal arc of vibration almost instantaneously is, as a rule, too light. The converse effects would indicate that the size and weight were excessive.
In order that he may be able to practically apply these remarks, the workman should gain experience by making observations on several watches whose rate is known to be good, in the following manner.
In regard to weight: Stop the balance at the position of rest of its spring, then release it and count the number of vibrations up to the point at which the normal arc is attained; the extent of this must have been previously recorded on the plate with rouge marks.
Record the number thus obtained in a table opposite to the dimensions of the balance, and, by comparing these dimensions with those of another balance of equal size, the weight can be ascertained and also recorded.
In regard to size: Pass through the center pinion a kind of short screw arbor carrying a large thin ferrule, on which a cord supporting a weight is coiled. Fixing the movement in a movement holder, set it in a vertical plane and observe the extent of the vibrations of the balance with different weights attached to the cord.
These arcs should also be recorded in the table opposite to the dimensions of the balance. With sufficient practice the watchmaker will be enabled to judge at a glance whether the weight and size are well proportioned.
[403]
492. The following method of removing the magnetism from a watch that has been accidentally brought under the influence of a powerful magnet is proposed by Professor A. L. Mayer. We shall not here enter more fully into the subject than is necessary to indicate the manner in which a watchmaker may restore the steel work to its original condition.
Take a delicately suspended magnetic needle, say a mariner’s compass, the length of which is about equal to the diameter of the watch, and lay it on a table. Now place the watch to be operated on, which should not be going, on the table close to the needle and on either the east or west side of it, having previously turned the box around until the needle points to zero. Taking care not to vary the distance between the centers of the watch and compass, observe the number of graduations to which the north end of the needle is deflected with each figure on the dial brought in succession nearest to the compass; it is also necessary to note whether the deflection is towards the east or west.
For example, assume that the watch is on the east side, and that, with noon nearest to the compass, the north end of the needle is turned 12° to the east, that is, towards the watch. This shows that some point in the watch in the neighborhood of the number XII on the dial possesses what is known as “north polarity,” and if the deflection had been to the west the polarity would have been “south.”
493. To take an example. Let the results of a series of trials with the several hours in succession towards the compass be as given in the following table:
[404]
| Hour nearest to the Compass | I | II | III | IV | V | VI | VII | VIII | IX | X | XI | XII |
| Angle of Deflection | 5° | 18° | 72° | 56° | 22° | 5° | 17° | 16° | 16° | 20° | 24° | 20° |
| Direction of Deflection | E | W | W | W | W | E | E | E | E | E | E | E |
| Hence Polarity is | N | S | S | S | S | N | N | N | N | N | N | N |
It will be seen that the greatest deflection westward corresponds to three o’clock, and, in the easterly direction, to eleven o’clock. This shows that the strongest south and north polarity are respectively in these directions. The first thing to be done is, then, to eliminate this particular magnetism. Placing a bar magnet in a horizontal direction, approach the watch to its south-seeking end in such a manner that a line X X′, Fig. 228, through the axis of the magnet, will pass through the center C of the watch, the figure XI, which marks the point of extreme north polarity, being nearest to the bar magnet. Now cause the watch to oscillate so that it alternately takes up the two positions A and B, and, when this has been several times repeated, bring III in a similar manner near the north-seeking pole of the bar magnet, oscillating the watch in the same way. Again try the watch with the compass, repeating the above[405] operations if necessary until the readings are somewhat as follows:
| Hour nearest to the Compass | I | II | III | IV | V | VI | VII | VIII | IX | X | XI | XII |
| Angle of Deflection | 5° | 4° | 0° | 5° | 8° | 2° | 4° | 4° | 2° | 1° | 0° | 2° |
| Direction of Deflection | E | E | W | W | W | E | E | E | E | E | ||
| Hence Polarity is | N | N | S | S | S | N | N | N | N | N |
These figures show that, in counteracting the polarity at III and XI, the magnetic action of the watch in all other positions has, as might indeed have been anticipated, materially diminished. Such a condition of things will, of course, not be attained at once, and it may even happen that the polarity at the two points III and XI is reversed; in such a case it is only necessary to oscillate the III in front of the south-seeking pole instead of the north.
The last table shows that a maximum south polarity is now at V, and north at I. These points must therefore be operated upon in the same manner, and, by proceeding in this manner, and successively eliminating the worst points, the magnetism may be effectually removed.
As proving the efficiency of the above method, Prof. Mayer mentions a case in which a watch lost one hour in six in consequence of magnetism, and yet after the above treatment, it resumed its original rate of about a second per day.
494. Another Method. A second method of procedure has recently been described by H. S. Maxim. He employs a specially arranged apparatus, based on the principle that if a watch or other object be subjected to[406] rapid alterations of magnetism, while gradually withdrawing it from the influence of the magnetic poles, the distance ultimately becomes so great that the reversals are inappreciable, when the watch is found to be demagnetized. A bar magnet is arranged to revolve in a horizontal plane around a vertical axis; the watch being placed in a small pocket opposite to the magnet, is caused to rotate in an ever-shifting vertical plane, while the frame supporting it rotates in a horizontal plane. While these movements continue the watch carrier is gradually moved away from the magnet by the action of a long horizontal screw, and it is stated that watches that have been completely spoiled can be rendered perfectly free from magnetism by such an apparatus.
[6] Les Montres sans Clefs (Geneva).
[407]
495. The practical operations of the watchmaker are numerous and of a very varied character. Detailed instructions in regard to the proper conduct of a large number of them will be given in this part of the work, and frequent references will be made to former parts of this volume, whenever by so doing repetition can be avoided.
The operations herein discussed are often of so dissimilar a nature that it has been found impossible to classify them in such a manner that will always ensure the reader finding the information he requires without waste of time; and any risk of this would seriously impair the value of such a hand-book as the present. A very full index has therefore been added, and when seeking for details concerning any particular operation, this should in all cases be first consulted.
496. To Make a Plate. The sheet of brass having been prepared in the manner explained in article 103, roughly rounded and smoothed on one face, is cemented to the chuck of a lathe. Turn out the other face of the plate very flat, and make the circumference square.
When using a lathe the face must first be roughed out, and then the plate is to be cemented to a perforated plate, so that it can be centered and finished. Smooth[408] the exposed face with a well-set cutter and turn the inside and outside of the edge; then make sure that the whole is concentric by a light cut with a cylindrical drill in the center hole. After removing and cleaning the plate it is set up in the dogs, and the face that has hitherto been untouched is gently dressed with the graver.
There will thus be left a narrow ring at the edge that is not touched by the graver: this may be levelled with a smooth-cut file, and the whole surface then smoothed as explained in article 171.
If a lathe is not available, the plate must be cemented to an arbor of the form shown at Y, Fig. 229. The heel of this is received in a runner of the turns, while the point of the opposite runner is received by the hole in the center of the plate, which is thereby held in close contact with the plate of Y, the revolution being, of course, produced by a bow. While the cement is still hot, a stick resting on the T-rest will serve to ensure the concentricity of the plate until it is set. This setting may be rendered more rapid by the application of cold water.
Turn out the plate with a hooked graver made of a worn out file, and, if the upper or under side does not run true, turn the portion that projects beyond the chuck with a graver, and, when the plate is removed, face the surface, taking the flat ring produced by the graver as a guide, and taking care to avoid altering any portion of it.
The smaller sinks can also be made in the same primitive manner, to which we have only drawn attention for the sake of watchmakers who are ill-provided with tools. But we would at the same time point out that, at the present day, there should not be a single one who does not know how to extemporize a lathe-head.
[409]
497. Cocks and Bars. If it is required to make all the cocks and bars of a watch, prepare a false plate, the thickness of which is a trifle greater than that of the highest cock or bar; then turn on the under side a series of sinks to correspond with the thin portions of the cocks and bars. Cut the several parts out of this plate with a fine saw, and it only remains to shape their contours with a file.
The same method may be adopted if a number of identical cocks have to be made at a time.
498. To Make a Barrel. Having trued both faces of the brass, and drilled a central hole rather less than that finally required and exactly perpendicular to the faces, turn away the brass from the inside (leaving a considerable excess of metal at the center to form the shoulder), and form the ring on which the teeth are to be cut, if it is a going-barrel, in the ordinary lathe on a wax chuck. Then fasten the plane surface, which must be quite true, to a smooth plate that is of uniform thickness and has a hole in the center to permit the passage of the pump-center. Having fixed the plate by the mandrel dogs, finish with well-set gravers: 1 the inside; 2 the external cylindrical surface both of the barrel and of the ring left for the teeth; 3 the barrel-cover groove; and 4 with a fine-pointed cutter slightly enlarge the central hole. By this means it is possible to ensure that the barrel will turn true and in the flat. Smooth the inside, more especially the groove, the corner of which must always be carefully smoothed and polished.
[410]
The cutting of the recess in the barrel-cover (of a Swiss or French watch) that gives freedom to the motion work, as well as the recesses for the stopwork, will not present any difficulty when the workman is provided with a lathe with or without a slide-rest.
When there is no slide-rest, the tool shown at D, Fig. 230, can be used for making the groove. A strip of metal of rectangular section has a small cutter clamped in a slot in its surface at a slight inclination. By releasing the two screws of the clamp, this cutter can be advanced to any required extent, and in the strip of metal are two or three slots having different degrees of inclination, so that the one can be selected that corresponds with the depth of the groove.
499. To Make the Star-Wheel Sink. This is easy on the lathe, the requisite degree of eccentricity being given to the barrel-cover by means of the pump-center.
500. The Cover: Form of the Groove. As in making the barrel, a thick ring must be left at the middle of the cover to be afterwards removed.
Fig. 231 is an enlarged figure to show the mode in which a cover is held in its groove. The two are so formed that the cover shall pass into the recess with the least possible resistance, and yet be held firmly without a risk of rotation. It is, nevertheless, a good precaution to fix a pin in the rim so that it shall prevent such an accident.
[411]
501. Barrel Hook. It is necessary to observe that a certain amount of caution must be exercised in regard to the barrel hook, for at least three-quarters of those met with are badly made. A large hook, projecting far into the barrel, as often occurs, occupies a needless amount of space, and at times occasions the breaking of the spring. One that is badly formed or does not project sufficiently allows the spring to escape. A hook should project rather beyond the thickness of the spring; if too thick the spring will be weakened at its eye; if too thin, it is liable to give when the pull of the mainspring is exerted on it.
The circumference of the barrel must be drilled through exactly midway between the bottom and the groove, in a direction that is slightly inclined, so as to resist the pull of the mainspring. A thread is cut in this hole with a conical tap, arresting its advance just before the full threads are reached, in order to make sure that the brass screw to be subsequently inserted shall hold firmly. Then tap the brass wire from which a hook is to be made. Allowing a length to project beyond the screw-plate equal to about one and a half times the thickness of the mainspring, file the two sides flat, round off the point, inclining it slightly backwards, and form the hook with a fine screw-head slitting or other suitable file; then remove the wire from the screw-plate and hold it in a pin vise.
The angle a (C′, Fig. 232) is now filed down so as not to project within the barrel; any burr that might interfere with its introduction is also removed and the hook is then screwed into its place. It will be easy to ascertain whether the various heights, etc., are correct before screwing it[412] tight home. Then screw the hook into position so that it requires the application of some force in doing so and cut off the external portion level with the surface of the barrel, employing a sharp cutting file. But if it appears necessary to withdraw the hook to make any alteration, this should be done before bringing it to the final position.
Some watchmakers do not take such precautions; they fit a piece of hard brass wire to the hole, beveling off the end that is to form the hook, then cut off the wire nearly flush with the outer surface of the drum and, resting the back of the hook against a piece of steel, give a blow with the hammer so as to bend the point of the hook. But this method, although expeditious, is not the best and it does not always succeed.
502. To Repair a Barrel. When the play or the end shake of the pivots is considerable, bush the holes with bushings turned on a smooth taper arbor. They must not be riveted roughly, as there is a danger of distorting the bushing or of causing the bottom of the barrel to “cockle.”
If there is any fear that the bushing will be thus distorted or that the barrel will not run true after the operation, it will be well to employ large bushings in which the hole is less than that ultimately required. Then center from the circumference and enlarge the hole, at the same time truing it.
Some practical watchmakers, if the bottom of the barrel is thin, or if special solidity is requisite, fear that the bushing may become loose; they, therefore, enlarge the barrel-hole and make it square; then bush it with a piece of plain brass, and having centered the barrel by its circumference in the lathe, drill a central hole.
[413]
It is hardly necessary to observe that, when the holes in both barrel and cover require to be operated upon, a pin should be fixed so as to prevent the latter from rotating in its groove; so that before finally removing the barrel from the lathe, the cover can be put in position to have its center accurately adjusted with a long pointed graver.
503. A Barrel That Does Not Run True. The remedy for this has just been indicated: enlarge the holes and rivet in them bushings that are either plain or have only very small holes. The two holes can then be accurately centered with a slide-rest and cutter of the requisite form.
It is a very simple process, and yet there are some workmen who, either from not possessing a lathe or ignorance as to how it should be used, set the barrel on a screw arbor, and, after having topped the teeth, round by hand those teeth which have been touched. This method of procedure is longer than the former and gives results that are worse; moreover, since the screw-arbors are rarely themselves true, especially in regard to the cones, which will be found to have a play on the axis, it is far better to set the barrel in cement on an arbor of the form C, Fig. 233, on the center pin of which the barrel-hole fits without play; the middle of plate C must not be too thickly coated with cement.
504. Barrel Out of Upright. Several methods may be resorted to for adjusting a barrel that does not turn flat on its axis. Assume that the holes are not too[414] large, for it has just been shown that by bushing the holes and truing them on the lathe, it is always possible to ensure that a barrel shall be true on its axis.
To true it without renewing the holes, first try turning the cover round in its groove by successive short stages, and test its truth each time; the arbor being clamped in a pair of sliding tongs and a card held close to the teeth. If, after the entire circumference has been tested, no point is found that satisfies the requisite conditions, the edge of the cover must be gently hammered (a piece of silver paper being first laid on the anvil so as to avoid marking the gilding) on the side at which the teeth pass farthest from the card and the effect of the operation must be tested. This hammering should be done very carefully and little at a time, and if too great a strain is put on the cover to force it into the groove, some metal must be removed from the side opposite to that at which the hammering occurred. Hence, if the one side is too much extended in the first instance, so that a large amount of metal has to be removed from the opposite side, the operation is liable to be unnecessarily long and difficult. It is hardly necessary to observe that we are here referring to the modern form of going-barrel, in which the cover is on the opposite side to the teeth; in the older form, where the reverse is the case, the opposite edge of the cover must be hammered.
Sometimes a barrel that runs true on its arbor is found to incline when mounted on the plate: such a fault is due either to the barrel holes being too large or to the sink that receives the ratchet not being parallel to the plate. This sink must be trued in the lathe while in position, screwed to the plate of the watch.
[415]
505. To Adjust a Post or Curb in Position. Make a small punch, a front and side elevation of which are shown at p p, Fig. 234; harden it and let it down to a yellow temper at the point. Now fix a flattened ball of lead in the vise, the upper surface of which is so formed that the portion of the barrel that is to receive the hole for the post may rest securely. There is no necessity for the entire barrel to rest on the lead. Place a small piece of mainspring, q, within the barrel against the circumference, where it will be maintained by the punch p, which will also hold the barrel steady on the lead block. Then give a moderate blow with a heavy hammer on the head of the punch, forcing its point through the barrel.
A burr will be produced outside the barrel, while there will be a corresponding depression within, especially in front of the hole. To secure clean edges, pass a file over the external projection, but only sufficiently to remove its crest, and, resting the inside of the barrel on a lead block, drive inwards the metal that projects; then pass the punch through in a direction opposite to the first and of course with less force. Remove the burrs and repeat the operation first on one side and then on the other with gentle blows of the hammer, removing the punch by hand. Finish with a very fine file, which will entirely remove any external burr round the hole, and one cut with a slide-rest cutter in the inside, followed by charcoal and oil.
A watchmaker that has never performed this operation will do well to experiment with the punch on a small plate of brass, or, still better, on a worn-out barrel.
To insert the post, coil up the mainspring in the winder so as to be able to introduce a slightly conical piece of[416] steel or brass between the two last turns of the spring and near to the hole. Place the post in position and hold it and the spring while the wedge that keeps the coils apart is removed. If the opening thus secured was found to be insufficient, it might be increased by introducing a screwdriver, which is held down until the post is inserted. The making of this curb, shown at b, Fig. 234, will offer no difficulty.
506. Stopwork. If the pitch circles of the finger-piece and star-wheel of several Geneva stops be measured, it will be seen that three different proportions may exist (Fig. 235), in which the former is less than, equal to, and greater than the latter respectively.
When the finger-piece has a greater diameter, as at d, it will oppose an increased resistance to the hand in winding, but the direction of its pressure against the stop will be much below the center of rotation of the star-wheel, because the finger is necessarily very short.
When the finger-piece is very small, as at a, there will be less resistance opposed owing to any want of freedom of the star-wheel, and the pressure against the stop will be more nearly tangential, the finger being relatively long; but more care will be required in the construction and, for a given force applied to the key in winding, there will be a proportionately increased pressure against the star-wheel axis.
Inconveniences thus increase in proportion as either piece is enlarged as compared with the other, and the best proportion is secured by making the two diameters equal, as shown at c b.
[417]
The stud on which the star-wheel rotates should be cut square or, preferably, slightly conical downwards.
507. To True a Star-Wheel. The form of a star-wheel can be adjusted on the lathe, on the tool shown in Fig. 208, using a cylindrical mill-cutter and adding a stop so that the branches of the tool are always brought to the same distance apart.
Star-wheels can be bought of the material dealers, but they are not always equally divided; indeed, some exist that have been merely punched in the punching press. Hence it follows that many of them are characterized by at least one of the following faults: teeth of unequal length, or with their concavities of unequal form.
When the teeth are well formed and finished at their ends, but of unequal length, this arises from the star-wheel having been badly centered during the operation of cutting; it must then be re-centered. Take a small brass plate H, Fig. 236, and drill a hole at its center, with a notch at the edge, a, to receive the convex tooth without shake. Now place the plate in the lathe and turn out a sink to receive the star-wheel and hold it firmly. The convex tooth will then drop into the notch and the wheel should project a little above the face of the plate. Now release one dog, and, having gripped with it one tooth of the wheel, take a fine-pointed graver and true the central hole and the sink that receives the screw head, taking care only to remove a small quantity of metal at a time.
If the workman has not considerable experience in using the lathe and fears a derangement in releasing and again tightening the dog, he had better remove the plate,[418] cement the star-wheel in position and replace it, when it can be re-centered with the pump-center.
508. To Make a Finger-Piece. After having drifted the square hole in the center of a steel disc of suitable dimensions, and traced out a line to mark the circumference of the disc and the end of the finger, drill two holes a little beyond this line, leaving such a space between them as to ensure that the base of the finger shall possess sufficient strength; but these holes should be drilled so far in towards the center of the disc that freedom is left for the corners of the star-wheel teeth during its rotation. The head of the finger is at first left so as to exactly fit the spaces of the wheel without play, this being subsequently given with a fine file and in the smoothing.
File the circumference all round so as just not to touch the line traced out; then, putting the disc on an arbor, hold a fine barrette file against the edge, and cause the arbor to oscillate backwards and forwards, the file coming in contact alternately with each side of the finger. This smoothing of the rim will materially facilitate and abridge the final work with the graver. The corner of the rim on one side of the finger having been finished off with the graver edge, reverse the arbor between its centers to treat the other corner in a similar manner. A finger-piece made as here explained will be found to be very true.
Some watchmakers, when it is possible, finish the circumference after it has been adjusted on the barrel-arbor itself; but as a rule this is not necessary.
The slit that receives the pin may be cut as follows: File a square piece of brass to fit the hole in the finger-piece, cut a notch across the end with a screw-head file,[419] and insert it in the square hole. Having centered a flat cutter, the thickness of which is equal to that of the slit to be cut, on a taper arbor, place this in the lathe; resting the brass horizontally on the T-rest (which had better be at the back of the lathe, so that the progress of the operation may be more easily observed) and present the notch to the cutter.
509. It will be understood that the foregoing details relate to the method to be adopted in making the finger-piece by hand, but it is very easy to arrange an addition to the ordinary lathe, with or without a throw, for rounding or truing the circumference with great rapidity.
Having mounted a circular mill-cutter on an arbor in a chuck, as seen at R, Fig. 233, replace the T-rest by an upright that has a shoulder, and is truly cylindrical, and of a diameter to fit the support without shake; the finger-piece, D, is fixed to its upper end by a cone and nut, as in the screw-arbor, or by any other means. A lever l is adapted to the vertical rod, so that it can be rotated between two stops on the lathe-bed; such stops are, however, not always needed, because by employing a thick cutter that is smooth on the face there is no danger of damage to the finger. At the same time, if there are no stops, considerable care is requisite in the smoothing and polishing to prevent the sides of the lap touching the finger. This can be polished afterwards in a very short time by using a lap that has been turned on the edge to fit the notch. It is useless to enter into further particulars, as the little appliance or one of an analogous description can be easily made.
The apparatus shown in Fig. 195, and described in article 402, could be employed for such a purpose.
[420]
510. To Make a Clock Barrel. A strip of soft brass, thicker than the circumference of the drum is intended to be, is coiled into a circle rather less in diameter than the required barrel, on a cylinder of hard wood, either by pressure between the jaws of a vise, or with a mallet or hammer. The two edges, after being carefully cleaned, are soldered with silver solder or brazed, while they are held in position by a piece of binding wire wound round the drum.
Placing this ring on the nose of a beak-iron, harden it by gentle blows, so as not only to harden the brass, but also to increase the diameter and make a true cylinder.
Chuck it on a cylinder of hard wood in order to turn the two ends square, and form the edge that is received in a groove cut in the bottom of the barrel; the bottom is then soft soldered in position. In the older barrels that contained very strong springs, it was often the practice to leave tongues projecting round the drum that entered holes in the bottom and were riveted on the other side.
The barrel may be cemented to a large wax chuck that has as its center a short arbor tapped and provided with a washer and nut, or it may be gripped by its base in the universal head, and the surfaces, etc., finished.
Some of the details given in regard to a watch barrel are applicable here.
The drum is now no longer made by bending a strip of brass, except in country towns, because brass tubing is always to be obtained in cities at metal warehouses, which only needs to be cut into rings of the requisite length.
511. To Make a Barrel-Arbor. If the metal is in the rough and has the scale on, it must be cleaned either on the stone or with acid. The following method of procedure has been proved in practice to be expeditious:
[421]
When the arbor has been turned to shape with the graver, smoothed, and almost polished, it is placed in the barrel and should rotate when in position, but with considerable friction. Then make the two squares as explained below (513); and, after smoothing that which receives the finger-piece, set this latter in position on the arbor and see that it does not descend quite to the shoulder. Then replace it by a worn out finger-piece, or by a copper disc that is cut so as to allow of the insertion of the pin in exactly the same position as is required by the finger-piece to be definitively used. It is then easy to drill the pin-hole from either side of the square and to smooth it with a fine broach. Each time that the arbor has to be inserted in the barrel, great care must be taken to remove any burr, as it might damage the barrel holes.
Before hardening the arbor, cut in it two grooves of moderate depth at the points at which the ends must be broken off. Such a practice has two advantages: 1. The two waste points of the arbor can be removed and each end partly formed without employing a file, an arrangement whereby it is possible to maintain in the arbor a maximum of hardness, at least at the winding end. 2. If the arbor is distorted, it will not be in the body, but from the points at which these cuts are made. If any distortion occurs, the blow-pipe jet can be directed on the points, which are then removed with a file before the final polishing.
512. To harden the arbor, place it in an iron tube and surround it with powdered charcoal which is pressed down, having previously been well dried. When the whole has been heated to the requisite temperature, throw it into water, and, if the precautions already explained under hardening are adopted, the arbor will be[422] found to be smooth and clean and without either scales or blisters on its surface. Clean and polish it; this latter operation will give the proper freedom to the pivots, although it often happens that a touch with a broach is required in the two holes.
The bevelled groove within the ratchet teeth is polished by rotating the arbor while a small steel plate, perforated at its center and of the form shown in plan and section at Z, Fig. 237, is held by the hand against the groove. The shoulders can be easily and rapidly polished in the tool represented in Fig. 44.
513. To Make the Squares. To Make Drifts. The tool shown in Fig. 238 is used. On the plate P, which is at right angles to the foot S, is fixed a frame that carries two hard steel rollers, c and d, the edges of which are extended to form a guide.
A bent finger b is hinged on a screw on the side of the plate, and has a hole j drilled in it, which is continued for a short distance into the plate P.
The following is the method of using the appliance: Fix to the arbor a disc, indicated by dotted lines, in the circumference of which are four equidistant notches to receive the nose of the finger b. The rod S takes the place of the T-rest and the arbor is placed between the centers of the lathe. As S can be raised or lowered to any position and the runners can be moved laterally, it is easy to bring the point at which the square should[423] commence to correspond with the line n n. The finger b having been inserted in one of the notches of the division-plate, reduce the arbor with the file L. Move b to the next notch, and repeat the operation, and so on with the other two sides.
If there is any danger of the finger not maintaining a sufficiently firm hold of the plate, a tight-fitting pin can be inserted in the hole j.
At first the arbor should be filed away less than is actually required, and the only adjustment necessary to ensure this is the raising of S to a suitable height. No difficulty need be experienced in this, but, if any doubt is entertained, a screw may be supported from the bed of the lathe, terminating in a rod that passes through the plate P, as indicated at t for example, thus securing perfect regularity in the upward and downward motion of the system.
If a tapered square is required, it will be sufficient to slightly incline the frame by means of two screws v i, placed near its left-hand edge with their ends resting on the plate P.
514. To Drill Exactly Through the Center of the Arbor. Of course, if the old arbor-nut is available, it will afford the best guide for performing this operation, and, if the arbor is tapped, such a hole will not be required. But when neither of these conditions is satisfied, the workman will have two slight difficulties to overcome: the drilling of the arbor and its nut exactly in the center and parallel to the plane of the ratchet. By adopting the following method, he can easily satisfy these conditions:
515. Take a brass disc D, Fig. 239, turned smooth on its two faces. Enlarge its central hole until the[424] barrel-arbor enters it to such a distance that a blow of a mallet will drive it up against the ratchet where it should hold firmly. This disc is chucked on the lathe and a groove is formed that passes exactly through the center. Ascertain by means of a douzieme or a thickness gauge whether the thickness of the disc, measuring from the bottom of the groove to the under side, is equal to the space between the shoulder of the arbor that corresponds to the outside edge of the barrel hole, and the point at which the hole should be drilled. If the thickness is excessive, diminish it from the under side; if, on the other hand, it is not sufficient, fit some thin discs on the arbor, and then force the brass disc to the position thus determined upon. It is hardly necessary to add that when this is done, holes must be drilled to some depth on either side of the arbor, using a drill that does not shake about in the groove although quite free and inclining slightly downwards so that the hole shall not be above the point determined upon, namely, the bottom of the groove. Continue the drilling until the two holes meet, the drill being maintained, during this part of the operation, parallel to the face of the ratchet.
516. If the workman is not provided with a tool for cutting the groove exactly in the axis of the disc, the accuracy that is so essential can be ensured as follows: A brass rod G, Fig. 240, is divided into four at the end as near the center as possible by means of a fine saw or a file that only cuts with its edge, which will be used to form the groove. Set the rod G in the[425] lathe, a center of the form f being inserted at b where the slits cross, and turn down the rod G b, although only a little metal should need to be removed, until it enters the hole in the brass disc and projects a short distance on the other side. It then only remains to insert in one of the notches of G b the cutting file or the saw previously used, to form a groove on the surface of the disc that passes exactly through its center; it is to be remembered that the saw, etc., must only cut with its edge, and should enter the notch with a very slight friction, sufficient to indicate that it fits without play.
517. The Arbor-Nut. The usual practice is to make the diameter of the nut equal to one-third that of the inside of the barrel. With thick springs of but slight flexibility it must be larger so as to avoid overstraining the innermost coil, and, conversely, with a very thin spring it is diminished, rendering the employment of a longer spring possible. When the nut is too small the spring must be made long, and, by setting up the stopwork, a coil of the spring can be maintained always on the nut.
518. To drill the nut along a diameter. By means of the rod G, Fig. 240, draw a straight line to indicate a diameter of the nut. This line will serve as a guide for marking two points opposite to one another on the circumference, round which a circle has previously been traced with a graver. The points should be marked so deeply as to ensure that the drill does not displace itself in the initial stages of the drilling; with a little caution, and using a glass, very little difficulty will be experienced in ensuring that the points are in a right line. One of the two following methods may be employed for drilling the nut:
[426]
1. Prepare a brass block of the form shown at f p f′, Fig. 241, the space A being cut away, and the end p provided with large-headed screws, shown at v, v, in the plan. The two faces, f, f′, must be parallel to each other, and at right angles with the face p, a condition which can be easily satisfied by means of the lathe, the face f′, for example, being turned towards the headstock, and the dogs introduced into the space A; the opposite face f is then trued with the slide rest. In the vertical face a a make a round hole, through which a pointed center passes, being pressed forward by a spiral or other spring, and the point corresponding exactly with the line a a traced on the face of the brass; of course the axis of this center must be at right angles to the same line. A small block may be inserted within the space A to prevent any flexure of the arms.
An inspection of the figure will make clear the manner in which this little tool is to be used. Having fixed the nut on the face p by the screws v v, so that the two points on its circumference coincide with the line a a, the whole is placed in the drilling tool with the dogs pressing either on the upper external face or in the space A. After the block is fixed, ascertain by rotating the uprighting spindle that its point coincides in all positions with the top mark on the edge of the nut, and drill as usual. Drill one side, invert the block, and proceed in a similar manner to drill the other.
[427]
The little appliance above described might be simplified by being made of the form shown at E, which would require to be reversed when the second hole is about to be drilled.
519. To Polish the Inclined Faces of Ratchet Teeth. Set the ratchet in slow rotation by means of the foot-wheel, and bring a strip of spring covered with coarse rouge and oil against it from the side, resting the strip on the T-rest. In a very short time the teeth will be rounded and polished. This process is similar to that adopted at the present day for polishing the inclines of cylinder escape wheels in the lathe. The position of the polishing spring and its inclination must be determined upon by trial, so as to make sure that the entire surface of the tooth is acted on.
520. Another method is to make a small boxwood lap, and arrange it as shown at M, Fig. 242, so that, when caused to revolve on its axis, which may be more or less inclined, it is brought into contact with the ratchet wheel with its axis, as indicated by the figure. The teeth will cut into the wood, and trace out a helix, as seen at M′, and the lap, passing successively into the ratchet teeth, will cause it to revolve rapidly. When the groove is deep enough, apply some coarse polishing rouge to the surface of the drum; after a few rotations the faces will be found to be polished.
The arbor and lap may be arranged in either of two ways.
Mount the lap between the centers that carry the cutter in a wheel-cutting engine and support the barrel-arbor[428] opposite to it in a vertical direction between the chuck and the bent arm or “gallows” used to fix a wheel while cutting its teeth.
A watchmaker who is not provided with this tool must chuck the lap in the lathe, then mount the barrel-arbor in such a carrier as is shown at p p, Fig. 242, and, resting its base on the T-rest, hold the ratchet against the lap, determining the most suitable height and inclination by trial; this, he will find, can be easily done.
521. To Polish the Circular Groove in the Ratchet. It takes a long time to accomplish this by using first, an iron polisher with oilstone dust, then one of copper with rouge and oil. The operation can be performed more expeditiously by using an iron runner, as shown at B, Fig. 243. The end is rounded to correspond with the groove; and the hole, which is indicated by dotted lines, should be large and funnel-shaped, so as to avoid contact with the corners of the winding square when a see-saw motion is given to B in the polishing.
The arbor being cemented to a chuck in a lathe, hold the end o, charged with oilstone dust or rouge, in the groove, and, while the arbor revolves, rotate the spindle B in the hand, at the same time giving it a see-saw motion as above mentioned. A very little practice will be required to do this.
522. Repairing a Barrel-Arbor. Cement the arbor a a, Fig. 244, to the lathe chuck, turn down the ratchet, removing its teeth and thus diminishing its diameter by about a third, as shown at n n; then reduce the thickness to a half, turning it down on the side next to[429] the winding square, and continue this square down to the flat disc that remains, taking care that no shoulder is left at the angle between the two. The arbor is now in a condition to receive the new ratchet which has to be fitted.
Adjust a flat ratchet r r like those used on the barrel-arbor of a fusee watch, which must be of the thickness and diameter of the original ratchet, so that it exactly fits the winding square; turn a sink in it, as shown by the dotted line, to receive the disc already formed; and, if the hole fits the winding square freely but without play, and this square is carried down to the disc, the dust cap c c will maintain the ratchet in its position as effectually as though it formed one with the arbor.
By adopting the above method, which does not occupy much time, it is often possible to avoid making a new arbor when all but the ratchet is sound; and if this portion should again wear out, the necessary repair is still further simplified.
We are assured that arbors repaired in the above manner showed no signs of wear after fifteen years, except that the square in the ratchet was a trifle enlarged, though not sufficiently to interfere in any way with the efficiency; moreover, in modern watches, the winding square is generally long, so that the ratchet can be left somewhat thicker at the center and a corresponding sink cut in the under side of the dust cap to receive it.
523. To True a Barrel-Arbor that is Coned Inwards or too Large. Cement the arbor firmly to a chuck as shown at C, Fig. 245. With care it will be easy to make the part e run true. As a rule, but very[430] little metal requires to be removed to make e cylindrical or conical in any desired direction, and it will generally be sufficient to finish by polishing with an iron polisher and oilstone dust or coarse rouge and oil. Use a narrow polisher that only bears on the end of e, giving it a double movement, straight forward and in a half circle towards one side; or else use a broader polisher, supporting it on the T-rest. By inclining this, the iron can be prevented from touching e, except near its extremity. It is unnecessary to add that when the arbor has been made cylindrical or coned in a given direction a suitable polisher, bearing on the entire length of e, can be used.
Either of the two following methods can be adopted in the place of that above explained: Support the winding square end of the barrel-arbor in an eccentric runner; let the opposite end run in a small coned hole in the end of a steel runner, which must be polished and hardened so as to prevent the corners of the square that receives the stop-finger from wearing it away; now apply coarse rouge until the fault no longer exists and follow with fine rouge to complete the polishing.
If not provided with an eccentric runner, it will be sufficient to take a tight-fitting key, drive it on with a blow of a hammer and file a point at the tapped end so as to be in the axis of the barrel-arbor. Having attached a ferrule to this key, place the whole between the runners and proceed as explained above.
524. To Renew a Worn Winding Square. The best plan is to make an entirely new arbor; but when this cannot be done, as, for example, on the ground of expense, the following method of repair may be[431] attempted: Direct the blow-pipe flame on to the square while holding the body of the arbor in a pair of pliers, so as to prevent its being over-heated; and round off the corners of the square, leaving the diameter no greater than is necessary for strength, and tap it with a screw-plate. Now drill a hole at the end of a piece of round steel of somewhat greater diameter than the original square, and form an internal screw by means of a tap made in the same hole of the screw-plate as was used for the arbor; the end of the tap should be tapered and with good cutting edges.
If the arbor is the full length allowed by the case, reduce the length slightly and screw on the small steel spindle, tapped to the right depth. It must not be screwed quite down to the ratchet, although intended ultimately to come into actual contact. After having thus tested it, form the square, which will naturally be rather larger than the original, and cut a deep groove with the graver at the point where the square is to be broken off, but, before breaking it, harden and let down to a blue or violet temper; then smooth, polish, and screw finally on to the arbor. If this last operation does not result in the square breaking away, grip the spindle in a vise, and, taking the square in a pair of long-nosed pliers, break it with a sharp blow. It only remains to finish off the end in a screw-head tool.
525. A free and uniform action of the mainspring is one of the primary conditions that have to be satisfied for ensuring a continuously good rate.
526. To make the eye in a Mainspring. Every watchmaker knows that this is commonly done by means of a[432] mainspring punch; but in its absence a hole can be made by hammering a pointed punch one or more times through the end of the spring after it has been softened, and, after filing away the projecting metal, the hole is broached out or enlarged with the point of a graver and finished with a rat-tail file, taking care that the corners are rounded off so as to avoid the risk of cracks.
527. To reduce the height of a Mainspring. This and the following method are only to be resorted to when a new spring cannot be obtained.
Introduce the spring into a barrel of less height than itself and wear the steel away by rubbing it on a hard surface charged with oilstone dust, keeping it constantly rotated between the fingers. When the reduction is sufficient remove the spring and draw-file it, so as to round off the two edges; then clean the entire surface.
528. Selecting a Mainspring: Adapting it to a Fusee. The spring that is characterized by the most uniform uncoiling and the least difference between the force exerted when fully and only partially wound up will generally secure the most constant rate. In selecting one for a going-barrel watch, or in adapting to a fusee, the adjusting rod, shown in Fig. 246, and described in article 530, is used.
529. At the outset, we would state the three characteristic properties of a fusee that have led to its adoption and retention in high-class watches and marine chronometers: 1, it equalizes the motive force; 2, it enables us to use a tapered mainspring, in which the uncoiling takes place in the most advantageous manner possible; and, 3, it secures a longer period of going.
[433]
530. To Adjust a Fusee to Its Mainspring. Set the barrel and fusee in position in the frame, with the mainspring and chain carefully hooked in their places, and the former set up about half a turn, and grip the fusee square in the clamp, d n, of the adjusting rod, shown in Fig. 246; then wind up the mainspring by rotating this lever with the hand until arrested by the stopwork. Now slide the weight m, which is held by friction and a light spring, along the rod until a point is reached at which the lever just neutralizes the force of the mainspring, so that the whole rests in equilibrium when left to itself. Rotate the rod backwards by half turns at a time. If equilibrium is maintained to the end, the fusee is well adjusted. But when this is not the case, it will be found that the weight of the lever is too great or too small; showing that the radius of the fusee is either too small or too great. Adjust the lever so that it balances with the radius of the fusee, which is thus shown to be most deficient, and at all other points along the thread of the fusee more metal must be removed to an extent indicated by the experiment.
When not provided with a fusee engine, it is a common practice to use the ordinary lathe, and an equaling file smoothed on its two faces; or a templet might be adapted to the T-rest of such lathe.
If the irregularity observed is but slight, it is advisable not to touch the fusee; because, in the great majority of[434] cases, an equipoise can be arrived at by altering the degree to which the spring is set up. Thus, if the weight is too heavy for the lower coils of the spring, set it up more, so as to increase its tension; in the converse case, of course, it must be let down. By trying several springs, especially if they are of different manufacture, it will very often be found possible to secure a sufficient degree of uniformity without there being any occasion to re-cut the fusee.
531. To Ease a Chain. When the links are rusty or not sufficiently supple, the chain should be placed in oil and left there for some hours at least. Round off the edge of a boxwood block, cut a groove across this edge, and clamp the block in a vise; then place the chain like a saddle in the groove, so that it hangs down on either side. Applying oil liberally to the wood, take an end of the chain in each hand, and pull it backwards and forwards in the groove, renewing the supply of oil at intervals. When perfectly flexible, the chain must be cleaned with benzine, or, after soaping, wash it in water and leave for some minutes in alcohol. After being dried, it is dipped in fine oil and dried in a clean linen rag free from fluff, pressing the rag against the edge. A chain treated in this manner will be found to remain supple for a long time, and it will not be liable to rust.
532. Riveting a Hook, Etc. When riveting either a hook or link to a chain, it is very necessary that the end of the rivet be cut or filed quite square; for, otherwise, the blow of the hammer will bend the rivet, so that the chain will not be square on the barrel, neither will the riveting be firm.
[435]
533. To Rough Out a Wheel. The sheet brass having been prepared in the manner indicated in article 103, one face is smoothed with a file, followed by oilstone dust; the plate is then set up in the lathe, to true the other face with the slide rest. On the smoothed face trace out the rim and the crossings. These latter can best be marked out on the dividing plate, or grammaire, already explained in article 343.
After drilling the small holes, a, c, etc., Fig. 247, at the corners, cement the wheel to a plate that is perforated to permit the use of the pump center, and remove the metal between the crossings by first turning the sinks indicated by the shaded disc s with the slide rest, and subsequently cut the groove i i. Now center the wheel in the lathe, and trace the arcs a c with a fine graver, moving the face-plate backwards and forwards in the manner referred to in article 364.
Remove the wheel from the plate, and finish off the spaces with a file. Two files will be needed for forming the angles; one a flat barrette file, with the corner beveled off and smoothed to nearly a right angle, to go against the rim of the wheel; and the other a taper file, with faces of the same curvature as the inside of the rim, its two edges being inclined at rather more than a right angle and smoothed carefully. If these simple precautions are not taken, there is a risk of cutting through the arms or making them too narrow.
Many of the details in the following article, although specially relating to a balance, will be found applicable to the construction of other wheels.
[436]
534. To Make a Plain Balance. The round plate of which the balance is to be made must be hammered with the greatest possible care, and of a thickness but little greater than that of the finished balance (103). Smooth one face and cement it either to a perforated plate through which the pump center can reach the balance (if the universal head is to be used), or on the chuck of an ordinary lathe, or on the wax chuck C, Fig. 233. Hollow the middle portion with the slide rest cutter or hook tool, according to the kind of lathe used; but, whichever it be, it must be very well set, and only remove a small portion at a time. The application of an excessive pressure will produce a kind of rolling action, which will induce a tendency in the arms to bend. Remove the metal between the rim and boss until its thickness is diminished by about a third; smooth this surface carefully, finishing with a piece of charcoal. The disc is now ready for crossing out.
Place it on the dividing plate (see article 343) to mark out the three arms, and remove the metal between them, either in the lathe, as explained above, or by drilling a series of holes parallel to the arms and rim. These holes should be so arranged that they can be enlarged with a fine-pointed graver (while the balance rests on a flat wooden block or is cemented to it), and a turn with a sharp edged broach, or the passage of a thin rat-tail file should be sufficient to separate the useless metal. As a rule, the series of holes is drilled with the disc held against a wooden block, but the burrs produced on the under side by the drill prevent it from being maintained flat, unless they are removed after each hole is drilled, and this might occasion a distortion of the disc. It would, perhaps, be better to[437] cement the rough balance to a sheet of zinc; the color of the shavings would suffice to indicate whether the hole was through.
The arms and rim must be made smooth and even with nicely formed crossing files, the edges of which are smoothed to the most convenient angle, as already indicated.
In filing the crossings the balance should rest against a small block in the vise, and they are rounded while resting in a groove at the edge of a similar block, specially shaped for the purpose. This block is also useful as a support in finishing the angles between crossings and rim.
The under face of the balance is smoothed with oilstone dust; and the arms by drawing the polisher along them while the balance rests on a flat block; it is then cleaned and fitted on a very true arbor, as A, Fig. 233. This should pass through the center hole of the balance without play after a broach has slightly enlarged it, and the balance is clamped by a cap and three screws, j. It only remains to set the arbor in the lathe and polish the rim, first turning it to a half oval if desired. In the latter case the rim, after being smoothed, is polished first with coarse rouge on hard pith, and subsequently with fine rouge on softer pith.
535. If the arms of a balance are found to be too long, so that they curve, the rim must be lengthened by hammering with the greatest possible care; the inside and outside of it must then be trued on an arbor of the form A.
The boss at the center will be found thicker than is desirable; its height can be reduced with the balance merely adjusted on a smooth taper arbor, but it is[438] necessary to observe that the balance and arbor must not be adjusted to each other by pressing or by rotating the balance with the rim held in the fingers. It must be pushed on or off the arbor by applying pressure at the center of the boss on one side or the other with a piece of hard wood resting firmly against the T-rest, while you cause the arbor to rotate.
Instead of the form of arbor shown at A, a screw arbor might be used, with its cone pressing against a cap, but the balance must always be carefully adjusted on the arbor, and this latter must run perfectly true.
536. To Make a Number of Identical Wheels. If it is desired to make a number of brass wheels of the same size and shape, the workman will find it much to his advantage to employ the punching machine. By adopting the following method he can make his own punches and bed-plates.
With a view to secure same length in the matrices that are used for forming the crossings, without augmenting the difficulty of construction, proceed thus: Each of the pieces V, V, Fig. 248, consists of two parts: 1. The star-piece, a c b d, of three, four, five or six arms, according to the number of crossings of the wheel. 2. The collar, V. The star-piece is of the same length as the collar, and is made in the wheel-cutting engine in the same manner as the leaves of a pinion. The punches, of which one is shown at P, are fitted by hand to the recesses of the star-piece, and then cemented in position; the whole is then[439] chucked in the lathe and turned as one piece, so that its diameter is slightly greater than the interior of the collar. Now harden the star-piece, and temper it to a blue color. When cold harden the collar V v, and temper it to the same degree, but, while expanded by the heat in tempering, introduce the cold star-piece and drive it home. By proceeding in this manner, no subsequent hand fitting will be required. V n must not be hardened.
Tools for punching the crossings of wheels are sometimes made on this system in which the disc of brass is fixed to a support that can be made to revolve by quarters of a revolution at a time, and a single punch serves to remove the metal by four separate operations. But as a rule it is better to use four punches together.
537. To Repair Wheels. When the teeth of a wheel are damaged, the only possible remedy is to provide a new one. If, however, a single tooth is broken, the following method can be adopted, on an emergency, for inserting a new one:
538. To insert a new tooth in a wheel. Cut a small notch in the rim of the wheel, shown at a, Fig. 249, which should be dovetailed if possible, and the two sides spread out slightly from the upper towards the under side, as indicated at c c. Cut a small piece of well-hammered brass, of the form B, so that the part d d fits exactly into the notch in the rim. Now invert the wheel and grip it near to a in a pair of long-nosed pliers, which must be held in the vise. Moisten the inner faces of the notch with soldering fluid and, placing B in position, put particles of solder round its edge; holding the lamp beneath the nose of the pliers,[440] the solder will presently melt, and a drop of the fluid should be added to facilitate its running into the joint. Cool the wheel and wash thoroughly, first with water and subsequently with alcohol.
It only remains to file both faces smooth and level with the rim of the wheel; then shape the tooth carefully.
By introducing B from the side opposite to that which is visible in the watch, and sloping the faces d d, to a less degree than a, the inverted wheel will present a recess to receive the solder; so that, on looking at the upper surface, at which the edges fit very closely, the joint will be scarcely visible.
539. To true a wheel. When the teeth are found to be in good condition, but the wheel does not run true, or one or more of its arms are strained, the fault can be corrected, in a case of absolute necessity, as follows:
Remove the pinion from its wheel. Enlarge the central hole in the lathe and rivet or solder in it a brass ring that is slightly thicker than the wheel, and perforated with a smaller hole than that required for the riveting. Now center the wheel from its circumference; increase the central hole with the slide-rest cutter, and turn down the two faces of the ring level with the wheel. Rivet the pinion in its place, after testing the truth of its riveting neck, when the wheel should be found to turn both true and flat.
If the wheel under repair is likely to be subjected to much force, at least two small notches should be left in the enlarged hole in the wheel to receive corresponding projections in the brass ring.
540. If the crossings of a wheel are broken and the wheel cannot be replaced, it must be chucked in the lathe[441] and the arms turned out with a graver, the inner edge of the rim being at the same time turned circular, and a step turned on this edge where the metal is to be left of half its original thickness.
Take another wheel of the same size and thickness, or a plain disc, and turn it of the same diameter as the outer ridge of the step; reduce its thickness at the edge by one-half and a disc will thus be obtained with a ridge round the edge corresponding exactly with that of the wheel, and the one will fit in the other. They are, of course, soldered in this position, care being taken to prevent the solder from reaching the teeth, and the old wheel will thus be provided with a new interior.
If the disc is made to fit closely on the upper side, a wedge-shaped ring being left to receive the solder in the manner explained in article 537, the joint will be scarcely perceptible on the exposed face, even with a glass.
In repairing delicate wheels in any way it is a good precaution to cement the rim to the edge of a hole in a brass plate, so that only the arms or other part to be operated upon is exposed.
541. To Make a Stem-Wind Wheel. We will suppose that the old wheel is available as a pattern; if it is not, the several dimensions must be ascertained by calculation in accordance with the laws of depths.
Prepare a thick plate, and drill a central hole, fitting a steel pin into it as shown at o d, Fig. 250. The diameter of d must be exactly the same as that of the pump-center in the universal head. Fit the wheel-blank R to the pin o without play, and cement it to the plate. Remove the pump-center and insert d in its place, clamping the plate P[442] firmly against the face-plate by the dogs. By using well-sharpened gravers or cutters, the wheel may be rapidly shaped.
The pin might be forced in from the under side to the level of that face of the plate; and if it were perforated as shown by the dotted lines, it might be centered by means of the pump. Or the plate P might be made circular and centered from its circumference.
542. To cut the teeth on the circumference the wheel need only be fixed on the chuck of the wheel-cutting engine as usual by means of the steel cone. The crown teeth are cut while the wheel is firmly cemented to a pin-chuck like that used in turning it.
Other keyless wheels can be made on the same principle, and such modifications as may be necessary experience will suggest. Sufficient information in regard to wheel-cutting has already been given in 397 and following articles.
543. To Make a Pinion. At the present day pinions of all sizes can be obtained of the material dealers, so that it is very seldom that a watchmaker is obliged to make one for himself.
In an emergency, however, he can adopt the following method for making one out of the ordinary drawn steel; but it should be added that, in all probability, some practice will be needed before success is arrived at. Cut a length of steel wire of suitable diameter about two-thirds as long as the files that are to be used for shaping the teeth. Turn it down to form the axis, leaving a block near each end equal in length to the required pinion, as if three pinions were to be made on the same staff. Then[443] cut and round leaves on all, keeping the file always in contact with a leaf of each pinion. By proceeding thus the sides and roundings of the leaves will be maintained parallel to the axis, and there will be no risk of the pinion being barrel-shaped, as is nearly always the case when a short pinion is held in the fingers or rested on a block in the vise.
Proceed in the same manner in smoothing and polishing, using pieces of some close-grained wood, such as walnut.
It is much easier to make the pinion of the required form by means of a revolving cutter in the lathe, if the workman is not provided with a special tool for the purpose: the arrangement of the lathe is described in article 402.
In some factories the leaves are cut in two operations: a cutter with plain fine saw teeth divides the circumference into the requisite number of equal parts, the leaves being subsequently made of the correct shape by a special cutter, the method of making which has already been very fully explained in articles 417-435.
544. To Determine the Size of a Pinion. The following table is usually employed for this purpose. See also 562 and the following articles.
To give the approximate diameter of a pinion, the pinion caliper should include:
| For | 16 | leaves, | 6 full teeth; that is to say, measuring the distance between the two external faces; |
| ” | 15 | ” | rather less than 6 teeth, or 5 teeth, and just beyond the point of the sixth; |
| ” | 14 | ” | 6 teeth, measuring at the points. |
| ” | 12 | ” | 5 teeth, measuring at the points (or rather 4½ teeth); for a clock-wheel, 5 full teeth; |
| ” | 10 | ” | 4 full teeth; for a clock-wheel, 4 squared teeth;[444] |
| ” | 9 | ” | rather less than 4 full teeth, or 3 full teeth to the point of the fourth; |
| ” | 8 | ” | 4 teeth, measured at the points, minus a quarter of a space; |
| ” | 7 | ” | rather less than 3 full teeth; for a clock-wheel, 3 full teeth, plus a quarter of a space; |
| ” | 6 | ” | 3 teeth, measured at the points, or rather more; for a clock-wheel, 3 full teeth. |
It is important to notice that these measures can only be regarded as a first approximation, and it is only by actual trial in a depth-tool that we can be certain that a pinion is correctly sized. By taking the measures in a micrometer, or other accurately divided gauge provided with a vernier, the work of selecting will be much abridged; but how long will it be before the generality of watchmakers will make use of these convenient appliances? The well-known wheel and pinion sector, although convenient, is not equal to them in point of accuracy, and is affected by an error in measuring a chord, not a true diameter of the wheel or pinion.
545. To Increase or Decrease a Pinion. The pitch circle of a pinion may be increased by reducing the thickness of the leaves in such a manner that their flat faces are continued further on to the rounding; conversely, a pinion may be decreased by carrying this rounding farther down towards the base of the leaf.
546. To Decrease a Pinion Without Removing the Wheel. Some watchmakers recommend that the wheel be removed from the pinion, and, after the necessary reduction has been effected and the leaves re-polished, again riveted on the pinion-neck. Very few workmen, however, can do this well, so that after the operation the wheel is seldom found to run true. If a new pinion cannot be procured, the old one must be reduced.
[445]
When a pinion that is too large is replaced by one that is smaller, it is necessary to take care that the hole in the wheel is well centered and not too large; in either of these cases it must be enlarged and bushed after being centered by the circumference.
547. To Polish Pinion Leaves Mechanically. It was formerly the custom to polish the leaves of a pinion, holding it on a block or between two fingers and traversing a strip of metal with oilstone dust backwards and forwards in each space for the smoothing, and a similar strip of walnut wood (with rouge) for polishing.
This method has long been abandoned in factories, where all pinions are polished in a machine.
We will proceed to explain a simple arrangement for polishing pinions in the ordinary lathe, but it is advisable first to describe one form of tool that is actually in use on the large scale for this purpose. The two only differ in their dimensions.
548. Pinion-polishing Machine. A frame B B, Fig. 251, supports at its upper end an H-shaped piece, of the same form as the cutter-holder in an ordinary wheel-cutting engine; but the arbor, instead of carrying a cutter, is provided with a wooden drum R. On the base of the frame is a plate P, which can be fixed by the screw E, and carries a second plate p to serve as a bed for the slide, which supports the pinion to be polished freely between two brackets a, a. The plate p can be set a little oblique and clamped by the screw v.
The machine acts as follows: Present a corner of a pinion-leaf to the circumference of R (which is caused to revolve by a cord passing round the pulley n n), the axis of the pinion being not quite at right angles with that of the [447]drum, in order that the groove formed in the soft wood may resemble the thread of a screw, and so cause the pinion to revolve. When the groove is of sufficient depth, apply rouge if operating on a small pinion, and emery for a large one: after a few turns of R, the slide carrying the pinion being at the same time moved backwards and forwards, the pinion will be found to be polished. A better surface can be obtained by using flour emery.
The steel wheels of keyless work can be polished in the same manner.
549. The spindle of the screw E passes through a rectangular slot in B in order that the slide and its support can be moved parallel to the axis of R.
The grain of the wood must be at right angles to the axis of rotation of the drum, and a wood that is non-fibrous is preferable. It must evidently not be too hard, and, if too soft, the thread formed on its circumference will get rough, and often will suddenly change position. When the entire surface has been worn it must be re-turned smooth and cylindrical. The larger a roller is, the quicker it will polish and the less it will wear. Moreover, it will render a proportionately less amount of motion of the slide necessary. The root of the walnut tree is especially sought after, but, when this cannot be obtained, other woods can be used.
In factories where clock pinions are made, thin discs are employed in place of the drums. They are at least a decimetre (4 inches) in diameter, and very narrow at the edge, and can be re-turned with a graver when worn without being removed from the tool, if a T-rest be fixed in some convenient position.
The screw d is for limiting the descent of the drum, but some workmen prefer to dispense with it, and, instead,[448] hold the frame C C in the hand, pressing it gently against the pinion. They urge that the wood is never of the same degree of hardness round its circumference, and therefore must of necessity wear irregularly; by holding C C in the hand the pressure on the pinion can be more evenly adjusted, as it is possible to feel at once whether the drum is polishing or scratching.
The inclination of the slide to a plane at right angles to the axis of R is measured by the pitch of the screw formed on the drum. But in practice no special precautions are taken, and it is only necessary to incline the slide slightly to the right or left, until the pinion is found to revolve freely.
The drum may be from two to three inches in diameter, and, in order to ensure the same degree of hardness throughout the entire circumference, it is a good plan to make the drum of a series of wedges cut so that the grain in all radiates from the center. Beautiful polished surfaces are obtained in this manner.
550. To polish a pinion in the ordinary lathe. Various methods may be adopted, but the following is one of the commonest:
Support the pinion between the two centers b, d, of the pinion-carrier shown in Fig. 252, the form of which will be evident without explanation. Rest this carrier by the portion M against the T-rest, pressing it against the drum at the same time with one finger. Rotating the drum first by hand, make the pinion cut a groove varying the inclination until it is found to be correct, and, when sufficiently deep, charge with polishing material, and rotate it with wheel, at the same time moving the pinion-carrier[449] backwards and forwards endwise. A little experience will give the requisite skill.
If the pinion is not held at a sufficient inclination it will scrape and will not revolve. If too much inclined, only the roundings of the leaves will be polished, the sides being left untouched. A well-formed groove will last for a long time.
551. To Tighten a Cannon Pinion. If it is simply slack it will be sufficient to increase the diameter of the set-hands arbor as described in article 336. But if the cannon pinion is in the habit of working off this arbor when setting the hands, the arbor can be tapered a little downwards; or proceed as follows:
Drill a hole in the square that receives the minute hand in the position shown at a, Fig. 253, and also indicated by dotted lines at c s; now turn a groove round the arbor, also shown by dotted lines, at the point n, to correspond with the hole a. Insert a pin in this hole, filing it off smooth with the surface at the side at which it enters, and nearly level at the other side, to be hammered over just sufficiently to prevent the pin from working its way out. The cannon pinion will now be found to turn with the requisite degree of friction, and without any tendency to work up. It will last all the longer if both the pin and the groove in which it works are polished.
552. To Make a Set-Hands Nut. This is a small square nut pinned to the pivot of a solid cannon pinion that projects beyond the top-plate in some watches after passing through a hollow center pinion. This[450] construction has been latterly discontinued, but it may be well to explain the mode in which such a nut can be renewed when necessary.
Take a rod of soft steel of a diameter half as large again as that of the square to be made. Drill a hole along its axis rather less in diameter than the set-hands arbor and cut off the ends a little longer than the square is required to be. Put this nut on an arbor and turn it flat on each end (although still a little long) and truly cylindrical. Having inserted a loose fitting coned brass wire of oval section into the nut, hold it on its side on an anvil. With a sharp blow of the hammer cause the cylinder to assume an oval form, so that the round hole is as seen at A, Fig. 254, this being the section of the end of the set-hands arbor itself. If the work has been carefully performed up to this point, the steel nut should now pass a short distance on to the arbor on applying a moderate pressure, and it will suffice to slightly alter the form of this latter in order to ensure a perfect fit. As there should be no shake, it is advisable that this adjustment be made after the nut is hardened.
File the two faces d and f parallel to each other and to the axis of the oval, reducing the total thickness very nearly to the amount ultimately required, then holding the nut in the pincers by these two faces firmly, but without scratching them (or it may be held by a rod fitted to the oval hole), form the square, removing all the metal that is beyond the two vertical lines in the figure. Then set it on an oval arbor and turn the corners down to the exact diameter required; pass the graver over the two ends so as to adjust the length. It will then be easy to finish off the square and round the lower end,[451] holding the nut on a steel rod in a pin-vise. Drill the hole for a pin after marking its two ends on the nut as explained in article 518, then, holding the nut so that it rests on its lower face, form a recess with a chamfering tool held in its axis; the form of this can be modified if required with the rounded end of a rod and oilstone dust.
Harden the square and temper it to a blue color; then smooth its faces and ends, and fit the square to the set-hands arbor. The hole for the pin must now be made through this arbor, taking care not to allow the square to rise out of its place during the operation. It only remains to polish the recess formed in the nut with a rod rounded at one end and rotated with a ferrule, and finish off the corners with a burnisher and rouge; the lower end is finished in the same manner as the head of a screw.
553. We have here considered the case of a new arbor, but, if fitting a nut to one that is already drilled, proceed as follows: Make the nut rather longer than necessary and drill a hole higher than the point at which measurement shows it ought to be; then remove metal from the lower face until the two holes coincide. The work is simplified if the nut be made of the correct height at once and, instead of drilling a hole, a slit be formed as in the head of a screw, the bottom of which must correspond with the lower edge of the hole in the arbor.
554. To fit the Set-hands Arbor to the Center or cannon pinion. We have pointed out in article 364, the objections to hammering the set-hands arbor so as to secure sufficient friction to make it hold in[452] either of the pinions through which it passes in the ordinary form of watch. Tracing a spiral line on its surface is not much better, as the metal thus caused to project soon wears off. A better method is explained in article 337, but, when only a slight increase of diameter is needed, the following will suffice:
Roll the arbor on a hard flat wood surface with a file of medium cut, applying considerable pressure so that the arbor is forced against the file. If the pressure is sufficient and maintained long enough, a dead rough surface will be formed on it which will increase its diameter so that it will retain a small quantity of oil. It is well to roughen the surface rather more than necessary, subsequently passing a burnisher lightly over it until the arbor fits the pinion with sufficient friction.
As to the making of a set-hands arbor, it will present no difficulty to a watchmaker of even average skill in turning and filing.
555. The Play Of Pivots. It may be accepted as an approximate rule that the play of escapement pivots in their holes should be as follows:
In the cylinder escapement, about one-sixth the diameter of pivot.
In the duplex escapement, about one-tenth the diameter of pivot.
In the lever escapement, about one-eighth the diameter of pivot.
A large hole causes the pitching of the depths to vary with position, and a deficient play renders the escapement more sensitive to thickening of the oil.
[453]
The depth of a pivot-hole or the length of its cylindrical acting surface may be taken to vary inversely with its hardness. Thus a ruby hole is made less deep than one of brass.
556. To Replace the Pivot of a Hollow Pinion. It often happens that the pivot of a hollow center pinion is so deeply cut that it cannot be re-polished, in consequence of the careless manner in which too many examiners finish the center holes (461). If the pinion itself is found to be still in good condition, it can be made serviceable as follows:
Cement the pinion, with its wheel attached, firmly to the chuck of a lathe after having removed the two worn pivots, and, when it is accurately centered, increase the hole by means of a drill that is a trifle larger than the original pivots (see article 282); in the hole thus enlarged and carefully smoothed insert a close fitting steel tube that has been hardened and tempered to a blue color, which must be smoothed and run true. The portion of this tube that projects on either side is then adjusted to the proper length, and it only remains to polish the pivots.
If only one pivot requires renewal, ascertain whether there would be sufficient hold with the hole enlarged through half its length, and proceed as already explained.
We have assumed that the shoulders of the original pivots can be made to serve again, but it often happens that the shoulders do not possess sufficient substance, in consequence of the hollows being cut too deep. In such a case it is hardly necessary to observe that the hole must be drilled larger, so that, after the tube has been adjusted, new shoulders can be turned on it.
[454]
557. To Redress a Bent Pivot. For this purpose some workmen merely use a pair of pliers or tweezers; others place the pivot in a slot of the Jacot tool, and press on it with a burnisher that has little or no cut, at the same time causing the staff to rotate. Either of the two following methods may be adopted:
Drill a number of straight holes in a plate exactly at right angles to its surface. Now introduce the pivot into a hole that it fits with very little play, and redress it by causing the staff to rotate, at the same time holding the plate in the hand. Caution is necessary since there is some risk of bending the pivot too far.
558. Pivoting a Cylinder, etc. This operation will not present any difficulty if the several heights are properly taken. See also the articles on Beaupuy files (240), and on compasses for measuring heights, etc. (243).
559. Polishing Pivots in the Lathe. Pivots are as a rule polished by metal polishers provided with suitable materials, and held in the hand; in Fig. 255, however, is given the design of a machine by which this work can be accomplished when the pivoting is done in the chuck-lathe, the pivot itself being free and unsupported by a runner.
Fig. 255.
The bed P of the instrument carries a wheel R which engages with a pinion on the axis of the polishing lap m. The wheel R is mounted on a clock stud passing through a slot and fixed by a nut, so that the pitching of the two mobiles may be modified; motion[455] is communicated to the lap by simply placing the finger against the teeth of R. The bed can move in a vertical plane, being pivoted on two screws, v, v, and the block that receives the points of these is riveted to the disc d d, which can be made to rotate, with friction, on the second disc n n. This latter is riveted to a plate e fixed at the end of a cylindrical rod F.
It will be evident that if the rod F is inserted in the T-rest support, the plate P extending towards the back of the lathe, this plate can be raised or lowered, and moved towards the right and left, so that the flat face of the lap can always be brought in contact with the pivot that is to be polished. This latter is caused to rotate by a foot-wheel while one hand holds the raised plate by the button a, and a finger of the other hand is applied to the teeth of R, causing the lap to rotate.
The upward motion of P may be limited by the edge of the top s of the button s k, which is tapped so as to rotate with stiff friction on the pillar H. The stop l is to prevent the polisher from traveling too far towards the left and thus removing too much from the shoulder that is to be polished. The screw x, giving motion to the slide y, is for securing parallelism between the pivot and the surface of the lap, according as the former is cylindrical or conical in shape.
For fine pivots it is advisable to introduce an additional wheel and pinion. The finger will then be better able to appreciate the degree of resistance opposed, and, owing to the increased velocity, it will be useless to use oilstone dust, but rouge can be applied directly after the turning. At e is a steady-pin for maintaining the position of the instrument.
[456]
560. Every watchmaker knows how to proceed in adjusting an ordinary perforated bushing or stopping. We would make a few remarks on the subject of bushings generally.
The tapped bushing is very firm, but, in order that it may be well centered, it is essential that its thread fits exactly the tube of the tool (322), and that the pointed rod is exactly central. A turned bushing, especially when a broach can be passed into it after it is in position, is more easily made central (see article 342).
When bushing holes that are rather large with solid bushings, after the hole has been marked with the pointer it must be drilled with a small drill, a larger one being subsequently passed through, so as to increase it. Otherwise there is great danger of the hole turning to one side.
If a hole, such as that of the center wheel, is bushed with a perforated bushing, it will often be found to incline towards the barrel or fusee, so that the hole is displaced. Such an inconvenience may be avoided by using a bushing with a hole smaller than is ultimately required, afterwards enlarging it with the plate centered in the lathe.
561. Riveting of Bushings. Some watchmakers have found considerable advantage in replacing the sudden and irregular impacts of a hammer by gradual pressure, without shock, obtained by a small press worked by hand on the principle of a punching machine. With a well made bushing, the flat end of which is slightly rounded, and the inside of the hole in the plate finished with a rat-tail rather than with a cross file, it is found that the riveting is always perfect. Others employ an[457] ordinary pair of sliding tongs, the noses of which are drilled to receive two punches, one flat and the other rounded, as in the mainspring punch. Three pairs of punches suffice for all sizes of bushings, and the same tool can be used for closing up screw-holes, etc.
562. Movable Bushings. These are for use in regulator clocks and others of large dimensions, and a few words must suffice for their description. They are the invention of M. Alleaume, and will be understood from Fig. 256. It is always desirable, with a view to prevent wear, that when metal pivot-holes are used, the pivot should bear on a length equal to about three times its diameter; but for such a condition to be satisfied, it is essential that the axes of both holes and pivots be absolutely parallel. The figures will at once show in what manner such parallelism is secured. C C is the plate, in section, in which a hole is made of the form indicated by the lines that bound the cross-hatchings. The movable bushing A is held against a shoulder, and prevented from rotating by a screw, the point of which enters a small hole in the bushing. The pivot of B passes into A, and this latter is capable of such slight motion as will insure contact between the surfaces throughout their length.
563. To Secure a Good Depth. The least skillful of watchmakers can, without much difficulty, place a wheel in the depthing tool in conjunction with a pinion, and change this latter until the two are found to run easily together. But there are comparatively few that[458] are sufficiently acquainted with the subject of depths to be able to select a pinion whose proportions are such as to satisfy the greatest number of the conditions to be fulfilled by a good depth.
This unsatisfactory state of things is due in great measure to the employment, without any correction, of tables of the sizes of pinions (544), according to which these sizes are determined by a measurement on the teeth of the wheel, taken with a pinion caliper. This method, although sufficient for ascertaining the size approximately, and even for securing a depth that runs more or less easily, cannot be accepted as an unvarying rule.
Far from resting on any mathematical law, as ignorant men urge in their attempt to instruct others, it is only true for a particular number and form of tooth in regard to the wheel, and a definite thickness of leaf and shape of the rounding in regard to the pinion. It ceases to be true if applied to other numbers of teeth, or to pinions that have their leaves thicker or thinner, or the roundings different from those of the pinion first determined upon.
564. Theoretical and practical depths. The fundamental principle of every depth is as follows: To determine what curvature should be given to the teeth of the wheel which drives, in order that the tooth that follows (whether its side be straight or formed according to a pre-determined curve) shall be driven in such a manner as to secure the best transmission of force, a transmission which is in part influenced by the uses to be made of the machine.
565. Teeth formed like the involute of a circle have very marked advantages, but they cannot be adopted in practice, especially in the case of the leaves of pinions.[459] The epicycloid can be realized very approximately in the teeth of wheels in horology, and such teeth can be used in conjunction with pinion leaves having straight faces, the construction of which does not present any difficulty. This explains why the epicycloidal form has been adopted by watchmakers; but, although it is more easily drawn than the majority of other curves, there are still some obstacles in the way of its general application, mainly dependent on industrial requirements. The difficulty is usually got over by forming the tooth according to a circular arc, nearly identical with the epicycloidal curve, see articles (440-42).
566. When two mobiles are of the same diameter, the theoretical depth will be characterized by having teeth and spaces of equal width; but, since in practice the friction with such an arrangement would be excessive, owing to its taking place on both sides of the tooth, the teeth of the wheel that are driven are so far reduced in thickness as to secure the necessary freedom.
567. When the two mobiles are very highly numbered, the lead is short, so that the tooth of the wheel may be a trifle broader or narrower than the space without inconvenience.
But when using pinions of low number (from 6 to 10 leaves), this is not the case. In proportion as the width of the wheel tooth is reduced, its ogive becomes shorter, and the most advantageous portion of the lead (that beyond the line of centers) becomes less. And, besides this, account must be taken of the slipping towards the end of the lead, and the reduction in the difference between the geometrical and the total diameters of the wheel.
[460]
568. To secure a good depth with low numbered pinions, the leaves should not be more than half the thickness of the space. If they are thicker than this, it may be found necessary to reduce the width of the wheel teeth, when the pitching is insufficient; but the most serious objection lies in the fact that the pitch circle of the pinion will be diminished in diameter. Let there be two pinions with circular roundings and of the same total diameter, but having leaves of different thicknesses—that with the leaves thick will be found to be too small, etc.
569. To Calculate the Vibrations of a Pendulum or Balance. Multiply together the numbers of teeth of the wheels, starting with the one that carries the minute hand (which therefore makes one revolution in an hour), but exclude the escape-wheel.
Multiply together the numbers of leaves of the pinions, commencing with the one that engages with the center-wheel.
If the first product be divided by the second, the number obtained gives the number of revolutions of the escape-wheel in an hour.
Multiply this figure by twice the number of teeth of the escape-wheel, and the product is the number of single vibrations performed by the balance or pendulum in one hour.
570. It has been urged that when the geometrical forms of the leaves and teeth, as given in scientific treatise, are accurately carried out in practice, the depths are found to be unsatisfactory and liable to cause occasional stoppage; and these facts are brought forward as evidence that theory and practice are at variance.
[461]
On the contrary, theory and practice are in perfect accord: the apparent disagreement arises from an error in the application of the geometrical laws.
In copying the theoretical forms of the teeth of wheels and leaves of pinions, it would be necessary to ascertain that they were mathematically exact, and this is impracticable. Two conditions must be borne in mind:
1. Theory shows that the mobile which drives should be made a trifle larger than the geometrical size, so as to counteract imperfections in the workmanship.
2. A pinion is never made of the exact mathematical proportions, in consequence of the processes that have to be adopted for cutting, polishing, centering, etc. If a number of pinions be taken, and if the several dimensions of each be determined by means of a micrometer measuring to hundredths of a millimeter (or from two to three-thousandths of an inch), differences that are, comparatively speaking, large will be found in the diameters, measuring between corresponding leaves; in the thickness of leaves; in the diameters of the circles at which the roundings join the straight faces, and the general truth of the pinion will nearly always leave something to be desired. It should be added that these faults will be more marked according as the leaves have been more quickly made.
The teeth of wheels will be found to be characterized by similar faults, although they are less marked.
571. It follows from these facts that, in watches and timepieces, the pinion is always a little smaller than theory would require; thus the epicycloid should be struck with a somewhat smaller generating circle, and the ogive of the tooth will be proportionately reduced.
[462]
The practical conclusion at which we arrive, then, is as follows: As it is impossible to secure absolute perfection in the teeth of small horological mechanisms, their ogives must be slightly more rounded at the points than the designs given in scientific treatises indicate, since these latter are drawn exactly in accordance with the geometrical laws.
These remarks are of the greatest possible importance to the manufacturers of both watches and timepieces; they point to the fact that not only the ogives of all wheel teeth should be lower than theory indicates, but also that, in commoner work, they must be still lower, according as the pinions are of more inferior quality.
572. To Alter a Stem Winding Pinion Depth. The depth of the Stem Winding Wheel and Pinion often occasions considerable inconvenience, and its adjustment requires to be accurately made: when the depth is too deep, its alteration is easy, as the roundings of the pinion leaves can be reduced, or the stud or other piece that carries the winding wheel can have its base a little reduced on one side, so as to set the wheel a trifle out of upright (but so slightly as not to be perceptible to the eye, and taking care that the teeth remain on a level with those of the barrel-arbor wheel). A shallow depth is somewhat more difficult to correct. If a sufficient change cannot be made by altering the support of the winding wheel, one of the following methods must be resorted to:
1. Reset the pendant of the case.
2. Make a new winding pinion of greater diameter, increasing the number of its leaves by one, to correspond to this change.
[463]
3. Alter the position of the movement in the case.
The two first methods are more especially applicable to new work, while the third is more convenient for repairers, although of course it can only be resorted to with advantage when the pinion has a bearing in the pendant. The requisite change in the position of the movement can be produced by raising the rim of the case that supports the plate, or by soldering two thin strips of metal on this rim, producing a similar effect; one on either side of the pendant will suffice, except when a considerable change is necessary, in which case they should be set at intervals around the rim to avoid an obvious inclination of the dial. Or four holes can be drilled at equal distances apart around the edge of the plate and in its plane, so that their edges overlap the position occupied by the rim of the case; pins are then set in these holes and filed away until they produce the requisite amount of elevation. Or, again, flat-headed screws may be fitted around the edge with their axes at right angles to the plane of the plate and their heads on the dial side.[7] The depth will then be adjusted by screwing these screws more or less into the plate.
It is advisable to ascertain that the dial is not forced too near the glass, as such is occasionally found to be the case, necessitating the bevelling of the edge of the former.
573. To Advance a (visible) Jewel in a Pallet. Workmen that have had much experience of escapement[464] making do this without any difficulty by holding the pallet arm in a pair of tweezers that have been slightly warmed, but ordinary repairers will not succeed with such a method: they can however, effect the required change as follows.
Make a small brass plate, E, fig. 257, with a piece c projecting upwards, which the screw v traverses with stiff friction. A saddle b is fitted to the edge of the plate by screws. A glance at the figure will suffice to show the mode of using it; the pallet arm whose jewel is to be adjusted is clamped under b with the jewel just opposite the screw v. Now turn this screw until it stands at the distance from the impulse face of a through which the jewel is to be advanced; taking the plate in a pair of long-nosed pliers, hold them over a small lamp flame, and press with a small screwdriver lightly against the point a so as to advance the stone by the requisite amount as soon as the shellac is sufficiently soft. A particle of shellac is placed at a, if any cavity forms during the process, and the plate is laid on some cool body, avoiding contact with the pallet-staff.
If the stone projects below the lower surface of the pallets, a small washer must be placed underneath before clamping the screws of b, of such a thickness that the stone is just on the level with the surface E.
574. To Alter the Form of a Pallet Face. Workmen that possess the requisite skill and steadiness of hand can alter the form of a pallet jewel, when it is necessary to modify the height or form of the impulse face, by simply using a copper polisher charged with diamond powder. The polishing material employed is always decanted in very pure oil, as otherwise it is apt to[465] scratch instead of polish. The coarser quality is first used when a material change has to be effected, but if only a very slight alteration is necessary, and the adjustment has to be very exact, only the finest quality must be used, as there is a danger of making scratches that would be very difficult to erase. We would also add that this operation requires some skill and patience.
575. To Measure the Lift and all other Angles,
etc. of the Lever Escapement. A very simple instrument
for measuring these angles was designed by Curzon,
one which any watchmaker can arrange for himself,
and is quite sufficient for all practical purposes. This is
shown in Fig. 258, and consists of an ordinary depth tool
to which a scale is added. A hand adapted to the pallet-staff
supported between one pair of runners of the depth
tool gives motion to a curved rack (shown by dotted
lines), and this causes a pinion carrying a second index
to rotate, the radii being so related that the movement
of the staff is magnified four times on a scale which can[466]
be observed while the glass is at the eye examining the
pallets. The index which travels over the shorter scale
to the left (divided up to 10° on either side of zero) is
connected with the pallet-staff by a fork and a short arm
passing through the circular groove; it affords a convenient
means of moving the pallets while testing them, and
gives a measure, in degrees, of their motion. The
graduated arc shown at the top is for measuring
the
lever and roller.
576. Verge Pallets: to Measure their Opening. The little instrument shown in Fig. 259 may be used for this purpose; its mode of action will be easily understood from an inspection of the figure.
One of the pallets being held with its flat face against the base of the graduated semicircle by the lever and spring B, so that the axis of the verge is at right angles to the plane of the instrument through the point n, an index previously fixed to the other pallet will show by the graduations the number of degrees of opening.
This index, shown at P, Fig. 160, must be very light. It is formed in two parts, the body c d, and the small spring z z. The pallet when held in the notch c, must have its face held flat against c d by the spring z z. The face c d of the index must be quite smooth and straight, so as to avoid any error in the reading of the scale.
The pressure-block C, Fig. 259 (shown in plan and elevation at C, Fig. 260), is movable on its center, and this center, which by an engraver’s error is represented on the line n r, should be a little to the right of that line.
[467]
577. To Open or Close Verge Pallets. Some workmen cut a notch at the end of a small rod in which the verge is inserted, the two arms of the fork being then drawn together by a screw; then, holding each pallet in a pair of long-nosed pliers, one in each hand, the rod is held in the flame of a lamp and, as soon as the body of the verge becomes blue, it is gently twisted to the right or left according as the pallets require to be opened or closed.
This method is not always convenient, and the following may be recommended:
Support the verge by its shoulders between two cone-plate centers in a pair of finishing turns, as seen in Fig. 261. A carrier b is screwed to the upper pallet, and prevents the verge from rotating; c is a rod through which heat is conducted; a, shown both in plan and elevation, is another rod, which is much longer than c, and has a notch cut at the end, so that it can be forced on to the lower pallet. The end d is free, and the T-rest shown dotted at s, must be brought nearly into contact with it, the distance between them corresponding to the angle to which it is required to alter the opening of the pallets. Now hold a lamp under the free end of c and, as soon as the body of the verge changes color, d will descend by its own weight until arrested by s, the opening will thus be increased or diminished to the requisite extent.
The operation will be accomplished more quickly by directing the blow-pipe flame against the verge body.
Of course when diminishing the opening, the verge must be held in the reverse direction to that shown in the figure.
[468]
578. To Polish the Cylinder Lips Mechanically. The polishing of the lips of a cylinder is one of the most delicate operations that can be undertaken by a watchmaker; we have, therefore, endeavored to devise an instrument by which this can be done mechanically, and which should at the same time be so simple and so easily made that any watchmaker should be able to construct it for himself.
579. It consists of two distinct parts which take their place in an ordinary pair of finishing turns. 1. The plate P, Fig. 262, supported on a rod T, to take the place of the T-rest. 2. The frame E, whose axis replaces one of the runners. This much being clearly understood from the figure, there will be but little difficulty in understanding the following details.
On the plate P is mounted a bracket, b b b′, held by a screw and washer. It has a slot cut lengthwise, so that on loosening the screw it can be made to slide towards[469] the right or left. The vertical portion b′ supports a fork-shaped piece, d c, a front view of which is given in Fig. 263, pivoted on a collet-screw, f, and this may be fixed by a pin passing through its end like a bolt. The upper end of the fork-piece is provided with teeth for a purpose that will be presently apparent.
The long spindle, g h, turns between the two supports, k, l, fixed to the plate P, under the action of the handle M. This axis carries two eccentric cams, q and R. When it rotates, the eccentric R causes the fork d c to rise and fall, thus occasioning an oscillating movement of the rack d, at the same time the other eccentric q presses against the back of the slide i n, which moves freely in the guide s, and is always held against the cam by a helical spring j; the slide thus has an oscillating motion in the direction of its length.
All the details in regard to the slide and its guide will be easily gathered from the plan in Fig. 262, and the side elevation in Fig. 264.
A small iron polisher is adapted to the slide n i. Being pivoted on a pin at one extremity, serving as an axis, its end u is pressed downward by the light spring v (Figs. 262 and 264), which might be replaced by a spiral spring below the polisher if preferred.
580. This being understood, we will pass to the frame E.
The rod that carries it is formed of thick drawn steel pinion wire, the diameter of which is less than that[470] of the hole in the poppet-head of the turns. This spindle is provided with brass collars at y and z of such an external diameter as to be received in the poppet-head, in which the rod can rotate freely. By adopting this arrangement, not only is the frictional surface diminished, without reducing the accuracy of the adjustment, but the apparatus can be easily adapted to any pair of turns.
To the right-hand side of the frame is fixed, by two screws, the cylinder carrier x shown at X, Fig. 265. It must be removed in order to set the cylinder in position by cementing its balance to the surface; care is necessary to make sure that the back of the cylinder shall be towards the side e of the frame when the carrier is again screwed in position. After having thus replaced it, set the rack d to engage with the pinion wire z, in such a manner that, when the eccentric cam R occupies the position indicated in Fig. 263, the small iron polisher rests at the middle point of the cylinder lip. Now finally clamp the screw that fixes the support T.
The mode of action of the machine will be easily understood. If, after charging the polisher with polishing rouge the handle M is rotated, the cam R will impart an oscillating angular movement to the frame E through its axis y z, and the cam q will, at the same time, cause the polisher to move backwards and forwards, always in contact with the surface of the lip during its movement.
581. The work will be performed more rapidly, and the polish will be better if the iron have a slight lateral[471] motion as well as that in the direction of its length. It is, however, more simple to communicate a longitudinal oscillating movement to the cylinder, and this answers the same purpose; it is only necessary to make two small additions, the spiral spring o and the little cock a. The latter is fixed to d in an inclined position (as indicated at A), and this inclination can be varied by merely turning the left-hand screw. It will be evident that when d is ascending, the cock will push the spindle y z forward; and when d descends, the spindle will be brought back to its initial position by the pressure of the spring o, which is simply placed over the end of the opposite runner. This longitudinal movement must be but slight, and it can be made as little as desired since it depends solely on the inclination of a.
582. Observations. 1. The angular motion of the frame E must be sufficient to enable the polisher to act on the entire surface of the lip. The extent of this movement is determined by the size and the degree of eccentricity of the cam R. The greatest motion will occur when the spindle passes through the hole 1 (Fig. 263), and it will gradually become less as the holes 2, 3, etc., are used. The cam q should also have two or three holes for varying its eccentricity. These cams may be made of hard wood, ivory, etc.
2. The iron polisher may be replaced by a piece of flexible spring fixed by a screw to the slide; but its pressure is less uniform.
3. The bent arm w, Figs. 262 and 265, is clamped to the plate P by a screw d, and the long arm b, Fig. 265, bears against the back of the poppet-head, and thus ensures the steadiness of P. To insure steadiness by its means, b is drawn back in the direction of the arrow,[472] then hooked behind the poppet-head and clamped by the screw d. The firmer the support is the better.
4. The machine may be arranged so that the two lips can be polished at the same time, but it then becomes more complicated. In the tool here described, as soon as one lip is polished the cylinder carrier is unscrewed, turned around, and screwed against the left arm of the frame E, in which are two screw-holes opposite to those in the right-hand arm. Unscrewing the slide b b, the T-rest carrier is moved along the lathe bar until the polisher is over the lip; b b having been set in position is clamped, and, after seeing that w has a bearing, the second lip may be polished.
5. The cylinder carrier shown at X, Fig. 265, is used when the balance is in position. For a plain cylinder without its balance another form of carrier is employed that has at the edge of its central hole a small but solid projecting shell to which the cylinder is cemented.
583. Methods of Obtaining Continuous Motion. Rapid work is not possible when a single handle, as shown at M, is used for working the apparatus; recourse may, however, be had to one of the following methods:
1. Mount a small pinion with a square hole at its center, and make it engage with a large wheel driven by a handle. This wheel, having a great number of teeth, will proportionately increase the rate of motion.
2. Take a powerful clock movement and connect up its center arbor with the axis g h; having wound up the main spring, allow it to run down so long as it possesses sufficient power to drive the mechanism.
3. Fix a ferule at h, and drive it by the aid of a foot-wheel.
[473]
584. To Select a Balance Spring. Various methods are adopted for this purpose. The most common, by which the strength is ascertained from the length of cone formed by hanging the balance from the inner coil of the spring while the outer is held in a pair of tweezers. A more exact method, based on the same principle, is to employ the small gauge shown in Fig. 266.
A vertical pillar n n is fixed on a smooth plate B, and the slide C is held by friction in any position on n n. Place C so that the distance between c′ and B is equal to the distance between the end of the lower balance-staff pivot and the balance-spring collet. Having now fitted the spring in this collet, raise the balance, by tweezers holding the outer coil, until the lower pivot just rests on B. The graduations on C will then afford a measure of the extension of the spring, and this extension should about equal the radius of the balance measured on the same scale.
When the number of vibrations performed in an hour is known, a spring may be selected by fitting it to the balance and, while holding the outer coils in the tweezers, supporting the lower pivot on a hard smooth surface; the[474] balance is then made to vibrate and the vibrations are counted. The spring need not be pinned into the collet, but may be attached by wax to the top pivot.
585. To Fix a Balance-Spring to its Collet. A common way of doing this is to put the collet on a wire or broach which is held in one hand while the other presents the inner end of the spring, held in tweezers, to the hole in the collet; subsequently fixing it with a pin. The following is a more convenient method:
At the middle of a brass plate is a boss tapped through a vertical hole in its center to receive a small screw with flat head. When the collet is fixed by this screw passing through it, the operation of setting the spring in position and pinning it will be much facilitated, and the plate will at the same time afford a means of testing its parallelism. Two or three screws with heads of various sizes should be provided, and, in order that they may be always available, they should be screwed into holes at a corner of the plate.
This tool might be made of further use by adding an arrangement for holding the stud while drilling it, with a view to ensure that the hole is at the proper height.
[475]
586. Balance-Spring Gauge. A back view and side elevation of this are shown in Fig. 267; it can be made without difficulty by any watchmaker.
Through the middle of the plate passes a staff a b lightly pivoted between the cock p and the plate, and projecting on the left-hand side as far as the point a. Between the cock and plate it carries the collet of the spiral spring s and the stop-finger d c, and at the point z is a light finger y z that passes over the graduations on the dial.
When the stop-finger d c is free it stands in the direction of the dotted line i; on rotating the staff, by taking hold of the pivot a, in the direction of the arrow i, the extremity c of the finger will be brought round till it presses against the inclined plane r, which it will force back and, on coming against the stop near c, it will be held fast in the notch of the small bent lever that terminates at r. A spring maintains this lever always against a pin set in the plate. The index finger y z will now be standing over the zero of the scale, and will be maintained in that position until the finger d c is released by a momentary pressure of the hand on the push-piece n, when it will fly back to the initial position corresponding to the dotted line i.
587. The instrument is used as follows: The small sliding holder H, which is shown in section at E, (both of these figures being much enlarged since it is extremely fine and light), has a hole through its center that fits on to the axis at a. Having set a balance spring in the clip as indicated at E, place H on the pivot a, tightening the slide so that it can be used to rotate a b, and bring the stop-finger round to the position d c. Holding the outer coil of the spring in tweezers at v, its inner coil being[476] held in the clip, release the bent arm by means of the push-piece n. The point on the dial at which the finger y z is arrested will give a measure of the force of the balance spring v.
It will be evident that a spring can now be easily selected of the same strength as v, or stronger or weaker within definite limits which will become well known when some use has been made of the instrument.
The entire mechanism is enclosed within a box that is covered by a glass, through the middle of which a hole is made for the passage of a. The spring s is of about the strength ordinarily used for 18-line watches.
588. To Set a Breguet Spring in Position. To test the strength of a flat spiral spring that is to be formed into a Breguet spring, it must first be attached by its collet to the balance-staff. As the outer coil cannot be held in the stud owing to its being so near to the pivot hole, it must be held in the clip b of the little appliance shown at S, Fig. 268. Holding the watch-plate between a and c, the arm D can rise or fall on the rod h, and b can be brought to such a position that it grips the spring at a point just beyond the stud, so that, when the spring is turned inward, the point held may be brought up to the stud. The springing of the watch can thus be proceeded with, and springs tried until one of the required strength is obtained. It then only remains to give the spring the double curvature, and to take care that the end of the overcoil is brought sufficiently near to the center.
Since the action of a Breguet spring is more free than that of an ordinary flat spring, the watch may be found[477] to lose slightly; it is advisable therefore to time the watch before making the bend, so as to show a gain. A little experience will enable the watchmaker to avoid being much out, and any trifling error that there may be is corrected either by a displacement of bend or by altering the central coil. If the latter method is to be resorted to, it is better that the watch should lose rather than gain a little.
589. To Flatten an Ordinary Balance Spring. Remove the collet and stud, and clamp the spring by a central screw between two plates, which are then placed on a blueing tray and gently heated. A small piece of whitened steel is laid on the plate in order to see that the heat does not exceed what is needed to give a blue temper. Allow the plates to cool and separate them.
Ordinary springs being made of rolled steel and subsequently coiled, always open out on heating; it is therefore necessary before resorting to the above method, to coil up the spring, as otherwise the outer turn will be found to have opened beyond the stud.
590. To Diminish the Strength of a Balance Spring. Scraping the end or the entire length always renders the spring defective. Dipping in acid is very little better. It is preferable to embed the spring in cork or soft pith, and work it over a ground glass plate covered with oil stone dust that is fine and smooth. This method might be resorted to for reducing the height of a mainspring.
If the cork or pith is hard and only a little metal has to be removed, the operation is successful; but it is apt to result in more metal being removed from the edges than from the center. When much has to be removed, the[478] spring must be cemented to the polishing plate (shown at G, Fig. 269, and described in article 345) with fine wax, thoroughly liquid, so that on pressing the spring all its coils may come in contact with the plate; it must be held thus until cold. Now adjust the leveling screws, so that the whole surface bears flat on the glass; rub it as long as is considered necessary, and detach the spring as soon as the plate is sufficiently heated; boil in alcohol to clean its surface.
591. To Harden Gold Springs. Gold detent, thermometer, suspension and balance-springs can be obtained of a high degree of elasticity. Rolling hardens them, but renders them very brittle. They can be made supple and elastic, not by hardening, as in the case of steel, but by annealing, care being taken not to exceed a certain degree of heat. The spring may be coiled on a block and placed in a tube that has a smooth steel lid, then heat the tube in the flame of a spirit lamp, and as soon as the steel is of a blue temper, remove the flame and allow the whole to cool.
Others anneal by keeping the spring in boiling oil for a definite period.
The hardness of a gold spring increases with the proportions of alloy it contains, and, if well annealed, it will be very elastic and will break when bent too far, as in the case of steel.
592. To Ease an Index on Its Endstone Cap. It is a common but bad practice among watchmakers to scrape the inside of the ring of the index or to cut it through. A better method is as follows: Resting the[479] index on a cork, cover the inside of its ring with oil stone dust and make the cap rotate in its seat by means of a pinion calliper, the two points of which are inserted in the screw-holes. The operation is repeated as often as may be required.
593. To Cut the Large Hole in the Timepiece Dial Plate. Some workmen cut the hole in the dial-plate of a timepiece by means of a strong pair of compasses, one leg of which terminates in a bullet-nose that is supported in a central hole, while the other is provided with a hardened cutting point that serves to scrape out a groove.
Others use a rule that revolves on a conical point and carries a slide with a tracing point which can be replaced by a sharp-pointed cutter. Proceed in exactly the same manner as when using the compass, but a greater force can be applied, because, while one hand steadies the center, the full force of the other is applied to the cutter.
A third and still simpler plan is adopted by some clockmakers. A rod of the diameter of the central hole, and a cutter of which only the cutting point projects, are gripped in a vise at a distance apart equal to the radius of the hole to be made. Then passing the rod through the central hole and holding the plate in both hands, rotate it, at the same time applying pressure so as to cause the cutter to form a groove. When a moderate depth has been attained, invert the plate and cut one on the opposite side. Care is necessary when the grooves are on the point of uniting; on the removal of the center, smooth the edge with a half round file. Some workmen consider it more convenient to set the cutter and rod[480] in a thick piece of wood that is rounded at the top and made flat on its two sides towards the bottom, so as to be firmly held in the vise.
594. To Drill an Enamel Dial. Take a hard, well-sharpened graver and moisten it with turpentine or turpentine that contains camphor in solution, or in the following mixture, which is still better:
| Turpentine | 62 | parts | by weight. |
| Oxalate of potassium | 4 | ” | ” |
| Camphor | 4 | ” | ” |
The two latter substances are reduced to powder and dissolved in the turpentine, and two parts by weight of sandal wood may be added.
The graver point is placed on the dial at the point at which a hole is required and the graver is rotated backwards and forwards between the fingers. Practice, acquired by drilling a few holes in broken dials, will soon indicate the degree of pressure that can be applied without fear of accident. Some workmen prefer only to apply the maximum pressure while the graver rotates in one direction, reducing it during the opposite movement; others hold the handle or tang in one hand and rotate the graver with the other, always in the same direction.
The operation is continued, frequently arresting it, however, in order to set the graver and moisten it, until the copper-plate and back enamel are perforated.
As soon as this point is reached, take an iron or steel spindle, pointed at one end. The point must be more obtuse than the hole already formed in the dial. Charge this end with emery or oilstone dust, and place in the chuck in your lathe; when the spindle is caused to revolve the enamel on the contour of the hole will be[481] rapidly removed. When the copper disc is reached, a fine-pointed and sharp graver must be used to remove the metal that is exposed as well as that which is covered with only a thin layer of enamel; then renew the operation with the spindle, occasionally drawing a file along the surface of the acting cone. Or the cones of solid emery to be obtained at material stores can be used for this purpose. A workman must be very careless or unskilful to fail in rapidly drilling a hole in a dial by this method without accident, and he may carry on the process easily until the hole is large enough to permit the introduction of a rat-tail file.
595. To Enlarge a Dial-Hole With a Rat-Tail File. As an extra precaution the contour of the hole on either side may be coned with a spindle as explained above, so as to reduce the thickness of enamel to be acted upon by the file; but a watchmaker that has had any experience can dispense with such a preliminary, which we would at the same time recommend.
The file must enter the hole freely. If only the point can do this, the file must be held very short, so that the finger may come in contact with the dial before the larger diameter of the file locks in the hole, as this would almost certainly crack the enamel. Some workmen avoid such an accident by forcing on to the file a rather long cork of small diameter.
With a view to avoid scratching the face of the dial in case the file is drawn out of the hole in its backward movement, it is well to round off and polish its point.
During the forward movement a slight circular motion is given to the file, and in returning no pressure is to be applied; the file must merely slide over the surface. It is dipped from time to time in the liquid mentioned in[482] the last article. When the hole is large enough, a conical spindle should be used to smooth its edges as in the earlier stages of the process.
596. To Remove Enamel from the Back. To remove portions of the enamel from the back when it touches part of the motion work, etc., various methods are adopted.
The little spindles of solid emery that may be obtained at material stores may be used for the purpose.
Some watchmakers use a flattened lead ball perforated at its center and carried on a taper arbor, forming a kind of small grindstone, rounded across its rim. The arbor is held in a chuck and the edge of the lead disc is moistened with water, and emery powder sprinkled over it; when set in rotation the surface to be removed is held against the lead, the necessary pressure being applied by the finger against the other face. Water must be frequently sprinkled on the surface so as to avoid heating, and to maintain the emery in its place, and the dial is washed occasionally to examine the progress of the work.
In place of lead, some use emery formed into a solid block with shellac or various kinds of cement; it is centered on a large taper arbor, and should be at least a quarter of an inch thick and rounded at its edge. Such a disc is very hard when cold; it is used in the manner explained in the last paragraph, but wears more rapidly than the lead disc, if the latter is well made and supplied with emery of the right degree of coarseness, in sufficient abundance and evenly distributed.
597. Dials Fixed by Screws through the Edges. The screw-holes at the edge are drilled in the manner already explained in article 594, and the center hole is[483] enlarged as there described, if this is found to be necessary in order to permit the free passage of the hour wheel. The diameter of a dial may be reduced if it is too large in the manner explained in article 600. When it has been thus prepared, place it in position, the XII being exactly opposite the pendant, with the movement in the case, and close the bezel. If the dial is found to shake under the bezel it should be fixed with three or four small wedges of pegwood, care being taken that they do not subject the dial to much pressure. The accuracy of the position may be tested by holding a stretched piece of cord over the dial, and observing whether it passes at the same time through the middle of the pendant, the center hole, the XII and the VI. When the dial is thus found to be properly placed, mark one of screw-holes on the watch-plate through a dial-hole. Some care is necessary in doing this lest the hole is marked eccentrically or the dial is displaced by pressure against one side of the hole in it, which might result in the dial being cracked by the screw. Now remove the plate from its case and drill its screw hole in the drilling tool; tap it and fit the screw. Replace the plate in the case, and, after fixing the dial to it with the one screw thus fitted, carefully mark the second hole, etc.
Some workmen expedite the operation by marking and drilling the two holes at the same time; but if at first they do not succeed in making them in the required position they materially increase the time occupied, as one hole at least requires to be bushed, etc.
598. Dials Held in Position by Feet. If the dial has feet, and it is required to adapt them to the plate, they must be first carefully bent straight; then take a piece of stiff card board of moderate thickness, and[484] laying it on a piece of lead, punch out with a sharp-edged punch, or other means, a round hole of the diameter of a foot. Having inserted one foot in this hole, and placed the card on a flat surface with the dial uppermost, apply a slight pressure to this latter so as to mark the position of the second foot. Then punch out a second similar hole at the point thus indicated. If the operation has been properly conducted the two feet will enter the holes easily, but at the same time without constraint or shake, and they should project on the opposite side.
It now only remains to cut out the cardboard to the size of the plate, and, after making a central hole and a mark to exactly correspond with noon, to place it in position in the frame and under the bezel, as though it were the actual dial. Then mark the two holes for the dial feet, using a sharp-pointed chamferer that just fits the hole, held vertical and rotated by one hand, while pressure is applied by a finger of the other hand.
Some workmen merely prick holes in the card with some sharp-pointed instrument, or even force the feet through it at all risks; hence it happens that feet are often bent out of the vertical, and, in order to be able to bend them into the required position, it becomes necessary to enlarge the holes in the plate and bend the dial feet.
599. To Cut a Large Hole in a Dial. To set a Seconds Dial. This operation is performed in the ordinary lathe. The hole is cut by a ring of thin iron or copper cut with saw-like teeth round its edge, as shown[485] at V, Fig. 270, kept in rotation and charged with fine emery and oil or water or, what is better, turpentine. The mixture described in article 594 will secure a still more rapid action.
It is advisable that the thickness of the ring be made to gradually diminish from e towards i, as indicated by the section at S, so as to prevent it from choking and probably cracking the dial.
The following arrangement may be adopted: Prepare a strong ring with a projecting internal ridge, shown in section at A B C; cement the dial, g d, to this ridge, or fix it by any convenient means, and attach this supporting ring to a chuck that rotates in a direction opposite to that of the cutter, but much less rapidly. On reaching the copper disc, reverse A B C and repeat the above process on the back enamel. The copper is thus exposed on the two sides. On filling the deeper groove with dilute nitric acid the metal will gradually be eaten away, and the acid should be renewed as often as may be needed. It then only remains to smooth the edge, beveling it on the front side, and to cement the seconds dial in position.
The use of acid may be avoided and the cutter passed through the copper, but greater care must be exercised, because the work is more difficult when operating on metal. It will, however, not be difficult after a few trials.
Willis recommends that the dial be cut straight through, commencing at the back and using emery and oil, the dial being cemented on a brass block immediately below the cutter, and rather less in diameter than the hole produced. He mounts the cutter on a stock that is provided with a pump center, the point of which is maintained throughout the operation in the small hole or point that marks the center of the hole. The great[486] advantage of this method is that the taper of the hole is in the required direction and no filing is necessary.
600. To Reduce the Diameter of a Dial. Resting the dial in an inclined position against a block, file its edge with a smooth or half-smooth file, which must only be allowed to act while advancing, and is at the same time displaced sideways and turned so as to follow the contour of the dial. The file should be dipped occasionally in turpentine, and when sufficient enamel has been removed, pass a new emery stick over it to remove the file marks.
601. To Remove a Figure or Name from a Dial. Oil of spike lavender may be employed for erasing a letter or number.
Enamel powder made into a paste with water, oil, or turpentine, is also used for this purpose. It should be previously decanted so as to obtain several degrees of fineness. The powder used for re-polishing the surface where an impression has been removed must be extremely fine. It is applied on a piece of pegwood, although some use ivory.
The last and best system is to use diamond powder. Take a little of the powder, made into a paste with fine oil, on the end of a copper polisher, the surface of which has been freshly filed and slightly rounded. On rubbing the marks they will be seen to rapidly disappear.
The surface is left a little dull; it may be rendered bright by rubbing with the same powder mixed with a greater quantity of oil and applied with a stick of pegwood.
Watchmakers will do well to try several degrees of fineness of the diamond powder on old dials.
[487]
602. To Restore a Silver Dial. We proceed to describe several methods of doing this, but would at once observe that when the earlier ones are adopted, the hours, if they are painted, necessarily disappear; whereas they can be retained by resorting to the last method although great caution must in that case be taken; moreover, it is much more difficult to accomplish than the others.
603. First Method. This is the most expeditious system, and at the same time the most certain of success.
If the hours are in enamel, there need be no fear; if engraved and filled with black composition, this will disappear, but it can be replaced without difficulty. There remains the case of painted hours to be considered.
First make thin marks with a fine point along the lines of all the figures, taking care not to pass beyond their ends: and do the same for the dots and lines that indicate the seconds. By using a glass and following the instructions given in article 619, no difficulty will be experienced in doing this, and the fine lines and dots thus made will afford sufficient guide for re-marking the hours.
Begin by cleaning the dial with a brush and fine pumice-stone so as to remove spots and slight scratches.
604. To Frost the Surface. In order to frost the surface of the dial, take a spirit lamp with large wick, and direct a blow-pipe flame from it against the under side of the dial, which is held by one hand with a hooked support. If the flame is gently directed over the entire surface of the back, a good dead surface is obtained that resists a moderate degree of friction either in soaping with[488] a fine sponge, or washing in a large quantity of water, or in applying soft bread and oil of spike lavender to erase irregularities or marks made in painting the figures.
The application of the flame is several times repeated, so as to obtain a decisive and even frosting; but it is necessary, with a view to avoid buckling the thin metal, to place an iron or copper washer behind the dial. The flame oxidizes the surface of the metal; that is to say, it causes the oxygen of the air to combine with the copper which is alloyed with silver.
605. Pickling or Bleaching the Dial. Introduce sufficient warm water into a suitable flat vessel to completely cover the dial, and gently pour into it a few drops of sulphuric acid (oil of vitriol), so that the two liquids are in the proportion of about 1 to 10; then lay the dial in this dilute acid for a period that varies from half to one or two minutes. The frosting will first become yellow and then of a beautiful white color. Wash it in a large quantity of water, wipe with a fine linen rag, and apply the flame momentarily to the back in order to prevent the formation of spots on the surface.
When several dials have to be operated upon, the acid is put in a porcelain dish and boiled by a lamp. Then place each dial for a moment in it, wash in an abundant suppl of water, and dry by tapping with a fine linen rag.
606. Second Method. For the benefit of such as care to experiment with it, we add the following method: Brush the dial with a coarse brush and pumice-stone reduced to an impalpable powder until no scratches are visible. Make it red-hot and allow to cool. Then dip for two or three seconds in a porcelain vessel containing dilute sulphuric acid; on removal it will be found to be[489] white, but rather dull. In order to produce a clear frosted surface, place the dial in a mixture of
| 6 | parts | by weight of | nitric acid of 1.22 sp. gr.[8] |
| 21 | ” | ” | sulphuric acid. |
| 50 | ” | ” | water. |
Allow the metal to remain in this acid until no more globules are seen to form on its surface, then withdraw it and immediately place in cold water. The dial will be observed to be nearly black; it is then pickled as above explained (605), washed well, heated red-hot and, when cold, again pickled; the operation is concluded by thoroughly washing its surface.
607. Third Method.[9] Cover the surface of the dial with a thin layer of soap, and brush it over, taking care to avoid touching the hours if these are not enamelled. This can best be done with a fine brush and pumice stone reduced to an impalpable powder. When the dial has been made as clean as possible by this means, wash it carefully with water and tartrate of potash (cream of tartar), then plunge it immediately in the hot solution of nitrate of silver (608) attaching it to the silver wire which is fastened to the zinc and copper discs 609; in two or three minutes the surface of the metal will be perfectly frosted, and, if each operation has been cautiously performed, the hours will remain intact.
Each time the zinc and copper discs are used they should be cleaned with nitric acid, and rubbed over with pumice stone. As soon as the dial is clean, immerse it in the solution; the least delay is apt to cause the surface to become oxidized through contact with the air.
[490]
608. To Prepare the Silver Solution. Dissolve an ounce[10] of solid nitrate of silver (lunar caustic) in a small quantity of water; filter the solution and add twice its volume of liquid ammonia. In a separate vessel dissolve 6 ounces of yellow prussiate of potash and 4 ounces of crystallized carbonate of soda in 60 ounces of water, contained in a vessel of enamelled iron, which must be placed on the fire. When near the boiling point add the concentrated solution of nitrate of silver, and allow the mixture to boil for an hour, taking care to add hot water in sufficient quantity to make up for that lost by evaporation; then filter the resulting solution.
609. To Prepare the Discs and to Plate. In order to use this solution for restoring a dial or plating any other object, take two discs about the size of a half dollar, one made of zinc and the other of copper, and, after making a small hole in each, unite them with a copper wire, or, preferably, with one of silver. After having attached the dial or other object to this connecting wire, immerse the entire system in a glass or earthenware vessel, and pour over it a sufficient quantity of the solution, previously made hot.
If the object operated upon is perfectly clean, bright and free from all greasy or oily matter, its surface will be found in two or three minutes to be covered with a firmly adherent layer of silver. When only a small piece is treated it will suffice to immerse it in the hot liquor, and rub it with the finger; a bright silvered surface will thus be obtained.
610. To Clean Metal Dials of Clocks. When the hours are neither enamelled nor engraved, it is[491] necessary to first trace out the several lines and dots in a manner similar to that explained in article 619.
611. Ordinary Mode of Cleaning the Dial. Very often it is possible to make a silver or plated dial of either watch or clock sufficiently clean by merely brushing with powdered cream of tartar worked into a paste with water, carefully rubbing around any painted figures with a fine stiff brush. Then wash with clean water, dry by gently tapping with a fine linen rag, and expose to a slight heat. (This is in part the same method as is described in article 607; the two may be combined). If the dial is tarnished, it must be silvered as explained below.
612. To Plate a Brass Dial. Preparing the Silver. Place in a glass flask from 100 to 150 grains of pure silver made into thin strips by means of a hammer or rolling mill. Add five or six times the weight of dilute nitric acid so as to completely cover the silver, and warm the vessel, taking care to avoid breathing the fumes or admitting them to the workshop. The metal will be dissolved, and, on continuing the application of heat until all the liquid is evaporated, crystals will be found at the bottom. When cool fill the flask with warm water and, as soon as all the crystals are dissolved, pour the solution into a porcelain dish, previously half filled with water. Place in it a sheet of clean copper of about the size of three fingers, and allow it to remain for the night.
On the following day all the silver will be found attached to the plate, and it can be collected by immersing this in water. Carefully pour off the water from the fine powder thus obtained, and wash it once or twice with an abundant supply of pure water; then dry thoroughly[492] with the application of very moderate heat. If the silver thus obtained is not required for immediate use, it should be kept in a dark blue bottle to avoid the influence of light and moisture.
613. To Prepare the Surface of the Dial. It must be quite smooth, thoroughly washed and dried. M. Robert recommends that the smoothing be accomplished by using soft water of Ayr stone, rubbing in all directions, in order remove scratches. Or pegwood charcoal can be used, sloped at one end like a whistle, and applied with water. Others employ pumice-stone powder and very fine emery paper.
614. To Apply the Silver. Take equal parts of rock-salt and cream of tartar, pound them together, and when well mixed, take about 60 or 80 grains of the mixture, and add to it 15 or 20 grains of silver, prepared as above described, and add a few drops of water to form a thick paste, which must be well mixed and worked up on a ground glass plate by means of a horn spatula to remove all grits. A glass pestle may be used for this purpose.
The dial having been prepared, take up some of the paste with a perfectly clean and rather stiff brush, and spread it over the surface of the dial, rubbing quickly and somewhat harshly. The brush should be worked about in all directions, so as to avoid scratches, until the silver is found to adhere firmly to the dial. According to M. Robert, this rubbing is to be continued until the required grain is obtained; but M. Fournier states that it should be arrested when the surface possesses a lead-grey color; the dial is then well washed, dried, and the operation re-commenced exactly as before except that the brush[493] used is softer. A good surface will thus be formed, and it will be whiter if the proportion of silver in the paste is increased.
The result attained in great part depends on the skill of the operator, and this can only be acquired by experience.
615. Observations. If the mixture contains too much of the salt or too little silver, the latter will adhere with difficulty, and will come off in lumps or scales; moreover, it will not have so white a color.
As the proportion of silver is increased, the white becomes gradually better; but, on the other hand, if it is in excess the surface will be coarse and uneven. Too much or too little water will have nearly the same effect. The color is worse if the dial has been imperfectly smoothed, and when several days or even hours are allowed to elapse between the cleaning and silvering.
It is essential that the rock-salt and the cream of tartar be perfectly pure; if they contain any earthy matter it will scratch the surface and impair its whiteness.
As soon as the operation is completed, the dial must be washed in an abundant supply of pure water; any neglect in this particular will cause it to blacken. This washing may be performed with an ordinary watch-brush, charged with cream of tartar. Then rinse the dial, and dry, tapping gently with a fine linen rag, and finish by slightly warming it.
616. Gold Dials. It will not be necessary to say much on this subject. In order to restore the color to a gold or gilt dial, it may be dipped for a few seconds in the following mixture: Half an ounce of cyanide of potassium is dissolved in a quart of hot water, and two[494] ounces of strong ammonia mixed with half an ounce of spirits of wine and added to the solution. On removal from this bath, the dial is immediately immersed in warm water; then brush with soap, rinse, and dry in hot boxwood dust. Or it may be simply immersed in dilute nitric acid, but in that case any painted figures will be destroyed.
617. Another Receipt. The following is the method ordinarily adopted for coloring gold dials; but it is to be observed at the outset that, although apparently characterized by extreme simplicity, a good deal of skill is needed to ascertain when the mixture is of the right consistency, and when the dial has been sufficiently exposed to its action.
Make a mixture of 4 oz. saltpetre, 2 oz. alum and 2 oz. common salt (the purest attainable), with a very little water. On placing this in a blacklead crucible over the fire it will become limpid, and must be allowed to boil until somewhat pasty and of a pale yellow color, stirring all the while with a stick. Now take two dials, back to back, that have been cleaned and blackened by annealing, and pass a platinum wire through their centers so that they hang horizontally, resting on a loop at its end; immerse the dials in the hot color crucible, and, after holding it for a short time, withdraw them and immediately immerse in a vessel of nearly boiling water standing close by. The “color” will then be washed, and the progress of the work can be observed. The dials are again dipped in the crucible if necessary, and will probably require about three minutes’ immersion in all. It is advisable that the “color” be thick rather than thin, as in the latter case the dials are apt to be clouded.
[495]
618. To Re-Paint the Hours on a Dial. The following system has reference to metallic dials, but the reader will be able to select without difficulty the parts that are applicable to altering and retouching the figures on an enamel dial.
We can answer from experience for its being successful, but would at once observe that it cannot be practised hastily, because some skill is essential in addition to patience and care: with them, success is certain.
619. First Method. Before removing the hour figures and the divisions for minutes, mark them with a fine steel point, using a lens and proceeding with great caution. These marks will remain, so that after the dial has been colored or otherwise treated, it will only be necessary to trace over them with a fine brush charged with ink.
The short horizontal lines at the top and bottom of each figure, termed serifs, as well as the two circles that enclose the minute divisions, can be drawn with a sharpened point of the screw-bar compass.
620. Second Method. Lay on the dial to be treated, or on another of the same dimensions that has the hours well marked, a piece of tracing paper, so that neither it nor the dial can be displaced, and, using India ink and a fine drawing pen, accurately trace the hour figures and the minute divisions. When the ink is dry, invert the paper and trace the figures, etc., thus obtained on the other side of the paper, this time using a pencil instead of ink. Laying the paper on the dial so that neither can slip, pass with a rounded point of some soft metal over all the figures and divisions. Now remove the paper without permitting it to rub against the dial. If the pencil[496] has been selected of a suitable degree of hardness, and the operation skilfully conducted, the marks showing the hours and minutes will be clearly visible, although faint, and, holding the glass to the eye, the several marks must be traced over with a fine brush or pencil. If this operation is performed carefully, the dial will present a very good appearance.
621. Third Method. Place the dial within a kind of large barrel that has at its center a thick pivot projecting. The three rules, D, F, J, Fig. 271, can be fitted on to this by their central holes so as to rotate on it. Being supported by the rim of the barrel, they will pass very near to the surface of the dial without rubbing against it. From an inspection of the figures it will be evident that D is used for forming the bars of an X, F for those of a V, and J for that of an I. Of course the serifs at either end of a numeral are made with the compass.
It is unnecessary to observe that if the edge of the rim be graduated, and the rules terminated by any convenient arrangement for arresting their motion at the graduations, the hours can be traced on a dial from which all marks have been erased. It then only remains to paint them in with ink.
622. Inks for Painting the Hours. Work up some clean lampblack in oil of spike lavender. Then add a small quantity of spirit varnish, and thoroughly mix the whole. This is applied with a fine brush, and the success of the operation depends very much on the selection of this latter.
[497]
623. Another Recipe. Mix together ivory black, pure wax, and turpentine; the more the turpentine is in excess, the more will the ink be colored. It is best adapted for filling in the figures engraved in dials, and a gentle heat should be applied to impart a smooth surface. Any irregularities in the painting may be erased by the aid of oil of spike lavender and soft bread.
624. To Set a Watch-Hand in Position. The most delicate part of this operation is the enlarging of the center hole of a minute hand and the closing of the hour hand socket when necessary.
Set the hand in cement on a brass plate that has a hole passing through at the point corresponding to the socket. The hole must then be enlarged with a semi-cylindrical drill to a diameter such that it will only be necessary to gently pass the broach through afterwards. The drill must not be worked too rapidly, and the plate may require to be immersed occasionally in water, so as to avoid heating the cement and thus loosening the hand.
When the hole in a watch-hand is too large, it may generally be sufficiently reduced by means of the staking tool.
625. To Redden Watch-Hands. Make into a paste (while holding over a lamp) a mixture of two parts carmine, two parts chloride of silver, and one part Japan varnish. Having spread some of this over the hands, lay them face upwards on a sheet of copper, applying heat until the desired tint is produced.
[498]
626. To Drill Glass. A hole can be rapidly made in a piece of glass by using a steel spindle ground at the extremity to a point with three or four faces, and hardened in mercury. This spindle may be chucked in the lathe, or rotated between the finger and thumb, the point being moistened from time to time with turpentine or the mixture mentioned in article 594. The glass operated upon should be held against the blade with the thumb or a pad immediately behind it, and should receive a gentle rocking motion so as to prevent the drill from choking in the hole formed; and as soon as the point appears on the other side, the drilling should be re-commenced from that side. It is a good precaution to mark the point at which the hole is required with a diamond or the steel point before commencing, and the pressure applied while drilling must be but slight.
627. To Cut Glass. It is possible to cut a sheet of glass roughly to any required shape with an ordinary pair of scissors, if the operation is performed under water. Of course a smooth edge cannot be obtained by such means, but it will often be found sufficient.
A more exact method is to use a piece of ignited charcoal or the pastile mentioned below, first making a scratch as a starting-point and holding the heated substance a little in advance of the crack: this will follow the direction in which the hot body is moved. The method is available for dividing glass tubes or other objects in irregular shape.
What is known as the “Berzelius pastile” for cutting glass is formed of the following mixture: Gum arabic, 6 parts; gum tragacanth, 2³⁄₁₀ parts; benzoin, 2³⁄₁₀ parts; lampblack, 18 parts; and the requisite quantity of water.[499] Mix the gum tragacanth with water and leave it to swell up for some hours; dissolve the gum arabic in a sufficiency of water, and powder the benzoin finely. Mix the three, forming a paste of such a consistency as to be moulded, the lampblack and a little water being also added. The pastiles are then formed by rolling between two plates.
The diameter of a watch-glass can be reduced by centering it in a lathe, chucking it between two pieces of cork or a pair of cork arbors, and applying a moistened piece of glass to the edge, or an emery stick. When the desired diameter is attained, polish the edge with pumice-stone followed by putty powder applied on a wet cork.
628. To Broach a Hole Vertically. A hole in a plate, as for example, that in a barrel, is seldom maintained at right angles to the surface by young watchmakers when they have occasion to employ a broach. By adopting the following very simple method, success may be assured:
Take along cork of a diameter rather less than that of the barrel or other object operated upon, and make a hole in the length of the cork through which the broach can be passed. When the cork has been turned quite true on its end and edge, the broach is pushed through and used to enlarge the hole; by pressing against the back of the cork it is kept always against the barrel, and the vertically of the broach is thus maintained.
629. To Broach and Maintain the Hole Round. Many workmen either use bad broaches or work them in a jerky manner so as to make striæ within the hole. To[500] avoid such distortion when uncertain of the hand, draw the broach somewhat out of the hole and insert in the space thus left one or two pieces of hard wood, forming a kind of jacket, so that at least two cutting edges of the broach may be prevented from acting; the broach forcing its way into the pieces of wood, will carry them round with it. A few trials will enable a workman to employ this method.
When operating on holes that are rather large it is a good practice to use broaches that are semi-cylindrical or triangular, their sections being as shown at C, A, or D, Fig. 272. C and D are excellent for smoothing a hole, but remove very little metal; A does more work in a given time and, if well handled, will maintain the hole very round. When operating on a large hole, these broaches can be rotated in a brace; but, in the case of small or medium size holes, it is much better to mount them in a drilling headstock like those used by case-makers for the joint holes, and the tools can be revolved by the aid of a hand or foot-wheel. Only one precaution need be noted, namely, the necessity of avoiding the application of too much pressure, so that the broach jams in the hole.
630. To File an Arbor or Drift Square by Hand. The most expeditious mode of making a square, as, for example, that of a barrel-arbor, is by using the tool described in article 513, or one of analogous construction; but in their absence the square must be made by hand.
[501]
Soften the jaws of a hand-vise and make four flat faces on them, forming an exact square, either by filing or by attaching pieces by rivets. Having clamped the steel on which a square is to be formed in the vise, hold this in one hand and rest it in a recess in a wood block; with the other hand hold the file, determining its position by laying it on the upper face of the square before applying it to the arbor. After giving one or two strokes, test the truth of the face formed by again laying the file on the upper face of the vise. Then turn the vise through a quarter of a circle and proceed in the same manner; and so on for the other two faces. Before finishing the square and while there still remains a slight excess of metal on each face, ascertain, by examining the end and measuring the lengths of the faces, whether the square is accurately formed.
Put in the lathe and draw with flat file in the direction of the axis along each face. If the square is to be polished after hardening, proceed in the same manner, using an iron polisher in place of the file, to which longitudinal, transverse, and circular movements may be given.
After hardening, the square may be tempered to some shade between pale yellow and a deep blue, according to the purpose for which it is intended.
[502]
631. Another Method. Let it be required to fit a square to the hole in a keyless winding pinion, the diagonal of which is a′ b′, Fig. 273. Turn the end c d of the rod down until it exactly enters the square hole. Measure with a tapered strip of brass whose edges are filed sharp the diagonal a′ b′; this will give the diameter a b of the larger portion of the rod, as will be gathered from the figure a′ d b′ c.
Turn down the portions of the rod on which the square is to be made and file four faces, each time arresting the action of the file when it is on a level with the smaller cylindrical portion, maintaining the angles equal by observing that the four portions of the circumference retain their equality while gradually diminishing. By a little care and using the square-headed hand-vise described above, success may be assured.
632. To Drift a Square Hole in Steel of Moderate Thickness. The steel in which it is required to make a square hole must be very soft and thoroughly annealed, otherwise it is sure to crack under the action of the drift or when hammered.
To make the hole in the center of a stop-finger, for example, the hole must first be drilled of a diameter less than the side of the final square: the drift is then inserted, liberally supplied with oil. On removing the drift, the square is enlarged by means of a fine square file acting on each of its corners; then with slightly larger drifts the hole is gradually increased to the required size. They are driven with a rather heavy hammer, care being taken to maintain them vertical and with each change of drift a file should be passed over the surface to remove the metal that collects at the corners.
[503]
633. To Drift a Stem Winding Pinion. For this purpose the methods explained above are insufficient, on account of the great thickness of metal, which we repeat, must always be very soft.
Nevertheless, by using drifts that are very slightly conical, short, and roughed like a file in an inclined direction, and by using a number that succeed one another of gradually increasing diameter, steel of considerable thickness can be treated in the above manner; but it is far less expeditious than the method explained below.
The piece of steel with a hole drilled through it should be from a third to half as large again in diameter as it is finally required to be. After turning the surface true and the two ends flat, the tube is driven on to a long drift of suitable temper, well oiled and of nearly the diameter of the hole to be made. Clamping this drift in a hand-vise or sliding tongs, rest the steel tube on an anvil with its axis and one face of the drift parallel to the surface, and forge the tube with a medium size hammer. Turn the drift through a quarter of a circle, again forge the tube, and so on. Care should be taken that the drift is forced further into the tube from time to time, oil being at the same time applied.
A punching machine is also very serviceable for the purpose of drifting. Sometimes the attempt is made to forge the metal red-hot, but this is much more difficult on account of the rapidity that is needed in threading the hot steel, hammering and removing it. Moreover, the steel has to be heated several times and is apt to be burnt.
If the method above explained, in which the metal is kept cold, is carefully performed, it succeeds very well, but it must be observed that steel is often met with that is irregular in composition and cracks.
[504]
634. A Steel Rod. When the rod is short use a large pair of sliding tongs or a hand-vise, the jaws of which have been softened in order to make a groove in each parallel to their edge. Placing the rod in the cylindrical recess thus formed between the jaws, fix one side of the hand-vise in a bench vise, holding a spirit lamp near the jaws and, as the steel changes its color, tighten the slide or screw of the former. When the metal assumes a blue color and the jaws are as tight as possible, remove the lamp, allowing the whole to cool slowly or by applying water.
The jaws should be formed so as to bend the rod rather more than is ultimately required, because steel on being released is apt to partially recover its initial curvature.
When the rod is long grip its two ends in the frame of a fret-saw, which should be somewhat strong. Then hold a lamp under the rod, at the same time stretching the rod more and more, and allow the steel to remain stretched until quite cold. If it has been sufficiently stretched the metal will be rendered perfectly straight.
635. A Plate, Escape-Wheel or Stem Wind Wheel. In the middle of a square plate that is moderately thick, fit a strong screw with a large and long head; this screw must pass freely through a disc that is perfectly flat and fits easily into the upper side of the escape-wheel. Now fix the plate between the jaws of a bench-vise, and, placing the wheel between this plate and the disc with a moderate pressure applied by the screw, hold a lamp to the under side, gradually tightening the screw[505] as the steel changes color so as to obtain a maximum pressure when a blue temper is reached. Leave the whole to cool in position.
636. A Verge, Small Arbor or Pinion Staff. When steel is sufficiently tempered, it may be laid flat on a smooth piece of copper held in the vise and flattened by hammering as in the case of an ordinary rod; but if it is hard the blade of the hammer must be used. Every watchmaker knows, for example, that a verge is straightened by striking with the blade against its concave side, while the convex side rests flat on a smooth anvil. By the action of the hammer the side that is struck becomes a little longer, thus straightening the staff, It is not usually necessary to remove the marks left by the hammer, but if this has to be done the operation should be continued beyond what is necessary to straighten the metal, then temper it to a blue color and allow it to cool.
A small smooth taper arbor or pinion staff, can be straightened by resting it on a wood block, and rubbing the concave side lengthwise with a worn file of medium cut, applying considerable pressure, the arbor being firmly supported below to avoid breakage. The result is the same as with the blows of a hammer, but the marks left are barely visible.
[7] It may be well to point out that the above details relate to the case in which the stem-wind work is on the top plate. When it is under the dial, of course the corrections here given for a deep and shallow depth will be reversed.
[8] This contains about 1 part of pure acid and 2 parts of water.
[9] Taken from M. H. Robert’s Etudes sur diverses questions d’horlogerie.
[10] If a greater or less quantity of the solution is required, all these quantities must, of course, be increased or diminished proportionately.
CLOCK HAIRSPRINGS.
| Repairers’ Assortment. Best Quality, Colletted, carefully arranged, box containing 50, fifteen kinds, by mail, | $1.50 |
| Same Assortment, box containing 100, | 2.50 |
| One Dozen for any make of clocks, | .50 |
| One-Half Dozen for any make of clocks, | .30 |
| Single Springs, | .10 |
| If your jobber doesn’t keep them send and get them direct, postpaid. | |
F. N. MANROSS,
Manufacturer of every description of Clock and Gauge Hairsprings.
FORESTVILLE, CONN.
The American Jeweler
CHICAGO, ILL.
A Monthly Journal for Watchmakers and Jewelers.
As an advertising medium it is unsurpassed. Advertising Rates mailed on application. Has more paid subscribers than any other journal in the trade.
If in search of a situation or if you want a watchmaker, place your want ad. in The American Jeweler.
$1.00 per Year. Send for Sample Copy.
GEO. K. HAZLITT & CO.
...PUBLISHERS...
91 Plymouth Place, CHICAGO, ILL.
Eureka Mainspring Winder,
FOR WATCHMAKERS’ USE.
This instrument is always ready for use, and will instantly wind any watch spring into coils to fit any American or Swiss Barrel. It is simple and durable.
Price, Nickel Plated, $1.25.
The trade will find it to their advantage to send us their orders, as we have the most experienced men, and all orders are filled with the best quality goods, the same day as order is received, and at the lowest market prices.
GREEN BROS.
Importers and Jobbers of Watchmakers, Jewelers and Engravers
Fine Grade Tools, Materials and General Supplies.
11 Maiden Lane, NEW YORK.
THE HARTUNG COMPANY,
211 STATE ST., CHICAGO.
Watchmakers and Jewelers
FOR THE TRADE EXCLUSIVELY.
Fine Watch Repairing of all kinds our Specialty.
Demagnetizing. Changing key wind watches to stem wind. Watch case and jewelry repairing.
All work promptly and carefully executed. Our reputation is of a good and long standing. We will be pleased to send price list and information on demand.
| CRUCIBLE FURNACE | For Manufacturing |
| Jewelers.... |
No. 15. Crucible Furnace. This will take crucibles up to 4×3½ inches, holding about six pounds when full, and with ½ inch gas pipe, and a pressure of gas supplying about 50 feet per hour, will melt a crucible of gold, silver or brass in about 30 minutes, and the same quantity of cast iron in about 60 minutes from the time the gas is first lighted. It is made in a very substantial manner, and is recommended as a first-rate furnace for manufacturing jewelers, reducing photo waste, etc. The lid can be lifted away by a handle provided for the purpose.
Prices on Application.
MANUFACTURED ONLY BY
BUFFALO DENTAL MFG. CO
587-589 Main Street,
BUFFALO, N. Y.
Watchmaking
If you want to become a thorough practical watchmaker, you can do so at less expense and in less time at this school than any other place. Students received at any time. Send for catalogue and samples of engraving. Address:
Hutchinson’s Practical School for Watchmakers,
| J. L. Hutchinson, | La Porte, Ind. |
| SUPERINTENDENT. |
Anything and Everything in the shape of
Dials Made to Order from our own
Design or from Yours.
Dials with Portraits, Monograms, Landscapes, Yachting, Hunting, Fishing, Polo, Base Ball, Tennis, Cricket, or in fact any design.
SOCIETY DESIGNS A SPECIALTY.
Complete Stock of Plain and Fancy Dials always on hand.
L H. KELLER & CO.
Watchmakers and Jewelers
Tools & and & Materials
OF EVERY DESCRIPTION.
64 Nassau Street NEW YORK.
The Chicago Watchmakers’ Institute
A Modern Trade |
|
Scientific and |
| TEACHES | Watchmaking and Repairing, |
| Jewelry Work and Engraving, | |
| and gives a Thorough Course in Optics. |
Call and see our school and its work, or send for catalogue.
GEO. D. PARSONS, Principal.
913 D, Masonic Temple,
CHICAGO, ILL.
WHEN YOU NEED THE BEST
Pivot Polishers,
Crown Chucks,
Staking Tools,
Gear Cutters,
Turning Tools,
Pivot Drills,
Idler Pulleys,
Roller Removers,
Pump Drills,
Hairspring Stud Index,
Tempering Compound,
Or any of the tools you need daily; and when you want the best and most practical tools, those that have been designed by practical workmen and proved by them; when you want the latest, best and cheapest tools; send for circulars and prices to
A. W. JOHANSON,
Manufacturer of Watchmakers’ and Jewelers’ Tools,
326 Wells Street
CHICAGO, ILL.
PRACTICAL BOOKS
....FOR....
Watchmakers AND Jewelers.
FOR SALE BY
GEO. K. HAZLITT & Co.,
91 PLYMOUTH PLACE,
CHICAGO.
Staff Making and Pivoting. Practical directions for making new staffs from raw material. By Eugene E. Hall. Chapter I. The raw material; the gravers; the roughing out; the hardening and tempering. Chapter II. Kinds of pivots; their shape; capillarity; the requirements of a good pivot. Chapter III. The proper measurements and how obtained. Chapter IV. The gauging of holes; the side shake; the position of the graver. Chapter V. The grinding and polishing; the reversal of the work; the wax chuck. Chapter VI. Another wax chuck; the centering of the work. Chapter VII. The finishing of the staff; pivoting; making pivot drills: hardening drills; the drilling and fitting of new pivots. Illustrated with 24 engravings. 48 pages.
Paper covers $ 25
Watch Repairing. By N. B. Sherwood. Contents: The Bench and its Accessories; The Vise and Oilstone; Lathe Appliances; The Jacot Lathe; Depthing Tool; Expanding the Web of a Wheel; The Spreading Tool and its Use; The Rounding-Up Tool; Stud Remover; Opening the Regulator; Roller Remover; Replacing Broken Teeth; Graining Polishing Blocks; Polishing Steel Work; Polishing Pivots; Superiority of Conical Pivots; The Cutting Engine; To Cut ’Scape Wheels; Replacing Broken Arbors: Hardening and Tempering. Illustrated.
Price 35
The Watchmakers’ and Jewelers’ Practical Hand Book. A guide to the student and a workshop companion for the practical watchmaker. Hundreds of valuable suggestions from private formulas and the best authorities, together with hints on making certain repairs. An invaluable book for the workman. The most valuable book for the money ever offered to the trade. Fifth Edition, Revised and Enlarged. Edited and compiled by Henry G. Abbott. Illustrated with 154 zinc etchings. 118 Pages. Flexible muslin, 50 cents. Paper covers
35
Prize Essay on the Detached Lever Escapement for watches and timepieces. A practical and theoretical treatise, by Moritz Grossman, to which the first prize was awarded by adjudicators appointed by the British Horological Institute, London. 118 pages, bound in paper covers, with 20 full page plates, bound in a separate volume. Two volumes, price,
1 50
Acme Record of Watches Bought and Sold. A complete record for dealers in watches, by which they can at all times tell what watches have been sold, by whom bought, price paid, profit made, etc., and in case of the watch being imperfect, the dealer can readily ascertain from whom he purchased it, or if stolen he has a full description of them which should materially aid in their recovery. Books of 3,000 Entries, substantially bound
$1 00
The Acme Record of Watch Repairs. A simple and economical method of recording watch repairs. Book of 1,000 entries, substantially bound
1 00
The Acme Record of Jewelry Repairs. A simple and economical method of recording jewelry and miscellaneous repairs. Book of 1,000 entries, substantially bound
1 00
The Acme Watch Guarantee Book. If you desire to increase your watch repair business, purchase an Acme Guarantee Book, and advertise the fact that you “give a written guarantee with all work turned out.” These books are printed with a stub so that you may keep a record of all guarantees made, with date, name of owner, description of movement and case, repairs, etc. They are bound in heavy, substantial covers printed on good paper and perforated all around so they can be easily torn out.
Books of 200 Guarantees 1 00
Books of 300 Guarantees 1 50
Books of 500 Guarantees 2 52
Abbott’s Americas Watchmaker and Jeweler. By Henry G. Abbott. An Encyclopedia for the Horologist, Jeweler, Gold and Silversmith. Containing Hundreds of Private Receipts and Formulas, Compiled from the Most Reliable Sources. Complete Directions for Using all the Latest Tools, Attachments and Devices for Watchmakers and Jewelers.
Among other things contained in this volume may be mentioned a thorough explanation of adjustments, both to positions and isochronism; directions for making all the alloys used by a watchmaker, jeweler and metalworker; a review of all the escapements, their action, construction and proportion, together with diagrams of each escapement; an exhaustive treatise on balances, their expansion and contraction, auxiliaries, sizes and weights and direction for poising; the balance staff, and full and complete directions for making and replacing new staffs, together with the use of the graver in turning and the manipulation of measuring instruments; directions for making twenty different cements of great value to the watchmaker and jeweler, including lathe wax; directions for cleansing, pickling and polishing all kinds of metals: magnetism and the use of the various demagnetizers; electroplating, bronzing and staining all metals; gauges of all kinds, and directions for using; soldering and directions for making all kinds of hard and soft solder and fluxes; steel, its treatment in annealing, hardening, tempering, etc.; watch cleaning, repairing, etc.: a treatise on wheels and pinions: directions for using all modern tools and appliances; and hundreds of miscellaneous receipts, formulas and hints on all kinds of work, of great value to every workman. This edition contains forty-four pages more than former editions, and each page contains one-third more matter than the pages of former editions. An alphabetical list of over five hundred European watchmakers who manufactured watches prior to 1800, with years in which they carried on business, from which the watchmaker can easily establish the age of any movement that a customer may desire to know about; an alphabetical list of all books on horology published in the English or French language prior to 1850; portraits and sketches of all the celebrated watchmakers of the world from 1600 to 1894. 354 pages. Illustrated with 288 engravings. Paper covers, $1 25. Fine muslin
$1 50
A Simple and Mechanically Perfect Watch. By Moritz Grossmann. A Prize Essay on the Construction of a Simple yet Perfect Watch. Written in a masterly manner by one of the greatest of Horological Authors. Illustrated with many engravings. From the standpoint of the practical man at the bench this is one of the most exhaustive essays ever written on the subject and no practical workman can fail to appreciate it. 96 pages 38 diagrams. Paper, 75c. Fine muslin
1 00
The Watchmakers’ Library. This book consists of a collection of the best articles from the various trade journals of this country and Europe, among the authors being Moritz Grossmann, M. Kessels, Chas. Spiro, Chas. Reiss, Herman Horrman, P. M. Youlen, M. Sandoz, Herman Grosch, James U. Poole, E. Sordet and Vincent Lauer. The papers are all of a practical nature and of great value to the practical watchmaker, the whole forming a volume of 290 pages and index. In Paper Covers
1 00
Prize Essay on the Balance Spring and its Technical Adjustments (Baroness Burdett Coutt’s Prize). By M. Immisch. A description of the invention of the balance spring, its effect upon the art of watchmaking; the effects of inertia of the balance; resistance of the air; balance adjustment by means of turning screws and washers; proportions of spring and balance; nature of spirals; lengths of balance vibrations and their effect upon the timing; pinning in equal and unequal coils; the Breguet spring; making its curves, pinning; regulating isochronal springs, etc. Fully illustrated with numerous engravings and diagrams. Cloth. Price
1 00
Repairing Repeating Watches. By C. T. Etchells. A practical treatise on the subject and the only one in print. Fully illustrated. The most vexatious repairs that come to the watchmaker are those on repeating watches—and yet they are the most profitable if you know just how to make them. Not every watchmaker can make them, and that is just why they are profitable. Do you know how? If not, why not? You are never too old to learn. Paper covers
35
The Escapements. Their Action, Construction and Proportion. All watch and clock escapements thoroughly illustrated and described Illustrated with twenty diagrams. Paper Covers Price
$ 50
Same in cloth binding 75
Prize Essay on Watch Cleaning and Repairing. By F. C. Ries. This work took the first prize, (offered by The American Jeweler) in competition with thirty-six other writers. Contents: Examination of the Movement; Taking Down; Fitting the Dial; Fitting Center Pivot and Bridge; Bushing; Endshake; Worn Center Pinions; Truing the Barrel; Repairing the Ratchet; Putting on Square on a Fusee; Examination of Mainspring; Stemwind Mechanism; Examination of Train; Imitation Gilding; Pivots; Making Balance Staff; The Hairspring; Jeweling; Cleaning in General. Price
25
Watch and Chronometer Jeweling. By N. B. Sherwood. A complete treatise on this subject and the only one in print. Contents: Peculiarities of Gems used in Making Jewels; Requisite Tools and How to Use Them; Shaping and Polishing the Jewel; Opening the Jewel; Setting the Jewel; The Endshake Tool; General Hints to the Repairer. Illustrated. Price
35
General Letter Engraving. By G. F. Whelpley, the acknowledged authority on engraving. His latest and best work. Contents: General Hints to Beginners; Lines and Curves; Originality; Practice Material; Position of Graver; Treatment of Gravers; Correct Spacing; Coffin Plate Engraving; Necessary Tools; Laying out the Work Preparation of Plate; Use of Gravers; Methods of Cutting; Slope and Height of Letters; Inclination of Graver; Transfering; Letters Appropriate for Long and Short Names; Harmony in Laying Out; Touching Up; Difficult Materials and their Treatment; Tools and Materials; Sharpening Gravers; Choice of Tools; Engraving in Rings; Gravers for Same: Engraving Blocks and Stands: Ciphers, their Formation and Ornamentation; Inscriptions; Best Manner of Cutting; Ciphers as Compared with Monograms; Monograms and their Treatment; Figure Monograms or Cipheroids; Intertwining, Complex Monograms; General Treatment. Copiously Illustrated. 112 pp. Paper $1.00. Cloth
1 25
The Watchmakers’ and Jewelers’ Practical Receipt Book. A workshop companion, comprising full and practical formula and directions for solders and soldering, cleaning, pickling, polishing, bronzing, coloring, staining, cementing, etching, lacquering, varnishing, general directions for finishing all metals, hundreds of miscellaneous receipts and processes of great value to all practical watchmakers and jewelers. This is the only book on the market to-day that gives full and complete directions for etching names, portraits, etc., in the bowls of souvenir spoons and silver articles in general. This so-called trade secret is sold by certain persons at $5.00. Dozens of other “trade secrets” that are advertised for sale in trade papers at from $1.00 to $5.00 can be found in this book. Worth its weight in gold to any practical watchmaker and jeweler. 132 pages, illustrated. Paper covers, $1.00. Fine English muslin binding
1 25
Poising the Balance. An Essay of unusual merit. By J. L. Finn 25
Hairspringing. A complete treatise on the art of hairspringing. By A. Z. Price
25
Adjustments to Positions, Isochronism and Compensation. The only work on the subject in print. 50 pp. Illustrated. Price
25
Repairing Watch-Cases. A practical treatise on the subject. By W. Schwanatus. Contents: Repairing the Pendant; Lining Pendant Holes; Work at the Joints; Soldering the Bezel; The Closing of the Case; Taking Out the Dents. 40 pp. Price.
25
Jewelers’ Practical Receipt Book. Contains a mass of most valuable receipts, formulas and information, gathered from the best and most reliable sources. Fifth edition, revised and enlarged. 48 pp. Price
15
Prize Essay on the Balance Staff and Cylinder. By P. W. Eigner. This essay took the first prize offered by the American Horological Society. Gives methods for turning, grinding and polishing, from staff to pivots. Illustrated with numerous engravings. Paper covers
25
Compensating Pendulums and How to Make Them. A practical treatise on the construction of mechanically perfect Pendulums, for the use of watchmakers. By J. L. Finn and S. Riefler. Illustrated. Paper covers, Price
35
Illustrations in this eBook have been positioned between paragraphs. In versions of this eBook that support hyperlinks, the references to illustrations lead to the corresponding illustrations. Links to articles have been provided where they are referenced in other sections.
The index was not checked for proper alphabetization or correct page references.
Obvious typographical errors and punctuation errors have been corrected after careful comparison with other occurrences within the text and consultation of external sources.
Some hyphens in words have been silently removed, some added, when a predominant preference was found in the original book.
Except for those changes noted below, all misspellings in the text, and inconsistent or archaic usage, have been retained.
| Pg | 15: | removed redundant “to” in “Teeth, to true”. |
| Pg | 28: | “horisontal” replaced with “horizontal”. |
| Pg | 29: | “emphacise” replaced with “emphasize”. |
| Pg | 29: | “an” replaced with “in” ind “one portion removed in order”. |
| Pg | 36: | “faciliy” replaced with “facility”. |
| Pg | 42: | Caption “Fid. 20” replaced with “Fig. 20”. |
| Pg | 58: | “acqua” replaced with “aqua”. |
| Pg | 59: | “deterorated” replaced with “deteriorated”. |
| Pg | 78: | Duplicate section “88” appeared between sections 85 and 86. This has been renumbered “85a”. |
| Pg | 102: | “phosporus” replaced with “phosphorus”. |
| Pg | 102: | Reference to paragraph “666” replaced with “591”. |
| Pg | 116: | “cleasing” replaced with “cleansing”. |
| Pg | 117: | “cautions” replaced with “cautious”. |
| Pg | 118: | “choride” replaced with “chloride”. |
| Pg | 124: | “imposible” replaced with “impossible”. |
| Pg | 131: | “camporated” replaced with “camphorated”. |
| Pg | 138: | Added the word “be” to “The other stones may be treated in similar manner”. |
| Pg | 139: | “dimished” replaced with “diminished”. |
| Pg | 143: | “necessary” replaced with “unnecessary”. |
| Pg | 145: | “keylesss” replaced with “keyless”. |
| Pg | 147: | “expriments” replaced with “experiments”. |
| Pg | 149: | “degress” replaced with “degrees”. |
| Pg | 150: | “throughly” replaced with “thoroughly”. |
| Pg | 152: | Replaced “the” with “to” in “working up towards to the extremity”. |
| Pg | 153: | “sucessful” replaced with “successful”. |
| Pg | 155: | “escapments” replaced with “escapements”. |
| Pg | 155: | Replaced “too” with “to” in “sealing-wax causes objects to adhere”. |
| Pg | 156: | “bebstween” replaced with “between”. |
| Pg | 156: | “especiably” replaced with “especially”. |
| Pg | 160: | “magnanese” replaced with “manganese”. |
| Pg | 160: | “iatter” replaced with “latter”. |
| Pg | 167: | Removed extra “as” in “it is known as a tourmaline”. |
| Pg | 170: | “rottten” replaced with “rotten”. |
| Pg | 176: | “dazzing” replaced with “dazzling”. |
| Pg | 177: | Original text unclear, inferred “taking” in “necessity of taking care”. |
| Pg | 180: | “aquired” replaced with “acquired”. |
| Pg | 189: | “ltttle” replaced with “little”. |
| Pg | 197: | “calliper” replaced with “caliper”. |
| Pg | 199: | “operatar” replaced with “operator”. |
| Pg | 204: | Removed extra “be” in “10 feet high may be used as a fixture”. |
| Pg | 206: | Replaced “varries” with “varies”. |
| Pg | 208: | Removed duplicate “is” in “H is a pipe”. |
| Pg | 209: | “ot” replaced with “not”. |
| Pg | 218: | Replaced “to” with “too” in “Having too much end-shake”. |
| Pg | 234: | “obstuse” replaced with “obtuse”. |
| Pg | 237: | Removed duplicate “the” in “raising the edge of a jewel”. |
| Pg | 247: | “cuting” replaced with “cutting”. |
| Pg | 251: | Replaced “ase” with “are” in “polishers are used”. |
| Pg | 281: | Replaced “Illinos” with “Illinois”. |
| Pg | 281: | Replaced “Bregeut” with “Breguet”. |
| Pg | 334: | Replaced “idex” with “index”. |
| Pg | 341: | Replaced “portio” with “portion”. |
| Pg | 345: | Replaced “templets” with “templates”. |
| Pg | 348: | Replaced “cuttter” with “cutter”. |
| Pg | 357: | Removed duplicate “is” in “It is well to have some change wheels”. |
| Pg | 358: | Replaced “It” with “Its” in “Its edge must be saddle-shaped”. |
| Pg | 367: | Replaced “late” with “plate”. |
| Pg | 347: | Replaced “appplicable” with “applicable”. |
| Pg | 389: | Replaced “make” with “made” in “remarks made in speaking”. |
| Pg | 404: | Replaced “mannner” with “manner”. |
| Pg | 410: | Corrected caption “Fig. 24” to “Fig. 231”. |
| Pg | 418: | Replaced end of line “dur-” with “during”. |
| Pg | 422: | Corrected caption from “Fig. 338” to “Fig. 238”. |
| Pg | 432: | Replaced “characacteristic” with “characteristic”. |
| Pg | 433: | Original text unclear, inferred “not to” in “advisable not to touch the fusee”. |
| Pg | 454: | Correction caption from “Fig. 251” to “Fig. 255”. |
| Pg | 463: | Removed duplicate “the” from “their heads on the dial side”. |
| Pg | 463: | Replaced “escapment” with “escapement”. |
| Pg | 470: | “acuracy” replaced with “accuracy”. |
| Pg | 471: | “longtitudinal” replaced with “longitudinal”. |
| Pg | 506: | “d’horologerie” replaced with “d’horlogerie”. |
| Pg | 511: | Added “know” in “Do you know how?” |
| Pg | 512: | Replaced “Fuzee” with “Fusee”. |