Project Gutenberg's Home-made Toys for Girls and Boys, by A. Neely Hall

This eBook is for the use of anyone anywhere at no cost and with
almost no restrictions whatsoever.  You may copy it, give it away or
re-use it under the terms of the Project Gutenberg License included
with this eBook or online at www.gutenberg.org


Title: Home-made Toys for Girls and Boys
       Wooden and Cardboard Toys, Mechanical and Electric Toys

Author: A. Neely Hall

Illustrator: Tom P. Hall

Release Date: December 20, 2012 [EBook #41669]

Language: English

Character set encoding: ISO-8859-1

*** START OF THIS PROJECT GUTENBERG EBOOK HOME-MADE TOYS FOR GIRLS AND BOYS ***




Produced by Chris Curnow, Matthias Grammel and the Online
Distributed Proofreading Team at http://www.pgdp.net (This
file was produced from images generously made available
by The Internet Archive)







HOME-MADE TOYS
FOR
GIRLS AND BOYS

      
BOOKS BY A. NEELY HALL

8vo. Cloth. Illustrated with hundreds of full-page and working drawings by the author and Norman P. Hall
THE BOY CRAFTSMAN
{
{
Price net $ 1.60
Postpaid  1.82
HANDICRAFT FOR HANDY BOYS
{
{
Price net $ 2.00
Postpaid  2.25
THE HANDY BOY
{
{
Price net $ 1.60
Postpaid  1.82
LOTHROP, LEE & SHEPARD CO., BOSTON

[Pg i]

[Pg ii]

Figs. 287 and 288.
Figs. 287 and 288. An Auto Delivery-wagon Built of Cigar-boxes.
(See page 192.)

[Pg iii]

Title Page

[Pg iv]

Copyright, 1915, BY
LOTHROP, LEE & SHEPARD COMPANY
Published, August, 1915

All rights reserved
HOME-MADE TOYS FOR GIRLS AND BOYS
Norwood Press
J. S. Cushing Co.—Berwick & Smith Co.
Norwood, Mass., U.S.A.

[Pg v]

Constructive ideas expel destructive ideas from the juvenile mind.


INTRODUCTORY NOTES

Through the author's handicraft volumes, and magazine and newspaper articles, thousands of boys and girls who never realized they could make their own toys, have succeeded in constructing models which would do credit to Santa Claus' master toy-makers.

The success of this new home industry has suggested the need of a volume devoted entirely to toy-making, and in Home-made Toys for Girls and Boys the author has brought together a large number of the toy ideas from his former handicraft volumes, and from his articles published in the Ladies' Home Journal, Woman's Home Companion, Good Housekeeping, the Boys' Magazine, and other publications, and he believes that as collected and arranged the material will be found a veritable gold-mine of toy-making information.

Go to any toy store and price the toys similar to those described within these covers, then estimate if you can how much the other toys you do not find would cost if manufactured, and you will discover that one hundred dollars would not cover their value. One splendid thing about these home-made toys is that the greater part of them require little more than the pick-up material found at home. Few boys and girls are given a one hundred dollar assortment of toys at a time, yet any one can own a collection of this value who is willing to spend the time necessary to follow the instructions given in this book. Probably, though, some of the toys will be wanted now, and the others one, two or three seasons hence, because, you see, the book is an all-the-year-round handy book with suggestions for every season. Some of the toys will be of especial interest to boys, yet girls who like what boys like will enjoy making them also.

[Pg vi]

Home-made toys are generally longer lived than store toys because the boy or girl who expends a certain amount of effort producing gives them better care. Home-made toys have a greater value than boughten ones because there is as much fun making them as playing with them. Doing something interesting, getting satisfying results out of the work, putting an idea into tangible form, and having a toy to show of which it can be said, "I made this all myself,"—these are the factors in toy-making so fascinating to boys and girls.

It is no less a child's nature to want to do that which is most pleasing to him, than an adult's, so why not encourage this wholesome activity of toy-making to which the child takes as readily as a duck takes to water? It trains the mind to think clearly, the hands to work cleverly, replaces destructive thoughts with constructive ideas, and, in making the boy or girl dependent upon himself or herself for toys, is invaluable in developing resourcefulness.

Recognizing how easily the child's interest is attracted and held by anything of a building nature, toy manufacturers have placed scores of so-called "construction sets" upon the market, but, though excellent as these outfits are, the toys they form are merely assembled, not really made by the boy or girl, and much of the value of making is lost. Exactly as good models as those assembled with "construction sets" can be made of pick-up materials, as chapters in this book show. In fact, some of the models in the manufacturers' instruction pamphlets—merry-go-rounds, Ferris wheels and swings—are almost identical with home-made models devised long ago by the author for his readers. Furthermore, there are many, very many toys in Home-made Toys for Girls and Boys which are beyond the limited possibilities of "construction sets."

A. N. H.

Oak Park, Illinois,
   May 31, 1915.

[Pg vii]

Title Page
    PAGE
Chapter I  
Home-made Windmills  1
   The Paper Pinwheel—The Pinion-wheel Windmill— To mount the Pinion-wheel—The Four-blade Windmill—To mount the Windmill—The Eight-blade Windmill—The Hub—The Eight Blades—The Shaft—The Tail—To pivot the Windmill—To operate a Toy Jumping-Jack.
Chapter II  
Home-made Kites  9
    How to make a Malay—The Sticks—Framing the Sticks—Covering the Framework—Attaching the Bridle—Flying-line—The Box-kite—The Kite Sticks—The Side Frames—Covering for the End Cells—Assembling the Kite—Attaching the Bridle—A Good Hand Kite-reel—A Body Kite-reel.
Chapter III  
A Home-made Model Aeroplane  21
   Accuracy in Model Construction—The Most Successful Type of Model—The Fuselage— The Thrust Bearings—The Bow Hooks—The Main Plane—The Elevator—The Fin—The Propellers—How to prepare the Propellers—The Propeller Blank—The Propeller-shafts—The Motors—The Home-made Motor-winder—How the Egg-beater winds the Motors—Care in winding the Motors—Position to take for launching a Model.
Chapter IV  
A Home-made Toy Motor-boat  33
   How operated—The Hull Bottom—The Sides—The Deck—The Propeller—The Propeller-shaft— The Bearing Plate—The Thrust Bearing—The Rubber-band Motor—To wind the Motor—How to elaborate upon the Design and Construction.
[Pg viii]
    PAGE
Chapter V  
Home-made Toy Water-motors  38
   A Varnish-can Water-motor —The Case—The Water-motor Wheel—The Eight Paddles—The Wheel Shaft—An Outlet—A Pulley-belt—Pulley-wheels—Connecting up the Water-motor—Another Water-motor—The Water-motor Wheel—The Wheel Supports—To mount the Wheel—The Pulley Wheel—The Water-motor Case.
Chapter VI  
A Home-made Toy Railway  47
    The Trolley-line—Supports for Trolley-line—Power for Operating—Railway—Tracks—The Cars—A Gondola Car—A Street Car—Other Cars—Operation of the Railway—A Station.
Chapter VII  
Home-made Toy Elevators  59
    A Toy Elevator that appears Magical in its Operation—Adapting Elevator to Toy Office Building—Floors—Partitions—The Elevator Car—The Elevator Guides—The Cables—The Counter-balance—The Smoke-stack—The Overhead Pulleys—How the Car operates—Ballast—To make the Car Rise—A Simple Control—Two Levers—An Outdoor Elevator—The Guide Supports—The Car—The Guides—The Counter-balance—The Lifting Cable—The Lowering Cable.
Chapter VIII  
Home-made Mechanical Toys  71
    The Simple Construction of Small Mechanical Toys—A Buzz-saw Whirligig—Operating the Whirligig—The Clog-dancer—A Toy Jumping-Jack—A Cricket-rattle—The Turtle Toy—To make the Turtle Crawl.
Chapter IX  
Home-made Tops  79
    Top Spinning on the South Sea Islands—Clock Wheel Tops—A Rug-tack Top—A Spool Top—A Spinning Top Race-track—A Shoe-polish Can Top—A Spiral Top—A Merry-go-round Top—How the Top Spins—Horses and Riders—A Flag.
[Pg ix]
    PAGE
Chapter X  
Home-made Clockwork Toys  88
    The Necessary Materials—How to prepare the Clockwork—The Merry-go-round—The Standard—The Tent—The Tent-poles—The Horses—The Sleighs—The Shafts—The Girl Riders—The Boy Riders—The Platform—How to operate the Merry-go-round—Other Animals—A Miniature Ferris Wheel—The Standard—The Clockwork Motor—The Station Platform—The Wheel—Rims—Hubs—Spokes—Assembling the Wheel—The Cars—Axles—How to mount the Wheel—The Platform Steps—The "Flying Airships"—The Standard—The Mast—The Cars—Increasing the Speed of the Clockwork—An Electric Motor—An Automobile—The Frame—The Belt—Testing the Machine—The Cardboard Sides—The Wheels—The Mud-guards—The Lamps—The Steering-wheel—The Horn—The Brake—The Chauffeur—Painting the Machine—An Automobile Delivery Wagon—The Cardboard Sides—The Wheels—Other Portions—Painting the Wagon—A Clockwork Railway.
Chapter XI  
Home-made Electrical Toy  117
    An Electro-magnet Derrick—The Electro-magnet—A Home-made Switch—The Derrick—The Windlass—The Hoisting Cables—How the Derrick Works—A Toy Shocking Machine—The Induction-coil—The Primary-coil—The Secondary-coil—The Handles—An Interrupter—How the Interrupter Works—A Toy Electric Motor Truck—The Wheels—The Upper Shaft—The Belts—The Battery—The Bi-chromate Battery Fluid—Amalgamating a Zinc Pencil—The Seat and Canopy-top—The Seat-arms—The Steering-wheel—The Levers.
Chapter XII  
A Home-made Toy Shooting Gallery  140
    The Framework—The Circular Target—The Animal Targets—The Card-shooting Pistol—How to number the Targets—How to shoot at the Targets.
Chapter XIII  
A Home-made Doll-house  145
    The Building Material—The Floor Plans—The Partitions—The Elevator-shaft—The Side Walls—The Rear Wall—The Front Wall—The Windows—The Roof—The Chimney—An Elevator—The Car—The Guide-wires—The Pulleys—The Chain Cable—The Counter-balance—The Gable-ends—Spring-catches—The Stairway—Stringers—Treads and Risers—Newel-posts—Hand-rails—Balusters—The Front Steps—The Window Openings—The Window Glass—The Front and Rear Doors—The Outside Trimmings—The Interior Woodwork—Setting the Nail-heads—Painting.
[Pg x]
    PAGE
Chapter XIV  
Furnishing the Home-made Doll-house  156
    The Walls and Ceiling—Hardwood Floors—Carpets—Rugs—Window-shades—Lace Curtains—Portières—Pictures—A Cosey-corner—Buying Furnishings—Making Furniture.
Chapter XV  
Furnishing the Home-made Doll-house  160
    Dimensions of Stable—The First Story—The Roof—The Gable-end—The Stall Partitions—The Feed-troughs—Windows—Ladder to Hay-loft—Feed-hoist—The Drop-front—A Stable Door—Painting—If you prefer a Garage.
Chapter XVI  
A Home-made Doll Apartment Building  165
    A New Idea in Doll-houses—How the Three Units are arranged to form a Three-story Building or Six-room Apartment—Building Material—The Room Dimensions—The First Story Unit—The Second Story Unit—The Third Story Unit—The Door and Window Openings—The Bay Windows—The Joints between the Units—The Roof Construction—The Chimney—The Windows—The Front Door—The Inside Doorways—The Interior Trim—A Fireplace—Lighting Fixtures—Decorating—Painting the Outside Walls.
Chapter XVII  
Home-made Doll Furniture  174
    Metal Furniture—Miniature Mission Furniture—Material—Drawing the Patterns and Enlarging by Squares—The Chairs—The Settee—Tables—A Dining-room Table—A Sideboard—A Mirror—The Grandfather's Clock—Kitchen Furniture—The Beds—The Dresser—A Wash-stand—Finishing.
Other Cigar-box Furniture  187
    A Folding-bed—A Dresser—A Wardrobe.
[Pg xi]
    PAGE
Chapter XVIII  
Home-made Cigar-box Toy  191
    Material—Cutting—An Express-wagon—A Cart—An Auto Delivery-wagon—A Jack-in-the-box—A Round-seated Chair—A Round Center-table—A Dining-table—A Square-seated Chair—A Doll's Cradle—Finishing the Cigar-box Wood.
Chapter XIX  
Home-made Spool and Cardboard Toys  196
    Material—A Baby Carriage—A Two-wheel Cart—A Toy Merry-go-round—A Teeter-board—A Doll Swing—A Sofa—A Chair—A Square Center-table—A Round Center-table.
Chapter XX  
A Home-made Toy Mail-box  205
    Playing Postman—Material for Mail-box—The Sides, Ends, and Bottom of Box—The Top—The Letter-drop—The Collection-drop—Reinforcing the Corners—Covering the Box—A Collection Schedule Card—How to hang up the Mail-box—A Mail-bag—The Way to play Post-office.
Chapter XXI  
A Home-made Reflectoscope  210
    The Working Principle of the Reflectoscope—Material for making One—The Lens Opening—Ventilator Holes—The Interior Arrangement—A Hood for the Ventilators—If Oil Lamps are Used—If Electric Light is Used—How to mount the Lens—Puttying Cracks—Painting the Inside of the Box—The Back Boards—The Picture Holder—How the Lens reverses Pictures—Adjustments.

Index
 215

[Pg xii]

LIST OF HALF-TONE ILLUSTRATIONS

(In addition to 346 text illustrations)

Figs. 287 and 288. An Auto Delivery-wagon built of Cigar Boxes (Page 192)   Frontispiece
        FACING PAGE
Fig. 48. Launching the Toy Motor-boat    34
Fig. 108. The Buzz-saw whizzes when you twist the Cord
The Eccentric Clog-dancer is a Circus in Himself
Pull the String and Jack jumps comically
}
}
}
72
Fig. 114.
Fig. 115.
Whirling the Cricket-rattle makes it Chirp
The Crawling Turtle's Shell is a Jelly-mould
}
}
76
Fig. 135.
Fig. 136.
Fig. 137.
Fig. 138.
A Merry-go-round
A Clockwork Motor
A Ferris Wheel
A Flying Airship
}
}
}
}
90
Fig. 160.
Fig. 161.
The Car Completed
The Framework
}
}
104
Fig. 220.
Fig. 221.
The Home-made Doll-house
Interior View of Doll-house
}
}
146
Fig. 243.
Fig. 244.
The Most Stylish Apartments in Doll Town
How the Three Stories are arranged side by
side to form a Six-room Apartment
}
}
}
166
Fig. 284.
Fig. 285.
An Express-wagon
A Cart.
}
}
192
Fig. 289.
Fig. 290.
Fig. 291.
Fig. 292.
Fig. 293.
Fig. 294.
Fig. 295.
A Jack-in-the-box
The Skeleton of the Jack-in-the-box
A Round-seated Chair
A Round Center-table
A Dining-table
A Square-seated Chair
A Doll's Cradle
}
}
}
}
}
}
}
194-195
Fig. 325.
Fig. 326.
The Home-made Mail-box strapped to the Face of a Door
The Home-made Mail-box strapped to a Chair-back
}
}
206
[Pg xiii]

LIST OF ILLUSTRATIONS

PAGE
Fig.   1. The Paper Pinwheel is the Simplest Pinwheel to Make. 1
Fig.   2. Diagram for Paper Pinwheel. 2
Fig.   3. How the Paper Pinwheel is Folded. 2
Fig.   4. A Pinion-wheel Windmill. 3
Fig.   5. Diagram for Pinion-wheel Windmill. 3
Fig.   6. A Four-blade Windmill. 4
Fig.   7. Hub. 4
Fig.   8. How to Slot End of Shaft for Tail. 4
Fig.   9. An Eight-blade Windmill. 5
Fig.  10. Spool Hub. 6
Fig.  11. Blades. 6
Fig.  12. Shaft. 6
Fig.  13. Tail. 6
Fig.  14. How the Windmill may be Rigged up to Operate a Toy Jumping-Jack. 7
Fig.  15. How the Jumping-Jack is Supported. 8
Fig.  16. Spool Hub. 8
Fig.  17. A Malay Tailless Kite. 9
Fig.  18. Completed Malay Kite with Belly-band Attached. 10
Fig.  19. Framework of Malay Kite. 11
Fig.  20. Detail of Vertical Stick. 12
Fig.  21. Detail of Bow-stick. 12
Fig.  22. Detail of End of Bow-stick. 12
Fig.  23. Raising the Box-kite. 13
Fig.  24. The Box-kite. 14
Fig.  25. Make Two Side Frames like this. 14
Fig.  26. Cross-section of the Box-kite. 15
Fig.  27. Detail of Diagonal Braces. 16
Fig.  28. A Good Hand Kite-reel. 17
Figs.  29 and 30. Details of Hand Kite-reel. 18
Fig.  31. A Body Kite-reel. 19
Fig.  32. Detail of Axle Support. 19
Fig.  33. Detail of Cran. 19
Fig.  34. Launching a Model Aeroplane. 22
Fig.  35. Plan. 23
Fig.  36. Side Elevation (without Rubber Motor). 23
Fig.  37. Detail of Fuselage and Motor of the Wells Model. 24
Fig.  38. Detail of Thrust Bearing, Propeller-shaft, and Connections. 24
Fig.  39. Detail of Bow Hook and how Rubber Motor is Connected to it. 24
Fig.  40. Detail of the Main Plane Framework of the Wells Model. 26
Fig.  41. Detail of the Elevator Framework. 26
Fig.  42. Detail of Fin. 26
Fig.  43. The Wells Model Propeller. 27
Fig.  44. How to Prepare a 9-inch Propeller. 27
Fig.  45. A Home-made Motor Winder. 30
Fig.  46. The Kind of Egg-beater to Use. 30
Fig.  47. How the Motors are Connected to Winder for Winding. 30
Fig.  48. Launching the Toy Motor-boat. 34
Fig.  49. The Completed Motor-boat. 33
Fig.  50. Stern, with Motor in Place. 33
Fig.  51. Diagram of Hull. 34
Figs.  52 and 53. How the Hull, Sides, Stern and Deck Pieces are Assembled. 34
Fig.  54. Longitudinal Section of Assembled Motor-boat. 36
Figs.  55-59. Details of Propeller. 36
Fig.  60. Rubber-band Motor. 36
Fig.  61. A Varnish-can Water-motor in Operation. 38
Fig.  62. The Completed Varnish-can Water-motor. 39
Figs.  63 and 64. Sections through Water-motor Case. 40
Fig.  65. The Completed Water-motor Wheel. 41
Figs.  66 and 67. 66 and 67. Details of Water-motor Wheel. 41
Figs.  68-69. How to Make a Water-tight Connection between Faucet and Water-motor. 42
Fig.  70. A Small Water-motor that can be Operated in a Wash-Basin. 43
Fig.  71. The Water-motor Wheel. 43
Figs.  72 and 73. Details of Water-motor Wheel. 44
Fig.  74. Support for Water-motor Wheel. 45
Fig.  75. Upright. 47
Fig.  76. The Toy Railway in Operation. 48
Fig.  77. Support for Trolley-line. 48
Fig.  78. The Tracks. 50
Fig.  79. A Top View of Car Truck. 50
Fig.  80. Spool Wheels. 51
Fig.  81. The Completed Car Truck. 51
Fig.  82. 51
Fig.  83. A Gondola Car. 52
Fig.  84. Side View. 53
Fig.  85. End View. 53
Figs.  86-94. Details of Toy Street Car. 55
Fig.  95. The Railway Depot. 57
Fig.  96. A Toy Office Building with Elevator. 60
Fig.  97. Section through Elevator Shaft. 62
Fig.  98. Floors. 63
Fig.  99. Partitions. 63
Fig. 100. Front View of Elevator Shaft. 64
Fig. 101 and 102. Elevator Car Details. 64
Fig. 103. Detail of Brake and Controlling Levers. 65
Fig. 104. An Outdoor Elevator. 66
Fig. 105. Supports for Elevator Guides and Cables. 67
Fig. 106. Elevator Car. 69
Fig. 107. Counter-balance. 69
Fig. 108. The Buzz-saw whizzes when you twist the Cord. 72
Fig. 109. The Eccentric Clog-dancer is a Circus in himself. 72
Fig. 110. Pull the string and Jack jumps comically. 72
Fig. 111. Detail of Buzz-saw Whirligig shown in Fig. 108. 72
Fig. 112. Details of Body of the Clog-dancer shown in Fig. 109. 73
Fig. 113. Details of Body of the Jumping-Jack shown in Fig. 110. 74
Fig. 114. Whirling the Cricket-rattle makes it chirp. 76
Fig. 115. The Crawling Turtle's shell Is a Jelly Mould. 76
Fig. 116. Details of the Noisy Cricket-rattle shown Fig. 114. 76
Fig. 17. How Head, Feet, and Tail are Attached to a Jelly Mould to Make the Turtle shown in Fig. 115. 77
Fig. 118. The Spool Wheels and the Rubber-bands which Propel them. 77
Figs. 119 and 120. Clock Wheel Tops. 80
Fig. 121. Upholstering Tack Top. 80
Fig. 122. How to Hold Upholstering Tack for Spinning. 80
Figs. 123 and 124. Details of Spool Top. 80
Fig. 125. A Shoe-polish Can Top. 81
Figs. 126-128. Details of Shoe-polish Can Top. 82
Fig. 129. A Spinning Top Race-track. 83
Fig. 130. A Spiral Top. 84
Fig. 131. Diagram of Spiral for Spiral Top. 84
Fig. 132. A Merry-go-round Top. 85
Fig. 133. Detail of Merry-go-round Top. 86
Fig. 134. How Horses are Mounted upon Top Platform. 86
Fig. 135. A Merry-go-round. 90
Fig. 136. A Clockwork Motor. 90
Fig. 137. A Ferris Wheel. 90
Fig. 138. The "Flying Airships." 90
Fig. 139. How the Clockwork Motor is Fastened to the Cigar-box Cover.
(This Box has been cut down to the Proper Length for the Ferris Wheel.)
89
Fig. 140. Plan of Top of Standard for Merry-go-round. 91
Fig. 141. Pattern for Tent of Merry-go-round. 91
Fig. 142. The Tent ready to be Fastened upon a Tent-pole. 91
Fig. 143. Full-size Pattern for the Horses of the Merry-go-round. 92
Fig. 144. Pattern for the Merry-go-round Sleighs. 93
Fig. 145. A Completed Sleigh showing Attachment to Shaft. 94
Fig. 146. Full-size Pattern for the Girl Riders. 95
Fig. 147. Full-size Pattern for the Boy Riders. 95
Fig. 148. How the Second Leg of the Boy is Attached. 95
Fig. 149. Standard for the Ferris Wheel. 97
Fig. 150. Make Two Supports like this for the Ferris Wheel Standard. 98
Figs. 151 and 152. How a Spool is Fastened to the Top of the Support for a Hub. 98
Fig. 153. How to Lay out the Cardboard Rims of the Ferris Wheel. 99
Fig. 154. The Spokes Fitted into the Spool Hub. 99
Fig. 155. The Rim Slipped into the End of the Spokes. 99
Fig. 156. A Spool Hub for the Wheel. 99
Fig. 157. How the Spokes, Rims, and Axles are Fastened Together. 99
Fig.158. Pattern for the Ferris Wheel Cars. 100
Fig.159. A Completed Car for the Ferris Wheel. 101
Fig.160. The Car Completed. 104
Fig.161. The Framework. 104
Fig.162. Top View of Wooden Frame. 105
Figs. 163-170. Patterns for the Automobile Touring-car. 108
Fig. 171. Chauffeur. 109
Fig. 172. Cardboard Side of Automobile. 109
Fig. 173. The Hood. 110
Fig. 174. The Steering-wheel. 111
Fig. 175. An Automobile Delivery Wagon. 111
Fig. 176. An Electro-magnet Derrick. 118
Figs. 177-179. The Electro-magnet. 119
Fig. 180. How the Electro-magnet is Connected up. 120
Fig. 181. A Home-made Switch. 121
Fig. 182. Details of Switch. 121
Fig. 183. Detail of Mast. 122
Fig. 184. Detail of Pulley. 122
Fig. 185. Detail of Boom. 122
Fig. 186. Detail of Derrick Windlass. 123
Fig. 187. Detail of the Toy Shocking Machine. 125
Figs. 188-191. Details of Induction-coil. 126
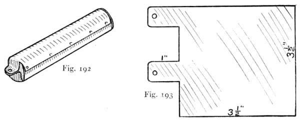
Figs. 192 and 193. Details of Shocking-coil Handles. 129
Fig. 194. Interrupter for Shocking-coil. 129
Figs. 195-198. Details of Interrupter. 131
Fig. 199. A Toy Electric Motor Truck. 132
Fig. 200. Top view of Electric Motor Truck. 133
Figs. 201-203. Details of Axle and Belt Shaft. 134
Fig. 204. Two Home-made Battery Cells Connected in Series. 135
Fig. 205. A Single Cell. 136
Figs. 206 and 207. Details of Zinc and Carbon. 136
Fig. 208. Plan of Motor Truck Bottom. 137
Fig. 209. Section through Bottom. 137
Fig. 210. Details of Seat and Canopy-top. 138
Fig. 211. Pattern of Canopy-top. 139
Fig. 212. The Completed Toy Shooting Gallery. 140
Fig. 213. The Box Framework. 141
Figs. 214-215. Details of Targets. 142
Fig. 216. The Card-shooting Pistol. 143
Figs. 217-219. Detail of Card-shooting Pistol. 144
Fig. 220. The Home-made Doll-house. 146
Fig. 221. Interior View of Doll-house. 146
Figs. 222-226. Plans of Doll-house and Patterns for Partitions. 147
Fig. 227. The Chimney. 148
Fig. 228. Front View of Elevator-shaft and Stairs. 149
Figs. 229-232. Details of the Elevator. 149
Fig. 233. The Front Gable-end. 152
Figs. 234-237. Details of Stairs. 153
Fig. 238. Exterior of Stable. 160
Fig. 239. Interior of Stable. 161
Fig. 240. Front Gable-end. 162
Fig. 241. Stall Partitions. 162
Fig. 242. Ladder to Hay-loft. 163
Fig. 243. The Most Stylish Apartments in Doll Town. 166
Fig. 244. How the Three Stories are Arranged Side by Side to form a Six-room Apartment. 166
Fig. 245. Plan of the Six-room Doll Apartment. 166
Fig. 246. The First Story Unit and Diagram of Partitions. 167
Fig. 247. The Second Story Unit and Diagram of Partitions. 167
Fig. 248. The Third Story Unit and Diagram of Partitions. 167
Fig. 249. In Cutting the Opening for the Bay Windows, leave a Narrow Strip over the Opening, as above, for a "Beam." 168
Figs. 250 and 251. How the Removable Roof is Constructed. 169
Fig. 252. How the Chimney and Chimney Cap are Made. 169
Fig. 253. The Living-room Mantel. 171
Fig. 254. Details of Mantel. 171
Figs. 255-258. Two Lighting Fixtures and how to Make Them. 172
Figs. 259-266. Patterns for Furniture. 177
Fig. 267. Chairs. 178
Fig. 268. Chairs. 178
Fig. 269. A Settee. 179
Fig. 270. A Table. 179
Fig. 271. Another Design. 180
Fig. 272. A Side-board. 181
Fig. 273. A Mirror. 182
Fig. 274. A Grandfather's Clock. 183
Fig. 275. A Bed. 184
Fig. 276. Another Design. 184
Fig. 277. A Dresser. 185
Fig. 278. A Wash-Stand. 186
Fig. 279. A Doll's Folding-bed. 187
Fig. 280. Folding-bed (open). 188
Fig. 281. Foot. 188
Fig. 282. Dresser Completed. 189
Fig. 283. A Doll's Dresser. 189
Fig. 284. An Express-wagon. 192
Fig. 285. A Cart. 192
Fig. 286. Cross-section of the Express-wagon. 192
Figs. 287 and 288. An Auto Delivery-wagon Built of Cigar-boxes. frontispiece
Fig. 289. A Jack-in-the-box. 194
Fig. 290. The Skeleton of the Jack-in-the-box. 194
Fig. 291. A Round-seated Chair. 194
Fig. 292. A Round Center-table. 194
Fig. 293. A Dining-table. 194
Fig. 294. A Square-seated Chair. 194
Fig. 295. A Doll's Cradle. 194
Fig. 296. Pedestal of Center-table. 194
Fig. 297. Leg of Dining-table. 194
Fig. 298. Pattern for Cradle Rockers. 195
Fig. 299. Doll Carriage. 196
Fig. 300-302. Details of Doll Carriage. 197
Fig. 303. Baby Carriage Hood. 198
Fig. 304. Diagram of Hood. 198
Fig. 305. Carriage Handles. 198
Fig. 306. The Two-wheel Cart. 199
Figs. 307-309. Details of Cart. 199
Fig. 310. Merry-go-round. 200
Fig. 311. Teeter. 200
Fig. 312. Cardboard Strip for Merry-go-round and Teeter. 200
Fig. 313. Boy and Girl Riders for Merry-go-round and Teeter. 200
Fig. 314. Doll Swing. 201
Fig. 315. Detail of Swing. 201
Figs. 316 and 317. Details of Swing Seat. 202
Fig. 318. Sofa. 202
Figs. 319-321. Details of Sofa. 203
Fig. 322. Chair. 203
Fig. 323. Square Center-table. 203
Fig. 324. Round Center-table. 203
Fig. 325. The Home-made Mail-box Strapped to the Face of a Door. 206
Fig. 326. The Home-made Mail-box Strapped to a Chair Back. 206
Fig. 327. Diagram for Making Sides, Ends, and Bottom of Mail-box. 206
Fig. 328. Diagram for Making Top. 206
Fig. 329. Diagram for Making End Pieces of Letter-drop. 206
Fig. 330. Diagram for Making Front Piece of Letter-drop. 206
Fig. 331. The Sides, Ends, and Bottom folded ready to be put Together. 207
Fig. 332. Top, showing how Portion is Bent up for Back of Letter-drop. 207
Fig. 333. Ends of Letter-drop. 207
Fig. 334. Front of Letter-drop. 207
Fig. 335. Top, with Letter-drop Completed. 207
Fig. 336. Diagram for Making Collection-drop. 208
Fig. 337. How the Collection-drop is Folded. 208
Fig. 338. The Collection-drop Hinged in Place. 208
Fig. 339. The Complete Reflectoscope. 210
Fig. 340. Detail of Ventilator Top. 210
Fig. 341. Plan of Reflectoscope. 211
Fig. 342. Cross-section of Reflectoscope. 211
Figs. 343 and 344. Details of Lens Mounting. 213
Fig. 345. View of Back of Reflectoscope. 213
Fig. 346. Detail of Post Card Holder. 213

[Pg xiv]

HOME-MADE TOYS
FOR
GIRLS AND BOYS

[Pg xv]

HOME-MADE TOYS
Title Page 2
FOR GIRLS AND BOYS

[Pg 1]

Title Chapter I

No mechanical toy is more interesting to make, nor more interesting to watch in operation, than a miniature windmill. It is a very simple toy to construct, and the material for making one can usually be found at hand, which are two reasons why nearly every boy and girl at one time or another builds one.

The Paper Pinwheel shown in Fig. 1 is one of the best whirlers ever devised. A slight forward thrust of the stick handle upon which it is mounted starts it in motion, and when you run with the stick extended in front of you it whirls at a merry speed.

The Paper Pinwheel is the Simplest Pinwheel to Make.

Fig. 1.—The Paper Pinwheel is the Simplest Pinwheel to Make.

A piece of paper 8 or 10 inches square is needed for the pinwheel. Fold this piece of paper diagonally from [Pg 2] corner to corner, both ways. Then open the paper, and with a pair of scissors cut along the diagonal creases, from the corners to within ½ inch of the center (Fig. 2). Next, fold corners A, B, C, and D over to the center, as shown in Fig. 3, run a pin through the corners and through the center of the sheet of paper, drive the point of this pin into the end of the stick handle, and the pinwheel will be completed.

Diagram for Paper Pinwheel.

Fig. 2.—Diagram for Paper Pinwheel.

How the Paper Pinwheel is Folded.

Fig. 3.—How the Paper Pinwheel is Folded.

The Pinion-wheel Windmill in Fig. 4 may be made of cardboard or tin. A circular piece 10 or 12 inches in diameter is required. After marking out the outer edge with a compass, describe an inner circle about 1 inch inside of it; then draw two lines through the center at right angles to each other, and another pair at an angle of 45 degrees to these. These lines are shown by the heavy radial lines in Fig. 5. [Pg 3] One-half inch from each of these lines draw a parallel line, as indicated by dotted lines in Fig. 5. The next thing to do is to cut out the disk, and cut along the heavy lines just as far as the lines are shown in the diagram (Fig. 5), and then to bend up the blades thus separated, to an angle of about 45 degrees, bending on the second set of radial lines (dotted lines in Fig. 5).

A Pinion-wheel Windmill.

Fig. 4.—A Pinion-wheel Windmill.

You had better make a cardboard pinion-wheel first, then a tin one afterwards, as cardboard is so much easier to cut. A pair of heavy shears will be necessary for cutting a tin wheel, and a cold chisel for separating the edges of the blades.

Diagram for Pinion-wheel Windmill.

Fig. 5.—Diagram for Pinion-wheel Windmill.

To Mount the Pinion-wheel drive a long nail through the center, through the hole in a spool, and into the end of a stick. Then nail the stick to a post or a fence top.

[Pg 4]

The Four-blade Windmill shown in Fig. 6 has a hub 4 inches in diameter and 1 inch thick (Fig. 7). This should be cut out of hard wood. Draw two lines across one face, through the center, and at right angles to each other. Then carry these lines across the edge of the block, not at right angles to the sides, but at an angle of 45 degrees. Saw along these lines to a depth of 1¼ inches. The ends of the windmill blades are to fit in these slots.

Cut the blades of equal size, 9 inches long, 5 inches wide on the wide edge, and 1½ inches wide on the narrow edge, and fasten them in the slots with nails.

A Four-blade Windmill.

Fig. 6.—A Four-blade Windmill.
Fig. 7.—Hub
Fig. 8.—How to Slot End of Shaft for Tail.

With the blades in position, pivot the hub to the end of the windmill shaft, a stick 20 inches long (Fig. 6). The end opposite to that to which the hub is pivoted is whittled round, and slotted with a saw to receive a tail (Fig. 8). The tail may be of the same size as the blades, though it is shown shorter in the illustration.

Mount the Windmill upon a post, pivoting its shaft at [Pg 5] the balancing center with a nail or screw. Bore a hole large enough so the shaft will turn freely upon the pivot, and the windmill will thus keep headed into the wind.

The Eight-blade Windmill in Fig. 9 has a spool hub (Fig. 10), and blades made of cigar-box wood, shingles, tin, or cardboard (Fig. 11). You will see by Figs. 10 and 11 that the blades are nailed to the side of short spoke sticks, and the sticks are driven into holes bored in the spool hub. The hub turns on the rounded end of the shaft stick (Fig. 12), and the square end of this shaft is slotted to receive the fan-shaped tail (Figs. 12 and 13).

An Eight-blade Windmill.

Fig. 9.—An Eight-blade Windmill.

For the Hub use a large ribbon-spool. You can get one at any drygoods store. Locate eight holes around the [Pg 6] center of the spool at equal distances from one another, and bore these with a gimlet or bit, or cut them with the small blade of your jack-knife.

Cut the Eight Blades 6 inches long, 5 inches wide on their wide edge, and 1½ inches wide on their narrow edge. Prepare the hub sticks about ½ inch by ¾ inch by 4½ inches in size, and whittle one end pointed to fit in the hub (Fig. 11). Fasten the blades to the spokes with nails long enough to drive through the spokes and clinch on the under side. Glue the spokes in the hub holes, turning them so the blades will stand at about the angle shown.

Spool Hub.Blades.Shaft.Tail.

Fig. 10.—Spool Hub.     Fig. 11.—Blades.     Fig. 12.—Shaft.     Fig. 13.—Tail.

The Shaft should be made of a hard wood stick about ¾ inch by 1½ inches by 30 inches in size. Cut the round end small enough so the hub will turn freely on it, and [Pg 7] punch a small hole through it so a brad may be driven through to hold the hub in place. Cut the slot in the square end with a saw.

Cut the Tail of the shape shown in Fig. 13.

Pivot the Windmill upon the top of a post support, in the same manner as directed for the other windmills.

Figure 14 shows how the toy windmill may be rigged up

How the Windmill may be Rigged up to Operate a Toy Jumping-Jack.

Fig. 14.—How the Windmill may be Rigged up to Operate a Toy Jumping-Jack.

To Operate a Toy Jumping-Jack, by supporting the jumping-Jack on a bracket, and connecting its string to the hub of the windmill. You can make your jumping-Jack like the one in Fig. 110, the details of which are shown in Fig. 113.

Cut the upright of the bracket (A, Figs. 14 and 15) 14 inches long, and the crosspiece (B) 7 inches long. Nail A to B, and nail the jumping-Jack at its center to the end of B (Fig. 15). Fasten the triangular block (C) to the [Pg 8] lower end of A, and then nail both A and C to the edge of the shaft at a point that will bring the string of the jumping-Jack a trifle beyond the windmill blades.

Jumping-Jack.

Fig. 15.—How the Jumping-Jack is Supported.
Fig. 16.—Spool Hub.

Fasten a small stick with a brad driven in one end, in notches cut in the hub's flanges (Fig. 16), and connect the brad and Jack's string with a piece of wire or strong string. Then as the windmill revolves it will operate the toy in the manner indicated in Figs. 14 and 15.


[Pg 9]

CHAPTER II

HOME-MADE KITES

The Malay tailless kite is probably the most practical kind ever invented. It will fly in a wind that the tail variety could not withstand, and it will fly in a breeze too light to carry up most other forms of kites. It is also a strong pulling kite, and can be used for sending aloft lanterns and flags. For the purpose of lifting, the pulling strength can be doubled by flying two Malays in tandem.

A Malay Tailless Kite.

Fig. 17.—A Malay Tailless Kite.

How to Make a Malay. Figure 17 shows a Malay kite [Pg 10] in flight, Fig. 18 a detail of the completed kite, Fig. 19 the completed framework, and Figs. 20, 21, and 22 the details for preparing the frame sticks.

The Sticks. This kite has a vertical stick and a bow-stick, each of which should be 40 inches long, about ¾ inch wide, and 3/8 inch thick, for a kite of medium size. In the cutting of the sticks lies half the secret of making a kite that will fly successfully.

Completed Malay Kite with Belly-band Attached.

Fig. 18.—Completed Malay Kite with Belly-band Attached.

Drive a small nail or large tack into each end of the two sticks, to fasten the framing-string to (Figs. 20 and 21), and notch the side edges of the bow-stick near each end for the attachment of the bow-string (Figs. 21 and 22).

The amount to bend the bow-stick is important. For a kite with a bow 40 inches long the distance between the string and stick should be 6 inches (Fig. 21). Use a strong twine for the bow-string, and tie it securely to the notched ends.

Framing the Sticks. Fasten the bow-stick at its exact center to the vertical stick, placing it 4 inches down from the top of the vertical stick, as indicated in Fig. 19. Drive a couple of brads through the two sticks to hold them [Pg 11] together, and then reinforce the connection by wrapping the joint with strong linen thread, crossing the thread in the manner shown.

Framework of Malay Kite.

Fig. 19.—Framework of Malay Kite.

When the two sticks have been joined, connect their ends with the framing-string. Stretch this string from stick to stick, and tie securely to the end nails. Instead of the end nails, the sticks may be notched to receive the framing-string, but the nails are more satisfactory because the string can be tied fast to them and will not slip.

Covering the Framework. The strong light-weight brown wrapping-paper now so generally used makes an excellent covering for the framework. A few sheets can be purchased at a near-by store for the purpose. You will likely have to paste together two or more sheets to make one large enough. The paper should be placed on the outer face of the bow-stick, and should be allowed a little fullness instead of being stretched tight as on hexagonal tail kites. Lap the edges of the paper over the framing-string in the ordinary way of covering a kite.

[Pg 12]

Attach the Bridle at the intersection of the bow-stick and vertical stick, and at the lower end of the vertical stick (Fig. 18), and make it of the right length so when held over to one side it will reach to the end of the bow, as indicated in Fig. 18. Tie the flying line securely at the point A (Fig. 18); then the kite will be ready for its maiden flight.

Sticks.

Fig. 20.—Detail of Vertical Stick.
Fig. 21.—Detail of Bow-stick.
Fig. 22.—Detail of End of Bow-stick.

Flying-Line. The kind of cord which a mason uses for his plumb-lines is splendid for flying the Malay kite. If you cannot get some balls of this, be certain that what you do get can be relied upon, because it is provoking to lose a kite which you have taken a great deal of pains in making, through the breaking of the flying line.

The Box-kite. Of the more pretentious kites, none is as popular as the rectangular box-kite.

Box-kites may be purchased ready-made in a number of sizes, but they are not cheap, and it will pay any boy to take the time necessary to make one. While their construction [Pg 13] requires considerable more work than the single-plane type of kite, it is not difficult.

Raising the Box-kite.

Fig. 23.—Raising the Box-kite.

Figures 23 and 24 show a kite of scientifically developed proportions. Pine, spruce, and whitewood are the best materials for

The Kite Sticks, though any strong, light-weight wood of straight grain may be used if easier to obtain. If you live near a lumber yard or planing-mill, possibly you can get strips of just the size you require from the waste heap, for the mere asking, or for a few cents get them ripped out of a board. If not, you will find it easy enough to cut them yourself with a sharp rip-saw.

The Side Frames. Cut the four horizontal sticks 3/8 inch thick and 3/8 inch wide, by 36 inches long (A, Fig. 25), and the four upright connecting sticks (B, Fig. 25) ¼ inch thick, ½ inch wide, and 10 inches long. Tack the upright sticks to the horizontal ones 6 inches from the ends of the latter, as shown in Fig. 25, using slender brads for the purpose, [Pg 14] and clinching the projecting ends. In fastening these sticks, be careful to set sticks B at right angles to sticks A.

The Box-kite.

Fig. 24.—The Box-kite.

After fastening together the side-frame sticks as shown in Fig. 25, lay them aside until you have prepared the cross-section of the kite.

Make Two Side Frames like this.

Fig. 25.—Make Two Side Frames like this.

The Covering for the End Cells. A light-weight muslin or tough paper should be used for this material. Cheese-cloth will do if you give it a coat of thin varnish to fill up [Pg 15] the pores and make it air-tight, after it has been put on. The light-weight brown wrapping-paper now so commonly used is good covering material.

The cell bands for the kite illustrated should be 10 inches wide and 5 feet 9 inches long. If of cloth, they should be hemmed along each edge to prevent raveling and to make a firm edge. If of paper, the edges should be folded over a light framing-cord and pasted. Sew together the ends of the cloth bands, or paste the ends of the paper bands, lapping them so the measurement around the inside will be exactly 5 feet 8 inches, the proper measurement around the sticks of the finished kite.

Cross-section of the Box-kite.

Fig. 26.—Cross-section of the Box-kite.

Assembling the Kite. Slip the bands over the side frames, spread the frames to their fullest extent, and hold them in this position by means of sticks sprung in temporarily between upright sticks B. Then measure the proper length for the diagonal braces C (Fig. 26). These sticks should be notched at their ends to fit over the sticks [Pg 16] A, as shown in Fig. 27, and they should be a trifle long so they will be slightly bow-shaped when put in place. In this way the frames will keep the cloth or paper bands stretched tight.

Detail of Diagonal Braces.

Fig. 27.—Detail of Diagonal Braces.

The notched ends of the diagonals should be lashed with thread to keep them from splitting. Lashings of thread around the frame sticks A, as shown in Figs. 25 and Fig. 27, will keep the ends of the braces from slipping away from the uprights B, which is the proper position for them. Bind the braces together at their centers with thread, as shown in Figs. 24 and 26. Coat the lashings with glue after winding them, and the thread will hold its position better.

The cloth or paper bands should be fastened to each horizontal frame stick with two tacks placed near the edges of the bands.

There are several methods of

Attaching the Bridle, but that shown in Fig. 244 is generally considered the most satisfactory. Of course, the kite is flown other side up, with the bridle underneath. The three-point attachment has cords fastened at the two outer corners of one cell, and a third cord to the center of the outer edge of the other cell; and the four-point attachment has cords attached at the four outer corners [Pg 17] of the kite. The ends of the bridle should be brought together and tied at a distance of about 3 feet from the kite. It is a good plan to connect the ends to a fancy-work ring.

A Good Hand Kite-reel.

Fig. 28.—A Good Hand Kite-reel.

A Good Hand Kite-reel that can be held in one hand and operated by the other is shown in Fig. 28. Get a ½-lb. size baking-powder can for the winding-spool, locate the center of the cover and bottom end, and with a can-opener cut a hole 1 inch in diameter through each (Fig. 29). Then cut two wooden disks 5 inches in diameter for the spool flanges. These may be cut out of thin wood. If you do not wish to take the trouble to cut them round, just saw off the four corners diagonally, making the pieces octagonal. Bore a 1-inch hole through the center of each piece. Tack the can cover to the exact center of one disk, as shown in Fig. 30, and the can to the exact center of the other. Then fit the cover on the can, and glue a strip of cloth or heavy paper around the joint to [Pg 18] keep the cover from working off, and the spool will be completed.

Details of Hand Kite-reel.

Figs. 29 and 30.—Details of Hand Kite-reel.

The axle upon which the spool turns is a piece of broom-handle 10 inches or so in length (Fig. 30). Bore two holes through it in the positions shown, for pins to keep the spool in its proper place. Wooden pegs can be cut for pins. For a winding handle, pivot a spool on the right-hand disk by means of a nail or screw. The inner flange of the spool handle may be cut off as shown in Fig. 28.

[Pg 19]

Both hands are frequently needed to haul in string quickly enough to bring a kite around into the wind, or to handle it when it pulls very strong, and then there is nothing to do but drop the hand reel upon the ground, unless you have an assistant to give it to. This is where the advantage of

Details of Hand Kite-reel.

Fig. 31.—A Body Kite-reel.
Fig. 32.—Detail of Axle Support.
Fig. 33.—Detail of Crank.

A Body Kite-reel comes in. With it strapped about the waist, it will go wherever you go, and always be within easy reach. Figure 31 shows one simple to make. The spool of this is made similar to that of the hand reel shown in Fig. 28. If, however, you wish a larger winding-spool, you can use a larger can than the baking-powder can—a tomato can or syrup can—and increase the diameter of the wooden flanges accordingly. Instead of the spool turning [Pg 20] upon the broom-handle axle, the axle turns with the spool, so the spool must be fastened to the axle.

The axle supports A (Figs. 31 and 32) should be about 7 inches long, 4 inches wide at the wide end, and 2 inches wide at the narrow end. Cut the holes to receive the axle ends a trifle large so the axle will turn easily. Cut the connecting crosspieces B of the right length so there will be about ¼ inch between the ends of the spool and supports A.

Cut the crank stick C as shown in Fig. 33, bore a hole for the axle end to fit in, bore another hole in the edge for a set-screw to hold the stick in place on the axle end, and pivot a spool in place for a handle. If the hole in the spool is too large for the head of the nail used for pivoting, slip a small iron or leather washer over the nail.

An old belt or shawl-strap should be used for strapping the kite-reel to your body. Fasten this to the ends of the axle supports A by nailing the strips D to them as shown in Fig. 32.


[Pg 21]

CHAPTER III

A HOME-MADE MODEL AEROPLANE

Model aeronautics has become nearly as popular as kite flying, and girls as well as boys have taken to building these unique air toys.

The model aeroplane requires more work than ordinary kite construction. It also requires more patience and greater accuracy, because each part of the little aircraft must be made just so, assembled just so, and "tuned-up" just so, to produce a model which will give a good account of itself. Of course your first model will probably not be perfect. But if you do your work correctly and carefully it will fly, and the experience you have acquired will make it possible to turn out a more nearly perfect second model.

Many types of model aeroplanes have been devised, but those of the simplest form of construction have made the best showing. The majority of record-breaking models have been of one type—a triangular framework, equipped with two planes, and a pair of propellers operated by a pair of rubber-strand motors. A most successful model of this type is shown in Fig. 34, and described and illustrated on the following pages. This model has a distance record of 1620 feet made at the Aero Club of Illinois' aviation [Pg 22] field at Cicero, Chicago, where it flew 16 feet beyond the fence of the 160 acre field. The model weighs but 5½ ounces, has 9-inch propellers of 27 inch pitch, and is in every essential a speed machine.

Launching a Model Aeroplane.

Fig. 34.—Launching a Model Aeroplane.

The first part of the model to make is the triangular

Fuselage, or motor base. This consists of two side sticks, splines, or spars (A, Fig. 35) of straight-grained white pine cut to the dimensions marked upon the drawing, with their bow ends beveled off for a distance of 1¼ inches, glued together, and bound with thread. The stern ends have a spread of 8 inches, and are braced at that distance by the separator B (Fig. 35). This separator is fastened flatwise between sticks A, and its edges are reduced as shown in the small section drawing of Fig. 37 so they will offer less resistance to the air. [Pg 23] This piece is fastened between sticks A with brads. Separators C, D, and E are of the sizes marked in Fig. 35, and of the proper length to fit between side sticks A at the places indicated on the drawing. They are cut oval-shaped, as shown in the small section drawing in Fig. 37.

Plan.
Working-drawings of Model Aeroplane Designed
and Built by Harry Wells.

Figs. 35 and 36.—Working-drawings of Model Aeroplane Designed and Built by Harry Wells.
This Model has a record of 1620 feet made at the Aero Club of Illinois' Aviation Field at Cicero, Chicago.

Before fastening the separators in position,

The Thrust Bearings for the propellers, and the end plates for connecting the wire stays, must be prepared. Figure 38 shows a dimensioned detail of the thrust bearings, and Fig. 37 shows how they are bound to the ends of sticks A with thread. These are cut out of brass, bent [Pg 24] into the shape shown, and have a hole pierced through the folded tip for the propeller-shaft to run through, another through one end for the brad to pass through that pins stick A to B, and another through the other end to fasten the end of the wire stays to. The small detail in Fig. 37 shows the end plates for the wire stays. These are made no longer than is necessary for the connecting holes for the wire-stay ends. Pierce a hole through the center of each plate for the brad to pass through which fastens sticks A to the ends of the separators. The plates are bound to sticks A with thread.

Wells Model.

Fig. 37.—Detail of Fuselage and Motor of the Wells Model.
Fig. 38.—Detail of Thrust Bearing, Propeller-shaft, and Connections.
Fig. 39.—Detail of Bow Hook and how Rubber Motor is Connected to it.

The Bow Hooks support the bow ends of the rubber motor, and are made upon the ends of a piece of heavy piano-wire bent V-shaped to fit over the ends of sticks A (Fig. 39). Bind the wire to the sticks with thread, coating the thread with glue to make it hold fast (Fig. 37).

The Main Plane has a framework built as shown in Fig. 40, with the front or entering-edge, and the rear or following-edge, [Pg 25] made of sticks of white pine or other light-weight wood, and the ribs and tips on the ends made of No. 16 gauge aluminum wire. The ends of the frame sticks are cut away on their outer edge, to receive the ends of the wire forming the tips, and the ends of these wires, and the laps of the wire ribs, are bound in position with thread, and the thread then coated with glue to hold it in position.

The Elevator, or front plane, has a framework made as shown in Fig. 41. Its entering-edge is a stick, and its following-edge, ribs, and end tips, are made of No. 16 gauge aluminum wire. You will notice by Fig. 41 that the center ribs cross the following-edge of the frame and are bent up in the form of a flat loop. This loop rests against the under side of the fuselage, and gives the elevator its proper angle for stability (Fig. 36). The tips are bent up to add stability.

The frames of the main plane and elevator are covered with china-silk, which may either be sewed or glued in place, and this is given a thin coat of shellac to make it air-tight and taut. The covering must be put on smoothly to reduce to a minimum what is known as skin resistance—the resistance that the plane makes to the air while passing through it.

The main plane and elevator are held to the fuselage by means of rubber-bands slipped beneath them and over the fuselage, and unlike the planes of the majority of models, are fastened to the under side of the fuselage. Figure 36 shows the approximate position of the elevator. That of [Pg 26] the main plane will vary under different air conditions, sometimes being placed over the separator C, and at other times closer to separator B than is shown in Fig. 35. Therefore, you must adjust your plane and elevator—this operation is known as tuning—to suit the condition of the atmosphere, until you find the positions where they will give the machine the greatest stability. A great factor in the successful flight of a model aeroplane lies in properly tuning the planes, both laterally and longitudinally, and of course the planes must balance at their centers, in order to make the machine balance properly.

Framework.

Fig. 40.—Detail of the Main Plane Framework of the Wells Model.
Fig. 41.—Detail of the Elevator Framework.
Fig. 42.—Detail of Fin.

The Fin directly over the center of the elevator (Figs. 34 and 36) is provided for stability, and may be used as a rudder by turning it slightly to one side or the other. It is made of No. 34 gauge sheet aluminum, cut to the form [Pg 27] shown in Fig. 42. Its vertical edge is bent around a piece of heavy wire, as shown in the plan detail of Fig. 42, and the lower end of the wire is fastened upright between the bow ends of sticks A.

The Wells Model Propeller.

Fig. 43.—The Wells Model Propeller.

The Propellers are the most difficult part of the model aeroplane to make. They must be very accurately cut, and must be of identical size and pitch. The pitch of a propeller is, theoretically, the distance forward that it advances in one complete revolution.

Figure 43 shows one of the propellers of Harry Wells' machine, which is 9 inches in length and has a 27-inch pitch. Figure 44 shows

How to Prepare the Propellers. The pair must be opposites, that is, one must be of right-hand pitch and the other of left-hand pitch, or, in other words, the upper end of the right-hand pitch propeller turns to the right, and that of the left-hand pitch propeller turns to the left, when viewing them from the rear.

How to Prepare a 9-inch Propeller.

Fig. 44.—How to Prepare a 9-inch Propeller.

[Pg 28]

Step A consists in properly planing up a straight-grained block of white pine 1½ inches thick, 2 inches wide, and 9 inches long, with its sides and ends straight and true, for

The Propeller Blank. Draw a line around the four faces of this block at the exact center of the length. Then on faces C and D, lay off a distance of ½ inch on the center-line, measuring from the edge of face B, for the thickness of the propeller-hub, and draw diagonal lines from the upper and lower left-hand corners of faces C and D to the end of the hub center-line (Step B). Then cut away the portions outside of these lines, as shown in Step C. Lay out the hub upon faces A and B of the block, with a ½-inch diameter, and bore a small hole through the center to receive the propeller-shaft (Step C). Draw diagonals from the corners to the center-line of the hub (Step D); then cut away the wood outside of these lines (Step E).

The next step (F) consists in laying out the form of the propeller blade upon all four sides and ends of the block, and Step G is the final one of cutting out the propeller, scooping out its blades concave on one side, and carving them convex on the opposite side. A very sharp knife must be used for cutting; and the work must be done slowly and carefully, because the least slip is likely to ruin the propeller. The entering-edge of each blade is the almost straight edge, and should be cut very thin. The ends of the blades should also be cut thin, while the hub should be cut away as much as can safely be done without weakening the propeller.

[Pg 29]

When you have completed cutting the propellers, place them at their centers across the edge of a knife-blade, and if they do not balance perfectly, locate the trouble and correct it. Finish the work with fine emery-paper, and then shellac it. Some boys glue silk over the ends of their propeller blades, for a distance of ½ inch or so, to reinforce them and make them less likely to split.

The Propeller-shafts are made of heavy piano-wire, bent into a hook at one end (Fig. 38) to receive the rubber strands of the motor, and cut of the right length to extend through the hole in the bearing, through a glass bead, through the propeller, and then to bend over the side of the hub (Figs. 37 and 38). By bending over the end of the shaft against the hub, it is held securely in place.

The Motors consist of twelve strands of 1/8-inch flat rubber, each, and as these are 1 yard in length, exactly 24 yards of rubber are required. The rubber is not connected direct to the hooks on the bow and propeller-shafts, as the wire would quickly cut through the strands. Instead, small rings are bent out of wire, with pieces of small rubber-tubing slipped over the wire, and the ends of the rubber strands are looped through these rings and bound in place with thread (Fig. 39). The wire rings are then slipped on and off the hooks quickly. As light and heat cause rubber to deteriorate, you must remove the motors from the machine after use, pack away in a covered box, and keep in a cool place, in order to get the longest life possible out of the rubber.

[Pg 30]

It has been found that rubber motors can be wound much farther by lubricating them with glycerine. It is only necessary to put a few drops of the glycerine upon a clean cloth, and rub it over the outside strands; then wind the motors, and it will work over the surface of the inner strands until all parts are covered.

A Home-made Motor Winder.

Fig. 45.—A Home-made Motor Winder.
Fig. 46.—The Kind of Egg-beater to Use.
Fig. 47.—How the Motors are Connected to Winder for Winding.

Of course the rubber motors must be twisted an equal number of turns, in order to make the propellers work the same, and this is usually done with an ingenious winder made from an egg-beater, which winds both motors simultaneously.

[Pg 31]

The Home-made Motor-winder shown in Fig. 45 is made from a Dover egg-beater (Fig. 46). To convert the egg-beater into a winder, it is necessary to cut off the loop ends and the center pivot wires on which the loops turn. Then bend the cut-off ends of the loops into hooks, and punch them to fit over the pivot wire ends, as before (Fig. 45). The ends of the pivot wires must be riveted to keep the hooks in position.

Figure 47 shows

How the Egg-beater Winds the Motors. While an assistant supports the model by the propeller end, you remove the motor rings from the hooks on the bow of the fuselage, and slip them on to the hooks of the egg-beater. Then you turn the crank of the winder, counting the turns as you do so, and when you have wound the motors as far as you wish, slip off the motor rings, and slip them back on to the bow hooks of the model aeroplane. Motors of models like that shown in this chapter are wound one-thousand turns or more for each flight.

Wind the Motors Slowly, especially after the first row of knots begin, as it puts the rubber to the least amount of strain by doing this. Quick winding not only strains the rubber but makes the knots form in bunches, and uneven winding, of course, produces an uneven unwinding.

The propellers must be held after the motors have been wound, to keep them in check. Figure 34 shows

The Position to Take for Launching a Model from the hand. The machine should not be thrown forward, as [Pg 32] the movement would cause too great a disturbance of the air, resulting in the machine losing its stability, and probably upsetting. The best method is to give the model a slight push that will start it off at a speed a trifle under that produced by its propellers.


[Pg 33]

CHAPTER IV

A HOME-MADE TOY MOTOR-BOAT

The toy motor-boat shown in Figs. 48 and 49 is propelled by a tin propeller run by a rubber-band motor. A handful of rubber-bands will cost only a few cents, and the rest of the working material can be picked up at home.

The Completed Motor-boat.

Fig. 49.—The Completed Motor-boat.

Stern, with Motor in Place.

Fig. 50.—Stern, with Motor in Place.

Prepare the Bottom of the Hull out of a piece of wood 1 inch thick, making it of the shape and dimensions shown in Fig. 51. Be careful to curve the side edges the same. Use a saw for cutting out the piece, then smooth up the edges with a plane and sandpaper. The stern should be sawed off on a bevel as shown in Fig. 52.

[Pg 34]

Diagram of Hull.

Fig. 51.—Diagram of Hull.

The Sides of the hull (B, Figs. 52 and 53) are thin strips 2½ inches wide. Nail one to one edge of the bottom block, then saw off the bow end on a line with the bow of the bottom block, and the stern end on the same slant as the bevel cut on the stern of the bottom block. With one piece in position, nail on the second side and trim off its ends. If you have any difficulty in making a neat joint between the bow ends of sides B, take a piece of tin from a can, bend it around the bow, and tack it in place as shown in Fig. 48. The stern piece (C, Figs. 53 and 54) should be cut next, to fit the slanted ends of the sides.

How the Hull, Sides, Stern and Deck Pieces are Assembled.

Figs. 52 and 53.—How the Hull, Sides, Stern and Deck Pieces are Assembled.

The Deck (D) extends from the bow almost to the center of the boat. Its top surface should taper in its length and curve from side to side. The piece may be whittled or planed to this shape. Fasten it with brads to the top edges of the sides of the boat.


Launching the Toy Motor-boat.

Fig. 48.Launching the Toy Motor-boat.


[Pg 35]

To Complete the Boat, go over the work carefully, trim off all projecting edges, drive nail heads beneath the surfaces, putty nail holes and cracks, and give the wood two coats of paint of whatever color you want to have the motor-boat.

The Propeller (E, Fig. 54) is cut from the side of a tin can. Cut a piece 3 inches long and ¾ inch wide, round its ends, and with the point of a nail pierce a hole through it each side of the center of the length of the piece (Fig. 55). To finish the propeller, it is only necessary to take hold of the two ends and twist the piece into the shape shown in Fig. 56.

The Propeller-shaft requires a short piece of wire with one end bent into a hook (F, Fig. 56). Stick the straight end of this shaft through one hole in the propeller, and the hooked end through the other hole, then twist the hooked end over on to the main part of the shaft, as shown in Fig. 57. Make a tight twist so the propeller will be held perfectly rigid on the shaft.

The Bearing Plate G (Figs. 54 and 58) supports the propeller. Cut it out of a piece of tin 1½ inches wide by 3 inches long, bend it in half crosswise to give it stiffness, and then bend it lengthwise to the angle shown so it will fit over the slanted stern of the boat. Punch two holes through the upper end for nailing the plate to the stern, and a hole at the lower end for the propeller-shaft to run through.

For a Thrust Bearing, slip a couple of beads over the propeller-shaft, between the propeller and bearing plate [Pg 36] G. Probably you can find glass beads in your mother's button bag.

Motor-boat.

Fig. 54.—Longitudinal Section of Assembled Motor-boat.
Figs. 55-59.—Details of Propeller.
Fig. 60.—Rubber-band Motor.

[Pg 37]

After slipping the beads on to the shaft, and sticking the shaft through the hole in bearing plate G, bend the end of the shaft into a hook; then screw a small screw-hook into the bottom of the hull, at the bow end (I, Fig. 54), and you will be ready for

The Rubber-band Motor. Rubber-bands about 1½ inches in length are best for the purpose. Loop these together end to end (Fig. 60) to form a strand that will reach from hook I to the hook on the propeller-shaft; then form three more strands of this same length, and slip the end loops of all four strands over the hooks.

To Wind the Motor, give the propeller about one hundred turns with your finger; then, keep hold of the propeller until you launch the boat.

There are many ways of elaborating upon the design and construction of this toy motor-boat, but, having given the necessary instructions for building a simple model, I am going to leave further development for you to work out. Here is an opportunity for you to use your ingenuity. Devise an adjustable rudder, add a keel, finish off the cockpit with a coaming, install a headlight made from a pocket flashlight—in fact, see just how complete a motor-boat model you can build.


[Pg 38]

CHAPTER V

HOME-MADE TOY WATER-MOTORS

You can own a water-motor like the one shown in Fig. 61, because its construction requires nothing but easily obtained materials.

A Varnish-can Water-motor in Operation.

Fig. 61.—A Varnish-can Water-motor in Operation.

[Pg 39]

The Case of this water-motor is made of an empty varnish can—preferably one of gallon capacity. Nothing better could be desired. The tin can makes a lightweight compact case; the spout in the top is in just the right place and of the right size to receive the water power from a faucet; and as the water connections can be made tight there is no possibility of water splashing on to the floor—a big argument in your favor when seeking permission to use the motor in the bath-tub, wash-basin, or kitchen sink.

The Completed Varnish-can Water-motor.

Fig. 62.—The Completed Varnish-can Water-motor.

You can get an empty varnish can from any painter, or at a paint store. The first step in converting the can into the motor case consists in removing the bottom. You will find this soldered in place, in all probability, and it can be removed quickly by holding the can over the flame of a gas burner until the solder melts, when a few taps upon the edges will cause the piece of tin to drop off.

The Water-motor Wheel is shown in the cross-sections of the water-motor (Figs. 63 and 64), and Figs. 65 to 67 show its details. The diameter of the wheel should be about ½ inch less than the inside width of the can. In [Pg 40] the model from which the drawings were made, this measurement is 5½ inches. Cut the two side pieces of the wheel out of a piece of cigar-box wood, and bore a ¼-inch hole through the center of each for the wheel axle. Fasten a spool to the center of one side piece for a pulley-wheel (Fig. 66).

Sections through Water-motor Case.

Figs. 63 and 64.—Sections through Water-motor Case.

Prepare Eight Paddles 1¾ inches wide and 2½ inches long, out of cigar-box wood. Locate the positions for the ends of the paddles, upon the side pieces, by drawing a horizontal line, a vertical line, and two diagonal lines at angles [Pg 41] of 45 degrees, through their centers. This will simplify the matter of spacing the paddles equidistant from one another (Fig. 67). Use brads for fastening the side pieces to the paddle ends. Those removed from the cigar boxes will do.

The Wheel Shaft should be a trifle shorter than the inside width of the can, and enough smaller than the ¼-inch hole in the wheel side pieces so the wheel will turn freely. Locate the centers for the axle upon the two sides of the can, in the proper position so there will be the same margin above and at the ends of the wheel. Drive a nail through each side of the can into the axle end.

Water-motor Wheel.

Fig. 65.—The Completed Water-motor Wheel.
Figs. 66 and 67.—Details of Water-motor Wheel.

An Outlet for the water after it has passed over the wheel paddles must be provided, and the best way is to fasten a strip to two opposite sides of the can so as to raise the bottom about an inch, as shown in Figs. 62, 63, and 64.

For a Pulley-belt use a piece of heavy cord. Cut a slot through the front of the can for the belt to run through, [Pg 42] and make this slot large enough so the cord will not rub against the sides (Fig. 63).

Pulley-wheels for attaining different speeds can be made of spools of various sizes. A bicycle wheel with the tire removed, mounted in a frame, is excellent for a large wheel.

How to Make a Water-tight
  Connection between Faucet and Water-motor.

Figs. 68-69.—How to Make a Water-tight Connection between Faucet and Water-motor.

Connecting up the Water-motor. If you operate the water-motor in the kitchen sink, you can either build a platform as shown in Fig. 61, to bring the spout of the varnish-can case up to the level of the faucet, or you can set the water-motor in the sink and lead a piece of rubber tubing from the spout to the faucet, as shown in Fig. 68. If you use the latter arrangement, slip the lower end of the rubber tubing over a short piece of glass, brass, or tin tubing, and stick the short tubing through a hole in a cork large enough to fit the spout of the varnish-can case (Fig. 69). If you raise the water-motor high enough so the faucet will set down into the spout, you can cut a large enough hole for the faucet, through a cork, and then fit the cork in the spout as shown in Fig. 64.

Another Water-motor. The little water-motor in Fig. 70 will furnish sufficient power to operate simple mechanical toys.

[Pg 43]

The Water-motor Wheel. Procure two baking-powder can covers for the ends of the water-motor wheel (A, Fig. 72), a cigar-box out of which to make the wheel paddles, and a stick ¼ inch square and 5 inches long for the wheel axle (B, Fig. 72).

A Small Water-motor that can be Operated in a Wash-Basin.

Fig. 70.—A Small Water-motor that can be Operated in a Wash-Basin.

The Water-motor Wheel.

Fig. 71.—The Water-motor Wheel.

Details of Water-motor Wheel.
Details of Water-motor Wheel.

Figs. 72 and 73.—Details of Water-motor Wheel.

Cut eight paddles from the cigar-box wood 1 inch wide and 5 inches long. Take a pair of these strips and fasten them to one can cover, in line with each other, and close against the sides of the cover (C, Fig. 73). Fasten [Pg 44] with tacks or brads driven through the cover into the ends of the strips. Take another pair of strips and fasten them to the same cover, in a similar manner, at right angles to pair C (D, Fig. 72). Then tack the pairs of strips E and F to the cover halfway between pairs C and D. With the paddles in position, locate the exact center of the end of the can cover, and drive a nail through at this point into the end of axle B. Slip the free ends of the paddles into the other can cover, and carefully drive tacks or brads through the cover into them. Drive a nail through the center of the cover into the end of axle B.

The Wheel Supports. Figure 74 shows the supports for the wheel. Cut the end pieces G 4 inches wide and 6 inches high, and the cross strips H 1¾ inches wide and 5½ inches long. Nail pieces G to H, as shown, allowing the lower ends of G to extend ½ inch below [Pg 45] strips H, and leaving a space of ½ inch between strips H. The axle holes in pieces G (Fig. 74) should be located in the center of the width of these pieces, and halfway between their tops and strips H. Bore the holes with a gimlet, or make them by driving a large nail through the pieces, and then withdrawing it.

Support for Water-motor Wheel.

Fig. 74.—Support for Water-motor Wheel.

To Mount the Wheel upon the supports, withdraw the nails driven into the ends of axle B, slip the wheel between uprights G, and drive the nails through the holes in G back into the holes in the axle ends (Fig. 71).

The Pulley Wheel. One can cover should be converted into a pulley by winding several turns of string around it, near each edge, leaving a groove between the string. Coat the string with glue to make it stick fast to the cover.

The Water-motor Case. Figure 70 shows how the water-motor case is constructed by fastening boards N, I, J, K, L, and M to the wheel supports G. There must be a slot through I and another through J, for the string [Pg 46] belt to pass through, and a hole through K for the intake of water from a faucet. These can be cut out of the edges of the boards, as shown, before they are nailed in place. Leave an opening between boards N and M, and the bottom of ends G, for an outlet for waste water.


[Pg 47]

CHAPTER VI

A HOME-MADE TOY RAILWAY

Upright.

Fig. 75.—Upright.

It is often thought that a toy railway is beyond a boy's ingenuity to construct, whereas, in reality, it is one of the simplest toys he can make. This applies to the tracks, stations, and cars of every description, all of which can be made with a few strips of wood, some spools, nails, cardboard, and a bottle of glue, for materials. If you have passed the age of caring for such toys as this, you will, no doubt, enjoy the making of one for your younger brother, or for one of your boy relatives.

Figure 76 shows a railway set up and in running order. As shown in the illustration,

[Pg 48]

The Toy Railway in Operation.

Fig. 76.—The Toy Railway in Operation.

Support for Trolley-line.

Fig. 77.—Support for Trolley-line.

The Trolley-line, or overhead cable, runs around the wheels of two supports, one at either end of the track. Prepare four pieces of wood the shape and size of that shown in Fig. 75 for the uprights of these supports, and make two wheels three inches in diameter. The wheels may be marked out with a home-made compass—a pencil tied to the end of a piece of string, if you haven't a compass. When the wheels have been cut out, place them in your bench-vise, one at a time, and with a file make a groove around the edge as shown at C, Fig. 77. Bore a three-eighths-inch hole through each upright at F, Fig. 75, and another through the center of each wheel. Now fasten two of the uprights six inches apart upon a block of wood, as shown at A and B, Fig. 77. Whittle a shaft to fit loosely in the holes of the uprights, and, after slipping it into them, fasten one of the wheels upon one end and a small spool upon the other (see C and D in Fig. 77). A weight of some sort should be fastened to the base, as shown at E. The uprights for the other support should be similarly mounted upon [Pg 49] another block of wood. Fasten the remaining wheel to an axle run through the holes in the uprights, and, as it is unnecessary to have a spool upon the other end of the axle, cut it off short and drive a nail through it to prevent it from slipping through the holes. Having thus prepared the supports, place them as far apart as you wish to extend the railway, and run a cord around the two wheels and tie it. Then set the supports a little farther apart, if necessary, to tighten the cord. Run another cord from spool D to

The Toy Railway in Operation(2).

Fig. 76.—The Toy Railway in Operation (2).

A Water-motor, steam engine, or whatever power you can get with which to operate the railway. A bicycle inverted with the tire removed from its rear wheel has been used satisfactorily, as has also a sewing-machine with the belt slipped off and the cord from the spool put in its place.

A good substitute for the tin tracks ordinarily sold in shops for toy railways will be found in those shown in Fig. 78. These

[Pg 50]

The Tracks.

Fig. 78.—The Tracks.

Tracks consist of quarter-inch strips mounted upon pieces of cardboard. Make a small gimlet-hole in one end of each stick, and drive a short finishing nail in the opposite end (see Fig. 78). Cut the cardboard strips the length of the sticks, and tack them to the sticks as shown in the illustration. If inch and one-half spools are used for the car wheels, the inside gauge of the tracks should be an inch and three-quarters. By lapping the cardboard strips over the ends of the sticks, and the sticks over the ends of the cardboard strips, and placing the nail dowels in the ends of the sticks as in the drawing, a strong track is formed when the pieces are fitted together. This may be extended to any desired length by adding more sections to it.

A Top View of Car Truck.

Fig. 79.—A Top View of Car Truck.

The Cars for this railway will have their trucks constructed alike, and it is a simple matter to transform a car from one style into another. Figure 79 shows a top view of a truck. For the bed of this cut a three-eighths-inch board twelve inches long by two and one-quarter inches wide, and, after rounding the ends as shown in the drawing, cut a mortise at A and B two and three-eighths inches from either end.

[Pg 51]

Spool Wheels.

Fig. 80.—Spool Wheels.

Procure two one and one-half inch spools for wheels, and drive a wooden peg through the hole in each, cutting off the ends so they project a little beyond the hole, as shown in Fig. 80. Then bore four holes in the edges of the truck-bed with a gimlet at C, D, E, and F (see Fig. 79), and, after setting the spools in mortises A and B, pivot them in place with small finishing nails driven into the wooden pegs. These nails should fit loosely in the gimlet holes. In order to drive them into the exact centers of the spools, it is best to locate these points upon the ends of the pegs before placing the spools in the frame. A quarter-inch hole should be bored in the top of the truck-bed at G and H (Fig. 79) in which to fasten the two uprights I and J (see Fig. 81). Make the uprights four inches long and [Pg 52] whittle a peg upon the lower ends to fit holes G and H (see Fig. 82). Bore a hole with a gimlet in the top of each and run a piece of heavy wire from one to the other, bending it as shown in Fig. 81. Fasten K between I and J, as shown. Place a small brass ring upon the wire before you fasten it in place. A small hook should be screwed into one end of the truck and a screw-eye into the other end, for couplings, should you wish to hitch two or more cars together.

The Completed Car Truck.

Fig. 81.—The Completed Car Truck.

A Gondola Car.

Fig. 83.—A Gondola Car.

A Gondola Car, such as shown in Fig. 83, should have its truck made similar to Fig. 79, with the exception that it should be two inches shorter, in order that cigar-box strips can be used for the side pieces. Cut the strips an inch and one-half high and fasten them to the bed of the car with brads. This car may be used as a trailer.

The car shown in Fig. 81 is a rather crude affair, but with a little more work may be transformed into a better looking car—

[Pg 53]

Side View.

Fig. 84.mdash;Side View.

End View.

Fig. 85.—End View.

A Street Car such as is shown in Figs. 84 and 85 being an example of what can be made. The sides, ends, and roof of this car are made of cardboard, the patterns for the cutting of which are shown on page 55. Figure 86 shows a cross-section taken through the center of the car. The two side pieces A should be prepared first, as shown in Fig. 87. With a ruler and lead-pencil draw in the windows about as shown in the drawing, using double lines to indicate the sash. Then, with a sharp knife, cut out the center of each just inside of the inner line. These windows may be left open or may be covered on the inside with tissue-paper. If tissue-paper is used, oil it to make it more transparent. When the two sides have been prepared, bend each along the dotted lines (see Fig. 87) and tack one to each side of your car truck as shown in Fig. 86. When properly bent, the distance between the upper part of the sides should be two and three-quarters inches. Cut the two inner ends of the car the shape of Fig. 88, using a compass with a radius of two and one-half inches with which to describe the curve at the top. Draw in the panels and sash lines as you did those upon the side pieces, being careful to get them on the same level, [Pg 54] and cut out the door and window openings. Fasten these end pieces between the sides with glue, and also tack them to the uprights of the car (I and J, Fig. 81), which will come just inside of them. The roof is made in two sections (B and C, Fig. 86). For B cut a piece of cardboard twelve and one-quarter by three and three-quarter inches (Fig. 89), draw the curved end with a compass, using the radius shown on the drawing, and slit the corners as indicated by the dotted lines. When this piece has thus been prepared, remove the wire from the top of the truck (see Fig. 81). Bend the cardboard over the sides and ends of the car, and lap corners D and E over F and G, and H and I over J and K, tacking them with thread to hold them in place. To fasten this part of the roof to the top of the car, cut a number of small strips of linen, and glue them to the under side of the roof and to the inside face of the sides and ends of the car (see Fig. 86). The upper portion of the roof C should be made out of a piece of cardboard bent into the shape of Fig. 90, and cut at the ends so the upper portion of C projects a little beyond its sides. Draw the ventilation lights upon the sides of C as shown on the drawings, and then fasten the piece upon the top of B with strips of linen in the same manner as you fastened B in place. C should now have the same curve to its top as B. Cut and glue a piece of cardboard in each end of C to complete the roof. The shape of this piece is shown in Fig. 91. The outer ends of the car should be made as shown in Fig. 92, and tacked around the ends of the wooden truck platform, and also fastened to the under side of the roof with strips of linen.

[Pg 55]

Details of Toy Street Car.

Figs. 86-94.—Details of Toy Street Car.

[Pg 56]

The window openings may be cut in each end, but it will make a stronger car if they are simply drawn upon it. Cut four cardboard steps similar to Fig. 93 and tack them to the sides of the front and rear platforms. When the car has been put together, replace the wire in the tops of uprights I and J (Fig. 81), running the ends through the roof (see Fig. 84). Paint the sides and ends of the car yellow with brown trimmings, and paint the roof a light gray. Water colors can be used for the purpose. Letter the name of your car-line upon the sides and the number of the car upon each end and side. The route should be lettered upon strips of cardboard with pins run through them as shown in Fig. 94, these strips to stick in the roof of the car (see Figs. 84 and 85).

Having seen how the car is made, you will find it a simple matter to make designs for

Other Cars, using the same scheme for the trucks, and altering the patterns for the sides, ends, and roof, to suit the design.

Nothing has, as yet, been said about the

Operation of the Railway, and though Fig. 76 probably shows sufficiently clear how it is run, a few words may be helpful. The car or cars are placed between the wooden tracks, and the trolley (or cord attached to the ring on top of the car) is tied to the trolley-line as in the illustration. [Pg 57] Upon starting your engine, water-motor, or whatever motive-power you have, the car will run from one end of the track to the other. When it has reached the support of the trolley-line, it will stop long enough for the cord trolley to pass around the wooden wheel, and then run in the opposite direction until the other support is reached. It will thus be seen that the trolley hangs to the upper part of the cable, or trolley-line, in running one way, and to the lower part on the return run. In changing the direction of the run, the ring to which the trolley is attached slides to the other end of the car.

The Railway Depot.

Fig. 95.—The Railway Depot.

A Station such as is illustrated in Fig. 95 is made out of cardboard and mounted upon a seven-eighths-inch board large enough to form a railway platform. After cutting out the side and end pieces, with door and window openings placed as shown in the illustration, fasten them together with strips of linen glued in the corners. Make the roof low and extend it over the platform upon each side and over the gable-ends, as shown in the illustration. Paint the sides of the depot the regulation depot red, and the roof a shingle or slate color. Paint [Pg 58] the door and window-sash black, letter the name of the station upon the gable-ends, and with a ruler and lead-pencil rule off the boards upon the sides, and the slate or shingles upon the roof. As this is a typical railway station, two may be made of the same pattern, one for either end of your car line.


[Pg 59]

CHAPTER VII

HOME-MADE TOY ELEVATORS

The elevator shown in Fig. 96 is a unique mechanical toy well worth one's making. Release the little car at the top floor, and it will descend to the ground floor, and then return to the starting point, without you having to touch it a second time. A magical elevator? Perhaps so. A little mechanical device performs the trick.

The same plan may be followed for installing the doll-house elevator in Chapter XIII, but the more stories there are the more fun there is in operating the elevator. This is why I have adapted the scheme to

A Toy Office Building. Six stories are shown in Fig. 96, but you can make a modern sky-scraper with as many stories as you like. A packing-case 3 feet 6 inches long, stood on end, was used for the model. Another box or two can be added to the top for additional stories. Besides the box, or boxes, get enough box boards for floors and partitions.

Make the Floors in two pieces (A and B, Fig. 98), so the opening for the elevator shaft can be cut out of the end of one piece in the manner shown. This opening should be about 5 inches square. Mark out and cut the boards for all [Pg 60] of the floors at one time, and be careful to get the shaft opening the same in each floor. Cut the notch C in board A about 1 inch square.

A Toy Office Building with Elevator.

Fig. 96.—A Toy Office Building with Elevator.

Fasten the floor boards in place with nails driven through the sides of the box.

The Partitions, a pattern for which is shown in Fig. 99, can be made quicker by omitting the doorway, but this is easy to cut by sawing along the sides and then splitting out the piece between the saw cuts.

The Elevator Car should be built up of cigar-box wood, as shown in Figs. 101 and 102. The front portion (D) should be about 3 inches wide, 2½ inches deep, and 4 inches high, and the rear portion (E) should be of the same width, 2 inches deep, and 2½ inches high. Fasten these upon the base piece F as shown.

[Pg 61]

The Elevator Guides. Bore the holes G through the top and bottom of the car, close to the sides, for guide wires H to run through (Figs. 101 and 102). These holes may be bored with a screw-eye if you haven't a gimlet or drill. Bell-wire, or almost any wire that you have on hand, will do for the guides. Fasten two screw-eyes into the under side of the top of the shaft, the same distance apart as holes G, and in the proper position so they will come exactly over them (I, Fig. 100). Use the car for determining these measurements. Then bore two holes through the bottom of the shaft directly below the screw-eyes (J, Fig. 100). Attach the wire to one screw-eye, run it down through holes G in the car, through one of the holes J, then across to and up through the other hole J, up through the other set of holes G in the car, and attach to the second screw-eye I.

The Cables. The elevator is lifted by means of cord L (Figs. 97 and 101). Fasten this cord to a tack driven into the top of the car, then run it up and over spool M (Figs. 97 and 101), over spool N (Fig. 97), and tie to weight K.

The Counter-balance. A bottle, filled with sand to make it weigh more than twice as much as the car, should be used for this. Screw a small screw-eye into the cork to tie the cord to.

The counter-balance runs up and down in

The Smoke-stack, which is fastened to the back of the building (Fig. 97). Make the stack of cardboard mailing-tubes, joining them end to end with bands of paper pasted [Pg 62] around them. Fasten the stack to the back of the building with wire straps, and brace the top as shown in Fig. 96, but leave it unattached until you have adjusted

Section through Elevator Shaft.

Fig. 97.—Section through Elevator Shaft.

The Overhead Pulleys, or sheaves. These are spools. You will see by looking at Fig. 100 that spool M turns on the axle O, and the ends of this axle are cut to fit snugly in screw-eyes I.

Fasten pulley spool N in the smoke-stack by means of a wooden axle pushed through holes pierced in the side of the stack, as is shown in the small drawing above, Fig. 97. Bore a hole through the back of the building for the cable cord L to run through (P, Figs. 97 and 100), and cut another through the smoke-stack.

[Pg 63]

How the Car Operates. When the weight and cord have been adjusted and the smoke-stack erected, the elevator will run from the ground floor up to the roof of its own accord, because the counter-balance is much heavier than the car. To make it descend it is necessary to add weight to the car, to make it enough heavier than the counter-balance so it will drop of its own accord. This is done with

Ballast consisting of a bottle of sand or salt of twice the combined weight of counter-balance K and the car. After filling the bottle, cork it up, and screw a screw-eye into the cork. Then screw the eye of a 2-inch hook-and-eye into the roof of the building, directly over the center of box E of the elevator (R, Figs. 97 and 101), and attach one end of a rubber-band to the hook and tack the other end to the top of the elevator-shaft (Fig. 101).

With the hook and rubber-band properly adjusted, this is what happens when the car ascends to the top of the shaft. The bottom of the rear portion of the car strikes bottle Q, lifts it enough to release the end of the hook (R), and the rubber-band springs the hook out of the way (Fig. 97). The bottle remains upon the rear portion of the car, and its weight carries the car to the bottom of the shaft.

Floors.

Fig. 98.—Floors.

Partitions.

Fig. 99.—Partitions.

Front View of Elevator Shaft.

Fig. 100.—Front View of Elevator Shaft.
Figs. 101 and 102.—Elevator Car Details.

To Make the Car Rise to the top of the shaft again, remove [Pg 64] bottle Q. Replace the bottle upon the end of hook R, and it will be in position for the next trip downwards.

[Pg 65]

Cut the holes Y and Z (Fig. 100) through the outside wall of the shaft for hand holes through which to reach bottle Q and hook R.

Detail of Brake and Controlling Levers.

Fig. 103.—Detail of Brake and Controlling Levers.

Figures 97, 100, and 103 show

A Simple Control for stopping the car at the different floor levels. Stick S may be a piece of broom-handle, curtain-pole, or flagstaff. Bore a hole through the bottom of the shaft, directly below holes C in the floors (T, Fig. 100), and slip the stick through hole T and into slots C. Then locate on one side of stick S points just below the under face of each floor, and upon the opposite side locate points just above where the back edge of the elevator will come when the car is raised to each floor level (Fig. 97). Remove the stick, and drill or bore a small hole at each point marked; then replace it, nail a small block (U, Fig. 100) across the top end to hold it in place, and drive a nail, with its head filed off, into each of the holes.

When stick S is turned to the position shown in Fig. 97, while the car is going down, the first nail below the car will project beneath it and bring it to a stop; and if the stick is turned in the opposite direction while the elevator is going up, the [Pg 66] first nail above the car will project over the back edge of portion E and bring the car to a stop.

An Outdoor Elevator.

Fig. 104.—An Outdoor Elevator.

Two Levers operate the brakes (W, Figs. 97 and 100). Cut these of the shape shown in Fig. 103, and screw one to each side wall. Then tack a piece of cord to stick S, wrap the ends of the cord once around, slip them through screw-eyes V screwed into the side walls, and tie to tacks driven into levers W.

One series of brakes can now be set by pulling forward one lever, and the other series by pulling forward the other lever. By driving a nail into stick S at X (Fig. 100), and a nail into the bottom of [Pg 67] the shaft, each side of stick S, the levers will turn the stick just far enough in either direction to bring the brakes into operation.

Supports for Elevator Guides and Cables.

Fig. 105.—Supports for Elevator Guides and Cables.

If there is a kitchen porch to your house, construct

The Outdoor Elevator shown in Fig. 104 to run from the ground up to that porch. If you live in an upper story of an apartment building, your elevator can be made to run to a greater height, which, of course, will make more fun.

It will save considerable work to use the porch, because for one thing you will not have to build an upper platform to stand upon to reach the elevator car when it runs to the top, and for another thing the supports for the guides and cable can be fastened directly to one of the porch posts.

Figure 105 shows a large detail of

The Guide Supports. Cross strips A, B, and C should be [Pg 68] 18 or 20 inches long, about 2 inches wide, and 1 inch thick. At a distance of about 1 inch from one end of strips A and B screw a screw-eye into one edge, and 8 inches from those eyes screw a second screw-eye (D, Fig. 105). Screw-eyes with ½ inch eyes are large enough. A dozen will cost about 5 cents at the hardward store. The elevator guides are fastened to these.

Besides the screw-eyes there must be two clothes-line pulleys for the cable to run over. These cost 5 cents apiece. Screw one pulley into the edge of strip B, halfway between the two screw-eyes D (E, Fig. 105), the other into an edge of strip C at the same distance from the end that you have placed the pulley in strip B (F, Fig. 105).

Nail strip A to the porch post as close to the ground as you can get it, strip B to the same face of the same post, about 18 inches above the porch railing, and strip C to the opposite face of the post at the same height as strip B. Nail these strips securely in place.

If you cannot find a starch-box or other small box out of which to make

The Car, go to a grocery store. You will be sure to find just what you want there. It is not likely that the grocer will charge you anything for a small box like this. If you have placed screw-eyes D 8 inches apart, as directed, the width of the box should be a trifle less than this measurement, but if the box you pick up is wider the screw-eyes can be spaced as much farther apart as is necessary to accommodate it.

[Pg 69]

Elevator Car.

Fig. 106.—Elevator Car.

Figure 106 shows how the box is converted into the car. Screw two screw-eyes into each side of the box, one above the other, as shown at G, for the elevator guides to run through, screw another into the exact center of the top (H) to tie the hoisting cable to, and screw another into the exact center of the bottom to tie the lowering cable to. Nail a narrow strip across the open front of the car, at the bottom, to keep things from falling out.

Get heavy wrapping-twine or stovepipe wire for

The Guides. Attach these guides to screw-eyes D in strip B, first, drop them through screw-eyes G in the sides of the car, and then fasten to screw-eyes D in strip A.

Counter-balance.

Fig. 107.—Counter-balance.

The Counter-balance is a large can filled with earth, sand, or small stones. Its weight must be equal to about three times that of the empty car. Fasten the lifting cable through holes punched in opposite sides of the can (Fig. 107).

Use a strong wrapping-twine for

The Lifting Cable. After tying this to the counter-balance, run it over pulley F, then over pulley E, and tie to screw-eye H in the top of the car. The cable must be of the right length so when the counter-balance has dropped to the ground the car [Pg 70] will come just above the porch railing, as shown in Fig. 104. Tie

The Lowering Cable to the screw-eye screwed into the under side of the car.

As long as the weight of the car and its load remains less than half of that of the counter-balance, the counter-balance will drop and by so doing lift the car. The cable attached to the bottom must be pulled to lower the car.

Those of you boys who own a tree-hut, or intend to build one,[1] should erect an elevator similar to the one just described, for hoisting supplies to the hut.

FOOTNOTE

[1] Plans for building Tree-huts, and a Dumb-waiter for supplies, are given in Chapter XXV of "The Handy Boy."


[Pg 71]

CHAPTER VIII

HOME-MADE MECHANICAL TOYS

Those of you boys who have examined the little mechanical toys sold upon the street corners just before Christmas probably have been surprised to find how simply they are made, and perhaps it has never occurred to you that you might make toys equally as good for presents for your younger brothers, sisters, or cousins. Most of the smaller mechanical toys are not only easy to make, but they require materials which cost little and can usually be picked up at home. Sometimes it takes considerable thinking and planning to discover just the things which can be adapted to the various parts of toys; but that is where part of the fun of toy making comes in.

A Buzz-saw Whirligig is an interesting toy (Fig. 108). Lay out a disk about 5 inches in diameter upon a piece of cardboard, locate the position for the spool-end on the center of each face, and make four rings outside of this. Divide the circumference of the disk into sixteen equal parts, and lay off the teeth as shown. (Fig. 111.) The spool-ends used for centers should have two holes drilled through them for the twisting cord to slip through, and should be fastened to the disk with glue or brads.

[Pg 72]

A cotton string is best for

Detail of Buzz-saw Whirligig shown in Fig. 108.

Fig. 111.—Detail of Buzz-saw Whirligig shown in Fig. 108.

Operating the Whirligig. After slipping it through the holes in the spool-ends, tie the ends together. To work the toy, slip the first finger of each hand through the loop of each end, and whirl the disk in one direction until the string is twisted from both ends as far as the center. Then pull firmly on the ends of the string, and the disk will whirl in the opposite direction until the string is untwisted and twisted up again in the opposite direction. As the strings twist, slacken your hold upon the ends, and when it has wound up tight pull again to make it whirl in the opposite direction. The disk should whirl very steadily when working right, and the knack of making the string twist so the disk will do so is attained with a little practice.

The Clog-dancer (Fig. 109) is an easily made loose-jointed doll. His dancing-stage is a shingle or piece of stiff cardboard held on the edge of a chair beneath your knee. He is held by means of the string attached to his head, so that his feet rest lightly upon the stage, and he is made to jig by tapping the outer end of the stage with the free hand.


The Buzz-saw whizzes when you twist the Cord.

Fig. 108.The Buzz-saw whizzes when you twist the Cord.

The Eccentric Clog-dancer is a Circus in himself.

Fig. 109.The Eccentric Clog-dancer is a Circus in himself.

Pull the string and Jack jumps comically.

Fig. 110.Pull the string and Jack jumps comically.


[Pg 73]

With a little practice the figure can be made to go through the steps of the most eccentric clog-dancer.

Details of Body of the Clog-dancer shown in Fig. 109.

Fig. 112.—Details of Body of the Clog-dancer shown in Fig. 109.

The more grotesque the dancer's appearance is, the more amusing his dancing will be, so the cruder you make him the better. Figure 112 shows the working details for his construction. The center part of a thread-spool forms the head, and a spool-end and the rounded end of a broom-handle form the hat. These three pieces are nailed together. The body is a piece of a broom-handle, and a spool-end nailed to it forms the shoulders. Drive [Pg 74] a nail into the end of the body, tie a string to this, and run the string up through the hole in the head, and out through a hole in the hat; tie the string to a fancy-work ring.

Details of Body of the Jumping-Jack shown in Fig. 110.

Fig. 113.—Details of Body of the Jumping-Jack shown in Fig. 110.

The arms and legs are made of sticks whittled to the lengths marked in Fig. 112, and about ¼ inch in diameter, and are jointed by driving tacks into their ends and connecting these with heavy linen thread. Figure 112 shows how the feet and hands are cut, and how tacks are driven into them for the thread connections. Paint the clog-dancer's body, arms, and legs white, his head, hands, and feet black, and mark his eyes, nose, and mouth upon his face in white.

A Toy Jumping-Jack is always amusing, and Fig. 110 shows a simply constructed home-made model. You will see by Fig. 113 how the figure is made. The peaked _hat_ [Pg 75] is half a spool tapered down from the end to the center; and the head is the center from a darning-cotton spool, shaped down at one end for a neck, and with eyes, nose, and mouth cut in on one side. Figure 113 shows the diagrams for the front and back of the body, the arms, and the legs. These are cut out of cigar-box wood. Cut the neck stick A long enough to run through the head and hat, with a square block on the end to fit between the body pieces. The blocks B should be of the same thickness as block A. Bore the pivotal holes through the arms and legs in the positions shown, using a small gimlet or red-hot nail with which to do the boring, and tie a piece of heavy linen thread through each as shown. The arms and legs are pivoted on brads driven through the front of the body into the back.

When the body has been fastened together, bring the ends of the threads together, and tie to a small ring; also knot the threads close to the body to keep them together. In painting Jack, you might provide him with a red coat, blue trousers and a blue hat, white stockings, and black shoes.

A Cricket-rattle is about the liveliest form of rattle ever devised (Fig. 114). After constructing one for your sister or brother, you probably will decide to make one for yourself. For this rattle, first prepare a notched spool (A, Fig. 116). The notches in this need not be cut as perfectly as shown, but the notches in one end of the spool must be exactly opposite those in the other end. Whittle the handle B to the shape and size shown, cut the strips C out of cigar [Pg 76] box wood, and prepare the block D as shown. The groove in the edge of D is cut of just the right width to receive the end of the wooden strip E. The length of E is best determined after nailing the ends of strips C to D, and slipping the handle through the holes in strips C and spool A. It should extend from the groove in D into the notches in A. Make it as wide as the spool is high. Paint the rattle red or blue.

Details of the Noisy Cricket-rattle shown Fig. 114.

Fig. 116.—Details of the Noisy Cricket-rattle shown in Fig. 114.

The Turtle Toy which crawls along the floor when you alternately pull and slacken a thread that runs through its shell, has always been one of the most popular of mechanical toys, and you will be surprised to find how easily our home-made model shown in Fig. 115 is put together. The shell is a small tin mold such as is used for molding jellies. One about 4 inches long costs 10 cents. A mold having the form of a bunch of grapes is a pretty good form for the turtle shell, as you will see by the illustrations.


Whirling the Cricket-rattle makes it chirp.

Fig. 114.Whirling the Cricket-rattle makes it chirp.

The Crawling Turtle's shell Is a Jelly Mould.

Fig. 115.The Crawling Turtle's shell Is a Jelly Mould.


[Pg 77]

How Head, Feet, and Tail are Attached to a Jelly Mould to Make
the Turtle shown in Fig. 115.

Fig. 117.—How Head, Feet, and Tail are Attached to a Jelly Mould to Make the Turtle shown in Fig. 115.
Fig. 118.—The Spool Wheels and the Rubber-bands which Propel them

The head, the tail, and the four feet are cut out of tin from a can, and bent into the forms shown in Fig. 117. Then slits are cut through the narrow rim of the mold by piercing the tin with the point of a nail at the proper places for attaching them, as shown in the small detail drawing, and the tab ends are pushed through the slits, bent over, and clinched with a pair of pincers.

A thread spool 1¼ inches long forms the wheels on which the turtle runs, and two rubber-bands 1½ inches long propel it. Cut a piece of a lead pencil a trifle longer then the spool, split it into halves, remove the lead, and insert the rubber bands in the groove; then slip the piece of pencil [Pg 78] into the hole in the spool (Fig. 118). The rubber-band ends must project an equal distance beyond the spool-ends. Before fastening the spool to the tin mold shell, tie the end of a piece of heavy linen thread to its center, and then wind about twenty turns about it. Pierce a hole through each side of the mold a trifle in front of the center, and after slipping pieces of string through the ends of the rubber-bands (Fig. 118), tie them through the holes pierced through the sides of the mold. Pierce a hole through the shell, directly over the center of the spool, slip the free end of the thread wound on the spool through this hole, and tie it to a fancy-work ring (Fig. 117).

To Make the Turtle Crawl, place it upon the floor, pull on the ring, and as the thread unwinds from the spool the rubber-bands will twist; then slacken the thread, and the turtle will crawl along the floor. As the rubber-bands untwist, the thread will wind up on the spool again. Continue pulling and slackening the thread alternately, and the turtle will continue to crawl.


[Pg 79]

CHAPTER IX

HOME-MADE TOPS

There are many styles of tops, probably more than you ever dreamed of, and it will surprise you to hear that the owners of some of the most curious forms are bearded men who take as much delight as any girl or boy in spinning them. A few years ago on Murray Island, which is way down among the South Sea Islands, top spinning took such a strong hold upon the attention of the natives that they neglected their work, and families often were without food, boys and girls having to go to school hungry. Matters became so serious, in fact, as a result of this fad for top spinning, that, finally, the head chieftain was compelled to restrict it to certain days. There are many experts among these South Sea Islanders. The men sing songs while their tops spin, cheer them on, and take the greatest precautions to shelter them from wind. An eye witness of a contest reported that the winning top spun 27 minutes, which you must admit is a pretty long time.

Whip-tops and peg-tops of several varieties can be purchased at the corner candy store, but the kinds I am going to show you how to make cannot be bought anywhere.

[Pg 80]

Whirling the Cricket-rattle makes it chirp.

Figs. 119 and 120.—Clock Wheel Tops.
Fig. 121.—Upholstering Tack Top.
Fig. 122.—How to Hold Upholstering Tack for Spinning.
Figs. 123 and 124.—Details of Spool Top.

Clock Wheel Tops. A splendid spinner can be made of the little balance-wheel of a broken clock (Fig. 119). This little wheel is so accurately made that it will spin very steadily from a minute and one-half to two minutes. As the ends of this wheel's axle are pointed, the top will stand in one spot as long as it spins.

The toothed wheel shown in Fig. 120, or any of the other forms of wheels from a clockwork will make good spinners, yet, unless you file their pivot ends to points, they will not spin in one spot but will glide and hop over the table in spirals. The friction thus produced decreases the length of time that they will spin, but makes them none the less [Pg 81] interesting as tops. Great fun may be had spinning these wheel tops around the balance-wheel top, while the latter is spinning. Figure 129 shows how to hold a clock wheel between the thumb and first finger, for spinning. Start it with a snapping movement of the fingers.

A Shoe-polish Can Top.

Fig. 125.—A Shoe-polish Can Top.

A Rug-Tack Top. A rug tack or large upholstering tack is another good spinner. While the clockwork wheels are spun by twirling them by means of the upper end of the pivots, the tack top is spun by holding the spinning point between the thumb and first finger, as shown in Fig. 122, then giving it a quick twirl and dropping it upon a table. The tack top is an eccentric spinner. First it hops about in a very lively fashion; then, when you think it is about ready to topple over, it regains its balance and for some seconds spins quite as steadily as the clockwork balance-wheel top. The tack top can be spun upon its head as well as upon its point.

A Spool Top. The top in Fig. 123 is made from a half of a spool and a short piece of lead-pencil. Saw a spool into halves, and then taper one half from its beveled end to the center. Sharpen the piece of pencil to a point, and push it through the spool until its point projects just a trifle. Spin the spool top in the same way as the clock wheel tops.

[Pg 82]

A Spinning Top Race-track. By drawing a track upon a piece of cardboard, as shown in Fig. 129, with an opening on the inside, great fun may be had by starting any one of the small tops just described, with the exception of the balance-wheel top, in the center of the space inside of the track, and tilting the cardboard so as to cause the top to spin through the opening on to the track, and around the track. There is a trick in keeping the top from running off the track that can be acquired only with practice.

A Shoe-polish Can Top (Fig. 125). This is a sure-enough good looking top, and it spins as well as it looks. It is made of a pencil, a cone-shaped piece cut from a spool, similar to the top shown in Fig. 123, and an empty shoe-polish can.

Details of Shoe-polish Can Top.

Figs. 126-128.—Details of Shoe-polish Can Top.

The dotted line in Fig. 126 indicates how the end of the pencil sticks through a hole in the shoe-polish can, then [Pg 83] through the cone-shaped piece of spool. The hole through the can must be located in the exact center, so the top will balance properly. To find the center, place the box bottom down upon a piece of paper, and with a pencil draw a line around it. Cut the paper along the center, and you will have a piece the shape and size of the can bottom. Fold the piece in half, then in half again the other way (Fig. 127), open it up, and the intersection of the two folds, indicated by dotted lines in Fig. 128, will be the exact center. With the center located, place the piece of paper first upon the bottom, then upon the top of the can, and punch a hole through the center of it and the can, with the point of a large nail. Increase the size of the hole enough to admit the pencil.

A Spinning Top Race-track.

Fig. 129.—A Spinning Top Race-track.

Spin this top in the manner shown in Fig. 125. Hold the upper part of the pencil between your hands, with the palms together, and slide your hands back and forth, first [Pg 84] slowly, then rapidly. Release it so as to cause it to drop squarely upon its point upon a level wooden surface. The steadiness of this top's spinning will depend entirely upon the accuracy with which you cut the center hole for the pencil.

A Spiral Top.

Fig. 130.—A Spiral Top.

A Spiral Top. The top in Fig. 130 presents a curious appearance while spinning, the spiral design upon it seeming to change its form as the top revolves.

Diagram of Spiral for Spiral Top.

Fig. 131.—Diagram of Spiral for Spiral Top.

The only difference between the construction of this top and the shoe-polish can top is in the substitution of the spiral disk for the polish can. A pencil and cone-shaped piece of spool are required as in the case of the other top.

The spiral design for the disk, shown in Fig. 131, is large enough so you can make a tracing of it on a piece of transparent paper, and then trace it off upon a piece of cardboard. Fill [Pg 85] in alternate rings with black ink or water-color, in the way shown, then cut out the disk, pierce a hole through its exact center to fit over the pencil end, and glue the under side to the top of the cone-shaped piece of spool. Spin this top in the same way as the shoe-polish can top is spun (Fig. 125).

A Merry-go-round Top.

Fig. 132.—A Merry-go-round Top.

A Merry-go-round Top (Fig. 132) is a new idea easily carried out. You will require a cardboard disk 12 inches in diameter, three spools, a pencil, and some light-weight cardboard.

Fig. 133 shows the details for this top. If you haven't a compass, use a large-sized dinner plate with which to draw the circumference of the disk (A). Then cut a conical-shaped piece of spool (B), stick the lead-pencil through it for a spinning point (C), punch a hole through the disk to fit over the pencil, and tack the disk to B. Cut [Pg 86] off a third of the length of a ribbon spool for E, and fasten another spool (D) to the top of the pencil. Spool D should be glued fast to the pencil, and the spool-end E should turn loosely upon it. Coat the lower part of the pencil with glue so it will stick fast in B.

Detail of Merry-go-round Top.

Fig. 133.—Detail of Merry-go-round Top.

How the Top Spins. When you have made this much of the top, spin it to see how it works. Wrap the spinning cord—a strong lightweight wrapping-twine—about spool D, in the same manner that you wind the cord on any top; then, holding spool end E with the left hand (Fig. 132), pull steadily upon the cord with the right hand until all is unwound, and gently drop the top upon its spinning point. To get the best results, the cardboard used for the disk platform must be very straight. If it warps, flatten it by pressing it under a pile of books.

How Horses are Mounted upon Top Platform.

Fig. 134.—How Horses are Mounted upon Top Platform.

Horses and Riders for the merry-go-round [Pg 87] may be prepared like those of the clockwork merry-go-round in Chapter X (Figs. 143, 146, and 147). Figure 134 shows how two burnt matches or toothpicks are lashed to the legs of the horses for supports, and Fig. 133 shows how holes are pierced through the disk platform to stick them in.

A Flag mounted upon spool D will make the merry-go-round top complete.


[Pg 88]

CHAPTER X

HOME-MADE CLOCKWORK TOYS

The toys shown opposite page 90 are a few of the many mechanical toys which can be operated by clockwork, and they are easy to make, too, requiring no more mechanical ability than is possessed by the average boy old enough to handle the simplest of tools.

Generally it is easy to find an old clock somewhere about the house, and a clock which has been discarded simply because it has become worthless as a timekeeper is perfectly good for operating these toys, provided the mainspring is in working order. It is not necessary to have a set of works for each toy, for they are so quickly fastened in place that but a minute is required to transfer the works from one toy to another.

Before commencing work upon the toys, get together

The Other Necessary Materials. These will consist of cigar boxes, cardboard, cotton or silk spools, glue, brads, and a few pieces from the woodpile, with one or two additional articles which are mentioned later on. Brads 5/8 inch and 1 inch in length should be purchased for fastening the framework of the toys together, and the cigar boxes should be about 8 inches by 4 inches by 2 inches [Pg 89] in size. Remove the paper from the boxes as described on page 175.

How the Clockwork Motor is Fastened to the Cigar-box Cover.

Fig. 139.—How the Clockwork Motor is Fastened to the Cigar-box Cover.
(This Box has been cut down to the Proper Length for the Ferris Wheel.)

To Prepare the Clockwork for use, remove it from its case, detach the hands and face, and pry off the small wheel pivoted directly under the hands; this wheel is shown at A in Fig. 139. Remove also the balance-wheel B (Fig. 139) and the lever C pivoted next to it, to increase the speed of the remaining wheels.

Fasten the clockwork motor for

The Merry-go-round shown in Fig. 135 to the cover of a cigar box, as illustrated in Figs. 136 and 139, boring [Pg 90] holes through the cover with a gimlet for the pivot ends on the back of the works to set into. Remove the lower flange from a spool (D, Fig. 139) and fasten the spool on to the central pivot of the clockwork in the position formerly occupied by wheel A. The hole in the spool will be too large for the pivot and must be filled up with sealing-wax. To do this, hold a piece of sealing-wax above the spool and melt it with a lighted match, allowing it to drip into the hole until the latter is about half full, then press the wax down with the end of a match until it is compact, smooth it off on the bottom of the spool, and make a dent in it with a pencil to indicate the exact center of the hole. Heat the end of the pivot with a lighted match, and press it into the dent in the wax, being careful in doing so to get the spool straight upon the pivot. Cut a hole through the bottom of the cigar box belonging to the cover to which you have attached the works, for spool D to project through (Fig. 139).

To Make the Standard for the merry-go-round, cut four strips of wood 8 inches long, and fasten one to each corner of the cigar box, turning the bottom side of the box up; then cut a piece of ½-inch board 10 inches square, locate its center F by drawing diagonal lines from corner to corner as shown in Fig. 140, bore a 1-inch hole through it at this point for spool D (Fig. 136), and then nail the box to the center of the board as shown in Fig. 140.

The Tent should be laid out upon heavy white paper as shown in Fig. 141. After describing a circle with a radius of 9 inches, describe another circle within it with a radius of 7½ inches, this inner circle (shown by dotted lines in the diagram) being drawn for a guide in fastening the tent upon its tent-poles.


A Merry-go-round.

Fig. 135.—A Merry-go-round.

A Ferris Wheel.

Fig. 137.—A Ferris Wheel.

A Clockwork Motor.

Fig. 136.—A Clockwork Motor.

A Ferris Wheel.

Fig. 138.—The "Flying Airships.


[Pg 91]
Plan of Top of Standard for Merry-go-round.

Fig. 140.—Plan of Top of Standard for Merry-go-round.

Pattern for Tent of Merry-go-round.

Fig. 141.—Pattern for Tent of Merry-go-round.

The Tent ready to be Fastened upon a Tent-pole.

Fig. 142.—The Tent ready to be Fastened upon a Tent-pole.

Cut out the tent along the outer circle, and from it cut a triangular piece about the size of that included between lines KL and ML in the diagram. Cover the under edge of KL and the upper edge of ML with glue, lap KL over to about NL, and rub down the edges with a cloth to make as neat a joint between the pieces as possible (Fig. 142). Bore a hole through each corner of the standard top (G, H, I, and J, Fig. 140), then cut four sticks 7 inches long, sandpaper them until smooth, and glue them into these holes for

[Pg 92]

The Tent-poles. When the tent has dried, tack it to the ends of the poles, being careful to make it set evenly upon them; cut a scalloped border out of red or blue paper and paste it to the edge all around as shown in Fig. 135, and stick a small flag in the peak.

Full-size Pattern for the Horses of the Merry-go-round.

Fig. 143.—Full-size Pattern for the Horses of the Merry-go-round.

The Horses. A full-size pattern for these is shown in Fig. 143. Take a piece of tracing-paper or any thin transparent paper, and place it over the pattern and make an exact copy; then rub a soft lead-pencil over the other side of the paper, turn the paper over with the blackened side down, and transfer the drawing six times upon a piece of lightweight cardboard. Paint the horses with water-colors, [Pg 93] using the pattern as a guide for shading and marking them, then cut them out with a sharp knife or a pair of scissors.

Figure 144 shows the pattern for

The Sleighs. Draw this out upon a piece of cardboard, cut it out and fold along the dotted lines, then turn in the flaps and glue them to the dashboard and to the back. Cut two seats by the pattern given, bend down the flaps and glue them to the sides of the sleigh, and make the back for the front seat like that on the back seat (Fig. 145). Then make another sleigh similar to the one just completed, for two are required for the merry-go-round. Paint the sleighs green or yellow with trimmings of a lighter shade.

Pattern for the Merry-go-round Sleighs.

Fig. 144.—Pattern for the Merry-go-round Sleighs.

Figure 136 shows

The Shafts upon which the horses and sleighs are mounted. Cut them 5½ inches long, whittle them round, [Pg 94] and rub them down with sandpaper. The shafts are fastened in a spool hub which has five holes bored in it (E, Fig. 136); bore the holes with a gimlet or small drill, marking them off first with a pencil to be sure of getting them spaced at equal distances. Point the ends of the shafts and glue them into the holes in the hub, then connect this spool to spool D with a piece of a lead-pencil 2 inches long (Fig. 1366).

A Completed Sleigh showing Attachment to Shaft.

Fig. 145.—A Completed Sleigh showing Attachment to Shaft.

To fasten the horses to the shafts, punch a hole through three of them at X (Fig. 143) and slip each one over a shaft, then tack the other three horses to the ends of these shafts at the point X. To fasten the sleighs to the remaining shafts, glue one end of a piece of paper to the back of the front seat and the other end around the shaft (Fig. 145).

The Girl Riders for the sleighs are shown full size in Fig. 146, and

The Boy Riders for the horses are shown full size in Fig. 147. Make tracings from the patterns as you made that of the horse and prepare four girls and six boys. Paint their clothes in bright colors. Cut a second leg for each boy rider, so he can be made to sit astride of his horse, and glue the leg to his hip as shown in Fig. 148. Cut a slit in each seat of the sleigh and stick the flaps on the girl riders in them.

[Pg 95]

How the Second Leg of the Boy is Attached.

Fig. 148.—How the Second Leg of the Boy is Attached.

Full-size Pattern for the Girl Riders.

Fig. 146.—Full-size Pattern for the Girl Riders.

Full-size Pattern for the Boy Riders.

Fig. 147.—Full-size Pattern for the Boy Riders.

For the Platform shown directly under the horses and sleighs in Fig. 135, cut a piece of cardboard 11 inches in diameter; if you choose to make the Ferris wheel before the merry-go-round, you may use the center pieces removed in cutting out the rims, as noted in Fig. 153. Punch a hole through the center of this disk large enough for the peg connecting spools D and E to slip through. This platform rests upon the top of spool D and revolves with it.

To Operate the Merry-go-round. The key by which the mainspring is wound up is shown screwed in place on the under side of the cigar-box cover in Fig. 139. While winding the mainspring, it will be necessary to have some [Pg 96] means of checking it so it will not unwind at the same time, and the best scheme for a check is to bore a small gimlet hole through the cover of the cigar box and stick a match through this and run it between the spokes of one of the clock wheels so as to prevent it from turning. Then when you have wound up the spring and are ready to start the merry-go-round, all you have to do is to pull out the match.

The model of this toy which the author has before him runs for five minutes with one winding, and any boy can make one which will run as well if he follows the directions given and uses a reasonable amount of carefulness in the work.

Other Animals than horses may be used if you wish to follow the arrangement of some of the latest merry-go-rounds, and pictures of these may be found among the colored cut-outs sold in the stationery stores, or if you can draw well, you may copy them from books and magazines. Great fun may be had by changing the positions of the boy riders, making them ride backward part of the time and sometimes two and three boys on a horse.

Doubtless you have heard of the famous Ferris wheel, and a good many of you have ridden in the smaller wheels patterned after it, at the amusement parks, so you will be interested in making

A Miniature Ferris Wheel like the one shown in Fig. 137.

The Standard for supporting the wheel (Fig. 149) [Pg 97] consists of two triangular supports, one with a spool hub fastened to its top for the axle of the wheel to run through and the other with the cigar box inclosing the clockwork fastened to it. Figures 150, 151, and 152 show the construction of these supports. Cut strips P and Q 12 inches long and R 10 inches long, and trim off the upper ends of P and Q so when they are nailed together the lower ends will be 8 inches apart; nail strip R to the lower ends of P and Q (Fig. 150). To fasten the spool hub to its support, smear one side of a piece of tape with glue and wind it several times around the spool (Fig. 151), then set the spool on top of the support and press the ends of the tape against the sides of strips P and Q (Fig. 152).

Standard for the Ferris Wheel.

Fig. 149.—Standard for the Ferris Wheel.

The Clockwork Motor for the Ferris wheel is fastened to the cover of a cigar box just as that for the merry-go-round was fastened (Fig. 139), but the length of the box is cut down as much as the clockwork will allow to make the box as square and compact as possible.

It is very necessary to have the axle bearings exactly on a line in order to have the wheel run smoothly, so, in fastening the cigar box to its support, be sure that the center [Pg 98] of the hole in spool D (Fig. 139) is on a level with the spool hub on the opposite support. Nail the supports to a 10-inch by 12-inch board, 8 inches apart, and fasten a cigar box between them for

The Station Platform (Fig. 149).

Ferris Wheel Standard.

Fig. 150.—Make Two Supports like this for the Ferris Wheel Standard.
Figs. 151 and 152.—How a Spool is Fastened to the Top of the Support for a Hub.

To Make the Wheel, first lay out the rims upon a piece of heavy cardboard, using the radii shown in Fig. 153 for describing the circles, then lay the sheet of cardboard upon a board and

Cut out the Rims with a sharp knife, being careful not to run off of the pencil line. The

Hubs of the wheel are spools with six holes bored in them for the spokes to fit in (Fig. 156). Cut six

Spokes 5¾ inches long by 1/8 inch thick for each hub, and cut a slot in one end of each for the cardboard rims to fit in (Figs. 154 and 157). Use a saw rather than a knife in making the slots, for it will make a kerf of just the right width to receive the cardboard and will not be so apt to split the ends of the slender spokes. Whittle the hub ends of the spokes to fit the holes in the spool hubs (Figs. 154 and 157). In

Putting together the Spokes, Hubs, and Rims of the wheel, first stick three spokes in a hub and slip a rim into the slots in their ends, then stick the remaining spokes into the hub, one at a time, and spread the rim enough so it can be slipped into their slots (Fig. 155).

[Pg 99]

Ferris Wheel.

Fig. 153.—How to Lay out the Cardboard Rims of the Ferris Wheel.
Fig. 154.—The Spokes Fitted into the Spool Hub.
Fig. 155.—The Rim Slipped into the End of the Spokes.

Ferris Wheel.

Fig. 156.—A Spool Hub for the Wheel.
Fig. 157.—How the Spokes, Rims, and Axles are Fastened Together.

When the hubs, rims, and spokes have been assembled, lay them aside and get some heavy wrapping-paper or thin cardboard out of which

To Make the Cars. The pattern for the cars is shown in Fig. 158, and on it you will find all the dimensions necessary for laying it out to the proper size. It will be understood that the unfigured portions of the drawing [Pg 100] are the same as those with dimensions marked upon them. The dotted lines at the door and window openings indicate where the cutting is to be done, while all other dotted lines indicate where the cardboard is to be scored and folded.

Pattern for the Ferris Wheel Cars.

Fig. 158.—Pattern for the Ferris Wheel Cars.

Use a ruler in making the drawing of the car to get the lines straight, and when you have finished it go over it carefully and compare it with the illustration to be sure [Pg 101] it is correct, after which make a careful tracing of it, turn it over and transfer the drawing five times upon cardboard. These and your original drawing will give you the required number of cars. Cut out the openings with a sharp knife and then do the rest of the cutting with a pair of scissors; punch a ¼-inch hole in each end of each car with a lead-pencil (Fig. 158), being careful to get the holes exactly opposite. In folding and gluing the cars, slip the flaps inside and bend the roofs so they will follow the curve of the ends (Fig. 159).

A Completed Car for the Ferris Wheel.

Fig. 159.—A Completed Car for the Ferris Wheel.

When the cars have been completed, cut six sticks 5 inches long, whittle them down until they are about 3/16 inch in diameter, and sandpaper them until they are perfectly round and smooth. These sticks connect the rims of the wheel and form

The Axles from which the cars are hung (Fig. 159). Great care must be used in fastening them between the rims, for they are easily split, and the best way to do is to start a hole first in the ends of each axle with an awl or by driving a brad part way in and then withdrawing it; then drive a brad through each spoke of one rim into an axle (Fig. 157); slip the other ends of the axles through the holes in the ends of the cars (Fig. 159), and nail the spokes of the other rim to them.

[Pg 102]

To Mount the Wheel upon its standard, whittle an axle 8½ inches long to fit the hubs, then hold the wheel between the two uprights, with the hubs on a line with the spool bearings and run the axle through the holes (Fig. 137).

Build Steps at each end of the platform out of heavy writing-paper or light cardboard. Fold the paper or cardboard back and forth, making pleats about ¼ inch wide for the steps, and after gluing it in place cut out the balustrades and glue them to the edges of the steps. Make the top step low enough so there will be about ¼-inch clearance between it and the bottom of the cars (Fig. 137).

After you have made a final inspection to see that everything has been put together properly, your toy will be ready for operation, and I am sure that when you set the clockwork machinery in motion, and the little wheel begins to revolve slowly with each little car balancing upon its axle, you will agree that you have constructed a very interesting toy.

The "Flying Airships" is a riding device consisting of a number of cars suspended by steel cables from large arms pivoted to the top of a tower. When the machinery is started, the arms begin to revolve slowly, and the motion produced causes the cars to swing out away from the center. As the speed of the arms increases, the cars swing out farther and farther, until when the highest speed has been reached the cables by which the cars are suspended have taken an oblique position and raised the cars some distance above the ground; then the speed of [Pg 103] the engine is gradually diminished, and the cars finally regain their former position. This piece of apparatus is also known as an aerostat.

You will find the miniature flying airships (Fig. 138) easy to construct after making a merry-go-round or Ferris wheel, as many of its details are identical with those of the other toys.

The Standard for the toy is made similar to the one for the merry-go-round (Fig. 135), except that the top board is omitted and a circular piece of cardboard of the size of the disks removed in cutting out the rims of the Ferris wheel is substituted in its place. Cut a hole through the exact center of the piece large enough so it will fit over spool D (Fig. 136).

Cut a Mast about 14 inches long and of the diameter of the hole in the spool and stick it into spool D; then 3 inches below the top of the mast fasten a spool with four horizontal arms 6 inches long glued into holes bored in it. Fasten a crosspiece 4½ inches long to the end of each arm with brads, and from these suspend

Cars made similar to those of the Ferris wheel, with cords. Set a small flag in a hole bored in the top of the mast and then run cords from the top of the mast out to the ends of the arm pieces.

With this toy the cars cannot be swung out obliquely as on the large flying airships except by

Increasing the Speed of the Clockwork. This can be accomplished by removing one or two of the wheels of [Pg 104] the clockwork, but it is not advisable to take out more than one wheel in addition to those removed for the merry-go-round (Fig. 139) because the mainspring would require rewinding too often to make the toy enjoyable.

An Electric Motor can be belted to these toys as a substitute for the clockwork, if you own one and prefer to try it out.

The clockwork toys just described were invented by the author for his book "Handicraft for Handy Boys," and were the first designs, he believes, devised for home-made mechanical toys of this nature. No doubt you have noticed that manufacturers of the so-called "construction sets"—steel and wood strips supplied with bolts and screws for assembling—have used these very same forms of models to show what can be made with their outfits. But your Ferris wheel, merry-go-round, and aerostat, built as described in this chapter, with materials picked up at home, will be the equal of any that can be built, and you will have the satisfaction of knowing that you haven't required an expensive "construction set" for making them.

All sorts of toy vehicles can be operated by clockwork. Figure 160 shows

An Automobile, and Fig. 161 shows how the clockwork motor is mounted upon the chassis and belted to the driving wheel. The same scheme that was used for the cars of the toy railway described in Chapter VI will be followed in making

The Frame of the automobile, as that is about the simplest way, and makes a light, easy-running vehicle.


The Car Completed.

Fig. 160.—The Car Completed.

The Framework.

Fig. 161.—The Framework.


[Pg 105]
Top View of Wooden Frame.

Fig. 162.—Top View of Wooden Frame.

The bed will be cut of a different pattern, however, as will be seen in Fig. 162. Lay out the piece to the dimensions shown upon this drawing, and then cut it out, making a mortise in each end for the wheels to fit in. The spool wheels should be mounted in the same manner as those of the railway cars, for which see Fig. 80, Chapter VI, and the directions upon page 51. One end of spool A should be pivoted with a longer finishing nail than those used for the other pivots, so that when driven in place about half an inch will project beyond the frame. A small silk spool should be fastened upon this for a belt-wheel (see B, Fig. 162). The hole in one of these spools is about three-sixteenths of an inch in diameter, so, in order to make it fit tightly upon the nail, it is necessary to fill in around the nail with sealing-wax. To do this, turn the wooden frame upon its edge and place the spool over the nail, being careful to get the nail in the exact center of the hole. Then hold a stick of sealing-wax over the spool, and with a lighted match melt the end and allow it to drip into the [Pg 106] hole. When the hole has been partially filled, allow the wax to harden a little, and then press it down around the nail with the end of a match, being careful not to throw the spool out of center by doing so. The hole should then be filled to the top.

We are now ready to prepare the clockwork for mounting upon the wooden frame. The works shown in Fig. 161 are from an alarm clock, but if you have a striking clock, or one with works a little different from those shown in the illustration, it does not make a bit of difference in the scheme for attaching the works. The three parts shown in the foreground of Fig. 161 must first be removed from the works. These will be recognized readily in any clock, as they are pivoted close together, and regulate the speed of the other wheels. When they have been removed, the mainspring will unwind rapidly. The frame of the works shown in the illustration is held together with nuts, so that in removing the wheels it was necessary to unscrew two of them, spring the frame open enough to let the wheels drop out, and then replace the nuts again in their former positions. If the frame of your clockwork is riveted together, the wheels will have to be broken out. A small silk spool, such as B (Fig. 162), should be fastened upon the small pivot which originally operated the clock's hands, for a belt-wheel. Lay the works upon a table with the face-side down, and, after centering the hole of the spool upon the pivot, fasten it in place with sealing-wax in the same manner as you attached spool B (Fig. 161).

[Pg 107]

The works should now be attached to the wooden frame. Place them with the striker uppermost, near the edge of the frame, so that the small belt-wheels are in line with one another. Then bore a number of gimlet holes in the wooden frame and run copper wire through them, passing it around the posts of the clock-frame and twisting its ends until the works are firmly fastened in place.

A rubber band about an eighth of an inch wide and long enough to reach from one belt-wheel to the other should be procured for

The Belt. This should stretch just enough to cling upon the spools, as more than that would cause too much friction.

Before going any further with the construction of the automobile

Test the Machine, to be sure that it is in perfect running order. Wind up the mainspring, pressing a finger against one of the wheels to hold it in check until you are ready to start the machine. When properly made, the clockwork automobile should run a distance of from twenty to twenty-five feet upon a wooden floor, while about three-quarters of that distance should be covered upon a floor with a fairly smooth carpet.

The Cardboard Sides and other details of the automobile should now be made. The patterns for these have been so shown in Figs. 163 to 170 that they can easily be laid out to the proper shape and size by means of the process [Pg 108] of enlarging by squares described on page 175, Chapter XVII. White cardboard should be used upon which to draw these pieces, and the thinner it is the easier you will find it to work with.

Patterns for the Automobile Touring-car.

Figs. 163-170.—Patterns for the Automobile Touring-car.

[Pg 109]
Chauffeur.

Fig. 171.—Chauffeur.

Cardboard Side of Automobile.

Fig. 172.—Cardboard Side of Automobile.

First prepare the two sides, cutting them out by the pattern of Fig. 163. Then glue the bottom edge of each side to the edge of the wooden frame, cutting holes in the left side for the belt-wheels and projecting posts to run through (see Fig. 160 and A, B, C, D, and E, Fig. 172). The top to the front of the car should now be cut as shown in Fig. 173, the distance between the sides being measured to get the piece of proper dimensions. Bend the edges as in Fig. 173, and glue them to the inner surfaces of the side pieces as shown by the dotted lines in Fig. 172. In the same way cut and glue a piece of cardboard between the side pieces at G and H [Pg 110] (Fig. 172) for the seat-backs. The bent edges of these pieces are shown by dotted lines in the illustration. Draw four

Wheels as shown in Fig. 164, using a compass with which to describe the circles, and cut them out with a sharp knife. You can cut out between the spokes, if you wish, or leave them solid. Glue the wheels to the cardboard, placing their centers about as located at I and J, Fig. 172. Four

Mud-Guards should be cut like Fig. 165, with flaps made along one edge. Then bend these guards around the tops of the wheels, and, after applying glue to the flaps, press them against the cardboard side, holding your fingers upon the flaps until the glue has dried (see Fig. 160). The guards should be placed a little above the tops of the wheels. Cut four

Lamps like Fig. 166 and glue end K of two upon the front of the automobile at L (Fig. 172) and one of the other two upon each side at M. These lamps are shown in position in the illustration of the completed automobile (Fig. 160). Draw and cut

The Hood.

Fig. 173.—The Hood.

The Steering-wheel similar to Fig. 167, and, after pivoting it to the end of a strip of cardboard with a pin as shown in Fig. 174, bend the lower end and glue it to the under side [Pg 111] of the cardboard top F at N (see Fig. 172, also Fig. 160). Make a

Horn like Fig. 168 and glue it to the steering-wheel as shown in Fig. 174. A strip of cardboard about the size of that used for the upright of the steering-wheel should be cut for

The Brake, and glued to the inside surface of the right side of the car at O (Fig. 172).

The Chauffeur should now be made. Cut his head and body the shape and size of Fig. 169, drawing the face upon each side with goggles over the eyes. Cut the arms in two pieces the shape of P and Q (Fig. 170), and then pivot P to Q at R and the end of Q to the shoulder of the body at S, using thread for fastening the pieces together. Paint the hat, coat, sleeves, and gloves a leather color, and the face flesh color. The body should then be fastened to the hammer of the clockworks with sealing-wax, as shown in Fig. 171, while the left hand should be glued to the edge of the steering-wheel and the right to the end of the brake (see Fig. 160). By thus attaching the body to the end of the hammer, and winding up the small spring, the chauffeur will shake violently when the auto runs across the floor, showing the vibrations of the machine in a greatly exaggerated and amusing manner.

The Steering-wheel.

Fig. 174.—The Steering-wheel.

It is now only necessary to

[Pg 112]

Paint the Machine to complete it. The photograph (Fig. 160) shows where different colors are needed. The lamps, top, ends, and sides of the front portion of the car should be painted the color of brass, and the rest of the sides, with the exception of a strip along the bottom and the edge of the arms, should be painted vermilion. Paint the inside of the car and the edges of the seat-arms tan color, to represent leather upholstering. With black paint, or ink, stripe off the door and trimmings upon the sides and top of the machine, as shown in Figs. 160, 172, and 173. Blacken the brake and steering-wheel and the spokes and rims of the wheels. Along the bottom of each side glue a strip of cardboard for the running-boards.

When you have tired of your touring-car, you can easily convert it into

An Automobile Delivery Wagon, such as illustrated in Fig. 175. To make this you will require the same frame as that used for the touring-car, with the clockworks and belt-wheels attached in the same manner. If you have made the touring-car, remove the cardboard sides from its wooden frame, separating the cardboard from the wood carefully so you can put the machine together again when you wish. If you haven't made this automobile, you will find the details for the construction of the frame in Figs. 161 and 162, and the manner of performing the work described on pages 104 to 107.

[Pg 113]
An Automobile Delivery Wagon.

Fig. 175.—An Automobile Delivery Wagon.

The Cardboard Sides are much easier to prepare than those for the touring-car, as they are straight and require but little cutting. The outline for these is shown in Fig. 175, surrounding the drawing of the completed wagon. Lay out one side upon a piece of cardboard, using the dimensions given upon the drawing, and then place it upon a board and cut it out with your knife. Using this as a pattern, place it upon another piece of cardboard and run a pencil around its edges, thus marking out the second side. In cutting out the latter piece, run your knife a little inside of the line in order to allow for the increase in size caused by marking it out with the first cardboard side. Having prepared the two sides, draw panels upon them in some such form as shown in the illustration, separating [Pg 114] them with three lines. Draw a small window, with its top slightly arched, near the front edge of each side, and cut an opening for it (see illustration).

Glue the sides to the edges of the truck in the same manner as those of the touring-car were done, piercing holes for the posts of the clockwork to fit in, and openings for the belt-wheels to project through, in the left side. Cut a piece of cardboard for the back of the wagon, fit it between the sides, and fasten it in place by gluing a number of linen strips to it and the sides upon the inner or unexposed surfaces. Then cut a piece of cardboard for the roof, making it about two inches longer than the sides, to give it the proper projection over the front of the wagon. Fasten this piece in position in the same manner as you fastened the back of the wagon.

Make the floor and footboard for the wagon out of a piece of cardboard bent as shown in Fig. 175, and fasten it across the top edges of the projecting portions of the sides with linen strips. Cut a strip for a seat, and fit it between the sides an inch and one-half above the floor.

The Wheels of an automobile wagon contain fourteen spokes, but as you have the pattern for the touring-car wheels of twelve spokes, you can just as well use it in making the wagon wheels. They should be mounted upon the sides of the wagon, a trifle above the bottoms of the spool wheels, as shown in the illustration, so they will not touch the carpet when the machine is operated.

All Other Portions of the wagon should be made of the [Pg 115] same patterns given for the touring-car, viz. the chauffeur (Figs. 169 and 170), the steering-wheel (Figs. 167 and 174), the brake (Fig. 160), and the lamps (Fig. 166). As the legs of the chauffeur will show, it will be necessary to cut a pair out of cardboard (the drawing shows the shape clearly enough to work by) and fasten them to his body. Fasten the chauffeur upon the seat and glue his left hand to the steering-wheel, placing the latter in front of him, as shown in the drawing. Stick the lower end of the cardboard upright of the steering-wheel upon a pin run through the wagon floor from the under side. Glue the upper end of the brake to the chauffeur's hand and the lower end to the side of the wagon.

Paint the Wagon with water colors, making the sides, end, and roof olive green, the steering-wheel, brake, and spokes of wheels black, and the lamps yellow or the color of brass. In painting the sides show the battery compartments upon them below what would properly be the bottom of the wagon (see illustration). Leave the cardboard white below this box, as it represents no portion of the machine, but is necessarily brought down so far to conceal the wooden frame. It will give the machine a more finished appearance if, after painting, you go over it with black paint and a fine brush and stripe the panels upon the sides, following the lines which you drew upon them with a pencil. Letter the word "Delivery" upon the center panel of each side, and the firm name in the small panel between the lamp and window.

[Pg 116]

By attaching a set of clockworks in the same manner as described for the automobiles, you can make

A Clockwork Railway, constructing the cars similar to the street car shown in Fig. 84, Chapter VI, and using the schemes in the same chapter for the tracks and depots.

Each car should be provided with a clockwork motor, because a single clockwork is not strong enough to pull more than one car. Let me know how you succeed in building a clockwork railway.


[Pg 117]

CHAPTER XI

HOME-MADE ELECTRICAL TOYS

An entire volume might be filled with plans for electrical toys and yet not exhaust the innumerable forms that are within the ability of a boy to construct. There is room in this chapter for only a few, and I have selected simple ideas, those that can be carried out by a boy having no knowledge of working with electricity, with materials that can be obtained at an expenditure of little or nothing. Thus every boy will be able to make these electrical toys.

The Electro-magnet Derrick shown in Fig. 176 will hoist nails and other small pieces of hardware from the floor to a table top, and as the boom, or arm, can be swung from side to side, and raised and lowered, loads can be moved from place to place in the same way as with large derricks. The toy derrick may be used for loading and unloading toy wagons, carts, and trains of cars, provided, of course, you use iron or steel of some sort for your loads. It is easy enough to get nails, brads, tacks, and odd pieces of hardware for the purpose. The model from which Fig. 176 was made has lifted a bunch of two hundred and eighty-four brads 3/8 inch long. By using smaller brads, or tacks, a much larger number could be lifted.

[Pg 118]

The first part of the toy to construct is

The Electro-magnet. The difference between an electro-magnet and the toy variety of horse-shoe magnet with which every boy is familiar, is that the electro-magnet retains its magnetism only so long as an electric current is passing around it, while the steel magnet retains its influence permanently, after being magnetized, unless it happens to be demagnetized by subjection to heat, or in some other way.

An Electro-magnet Derrick.

Fig. 176.—An Electro-magnet Derrick.

Figures 177 to 179 show the details for making a simple home-made electro-magnet.

[Pg 119]

An electro-magnet consists of a center core of soft iron, wrapped with a coil of insulated wire. When an electric current passes over a wire, a magnetic field is formed around the wire; and when several turns of insulated wire are wrapped about a soft iron core, the magnetic fields of all the turns of the coil, or helix, combine, forming a very strong magnetic field which strongly magnetizes the iron core. As I have said before, this magnet loses its magnetic influence the instant the current ceases to pass through the surrounding coil of wire.

The Electro-magnet.

Figs. 177-179.—The Electro-magnet.

You will need a machine-bolt or carriage-bolt 2½ or 3 inches long, and ¼ inch in diameter, for the core of the magnet, some insulated electric-bell wire for the coil, and a piece of heavy cardboard. Cut three washers of a trifle larger diameter than the bolt-head, out of the piece of cardboard (Fig. 178), and slip these over the bolt as shown [Pg 120] in Fig. 179—one at the bolt-head end, the other two at the nut end; then screw the nut on to the end of the bolt.

How the Electro-magnet is Connected up.

Fig. 180.—How the Electro-magnet is Connected up.

Before starting to wind the insulated wire upon the bolt, pierce two holes through the inner cardboard washer of the two at the nut end. Then stick the end of the wire through one of these holes, and pull a length of 4 or 5 inches of the wire out between the two washers. Starting at this end of the bolt, then, wind the wire around the bolt, keeping the turns even and each turn pressed close against the preceding turn. When the washer at the head end of the bolt has been reached, wind back to the starting point; then wind back to the washer at the head a second time, and again back to the starting point; and so on until six or eight layers of wire have been wound in place. An even number of layers will bring the free end of the wire back to the double-washer end. Slip this end through the second hole in the inner washer, and bring it out between the two washers, as you did the first end. Then screw the bolt-nut tight against the washers, to hold the wire ends in place (Fig. 177). The outer cardboard washer [Pg 121] will prevent the nut from chafing the insulation on the wire ends.

Now connect the ends of the coil to the binding-posts of a battery cell, and you will be surprised to find what a strong magnet the head of the bolt core has become.

One end of the magnet coil should be connected to a dry-cell, and the other to a switch; and another wire should connect the switch with the dry-cell (Fig. 180).

A Home-made Switch that is easily made is shown in Fig. 181. Cut strips A, B, and C (Fig. 182) from a tomato can. Tack the turned up ends of A to a wooden knob (D). This forms the switch lever. Strips B and C, folded in half, and punched near the ends, form the binding-post plates.

A Home-made Switch.

Fig. 181.—A Home-made Switch.
Fig. 182.—Details of Switch.

Figures 181 and 182 show how to mount the lever and binding-post plates upon the switch base. Pivot lever A [Pg 122] with a small screw passed through a hole punched near its end, and through the hole near the folded end of plate C. Fasten plate B with a rug-tack (F) so the lever will come in contact with it. Screw-eyes E form the binding-posts.

A Home-made Switch.

Fig. 183.—Detail of Mast.
Fig. 184.—Detail of Pulley.
Fig. 185.—Detail of Boom.

Instead of using a separate base, the switch can be mounted as shown in Fig. 176, upon the base of

The Derrick. Cut the base about 8 inches wide and 10 inches long (A, Fig. 176). The mast (B) is a piece of broom-handle or curtain-pole 16 inches long, and fits loosely in a hole bored in the base. Figure 183 shows a detail of the mast. The pulley upon its upper end (C) is made of two spool-ends nailed together (Fig. 184), and it turns upon the axle D, which slips through holes in the plates E nailed to the end of the mast. The lever F sticks in a hole in the mast, close to the platform. This is used to swing the boom from side to side. Screw-eye G is placed several inches above F to serve the purpose of a pulley to guide the hoisting cables.

[Pg 123]

Figure 185 shows a detail of the boom. Cut the side sticks H 18 inches long, and fasten between them the separators I, which should be just long enough to allow clearance for the spool pulley J. The pulley is mounted on the axle K. Screw the lower ends of the boom to the mast, at a point 2½ inches above the base.

The Windlass for raising the derrick boom, and for hoisting the loads, is shown in detail in Fig. 186. Bore a hole through upright L for the axle M to stick through, and cut axle M enough smaller than the spool drums N so they will turn easily. Fasten a crank and handle to one end of each spool, and drive a brad through each end of the axle to prevent the drums from sliding off. Cut four notches in the inner flange of each spool, as shown, and pivot the catches O to the post L, in the positions indicated, so they may be thrown into the notches to lock the windlass (Fig. 176).

Detail of Derrick Windlass.

Fig. 186.—Detail of Derrick Windlass.

The Hoisting Cables should be made of strong cord. Fasten one end of the cable for raising the boom to a nail (P, Fig. 176), and run this cord up and over the mast pulley, then down through screw-eye G and over to one drum; tie it securely to the drum so it will not slip around. The other cable should be fastened between the nut and [Pg 124] washer of the magnet, as shown in Fig. 180, run up and over the boom pulley J, then through screw-eye G, and tied to the second drum.

Figure 176 shows how the dry-cell may be strapped to the base board in front of the mast, and how the wires that connect the electro-magnet, switch, and cell should be twisted around the hoisting cable, part way, and the remainder of their length allowed to hang. Be sure to cut the wires long enough to reach from a table-top down to the floor. Use flexible wire if you can get it.

By mounting the base upon spool wheels, your derrick can be moved along a table-top. Spool-ends may be used for the wheels, and can either be screwed to the edge of the base, or be fastened upon axles as the wheels of the Electric Motor Truck are fastened (Figs. 203 and 208).

How the Derrick Works. It is probably unnecessary to explain that a load is picked up by throwing over the switch lever to the contact point and closing the circuit, and that it is dropped by throwing off the switch lever and opening the circuit—which causes the electro-magnet to lose its magnetism.

A Toy Shocking Machine..The little shocking machine shown in Fig. 187 is a harmless toy with which you can have an endless amount of fun when entertaining friends. The shock it produces is not severe, but strong enough to make your friend's arm and wrist muscles twitch, and perhaps cause him to dance. Large shocking coils contract the muscles to such an extent that it is impossible to let go of the metal grips until the current has been shut off, but in our small shocking machine the handles can be dropped the instant the person holding them wishes to do so.

[Pg 125]

Detail of the Toy Shocking Machine.

Fig. 187.—Detail of the Toy Shocking Machine.

[Pg 126]

The shocking machine consists of an induction-coil, an interrupter, and a pair of handles, all of which are easy for a boy to make, and a wet or dry battery of one or two cells to furnish the current.

Details of Induction-coil.

Figs. 188-191.—Details of Induction-coil.

The Induction-coil is the first part to make. This is shown in detail in Figs. 188 to 191. The coil has windings of two sizes of wire upon an iron core. For the core buy a 5/16-inch carriage-bolt 2½ inches long, and for the wire coils get some No. 20- or 24-gauge electric-bell insulated copper wire, and some No. 30-gauge insulated magnet-wire. To keep the wire from slipping off the ends of the bolt core, cut two cardboard ends about 1½ inches in [Pg 127] diameter. Slip one of these on to the bolt next to the head, and the other one next to the nut, as shown in Fig. 188.

Three layers of the coarse wire should be wound on first, for

The Primary-coil. Pierce a hole through one cardboard end, stick the wire through it, and allow about 5 inches to project upon the outside; then commence winding the wire upon the core, placing each turn close to the preceding turn. When the opposite end of the bolt has been reached, wind back to the starting point, then work back to the other end again. There will be in the neighborhood of 175 turns in the three layers. Cut off the wire so there will be a 5-inch projection, and stick the projecting end through a hole in the cardboard end. This completes the primary-coil (Fig. 189).

Before winding the small wire on top of the primary-coil, to form

The Secondary-Coil, wrap the primary-coil with a layer of bicycle tape, or glue several layers of paper around the coil. Then wind on the small wire as you did the coarser wire, being very careful to get it on evenly and smoothly. Wind eleven layers on the coil, and run the end of the eleventh layer out through the cardboard end (Fig. 190). There should be about 100 turns of this wire to the layer, or 1100 turns in all.

A crank arrangement can be rigged up to make the winding easier, but with patience, and by doing the work slowly, the wire can be wound almost as well by hand. [Pg 128] It is difficult to keep track of each preceding turn, while winding, because of the fineness of the wire, and on this account it is a good scheme to coat each layer with bluing after it has been wound on, so that each turn of the following layer will show plainly against the stained layer beneath it. Fig. 190 shows the complete induction-coil.

Cut a base block 5 inches wide and 7 inches long, bevel the top edges to give it a trim appearance, and mount the induction-coil to one side of the center (Fig. 187), strapping it in place by means of two tin straps similar to that shown in Fig. 191, cut from a tin can.

The projecting ends of the primary-coil connect with the battery, while the two ends of the secondary-coil connect with the handles. Make three binding-post plates out of folded pieces of tin, similar to plates B and C, in Fig. 182. Tack two of these to the end of the base and connect the secondary-coil wires to them (Fig. 187), and tack the third near one end of the induction-coil and connect one primary-coil wire to it (Fig. 187).

For the Handles take two pieces of broom-handle 3½ inches long, and cover each with a piece of tin (Fig. 192). The pattern for the tin covering (Fig. 193) shows how tabs are prepared on the ends and holes punched through them for connecting with the induction-coil. The connecting wires should be 5 or 6 feet long. Flexible wire is better than bell-wire for these, because it is more easily handled in passing the handles around. Tack the tin covering to the pieces of broom-handle.

[Pg 129]

Details of Shocking-coil Handles.

Figs. 192 and 193.—Details of Shocking-coil Handles.

The purpose of the induction-coil is to raise the voltage of the battery. The flow of current must be an interrupted one, in order to shock, and therefore

An Interrupter must be inserted between the battery and one of the wires leading to the primary-coil of the induction-coil. There are several ways to construct an interrupter, but the scheme which I have invented for the model of this shocking-machine (Fig. 187) serves the purpose nicely, and is a neat appearing little piece of apparatus. This interrupter is easily constructed as you will see by the working details shown in Figs. 194 to 198.

Interrupter for Shocking-coil.

Fig. 194.—Interrupter for Shocking-coil.

[Pg 130]

Cut the base block A 1½ inches wide and 2½ inches long. Make the shaft B 2¾ inches long and of a diameter equal to the hole in a thread spool; and prepare the crank C to fit on the end, and drive a brad into it for a handle. Fasten the crank to the shaft with glue, or by driving a small brad through the two. The shaft supports D should be prepared as shown in Fig. 196, 1¼ inches wide across the bottom, 5/8 inch wide at the top, and 1¾ inches high. Bore a hole through each, a little below the top, and large enough so the shaft will turn easily, and fasten these supports with brads to the sides of base A. Drive eight brads into a thread spool, spacing them equidistant from one another, and mount this spool upon the shaft (E, Fig. 194), first slipping the shaft through one support, then through the spool, and then through the other support. Drive the spool brads a trifle into the shaft to hold the spool in position.

The projecting arm F (Fig. 194) is a strip of tin cut from a can, and must be long enough so each nail-head will strike its end when spool E is revolved. Drive a nail into base A, at G, and, after bending strip F as shown in Fig. 198, fasten it with brads upon the top of an upright made similar to H (Fig. 197), and nail this upright to the end of base A. The upper end of strip F must be bent so it will bear down upon the head of nail G.

The wire from the primary-coil which is as yet not connected should be attached to nail G, and one battery wire should be connected to a binding-post plate I fastened to [Pg 131] the lower end of strip F. Figure 198 shows how the binding-post plate is made out of a doubled piece of tin, with a hole punched through it for a small binding-screw.

This completes the interrupter. Mount it beside the induction-coil upon the base block, and connect it with the battery and the induction-coil, as shown in Fig. 187. Connect the battery cells in series. Two cells will be enough.

Details of Interrupter.

Figs. 195-198.—Details of Interrupter.

How the Interrupter Works. When you turn the crank of the interrupter, each nail in spool E raises the end of strip F, in passing it, thus breaking the electrical contact between it and the head of nail G. If the strip has been bent properly, it will spring back into contact with the head of nail G, and each time the contact is made, the person holding the handles will receive a shock. The strength of the current can be regulated somewhat by the speed with which the interrupter crank is turned. The shocks are stronger and more distinct when the crank is turned slowly.

[Pg 132]

Home-made electrical toys of a light construction are easily operated by a toy motor, when the motor and battery cell are not carried by the toy; but when both are transported, as in the case of a wagon, the construction must be very carefully worked out, or the motor will not be powerful enough to drive the wheels.

A Toy Electric Motor Truck.

Fig. 199.—A Toy Electric Motor Truck.

The Toy Electric Motor Truck shown in Fig. 199 is of light construction, the axle bearings produce very little friction, and the battery is light and of a powerful type.

Get an oblong shaped cigar-box for the bed and sides of the truck, several large thread spools for wheels and pulleys, two small silk-thread spools, four lead-pencils, or sticks whittled perfectly round and ¼ inch in diameter, for axles, [Pg 133] belt-shaft, and steering-wheel post, and six screw-eyes 5/16 inch in diameter for the bearings.

First, place the cigar-box in a wash-boiler or wash-tub of hot water, and allow it to remain there until the paper labels have soaked off or loosened sufficiently so they can be scraped off with a knife.

Top view of Electric Motor Truck.

Fig. 200.—Top view of Electric Motor Truck.

Then, after the box has thoroughly dried, cut the two strips A (Fig. 208), and fasten them to the bottom, one at each side. Screw the screw-eye axle bearings into these strips. Place them at equal distances from the ends of the strips.

The Wheels are made from the flange ends of the large spools. Figure 202 shows the front pencil axle. Slip the center portion of one of the large spools on to this for a [Pg 134] pulley, then stick the pencil ends through the screw-eyes in strips A, and glue the spool-end wheels on to them. The rear axle is like the front one, with the spool pulley omitted (Fig. 203).

Details of Axle and Belt Shaft.

Figs. 201-203.—Details of Axle and Belt Shaft.

The Upper Shaft shown in Fig. 201 supports a spool pulley like the one on the front axle, and its screw-eye bearings should be screwed into the top edge of the sides of the box (Fig. 200), directly over the front axle. Slip a silk-spool on to each end of this shaft to keep its ends from slipping out of the screw-eyes.

The Belts. As you will see by Figs. 200 to 202, the upper large pulley is belted to the motor pulley, and another belt extends from the upper shaft down to the pulley on the front axle. Rubber-bands make the best belts. Cut a hole through the bottom of the cigar-box for the belt extending from the upper shaft to the front axle to pass through. Screw the toy motor to the cigar-box with its pulley directly in line with the upper shaft pulley. [Pg 135] Wrap the spool pulleys with bicycle-tape, to keep the rubber-band belts from slipping.

Two Home-made Battery Cells Connected in Series.

Fig. 204.—Two Home-made Battery Cells Connected in Series.

The Battery. A dry battery is too heavy for the motor truck to carry; so we must make a special two-cell battery like that shown in Fig. 204. Two glass tumblers to hold the solution, a pair of battery zincs, a pair of carbons, and a bi-chromate of potash solution, are needed. Old battery zinc pencils with several inches of the eaten end cut off (Fig. 206) will do for the zincs, and the carbons from worn-out dry-battery cells cut to a corresponding length will do for the carbons. Fasten together the zincs and carbons with rubber-bands, as shown in Fig. 207, after wrapping a piece of bicycle-tape around the upper end of the carbon and inserting a small wad of it between the lower ends of the carbons and zincs, to keep them from touching one another.

Figure 205 shows a completed cell, and Fig. 204 how the two cells are connected in series, that is, with the carbon [Pg 136] of one connected to the zinc of the other. Twisting the connecting wires into coils, as shown, is a good method of taking up the slack.

Details of Zinc and Carbon.

Fig. 205.—A Single Cell.
Figs. 206 and 207.—Details of Zinc and Carbon.

The Bi-chromate Battery Fluid is made up of bi-chromate of potash, sulphuric acid, and water, in the following proportions:

4 ounces of bi-chromate of potash

4 ounces of sulphuric acid

1 quart of water

In making up this solution, first add the acid to the water,—never add the water to the acid—and then, when the solution is nearly cool, add the bi-chromate of potash. Pour the acid into the water slowly, because the combination of the two creates a great deal of heat, and if the heat [Pg 137] forms too quickly your glass bottle is likely to split. Label the bottle in which you put this solution POISON.

As the bi-chromate solution attacks the zinc element of a cell even when the current is not being drawn upon, the zinc should be removed when the cell is not in use.

Amalgamating a Zinc Pencil. To reduce the eating away of a zinc pencil used in a bi-chromate solution, the zinc should be amalgamated by rubbing a thin coat of mercury over its surface. Dip the zinc into the solution, first, then with a rag dipped in the solution rub the mercury on to it.

Motor Truck Bottom.

Fig. 208.—Plan of Motor Truck Bottom.
Fig. 209.—Section through Bottom.

Cut an opening through the cigar-box large enough for the two tumblers to set in. Then cut a strip of tin about 1 inch wide and 8 inches long, and bend it into a U-shaped hanger, to support the tumbler bottoms. Slip the hanger ends under strips A, bend them against the sides of the box, and fasten with tacks (Figs. 208 and 209).

Figure 200 shows how the battery cells are connected. A small switch can be fastened to the side of the truck to shut off and turn on the current, but, instead, you can simply withdraw one pair of elements from its tumbler to [Pg 138] shut off the current. When through playing with the truck, however, it is important to remove both pairs of elements and wash them off, because the bi-chromate solution attacks the zinc elements even when the current is not in use. As the bi-chromate solution stains very badly, it is advisable to operate the motor truck only where there is no danger of ruining anything in case some of the solution spills, as in the basement or workshop. If you wish to use a dry-cell instead of the pair of bi-chromate cells, you can place the cell upon the floor and make the wires connecting it to the motor long enough so the truck can run back and forth across a room.

Details of Seat and Canopy-top.

Fig. 210.—Details of Seat and Canopy-top.

The Seat and Canopy-top details are shown in Fig. 210. Make these in about the proportion to the cigar-box shown in Fig. 199. Fasten the seat to the edge of the seat-back B with glue and brads, and then fasten the side pieces A to the ends of the seat. The dashboard E is nailed to the [Pg 139] bottom piece D, and D is nailed to the lower ends of side pieces A. Figure 211 shows the pattern for the canopy-top. Make it of light-weight cardboard, or heavy writing-paper. Slash the ends as shown; then turn down the corners, and lap and glue them to form the turned-down canopy ends. Fasten the ends to the canopy uprights with tacks.

Pattern of Canopy-top.

Fig. 211.—Pattern of Canopy-top.

The Seat-arms are pieces of bent wire, with their ends stuck into holes in the canopy uprights and front edge of the seat.

The Steering-wheel is a section of a spool 1/8 inch thick, and is glued upon the end of a pencil or a stick. Run the lower end of the pencil through a hole in the bottom of D (Fig. 210). For

The Levers, fasten two small sticks to the end of the bottom piece D with small staples.


[Pg 140]

CHAPTER XII

A HOME-MADE TOY SHOOTING GALLERY

The Completed Toy Shooting Gallery.

Fig. 212.—The Completed Toy Shooting Gallery.

This interesting toy, with its funny animal targets, and a harmless pistol with which to shoot at them, will provide an endless amount of fun for a winter's evening or stormy afternoon.

[Pg 141]

Figure 212 shows the completed toy, and Fig. 213 the box that forms

The Framework. The targets can be arranged to suit the form of box that you find, and the number may be increased or decreased to suit the space.

The Box Framework.

Fig. 213.—The Box Framework.

The right position for the box is upon its side so its open top forms the front of the target box (Fig. 213). The horizontal piece A (Fig. 213) is fastened between the ends of the box, to support targets. It is held in place by nails driven through the box ends into its ends. If your box is much larger than the one shown in the illustration, [Pg 142] you can provide two crosspiece supports for targets, instead of one.

The Circular Target should be drawn upon a piece of cardboard with a compass, or, by marking around a cup or small saucer to make the outer circle, marking around a can cover for the second circle, and a coin for the center circle. Blacken the outside and center rings with ink, or by rubbing with a soft pencil.

Details of Targets.

Figs. 214-215.—Details of Targets.

Figure 214 shows how the target should be hinged in place to the horizontal strip A. Tack or glue the lower edge of the piece of cardboard to a block of wood B. Then cut a hinge-strip out of a piece of dress lining, and either tack or glue one-half of it to block B and the other half to the target support A.

The Animal Targets are made with pictures cut from [Pg 143] magazines and newspapers. The pictures should be colored with crayons or water-colors, to make them as nearly like their right colors as possible.

After cutting out the pictures, paste them upon cardboard, mount the pieces of cardboard upon blocks of wood, as shown at B and C (Figs. 214 and 215), and hinge the blocks to the target supports with cloth strips. B shows the method of hinging the targets to strip A, and to the lower side of the box, and C shows the method of hinging the targets to the ends of the box. The former targets fall backwards when struck; the latter targets swing sideways when struck.

The Card-shooting Pistol.

Fig. 216.—The Card-shooting Pistol.

Figure 216 shows

The Card-shooting Pistol, and Figs. 217, 218, and 219 show the details for making it. Cut block A about 8 inches long, and block B about 3 inches long. Nail A to B as shown. Then take two rubber-bands, loop them together end to end, as shown in Fig. 218, and fasten one end of the looped bands to the end of block A by means of a nail driven into the block and bent over as shown in Fig. 217. Cut a piece of cardboard about I inch square, notch the center of two opposite edges (Fig. 219), and fit [Pg 144] the loop of the free end of the rubber-bands over the piece of cardboard and into the notches, as shown in Figs. 217 and 218. This completes the pistol.

The toy pistol shoots small squares of cardboard, placed in it as shown in Figs. 216 and 218, with one corner slipped beneath the rubber-band loop.

Detail of Card-shooting Pistol.

Figs. 217-219.—Detail of Card-shooting Pistol.

Number the Targets as shown in Fig. 212, marking the circular target "25," four of the animal targets "10," and the remaining four "5." Each number represents the score of that particular target.

When Shooting, stand 3 or 4 feet away from the target box. Aim at the circular target, because that one counts the most. If you miss it, there is the chance, of course, of hitting one of the other targets below or to one side of it and making a smaller score.


[Pg 145]

CHAPTER XIII

A HOME-MADE DOLL-HOUSE

There is nothing more interesting to build than a doll-house, and the construction is within the ability of the average girl. If brother is willing to lend a hand with the carpenter work so much the better. Sister can attend to the finishing and furnishing, which are important parts of the work that she can do more handily than a boy can. But there is no reason why either a girl or boy cannot undertake a doll-house like that shown in Figs. 220 and 221, and carry the work to a successful completion, by carefully following the instructions and diagrams in this chapter.

The Building Material. The doll-house in the photographs was built of packing cases. You can buy these at a dry-goods store at 15 or 20 cents apiece.

The Floor Plans are shown in Figs. 222, 223, and 224. Your boxes may make it necessary to alter the dimensions given, but that will be simple to do. Patterns for

The Partitions are shown in Figs. 225 and 226. In cutting the second-floor partitions (Fig. 226), miter one edge of E and F to allow for the bedroom door opening, shown upon the plan, and miter the edges of _G_ to fit between [Pg 146] them above the door. The mitering is shown in the drawings (Fig. 226).

Besides cutting a stair opening in the second floor, make an opening three by five inches in the second and third floors for

The Elevator-shaft. Care must be taken to have these openings exactly over one another. Make the opening in the second floor six by eight inches in the place indicated upon the plan. This will allow for the elevator shaft and stairway. No stairway has been built to the third story, as the elevator serves the purpose, and one would take up too much of the ball-room space.

The Side Walls should measure nineteen inches wide by twenty-four inches high, and the other two walls thirty inches wide by twenty-four inches high. That portion of

The Rear Wall enclosing the kitchen and bath-room is hinged to open (see Fig. 222), and

The Front Wall is made in two sections, each hinged to a strip of wood an inch and one-half wide nailed to the two edges of the house, as shown in Fig. 220.

The Windows are four by five inches, so four-by-five camera plates can be used for the glass.

The Roof had best be made in two sections, each measuring twenty-eight inches long by twenty-four inches wide. Fasten the boards together with battens on the under side and, after mitering the upper edge of each, nail them to the house so that the ridge is fifteen inches above the third floor. Then nail a board nineteen inches long by ten inches wide in the peak of the roof (D in Fig. 228), and a narrow strip three inches from each side wall (K and L in Fig. 224). These cut off the triangular shape of the ball-room and give it a better appearance.

The Home-made Doll-house.

Fig. 220.—The Home-made Doll-house.

Interior View of Doll-house.

Fig. 221.—Interior View of Doll-house.


[Pg 147]

Plans of Doll-house and Patterns for Partitions.
Click on image to view larger.

Figs. 222-226.—Plans of Doll-house and Patterns for Partitions.

The Chimney.

Fig. 227.—The Chimney.

[Pg 148]

The Chimney is a solid block of wood with narrow strips nailed to all sides near the top (Fig. 227). Make it eight or ten inches long, and cut off the bottom to fit the slant of the roof. Paint the block red, and mark off the mortar joints in white.

An Elevator is something which is found in but few doll-houses. It was built in this house, thinking it might please the young mistress, and it proved such a success that the scheme has been worked out carefully in Figs. 228, 229, 230, 231, and 232, that you may include it in the house you build.

The cutting of the elevator-shaft has already been described. For material, procure two small pulleys such as is shown in Fig. 230, four feet of brass chain, six feet of No. 12 wire, half a dozen double-pointed tacks or very small screw-eyes, a short piece of lead pipe, and a cigar-box. Make

The Car out of the cigar-box, cutting it down to two and one-quarter inches wide, three and three-quarters inches deep, and seven inches high (see Fig. 231). Place two of the double-pointed tacks or screw-eyes in each side of the car for the guide-wires to run through and another in the center of the top from which to attach the brass chain.

[Pg 149]

Elevator-shaft.

Fig. 228.—Front View of Elevator-shaft and Stairs.
Figs. 229-232.—Details of the Elevator.

[Pg 150]

The Guide-wires are made of very heavy wire that will not bend easily. Cut two of a length to reach from the first floor to the ball-room ceiling, and after running them through the tacks in the sides of the car, stick their ends into small holes bored at E, F, G, and H (Fig. 228). The upper holes should be bored through the ball-room ceiling, while the lower ones need be bored but part way through the first floor. Care must be taken to have these holes in the correct position, so the elevator will run up and down upon the wires without striking the sides of the shaft. The easiest way of fastening the wires in place is to run the upper ends through the holes, until the lower ends can be set into their sockets, and then drive two double-pointed tacks over the top of each wire, as shown at E and F in Fig. 228.

Now run the elevator up to the top of the shaft, and mark upon the ceiling where the screw-eye in the top of the car strikes. At this point bore a hole through the ceiling and two inches back of it bore another hole, through which to run the weight-chain. When this has been done, cut a short block of wood to fit the peak of the roof and

[Pg 151]

Screw the Pulleys into it two inches apart (Fig. 229). Fit the block in the peak of the roof, centering the front pulley over the top of the car as nearly as possible, and drive a couple of nails through the roof boards into it to hold it in place temporarily. Then

Attach the Chain to the tack in the top of the car, slip a piece of lead pipe about an inch long over the chain, allowing it to set on the top of the car to make the latter heavier (Fig. 231), and run the chain up through the first hole in the ceiling, over the pulleys, and down through the second hole. To the end of the chain attach a piece of lead pipe for

The Counter-balance (C, Fig. 232). This should be just heavy enough to make a perfect balance between it and the car, which can be obtained by whittling off the end of the pipe until the weight of the two is the same. Make the chain of sufficient length so the weight will rest upon the first floor when the car is at the third floor. You can now tell whether or not the pulleys are in the right positions. When they have been adjusted properly, nail the block firmly in place.

The Gable-Ends. The front gable-end consists of four pieces (A, B, C, and D, in Fig. 233), the dimensions for the cutting of which are given in the illustration. After preparing these, nail A, B, and C in their proper positions in the gable of the roof, and trim the edges of D, if they need it, to fit between. To prevent the movable section from pushing in too far, it will be necessary to nail a narrow [Pg 152] strip of wood to the roof and third floor, just inside of it. The rear gable is made in one piece, and is fastened in place permanently.

The Front Gable-end.

Fig. 233.—The Front Gable-end.

The movable gable and all hinged portions should have

Spring-catches with which to shut up and lock the house (see the illustrations).

The Stairway is shown in Fig. 228, and the details for its construction will be found in Figs. 234, 235, 236, 237. This stairway is made in two parts, with a platform between. Cut a block of wood the shape and size shown in Fig. 234 for the platform, with notches at A and B for the tops of the lower stringers to fit in. Then

Prepare Two Stringers of thirteen steps similar to Fig. 235, and two stringers of five steps similar to Fig. 236, laying off the steps by means of a cardboard pattern, or pitch-board, of the size shown in Fig. 237. After cutting out these pieces, fasten the tops of the lower stringers in the notches A and B in the platform, and nail the platform in its proper position in [Pg 153] the corner of the hall. When this has been done, nail the bottoms of the upper stringers (E in Fig. 236) to the sides of the platform at C and D (Fig. 234), and set the tops in notches cut in the edge of the second floor.

Details of Stairs.

Figs. 234-237.—Details of Stairs.

The Treads and Risers of the steps—the horizontal and vertical boards—should be cut out of cigar-box wood.

Cut

The Newel-Posts out of short square blocks, and

The Hand-rails out of strips of cigar-box wood. Make a groove in the under side of the hand-rails to receive the ends of

The Balusters, or spindles. Toothpicks are of just the right size for balusters.

[Pg 154]

The delicate portions of the stairways should be glued in place. Make slits in the stair treads to stick the bottoms of the balusters in.

The Front Steps are clearly shown in Fig. 220. Make the solid balustrades out of pieces of box board, and the step treads and risers out of cigar-box wood. Prepare the rear steps in the same way.

Cut the Window Openings in the places indicated upon the plans (Figs. 222 to 224) and the photographs. First bore holes in the four corners of each window space; then saw from hole to hole with a compass-saw.

Old camera plates are excellent material for

The Window Glass. Fasten the glass in the openings with small brads in the same way that glass is fastened in picture-frames, and putty it in the same way that window glass is puttied, to hold it firm.

The Front and Rear Doors can be painted upon the front of the house. Openings are not necessary.

The Outside Trimmings. Strips of cigar-box wood should be cut up for the outside door and window casings, and be tacked around the openings as shown in Fig. 220. Nail a molding or a plain strip of wood to the front edge of the third floor, as shown in Fig. 220.

Castors will make it easier to move the doll-house about. Cut four blocks of wood, fasten a castor to each, and nail one block inside each corner of the foundation frame.

[Pg 155]

The Interior Woodwork. Cigar-boxes make excellent hardwood floors. Fit the pieces close together and fasten with small brads.

Make the door and window casings, picture-moldings, and baseboards out of strips of cigar-box wood.

After completing the carpenter work of the house,

Set the Nail-heads,—that is, drive them below the surface of the wood,—putty these holes and all cracks and other defective places, and sandpaper rough surfaces.

Paint the House a cream color, with white trimmings and a green roof. Stripe the foundation walls to indicate courses of stone work. Paint the front door a mahogany color, with panels indicated upon it, and make the rear door white. The painting of the chimney has already been described.

The inside walls should be finished as suggested in Chapter XIV. The woodwork may be oiled, or painted with white enamel or any other color desired.

A Colonial Doll-house with a number of features not included in this house is described and illustrated in Chapter V of "The Boy Craftsman."


[Pg 156]

CHAPTER XIV

FURNISHING THE HOME-MADE DOLL-HOUSE

With the carpenter work of a doll-house completed, the finishing of the inside,—wall papering and painting,—and selecting of furnishings for the various rooms, remain to be done. This requires as much care as the building of the house, and while any boy can do the work, the help of a sister will perhaps simplify matters and give to the rooms a daintier appearance.

The Walls and Ceiling of the kitchen and bath-room should be painted with white lead or white enamel. For the other rooms select paper having a small design, such as is to be found on most ceiling papers. If you have ever watched the paper-hanger at work, you have noticed he puts on the ceiling first, allowing the paper to run down the walls a little way all around instead of trimming it off. Then he hangs the wall paper, and if there is no border to cover the joints of the ceiling and wall papers he carries the wall paper up to the ceiling. Use flour paste to stick on the paper, and a cloth or photograph-print roller to smooth out the wrinkles. The dining-room should have a wainscot of dark paper below the chair-rail, and a paper with little or no figure upon it above.

[Pg 157]

All Hardwood Floors, the stairs, door and window casings, baseboards, and picture moldings should be varnished thoroughly or given several coats of boiled linseed-oil.

All floors, with the exception of the kitchen, bath-room, and hardwood floors, should be fitted with

Carpets. If you do not happen to have suitable scraps on hand, they can be procured at almost any furnishing store where they make up carpets. Select pieces with as small patterns as possible. The floors of the bath-room and kitchen should be covered with oilcloth.

Rugs for the hardwood floors may be made out of scraps of carpet.

Window-shades may be made for each window out of linen, and tacked to the top casing so that the bottom of the curtain reaches just above the center of the opening. Each window should also have

Lace Curtains made out of scraps of lace. They should either be tacked above the windows or hung upon poles made out of No. 12 wire, cut in lengths to fit the windows. Screw small brass hooks into the top window-casings for the poles to hang upon.

Handsome Portières for the doorways can be made with beads and with the small hollow straws sold for use in kindergartens. For the

Bead Portières, cut threads as long as the height of the door and string the beads upon them, alternating the colors in such a way as to produce patterns. Then tie [Pg 158] the strings together to a piece of wire the width of the doorway, and fasten the wire in the opening. The

Straw Portières are made similarly.

From magazine illustrations you can select

Suitable Pictures for each room, but if you are handy with brush and pencil you may prefer to make the pictures yourself. These may be mounted upon cardboard and have their edges bound with passe-partout paper to give the effect of frames, or frames may be cut out of cardboard and pasted to them. Hang the pictures to the picture molding with thread.

A Cosey-corner may be fitted up in the ball-room by fastening a strip of a cigar-box in one corner an inch and one-half above the floor for the seat, and hanging draperies on each side of it. Pillows may be made for it out of scraps of silk stuffed with cotton.

A doll-house properly proportioned in every detail, including the selection of its furniture, is pleasing to look at, and is to be desired much more than some of the specimens to be found in the stores. These very often have parlor chairs larger than the mantel, beds that either fill two-thirds of the bedroom space or are so small they are hidden from view by the chairs, and other furniture accordingly, all having been selected without any thought as to size or fitness.

Care must be taken, in buying the furniture, to have the pieces suitable to the rooms. It will no doubt require more time than to purchase the first sets you come across, [Pg 159] but when you have completed the selections, the result will be a much better appearing doll-house.

By carefully searching the toy-shops you are almost certain of finding what you want for the various rooms, as about everything imaginable in furniture has been manufactured. Porcelain bath-tubs, wash-basins with real faucets and running water, gilt furniture, chandeliers, and such articles are tempting to buy. But it is rather expensive to fit up a house in this way, for, though each piece may not amount to very much, they count up very quickly.

The suggestions for the making of cigar-box furniture in Chapter XVII, and spool and cardboard furniture in Chapter XIX, will give you plenty of material for furniture and save you the expense of buying this part of the furnishings for your house.


[Pg 160]

CHAPTER XV

A HOME-MADE TOY STABLE

Exterior of Stable.

Fig. 238.—Exterior of Stable.

The stable illustrated in Figs. 238 and 239 is designed in keeping with the doll-house in Chapter XIII. It is shown in the background of the photograph of this doll-house (Fig. 220). If you prefer a garage instead of this stable, you may omit the stalls, and make one or two large windows in the rear wall in place of the small high windows shown. The building's construction is very [Pg 161] simple. The dimensions are: width, twenty-four inches; depth, twelve inches; and height, twenty-two inches. The barn contains five stalls on the ground floor and a hay-loft above.

Interior of Stable.

Fig. 239.—Interior of Stable.

To build the stable according to the drawings, a box ten by twelve by twenty-four inches should be procured for

The First Story. If you have a box of different proportions it will be a simple matter to make such alterations in the details as it will require.

The Roof is made in two sections, each fifteen by eighteen inches, and is fastened to the top of the box so that the peak is twenty-two inches above the bottom.

The Gable-end is made in four pieces, as shown in Fig. 240, [Pg 162] A, B, and C, to be nailed in place, and D to be movable as in the case of the doll-house. Make a three-by-five-inch window in the center of D, and fasten the glass in place with strips cut as described in Chapter XIII. Strips should be nailed to the roof just inside of the movable section to prevent the latter from setting in too far, and a spring catch fastened to C and D as shown, to hold the movable section in place.

Front Gable-end.

Fig. 240.—Front Gable-end.

Stall Partitions.

Fig. 241.—Stall Partitions.

Figure 241 gives the patterns and measurements for

The Stall Partitions, four of which should be cut out and fastened to the floor of the stable four inches apart, or so they will divide the inside width into five equal stalls.

The Feed-troughs are made out of two strips of cigar [Pg 163]boxes fitted between the stalls, as shown in Figs. 239 and 241, and are fastened in place by means of brads and glue. Above the stalls cut

Small Windows an inch and one-half square in the rear wall. These are the ventilating windows for the stalls, and may be left open.

Figure 242 shows the construction of

Ladder to Hay-loft.

Fig. 242.—Ladder to Hay-loft.

A Ladder to the hay-loft. This is made out of two sticks twelve inches long, with strips of cigar-boxes two inches long glued to them half an inch apart, as shown in the drawing. Cut away a section of the hay-loft floor two inches square and stick the end of the ladder up through the opening, fastening the uprights to the edge of the floor (see Fig. 242).

A stick about three inches long, with a very small pulley attached near the end, should be fastened in the peak of the roof for a

Feed-hoist (see Fig. 238).

[Pg 164]

The first story has

A Drop-front, as shown in Figs. 238 and 239. This is made from the box-cover. Fasten the boards together with battens placed upon the inside, and hinge it to the bottom of the stable. Nail two cleats to the under side of the floor (see Fig. 238) to lift it off the ground just enough to allow the front to drop without springing its hinges.

When the front is down it forms an incline upon which to run the horses into the stable. For this reason it is not advisable to cut an opening in it, but merely

Represent a Stable Door on the outside (see Fig. 238). This is done with paint and a fine brush. First paint a green panel in the center of the front, and then mark off a couple of panels within this space with black paint, and stripe them diagonally to represent beaded-boards.

With strips of wood half an inch wide make

A Simple Trim around the door, the sides of the stable, and around the gable, as shown in the illustration.

When the carpenter work has been finished,

Paint the Inside of the stable white, and the outside the same colors as used for the doll-house (see description in Chapter XIII).

If you Prefer a Garage, use your ingenuity to fit up the interior of the building as you think it ought to be.


[Pg 165]

CHAPTER XVI

A HOME-MADE DOLL APARTMENT BUILDING

The doll apartment building in this chapter is a new idea in doll-houses. By the illustrations you will see that the apartment building is three stories high, and consists of three units—each one story high—and a roof. During playtime the units are arranged side by side upon the floor so as to form a six-room apartment (Fig. 244); and afterward they are piled up one upon another as shown in Fig. 243, and the roof placed on top, in a compact form that takes up but little floor space.

Building Material. The apartment building is built out of grocery boxes. The boxes used for the units must be of equal size, and the thing to do is to select those in which a standard brand of goods come packed. If one grocery store doesn't have what you want, go to another. If the sides and ends of the boxes are in one piece, it will greatly simplify the matter of cutting the door and window openings.

The Room Dimensions. The boxes used in the model illustrated were 28 inches long, 13 inches wide, and 8 inches deep. These provided space for a vestibule 3 inches by 8 inches, a reception-hall 8½ inches by 8 inches, [Pg 166] a living-room 12 inches by 18½ inches, a dining-room 12 inches by 15 inches, a kitchen 12 inches by 8 inches, a pantry 7 inches by 3 inches, two bedrooms—one 12 inches square and the other 12 inches by 8 inches, and a bathroom 7½ inches by 6 inches (Fig. 245). You may have to vary the sizes of your rooms a trifle, if you get boxes of different proportions, but it is probable that you can keep to the same plan arrangement.

Plan of the Six-room Doll Apartment.

Fig. 245.—Plan of the Six-room Doll Apartment.

The First Story Unit is shown in Fig. 246, and diagrams of its two partitions A and B, are placed to the right of it; Fig. 247 shows

The Second Story Unit, with diagrams of its three partitions C, D, and E, placed to the left and right of it, and Fig. 248 shows

The Third Story Unit, with diagrams of its two partitions F and G placed to the left of it.


How the Three
Stories are Arranged Side by Side to form a Six-room Apartment.

Fig. 244.How the Three Stories are Arranged Side by Side to form a Six-room Apartment.

The Most Stylish Apartments in Doll Town.

Fig. 243.The Most Stylish Apartments in Doll Town.


The First, Second, Third Story.

Fig. 246.—The First Story Unit and Diagram of Partitions.
Fig. 247.—The Second Story Unit and Diagram of Partitions.
Fig. 248.—The Third Story Unit and Diagram of Partitions.

[Pg 167]

Mark the Door and Window Openings carefully upon the sides of the box, making them as nearly as possible in the same proportion to the wall space as is shown in the illustrations. Then, in cutting the openings, bore a number of small holes a trifle inside of the lines, to make an [Pg 168] opening large enough to insert a small keyhole-saw or bracket-saw, and the cutting will be easy to do.

In Cutting the Opening for the Bay Windows, leave a Narrow Strip
over the Opening, as above, for a "Beam."

Fig. 249.—In Cutting the Opening for the Bay Windows, leave a Narrow Strip over the Opening, as above, for a "Beam."

The Bay Windows on the second and third stories are built of cigar-box wood. Instead of cutting away the entire width of the box at the points of attaching these bays, it is a better plan to leave a narrow strip over the opening, as shown in Fig. 249. This will hold the walls together, and will form a "beam" across the ceiling. The side edges of the pieces that form the front of the bay must be slanted off so as to fit at the proper angles, and the window openings must be cut carefully, because the margin of wood around them is narrow and will split easily. Fasten together the members of the bays, also the inside partitions, with glue and brads.

The Joints between the Units, when piled one upon another, are concealed by a band of wood ½ inch wide nailed around the front and two ends of the bottom of the second and third story units (Figs. 247 and 248). These bands should project about ¼ inch below the bottoms of these boxes, so as to set down over the boxes beneath. They must not extend around the back of the boxes, and [Pg 169] cannot be fastened to the first story box, because they would interfere with placing the boxes close together as in Fig. 244.

The first story unit must be raised to the same floor level as the other stories, however, and a thin board of the same thickness as the projection of the strips on the second and third story units must be nailed to its bottom to bring it to the same level (Fig. 246).

Removable Roof, Chimney and Chimney Cap.

Figs. 250 and 251.—How the Removable Roof is Constructed.
Fig. 252.—How the Chimney and Chimney Cap are Made.

The Roof Construction is shown in Fig. 250. Boards H (Figs. 250 and 251) should be cut of the right size to form a projection of 1½ inches over the front and ends of the building, and the piece I should be cut to the proper shape and size to form an equal projection over the bay windows. Strips J and K are 1 inch wide, and should be fastened to boards H so they will come exactly over the [Pg 170] front and end walls when the roof is set in place. Block L should be cut of such a shape and size that when nailed to strip K its front edges will come directly over the walls of the bay windows. A narrow strip nailed to the under side of the roof boards, close against the walls, will conceal the joint between the roof and top story and make a good finish molding.

The Chimney is made of two blocks (M and N, Fig. 252). Notch the lower block to fit over strip J, and cut the cap block large enough to project 1/8 inch all around.

The Windows. Old photograph plates can be cut down to the proper sizes for the window openings, but it will not cost much to have the paint-shop man cut them out of new material, if you haven't any. The glass should be just a trifle smaller than the openings. Fasten it in place with narrow strips of cigar-box wood. Window sashes can be indicated by striping the glass with black paint.

Make the Front Door out of a piece of cigar-box wood, and set a piece of glass in an opening cut about the size shown in Fig. 243. This door may be hinged to open, but it is better to fasten it in the opening, because small pieces are easily broken off their hinges. Fasten a small block below the front door for a step (Fig. 243).

The Inside Doorways, in the ends of the first story unit and in the back of the second and third story units, may be fitted with pieces of board that can be set in when the units are piled up in the form of the building, but it is not necessary to make this provision.

[Pg 171]

The Interior Trim. The door and window casings, picture moldings, baseboards, and other trimming should be made out of strips of cigar-box wood. Tack the strips in place with short brads.

The Living-room Mantel.

Fig. 253.—The Living-room Mantel.

Details of Mantel.

Fig. 254.—Details of Mantel.

A Fireplace must be provided for the living-room, and one easily constructed out of four pieces of wood is shown in Figs. 253 and 254. Cut blocks O and P of the same thickness, and make the shelf piece Q of the proper size to project an equal distance over the front and ends. Fasten the pieces together, then glue red paper to the wood, and when this has dried mark off brick courses with a pencil. The joints may be accentuated by striping with white or black paint.

Lighting Fixtures, simple to make, are shown in two splendid forms in Figures 255 and 257. Small brass screw-hooks such as are shown in Figure 256 can be pur [Pg 172]chased at any hardware store, and a couple of dozen of these, a lead pencil, and a number of large beads, will furnish you with enough material for making fixtures for every room in the apartment.

Two Lighting Fixtures and how to Make Them.

Figs. 255-258.—Two Lighting Fixtures and how to Make Them.

You will see by Fig. 256 that the lighting fixture shown in Fig. 255 consists of a screw-hook with its hooked end stuck through one of the little brass plates removed from another screw-hook, and then pushed into the hole in the end of a short piece of lead-pencil. Cut the pencil end about ½ inch long, push out the piece of lead, and if necessary enlarge the hole to accommodate the hook end. If the piece of pencil comes apart where glued, re-glue it. Glue the little brass cap to the top. Paint the pencil end white, to represent glass, and indicate metal division strips, or leading, with black paint or ink.

The lighting fixture shown in Fig. 257 is made in the same way as the other one, except that a bead instead of the pencil end is used for a globe (Fig. 258).

[Pg 173]

The fixture in Fig. 255 is better suited to the living-room and dining-room, and for fastening each side of the front door; the fixture in Fig. 257 is better for the other rooms.

Decorating. Suggestions for decorating a doll-house are given in Chapter XIV, but here are some additional ideas to suit the conditions of the apartment. It is the modern practice to tint walls of apartments, and the best plan is to cover the walls of each room with plain paper, using a paper of a different color for each room.

The dining-room should have a plate-rail on which to stand plates (pictures of plates cut from advertisements and pasted upon cardboard), and the walls below the plate-rail should be paneled with strips of cigar-box wood for division strips (Fig. 244).

The Outside Walls of the apartment building are supposedly brick; therefore paint them a good red, brown, or yellow brick color, and paint the roof cornice, and the horizontal bands between stories, white, as a contrast.


[Pg 174]

CHAPTER XVII

HOME-MADE DOLL FURNITURE

The metal furniture which you can buy is very pretty when it is new, but this new appearance does not last long after it has come into a youngster's possession, for the pieces are very slender and delicate, and thus easily broken.

Wooden furniture is the most durable kind, and plain and simple pieces will generally outlast the fancy ones. The designs illustrated in this chapter make very substantial pieces, as there are no spindle legs or fancy arms to break off. They follow the lines of the mission furniture, that simple style used in the early American mission schools, and which is to-day being extensively made in handsome pieces for the furnishings of modern homes. You will find the

Miniature Mission Furniture, illustrated and described in this chapter, simple to make and something which is easy to sell, for there is nothing like it at present upon the market.

Cigar-boxes furnish the nicest material for making this furniture, and the various parts can be cut to the right shape and size with

[Pg 175]

A Scroll-Saw. Procure small brads and glue with which to fasten the pieces together.

To Prepare the Cigar-boxes for use, place them in a tub of boiling water and let them remain there until the paper labels readily pull off. Do not use a knife in removing the paper, as it is likely to roughen the wood. The paper will come off by allowing it to soak long enough. When the boxes are clean, set them in the sun to dry, after binding the covers to the backs to prevent them from warping. Pull the boxes apart when they are thoroughly dry, and throw out such pieces as have printing upon them, for these would spoil the appearance of the furniture if used.

In order to simplify the matter of cutting the parts that make the furniture, the curved pieces have been drawn out carefully on page 177, so that they can be laid off upon the strips of cigar-boxes without any trouble, by the process of

Enlarging by Squares. These drawings are shown one-quarter of their full size (half their width and half their height). To enlarge them procure a piece of cardboard nine by thirteen inches, or a little larger than twice the size of the drawing each way, and divide it into squares just twice the size of those on page 177. That will make sixteen squares in the width of the cardboard and twenty-four in the length, each half an inch square. In order to get the squares spaced equally, it is best to lay off the points first with a ruler along the top, bottom, and two sides of the sheet of cardboard, and then connect the [Pg 176] points with the ruler and a sharp lead-pencil. Then number the squares as in the illustration, using the figures along the sides and letters across the top and bottom of the sheet.

With the sheet of cardboard thus prepared it is a simple matter to

Reproduce the Drawings of Figs. 259 to 266 by locating the points of the curves and corners of the pieces, as shown in the illustrations, in corresponding positions in the squares on your cardboard sheet. The curves may be drawn in by eye, after locating them with reference to their surrounding squares, but the surest way of enlarging them accurately is by laying off the points where the curve strikes each horizontal and vertical line in the illustration, upon the enlarged drawing. These points can then be connected with a curved line.

Make all of the lines heavy so they can be distinguished from your guide lines, and after carefully going over the drawing, comparing it with that on page 177 to see that no mistake has been made in locating the points in enlarging, cut the various pieces apart. These will give you

The Patterns with which to mark out the pieces on the wood.

[Pg 177]

Patterns for Furniture.

Figs. 259-266.—Patterns for Furniture.

[Pg 178]

We will first note the construction of

The Chairs shown in Figs. 267 and 268. These are four and one-half inches high, two inches wide, and an inch and one-half deep. Cut the back for the chair in Fig. 267 four and three-eighths inches high and an inch and three-quarters wide, the sides by the pattern in Fig. 259 and the seat an inch and one-quarter by an inch and three-quarters. With the pieces cut out, fasten them together with brads and glue, placing the seat between the arms and back so that it is an inch and one-half above the base.

Chair.

Fig. 267.—Chair.

Chair.

Fig. 268.—Chair.

Cut the back for the other chair (Fig. 268) four and one-half inches high by two inches wide, the seat an inch and a quarter by an inch and three-quarters, and the sides an inch and three-eighths wide by two and one-half high. To get the curve in the bottom edge of the side pieces, use the pattern in Fig. 259.

The Settee (Fig. 269) should have its sides cut by the pattern of Fig. 260. Make the back piece three and three-quarters [Pg 179] inches wide and three and one-quarter inches high, and the seat three and three-quarters inches by an inch and one-half. Fasten the seat against the back an inch and one-half above the base.

A Settee.

Fig. 269.—A Settee.

Tables for the living-room, dining-room, bedroom, ball-room, and nursery of a doll-house may be patterned after the designs of Figs. 270 and 271. These should be two and one-half inches high to be of proper proportion for the chairs.

A Table.

Fig. 270.—A Table.

The pieces necessary to make Fig. 270 are a top two inches square, two sides an inch and one-half wide by two and one-half inches high, and a shelf an inch and one-quarter square. Fasten the pieces together as in the illustration, placing the shelf between the side pieces an inch from the bottom.

[Pg 180]

The other design (Fig. 271) will do nicely for

A Dining-room Table, or table for the center of the living-room. The top of this should be five inches long and three inches wide. Cut the side pieces by the pattern in Fig. 261 and, after fastening them to the under side of the table-top four inches apart, brace them with a strip three and three-quarters inches long by half an inch wide, as shown in Fig. 271.

Another Design.

Fig. 271.—Another Design.

A Side-board similar to Fig. 272 should be made for the dining-room. The pattern for the side pieces is shown in Fig. 262. After sawing these out, cut a piece seven inches long by three inches wide for the back and fasten the side pieces to the edges of it. The location of the shelves can be obtained best by referring to Fig. 272 and the pattern in Fig. 262. Cut the bottom shelf (A in Fig. 272) three inches long by an inch and one-quarter wide and fasten it to the side pieces half an inch above the base (line 24 on pattern, Fig. 262). Make shelf B three by one inches and place it at line 22. C should be three and three-quarters inches long by an inch and one-half wide, with a small notch cut near each end with your knife, to make it fit over the side pieces (see illustration). [Pg 181] Cut shelf D three inches long by half an inch wide, fastening it in place at line No. 17, E three inches long by seven-sixteenths of an inch wide, fastening it at line No. 15, and F three inches long by three-eighths of an inch wide, fastening it at line No. 13. The top shelf (G) is three and three-quarters inches long and half an inch wide and is fastened to the tops of the side pieces as shown in the drawing.

The lower portion of the side-board is inclosed with two doors two inches high by an inch and one-half wide. Small pieces of cloth may be used for hinges, but it is better to use pins, running them through the shelf above and below (A and C, Fig. 272) into the doors. Stick the pins near the edge of the doors and see that they are straight, so the doors will open easily. A small mirror attached to the back between shelves C and D will complete this piece of furniture.

A Side-board.

Fig. 272.—A Side-board.

A Mirror.

Fig. 273.—A Mirror.

A Mirror in a frame should be made for the living-room of the doll-house. A neat and suitable design for [Pg 182] one of these will be seen in Fig. 273. For its construction cut two sides by means of the pattern in Fig. 263, a piece five inches long by three inches wide for the back, and a strip three inches long by three-eighths of an inch wide for a shelf. Fasten the sides to the edges of the back piece, and the shelf between the sides about three-quarters of an inch above the base. Now procure a mirror such as you can buy in a toy-shop for five or ten cents (or a piece of a broken mirror cut down to the right size will do very nicely), and attach it to the center of the back.

The Grandfather's Clock (Fig. 274) makes an effective piece of furniture for the hall or living-room, and is easily made. Figure 264 shows the pattern for the front of this clock. The back is made the same, with the omission of the square opening cut in the front frame for the clock-face. Cut a block of wood two by two by three-quarters inches to fit between the frames at the top. After nailing the pieces together, procure a face from a toy watch, and fasten it in the opening made for it in the front frame. A button suspended by means of a piece of thread from a tack placed in the bottom of the block forms the pendulum.

It will be unnecessary to give any suggestions for

[Pg 183]

A Grandfather's Clock.

Fig. 274.—A Grandfather's Clock.

Kitchen Furniture, such as chairs and tables, for these can also be made out of cigar-box wood similar to the designs illustrated in this chapter, with perhaps a few modifications which will make them simpler.

Now for the making of some pieces of bedroom furniture. You will find in Figs. 275 and 276 two designs that are easily carried out, one or both of which may be used for

The Beds of a doll-house. To make Fig. 275, cut the head and foot by means of the pattern in Fig. 265, and cut the two sides by means of the pattern in Fig. 266. After preparing these pieces and fastening them together as shown in the illustration (Fig. 275), cut a few strips a quarter of an inch wide for slats and fasten them between the sides of the bed. It is advisable to fasten these in place to prevent them from being lost.

The side pieces for the other bed (Fig. 276) are cut out with the same pattern (Fig. 266).

[Pg 184]
A Bed.

Fig. 275.—A Bed.

Another Design.

Fig. 276.—Another Design.

Make the head and foot pieces three by four and one-half inches, cutting a piece two by an inch and one-quarter out of the top of each as shown in the drawing (Fig. 2766), and using the pattern of the other bed for cutting the curve in [Pg 185] the bottom edge. Nail the pieces together in their proper places, after which cut some slats and fasten them in the bottom.

The Dresser (Fig. 277) is made somewhat similar to the side-board. Cut the sides by the same pattern (Fig. 262) and fasten them to the edges of the back piece, which should be six and one-half inches high by three inches wide. Cut shelf A three by one and one-quarter inches, B and C three by one and one-eighth, D three by one and three-sixteenths, and E and F one-half by one and one-quarter inches. Fasten shelf A between the sides at line No. 24 (see Fig. 262), B at line No. 23, C at line No. 22, D at line No. 21, and notch the ends of E and F to fit over the side pieces at line No. 20.

A Dresser.

Fig. 277.—A Dresser.

Drawers to fit the lower shelves of the dresser may be made out of small strips of cigar-boxes or pieces of cardboard, glued together. A small mirror fastened in the position shown in the drawing will complete the work upon this piece of furniture.

[Pg 186]

A Wash-Stand can be made for the bathroom and each of the bedrooms similar to Fig. 278. The sides for this should be five inches high by an inch and one-quarter wide, and the shelves one by three inches. Fasten the lower shelf three-quarters of an inch above the base, and the top shelf at a height of two and one-half inches. When the stand has been put together, fit a round stick, about an eighth of an inch in diameter, in holes made in the sides with a gimlet (see illustration). This forms the towel-rack. Hang a small drapery over the lower portion of the s tand.

A Wash-Stand.

Fig. 278.—A Wash-Stand.

Finishing. When the pieces of furniture have been completed, they should be rubbed down with emery-paper to remove the rough edges, and also any rough places that may have been caused by soaking the boxes in water. Then give the wood several coats of linseed-oil. This makes a beautiful finish for this kind of wood, which may be improved by adding a coat of wax. The little hearts may be painted upon the pieces as shown in the illustration, with a small brush and red paint, or may be cut out of red paper and glued to the wood.

If desired, the bedroom furniture may be painted with white enamel.

[Pg 187]

Other Cigar-box Furniture

A Doll's Folding-bed.

Fig. 279.—A Doll's Folding-bed.

In Figs. 279 and Fig. 282 will be found some pieces of furniture that are simpler to make than those just described, and although they may not be so pretty, they present a very good appearance when neatly made.

The author constructed many pieces of this furniture when a boy, and found them suitable as presents, and something that was always easy to sell.

The cost of making a set amounts to but a few cents, cigar-boxes being the principal material. They are also very quickly made, as the boxes require but little cutting.

For the construction of

A Folding-bed, such as is shown in Figs. 279 and 280, select two cigar-boxes, one of which will fit inside the other. The smaller box should be a little shorter than the inside opening of the larger box.

[Pg 188]

Folding-bed (open).

Fig. 280.—Folding-bed (open).
Fig. 281.—Foot.

After removing the paper from each, place the smaller box inside the larger one, as shown in Fig. 279, so that the bottom of the inner box is flush with the edge of the outer box. Then drive a brad through both boxes on each side, about three-quarters of an inch from the end as shown at A (Fig. 279). These brads should run through the outer box into the bottom of the inner box, and should be driven in carefully so as not to split the wood. The inner box should now fold down as shown in Fig. 280, moving upon the brad pivots. [Pg 189] Purchase a five or ten cent mirror and fasten it to the front of the bed, after which cut two wooden feet similar to Fig. 281 and glue the pegs on the ends of these in gimlet holes made above the mirror. Finish the wood the same as described for the other cigar-box furniture.

Dresser Completed.

Fig. 282.—Dresser Completed.

A Doll's Dresser.

Fig. 283.—A Doll's Dresser.

The Dresser shown in Fig. 282 is made out of a box the same size as the larger one used for the folding-bed. Saw the sides of the box in half, crosswise, and remove the upper half and the end piece. Then nail the end across the tops of the remaining halves of the sides. When this has been done, divide up the lower portion of the box into compartments as shown in the drawing (Fig. 283). This [Pg 190] should have a small drapery hung over it. The upper portion of the dresser should have a mirror attached to it, and some lace draped over the top and sides will add greatly to its appearance.

All you will have to do in making

A Wardrobe will be to fasten some small hooks inside of a cigar-box, attach the cover with a strip of linen—the same way it was attached before you soaked it off—and hang a mirror on the front.

These pieces of furniture were designed for separate sets, and would not do for doll-houses the size of those in the preceding chapters, unless the boxes were cut down to smaller proportions.


[Pg 191]

CHAPTER XVIII

HOME-MADE CIGAR-BOX TOYS

Cigar-boxes are splendid material for a variety of home-made toys. In this chapter are shown some easily constructed wagons, a Jack-in-the-box, a cradle, and several tables and chairs of a different pattern from the doll furniture for which working drawings were given in the preceding chapter.

Get an assortment of shapes and sizes of boxes at a cigar store, and prepare them for use as directed on page 175. Use 3/8 inch and ½ inch brads, and glue, for fastening the pieces together.

A scroll-saw, bracket-saw, coping-saw, or a very sharp jack-knife should be used where

Cutting is necessary. Do not attempt to split the wood, as the grain is seldom straight, but lay it down upon a board and score it with a knife in the way in which you would score a piece of cardboard; then break it along the scored line, or continue cutting until the piece is cut in two. If you use a saw, cut a little away from the outlines of the work and then trim up with a knife and sandpaper.

The wagons, Jack-in-the-box, and doll furniture shown in this chapter were designed with the idea of saving as [Pg 192] much cutting as possible, and you will see by the illustrations that in many cases the boxes are not altered.

Cross-section of the Express-wagon.

Fig. 286.—Cross-section of the Express-wagon.

The Express-wagon shown in Fig. 284 is made out of a long flat box. Cut down the sides at the front and construct a seat on top of the sides as shown in Fig. 286. Cut the front wheels about 2¼ inches in diameter and the rear wheels about 2¾ inches in diameter. If you haven't a compass with which to describe the circles, you can mark out the wheels with cups or glass tumblers. Cut the wooden axles as shown in Fig. 286, making the front axle—for the smaller wheels—deeper than the rear one, then fasten them to the wagon and nail the wheels to their ends. Drive a tack into the front of the wagon-box and tie a cord to it, or, if you have a small toy horse to hitch to the wagon, fasten a pair of shafts to the under side of the box as is shown upon the two-wheel cart.

The Cart in Fig. 285 is made out of a square flat box with its wheels fastened to the center of the under side. Make the wheels about 2¾ inches in diameter.


An Express-wagon.

Fig. 284.—An Express-wagon.

A Cartn.

Fig. 285.—A Cart.


[Pg 193]

The Auto Delivery-wagon (Figs. 287 and 288. See Frontispiece) requires two boxes 8½ inches long, 5 inches wide, and 2½ inches deep. You will see by the illustrations that one box is inverted upon the other. Before fastening them together, remove the two ends of the upper box and the rear end of the lower box (leaving the front end for the dashboard), and cut 2 inches off the sides at the front and an additional piece 1 inch by 1¾ inches from the sides of the upper box for windows. Fasten the boxes together by nailing strips to the ends of side pieces. Nail a narrow strip across the top of the rear end of the wagon and hinge a drop end-gate to the wagon-bed with cloth strips. Support the end-gate with a cloth strap. Tack a curtain of black cloth to the top cross strip and sew two cloth straps to the curtain, so that it may be fastened up in a roll, as shown in the photograph. Make the wheels and axles like those of the express wagon, but cut the front and rear wheels, also the two axles, of equal size. Cut out a small steering-wheel and fasten it on a short wooden rod inside of the dashboard. Make a seat and seat back, nail the back to the seat, and then fasten the seat between the sides of the wagon just below the windows.

A Jack-in-the-box (Fig. 289) is a simpler toy to make than you might imagine. The box should measure about 5¾ inches by 5¾ inches by 5 inches. Hinge the cover to the top with two pieces of heavy cloth; glue one piece to the inside of the cover and box, and the other to the outside. Drive a small tack into the front edge of the cover, and below it fasten a small hook on to the box; the hook may be bent from a short piece of wire.

A spiral spring from an old bed-spring will do for Jack's body, but if you cannot get one of these it is a simple [Pg 194] matter to make a spring. Take a piece of No. 12 gauge wire about 10 feet in length and wind it around a rolling-pin or anything that is cylindrical and about 2½ inches in diameter. Fasten this spring with doubled-pointed tacks upon a piece of wood cut to fit the inside of the box (Fig. 290), then procure a small doll's head, baste a circular piece of cardboard to the top of the spring and to this sew the head. Make a cloth fool's cap to glue on Jack's head, covering his hair entirely, and also a loose jacket to fit over his spiral body; for these use any bright-colored cotton cloth that will fall into folds easily. Tack the base of the spring to the bottom of the box.

Leg of Dining-table. Pedestal of Center-table.

Fig. 297.—Leg of Dining-table.
Fig. 296.—Pedestal of Center-table.

Make the seat for

The Round-seated Chair shown in Fig. 291 2 inches in diameter, the back 5 inches high, 2 inches wide at the top, and 1¼ inches wide at the seat; cut the front leg 21/8 inches high by 1¼ inches wide.

The Round Center-table (Fig. 292) should have a base built up of four strips as shown in Fig. 296. Cut the circular top 5 inches in diameter. A saucer may be used with which to mark this out.

Select a long flat box for

The Dining-table shown in Fig. 293, and after making four built-up legs as shown in Fig. 297 fasten them into the four corners of the box table top with brads and glue.


Doll's Cradle, Round-seated Chair,
Jack-in-the-box, Round Center-table.

Dining-table, Skeleton of the Jack-in-the-box,
Square-seated Chair.

[Pg 195]

In making the little

Square-seated Chair (Fig. 294), cut the seat about 2 inches wide by 2¼ inches deep, the front legs 21/8 inches high by 3/8 inch wide, and the back legs 4½ inches high by 3/8 inch wide. Brace the legs and back with crosspieces, and you will have a very firm and artistic dining-room chair.

Select a box about 9 inches by 5 inches by 2¼ inches in size for making

The Doll's Cradle shown in Fig. 295. Cut the two rockers by the pattern in Fig. 298 and fasten them to the bottom of the box 1 inch from the ends. Use the rim of a breakfast plate in drawing the arc of the rockers; then draw the rounded ends, being careful to get them alike. Saw out the rockers very particularly so as not to split off the ends. Fasten the pieces to the cradle box with brads driven through the box bottom into their top edge.

Pattern for Cradle Rockers.

Fig. 298.—Pattern for Cradle Rockers.

After the cigar-box toys have been made, rub down the wood with fine sandpaper. Then drive all nail-heads below the surface, fill up the holes with putty stained to match the wood as nearly as possible, and finish with two coats of boiled linseed-oil. Apply the oil with a rag, then wipe off all surplus oil with a dry cloth.


[Pg 196]

CHAPTER XIX

HOME-MADE SPOOL AND CARDBOARD TOYS

Doll Carriage.

Fig. 299.—Doll Carriage.

All that is required for making the little toys shown in this chapter are spools, cardboard, paper, a straight-grained stick out of which to cut pegs, some tacks, pins, and glue.

Did you ever see a better model of

A Baby Carriage than that shown in Fig. 299, with its rounded ends, arched bottom, and adjustable hood? It is easy to make.

Figure 300 shows the details for constructing the carriage [Pg 197] body. Cut four wooden pegs to fit loosely in the holes of four spools of equal size, and make them of the right length so when slipped into the holes their ends will project about ¼ inch beyond the spool ends. Then cut the bottom strip B 5 inches long by the width of the spools, bend it slightly as shown, to give a curve to the carriage bottom, and tack the ends of the strip to two of the spools (A).

Details of Doll Carriage.

Figs. 300-302.—Details of Doll Carriage.

The sides C are of cardboard and should be 1½ inches wide at the widest point, by the length of the carriage body. Punch holes through these side pieces in the right places for the ends of the pegs in spools A to stick through.

Before fastening the side pieces to spools A, you must attach the wheels (Figs. 301 and 302). Cut the cardboard [Pg 198] uprights D 3½ inches long and ½ inch wide; then after cutting holes through each near the ends, for the spool pegs to slip through, cut down the width between the holes to about ¼ inch (Fig. 302). Slip the lower ends of uprights D over the pegs in spool wheels E, then the upper ends over the pegs in spools A. Glue the upper ends to the ends of spools A, then slip the carriage sides C over the pegs of spools A, and glue them in place.

Details of Doll Carriage.

Fig. 303.—Baby Carriage Hood.
Fig. 304.—Diagram of Hood.
Fig. 305.—Carriage Handles.

The carriage hood (Fig. 303) is made of a piece of stiff paper about 4½ inches square (Fig. 304), slashed in three [Pg 199] places along two opposite edges for a distance of about 1½ inches, and then folded over as indicated by dotted lines. Bring together the ends of the slashed edges of the piece of paper, as shown in Fig. 303, coat them with glue, and press together until the glue has dried. Punch a hole through each side of the top, as shown, for the projecting ends of the spool peg to slip through.

The Two-wheel Cart.

Fig. 306.—The Two-wheel Cart.

Details of Cart.

Figs. 307-309.—Details of Cart.

The carriage handle is made of two cardboard strips (F, Fig. 305), and a match (G). Stick the match through holes made near the ends of strips F, and glue the lower ends of the strips to the inside face of the sides (Fig. 299). This completes the carriage.

The Two-wheel Cart (Fig. 306) is made of a small box cover, and one of the spools on which crochet-cotton comes. Prepare a bent piece of cardboard like that shown in Fig. 308, with ends A turned down at the proper points so there will be only room enough between them for the spool to turn freely. Punch a hole through each turned down end for a stick axle to run through.

[Pg 200]

Merry-go-round.

Fig. 310.—Merry-go-round.
Fig. 311.—Teeter.
Fig. 312.—Cardboard Strip for Merry-go-round and Teeter.

Boy and Girl Riders for Merry-go-round and Teeter.

Fig. 313.—Boy and Girl Riders for Merry-go-round and Teeter.

Then cut two slots through the box cover the same distance apart as ends A (Fig. 307), centering the pair both crosswise and lengthwise of the cover, and stick ends A through the slots and glue portion B to the cover. Cut the wheel axle enough smaller than the spool hole so the spool will turn easily, then push it through the hole in the spool and the holes in ends A.

[Pg 201]

Glue the end of a cardboard strip to the under side of the cover for a shaft.

The Toy Merry-go-round in Fig. 310 consists of a strip of heavy cardboard turned up at its ends (Fig. 312), tacked at its center to the end of a stick cut small enough to turn easily in the hole in a spool.

Doll Swing.

Fig. 314.—Doll Swing.
Fig. 315.—Detail of Swing.

The spool slipped over the stick is grasped by the right hand, and the left hand starts the merry-go-round and keeps it in motion by twirling the stick to which the cardboard strip is fastened.

The boy and girl riders, shown in Fig. 313 are of the right size so you can trace them off upon a piece of tracing-paper and then transfer to cardboard. After cutting them out of the cardboard, color both sides with crayons or water-colors, and glue them to the turned-up ends of the cardboard strip.

The Teeter-Board (Fig. 311) is made of the same kind of a strip as that used for the merry-go-round (Fig. 312). Tack this strip at its center to the side of a spool, and mount the spool in a cardboard frame in the same way that the [Pg 202] spool wheels of the cart are mounted (Figs. 308 and 309); but make the peg axle to fit tight in the spool hole. Prepare a boy and girl rider similar to those made for the merry-go-round (Fig. 313).

The teeter is operated by turning the end of the spool axle first one way then the other.

Details of Swing Seat.

Figs. 316 and 317.—Details of Swing Seat.

The Doll Swing shown in Fig. 314 has a cardboard base, with two spools fastened to it 4 inches apart to support the framework. Tack the base to the ends of the spools. The framework uprights are tightly rolled tubes of paper 10 or 12 inches long, and the top crosspiece is another paper tube 4 inches long. Stick the lower ends of the uprights into the spool holes; then fasten the crosspiece to their tops by running pins through it and into the upright ends (Fig. 315), and then lashing the connections with thread as shown in Fig. 314.

Sofa.

Fig. 318.—Sofa.

The swing seat is made of a spool with a cardboard [Pg 203] back fastened to it (Figs. 316 and 317). Suspend the spool with thread from the top of the swing crosspiece.

Details of Sofa.

Figs. 319-321.—Details of Sofa.

A Sofa with arm rolls, like that shown in Fig. 318, is a good example of what can be made in spool-and-cardboard doll furniture. Prepare the seat and back out of a single piece of cardboard, curving the top and ends of the back as shown, and making the width of the seat the same as the length of the spool arms. Fasten the spools by means of a strip of paper bent over them as shown in Fig. 320, and glued to the seat. Use small silk-thread spools (Fig. 321) for feet, and glue them to the seat at the four corners.

Table, Chair, Table.

The Chair (Fig. 322) has a seat and back made out of a [Pg 204] single piece of cardboard, with one-third of its length bent out for the seat. Glue the seat to a spool base.

The Square Center-table (Fig. 323) has a crochet-cotton spool pedestal, and its top is a square piece of cardboard. Glue the spool to the exact center of the top.

The Round Center-table (Fig. 324) is made similarly. Use the rim of a cup for marking out the circular top.

With a little ingenuity you will be able to devise a great many other pieces of doll furniture, and other toys as well.


[Pg 205]

CHAPTER XX

A HOME-MADE TOY MAIL-BOX

Who wants to play at being Uncle Sam, and have a postal system right in the house, or out on the front porch where it will be convenient for the children next door to enjoy it, too? Every small boy and girl loves to play postman, collect mail from the toy mail-box, cancel the stamps, sort out the letters into the proper routes, and then deliver them to those whom they are addressed to.

The mail-box shown in Figs. 325 and 326 is easily made, and with

The Working Material on hand can be completed in an evening. Two sheets of cardboard, a piece of muslin, some silver paper or paint, a piece of tape about 2 yards long, and a needle and thread, are required. The cardboard should be stiff enough to hold its shape, and yet be of light enough weight to cut and fold easily. Sheets 22 inches by 28 inches can be bought at any printing-shop, and at some stationery stores, and will not cost more than 10 cents a sheet at the most. If you have some large cardboard boxes, however, you can use them instead by so laying out the different parts that the corners of the boxes will come in the right places for the corners of the mail-box.

[Pg 206]

Figure 327 shows the diagrams for

Mail-box.

Fig. 327.—Diagram for Making Sides, Ends, and Bottom of Mail-box.
Fig. 328.—Diagram for Making Top.
Fig. 329.—Diagram for Making End Pieces of Letter-drop.
Fig. 330.—Diagram for Making Front Piece of Letter-drop.

Making the Sides, Ends, and Bottom of the mail-box, with the dimensions of every portion marked upon them. Use a ruler with which to guide your pencil in drawing the straight lines, and a compass or the rim of a 9-inch plate for describing the arcs for the round tops of the end pieces. You will see that the front, one end, and the bottom are made in one piece, and that the back, other end, and a second bottom (to make that portion doubly strong) are cut from another piece.


The Home-made Mail-box Strapped to the Face of a Door.

Fig. 325.—The Home-made Mail-box Strapped to the Face of a Door.

The Home-made Mail-box Strapped to a Chair Back.

Fig. 326.—The Home-made Mail-box Strapped to a Chair Back.


[Pg 207]
The Sides, Ends, and Bottom folded ready to be put Together.

Fig. 331.—The Sides, Ends, and Bottom folded ready to be put Together.

The dotted lines upon the diagram indicate where the cardboard should be folded. Figure 331 shows the sides, ends, and bottom folded ready to be put together. Turn the flaps inside, and glue them to the end pieces, and glue the two bottom pieces together; also sew the cardboard with a double thread to make the joining doubly secure.

Letter-drop.

Fig. 332.—Top, showing how Portion is Bent up for Back of Letter-drop.
Fig. 333.—Ends of Letter-drop.
Fig. 334.—Front of Letter-drop.
Fig. 335.—Top, with Letter-drop Completed.

The Top of the Box—the diagram for the cutting of which is shown in Fig. 328—has a piece 3 by 7 inches cut out on all but one long side, and bent up to form the top of

The Letter-drop (Fig. 332). The diagram for the ends of the letter-drop is shown in Fig. 329, and for the front in Fig. 330; Fig. 333 shows how cloth flaps are glued to the end piece; and Fig. 335 [Pg 208] shows how the end pieces are fastened to the top of the box by means of these flaps. Glue a strip of cloth to each side of the lower edge of the letter-drop front piece for hinges (Fig. 334), and glue one to the inside and the other to the outside of the top of the box (Fig. 335). Attach rubber-bands to the front and ends of the drop to make it spring shut. Glue and sew the top of the box to the flaps provided on the front and back for the purpose.

Collection-drop.

Fig. 336.—Diagram for Making Collection-drop.
Fig. 337.—How the Collection-drop is Folded.
Fig. 338.—The Collection-drop Hinged in Place.

Figure 336 shows the diagram for

The Collection-drop, and Fig. 337 how it looks folded. Hinge the drop to the box with a cloth strip (Fig. 338).

Reinforcement. When the work has been finished thus far, cut a number of strips of muslin 1 inch wide and reinforce the corners with them. Then take the 2-yard length of tape, which you procured, and sew it to the back of the box to hang it up by.

[Pg 209]

Covering the Box. Silver paper makes the nicest finish for the mail-box, and can be bought of a stationer; but you may paint the cardboard with aluminum radiator paint instead if you prefer. If you use silver paper, stick it on with flour paste.

After the paper or paint has dried, paste

A Collection Schedule Card upon the front of the box. You will need, also, to

Letter the words, "Pull Down," "Letters," etc., where they are shown in the illustrations.

Hang up the Mail-box by means of its tape strap, within easy reach, upon the face of a door (Fig. 325), or to the back of a chair (Fig. 36).

For a Mail-bag use a school-book bag, or make one just like a real postman's out of brown denim or cambric. Letter "U. S. Mail" upon the bag with black paint, or cut the letters from black or white muslin and glue them in place. Provide a long strap to reach over the postman's shoulder.

The Way to Play Post-Office is for several children to attend to the writing of letters and wrapping of parcels, another to play mail clerk, who puts the post-marks on the mail and sorts it out into "routes" and another to play postman.

Canceled stamps from old letters may be re-used on the play letters, and a rubber-stamp dater such as they sell at the stationer's for 10 cents may be used for printing the post-marks.


[Pg 210]

CHAPTER XXI

A HOME-MADE REFLECTOSCOPE

Reflectoscope.

Fig. 339.—The Complete Reflectoscope.
Fig. 340.—Detail of Ventilator Top.

This reflecting lantern, shown completed in Fig. 339, is more magical in its operation than a magic-lantern is, because, instead of projecting through transparent slides, it reflects opaque pictures. That makes it possible to use magazine and newspaper pictures, post cards, and photograph prints. You may reflect a greatly enlarged picture of the movements of your watch, and by placing your face against the opening in the reflectoscope, you may show a view of your [Pg 211] mouth opening and closing, giant size. The ease with which slides are obtained makes this a desirable lantern to own.

Plan of Reflectoscope.

Fig. 341.—Plan of Reflectoscope.

The Material. You must get a box about 10 by 10 by 20 inches in size for the case of the reflectoscope, two oil-lamps, or two 16 or 32 candle-power electric lamps with the parts necessary for connecting them to the electric lighting circuit, three 1-lb. baking-powder cans and two tomato cans, two pieces of tin about 6 by 10 inches in size, and a lens from a camera, field glass, opera glass, magic-lantern or bicycle-lamp.

The bottom of the box will be the front of the reflectoscope.

Cross-section of Reflectoscope.

Fig. 342.—Cross-section of Reflectoscope.

Cut the Lens Opening through this, at the center of its length, and a trifle above the center of its width. Make the hole a trifle larger than the lens.

[Pg 212]

Cut Ventilator Holes 3 inches in diameter through the uppermost side of the box, near to the ends and bottom.

Figures 341 and 342 show

The Interior Arrangement of the reflectoscope. Place the lamps in the corners of the box, next to the front, and tack in back of them the pieces of tin for reflectors (A, Figs. 341 and 342). Bend the reflectors to the curve shown.

If Oil Lamps are Used, their tops will project through the ventilation holes, as shown in Fig. 342. These openings must be inclosed with

A Hood which will Conceal the Light, yet allow the heat to escape. The most satisfactory arrangement is that shown in Figs. 339 and Fig. 342. A baking-powder can with its bottom removed (B) is slipped over the lamp chimney and fitted into the ventilation hole; then a tomato-can (C) is inverted over the top of the can and fastened in the slotted ends of three wooden peg stilts (D, Fig. 340), and the pegs are fitted into holes made in the top of the box (Figs. 339 and 342). Fasten the can in the slots of the stilts with tacks (Fig. 340).

If Electric Light is Used, the hooded ventilators may be omitted. Any boy who understands the wiring of electric-lamp sockets, plugs, and drop-cord will know how to wire up the reflectoscope.

Mount the Lens in a can or mailing-tube jacket (Fig. 343). If you use a can, remove the bottom. If the lens is smaller in diameter, make a band of cardboard strips to fit around the edge, as shown in Fig. 344, and glue these [Pg 213] strips to the inside of the can or mailing-tube. The lens jacket should fit loosely enough in the reflectoscope box opening so it will slide back and forth for focusing. Make a tin collar to fit around the jacket, and tack it to the front of the box, to prevent light from escaping (Fig. 339).

Before putting on the back of the reflectoscope box,

Putty up all Cracks between the boards in the top and front, to make the box light-tight; then

=Paint the Inside of the Box= and the cover boards with lamp-black thinned with turpentine, so there will be no reflections other than those produced by the lamp reflectors and the picture.

Reflectoscope.

Figs. 343 and 344.—Details of Lens Mounting.
Fig. 345.—View of Back of Reflectoscope.
Fig. 346.—Detail of Post Card Holder.

Nail the Back Boards in Place, leaving an opening about 7 inches square directly opposite the lens. Cut a piece of board to fit this opening (E, Fig. 345) for

[Pg 214]

The Picture Holder, and hinge it in place. A frame for post cards to slide in should be fastened to the picture holder, as shown in Fig. 346. First nail strips F to board E, then tack strips G to them so their edges project over strips F. A little wooden button (H, Fig. 345) will fasten the holder board shut while each picture is being projected.

The Lens Reverses Pictures in projecting them, and in order to have them projected right-side up on the screen it is necessary to slip them into the holder frame upside down.

Adjustments. After you have built your reflectoscope, you may find it does not throw sharply-defined images upon your projection screen. In that case you must readjust the focus of the lens, the curve of the lamp reflectors, and the distance between the lens and the projection screen, until the best possible results are obtained. Inasmuch as the positions will vary with different lenses, it is impossible for me to give any hard and fast measurements. You will have to determine the distances yourself.

The stronger the light, the brighter the projected image will be; therefore, use the strongest light you can get, and place the lantern not more than five feet away from the screen.

Unless you use an anastigmat lens such as the better grade of cameras are fitted with, you will discover that the corners of pictures are indistinct when you have brought the centers to a sharp focus. This indistinctness can be corrected to a great extent by blocking out the holder to curve the post cards and other pictures so that the ends are closer to the lens than the center is.


[Pg 215]

INDEX

Quick Links to Index Letters
[A] [B] [C] [D] [E] [F] [G] [H] [I]
[J] [K] [L] [M] [N] [O] [P] [R] [S]
[T] [V] [W]
A
Airships," clockwork "flying, 102.
Animal targets for toy shooting gallery, 142.
Apartment building, doll, 165.
Automobile, clockwork, 104.
Automobile delivery wagon, clockwork, 112;
cigar-box, 192.

B
Baby carriage, doll, 196.
Ballast, toy elevator, 63.
Balusters, doll-house stairway, 154.
Battery, a bi-chromate of potash, 135.
Bead portieres, doll-house, 157.
Beds, doll-house, 183, 187.
Bi-chromate battery fluid, 136.
Boat, toy motor-, 33.
Box-kite, 12.
Bridle, Malay kite, 12;
box-kite, 16.
Buzz-saw whirligig, 71.

C
Cables, toy elevator, 61, 69;
electro-magnet derrick, 123.
Cardboard toys, 196.
Carpets, doll-house, 157.
Carriage, doll baby, 196.
Cars, toy railway, 50;
gondola, 52;
street, 52;
other forms of, 56;
elevator, 60, 68, 150;
Ferris wheel, 99.
Cart, cigar-box, 192;
cardboard, 199.
Chairs, cigar-box, 176, 194, 195;
cardboard, 203.
Chauffeur for clockwork automobile, 111.
Cigar-boxes, to prepare, for use, 175.
Cigar-box toys, 191.
Clock, a grandfather's, 182.
Clock wheel top, 81.
Clockwork automobile, 104.
Clockwork automobile delivery wagon, 112.
Clockwork Ferris wheel, 96.
Clockwork "flying airships," 102.
Clockwork merry-go-round, 89.
Clockwork motors, 89, 97;
increasing speed of, 103.
Clockwork railway, 116.
Clockwork toys, 88.
Clog-dancer, toy, 72.
Control, toy elevator, 65.
Cosey-corner, doll-house, 158.
Counter-balance, 61, 69.
Cradle, doll's, 195.
Cricket-rattle, 75.
Curtains, doll-house, 157.

D
Decorating, doll-house, 156;
doll apartment, 173.
Delivery-wagon, clockwork automobile, 112;
cigar-box, 192.
Derrick, electro-magnet, 117.
Doll apartment building, 165.
Doll-house, 145;
furnishing the, 156.
Dresser, doll, 185, 189.

E
Egg-beater motor-winder, 31.
Electrical toys, 117.
Electric motor truck, toy, 132.

[Pg 216]

Electro-magnet, 118.
Electro-magnet derrick, 117.
Elevator, model aeroplane, 25.
Elevators, toy, 59.
Elevator, toy office building, 59;
an outdoor, 67;
doll-house, 148.
Enlarging by squares, 175.
Express-wagon, cigar-box, 192.

F
Feed-hoist, toy stable, 163.
Feed-troughs, toy stable, 162.
Ferris wheel, clockwork, 96.
Fin, model aeroplane, 26.
Fireplace, doll apartment, 171.
Fixtures, doll apartment lighting, 171.
Floors, toy office building, 59;
hardwood, for doll-house, 157.
"Flying airships," clockwork, 102.
Flying-line for kites, 12.
Folding-bed, doll, 61.
Furniture, cigar-box, 174, 194;
cardboard, 203.
Fuselage, model aeroplane, 22.

G
Gable-ends, doll-house, 151;
toy stable, 161.
Garage, toy (_see_ Stable).
Gondola car, 52.
Grandfather's clock, 182.
Guides, toy elevator, 61, 69, 150.

H
Hand-rail, doll-house stairway, 153.
Horses for merry-go-round, cardboard, 86, 92.
House, doll-, 145;
furnishing the doll-, 156;
doll apartment, 165;
furniture for doll-, 174, 194, 203.

I
Induction-coil, 126.
Interrupter, shocking-machine, 129.
J
Jack-in-the-box, cigar-box, 193.
Jumping-Jack, 74.
Jumping-Jack operated by windmill, 7.

K
Kite, a Malay, 9;
a box-, 12.
Kite-reel, a hand, 17;
a body, 19.

L
Launching a model aeroplane, 31.
Lighting fixtures, doll apartment, 171.

M
Magnet, electro-, 118.
Mail-bag, toy, 209.
Mail-box, toy, 205.
Malay kite, 9.
Mantel, doll apartment, 171.
Mechanical toys, 71.
Merry-go-round, top, 85; clockwork, 89;
cardboard, 201.
Mirror, doll-house, 181.
Mission furniture, doll, 174.
Model aeroplane, 21;
propellers for, 27;
motors for, 29;
motor-winder for, 31;
launching a, 31.
Motor-boat, toy, 33.
Motors, clockwork, 89, 97;
increasing speed of, 103.
Motors, model aeroplane, 29;
winder for, 31.
Motors, water-(_see_ Water-motor).
Motor, toy motor-boat, 37.
Motor truck, toy electric, 132.
Motor-winder, egg-beater, 31.

N
Newel-post, doll-house stairway, 153.

O
Office building elevator, toy, 59.

[Pg 217]

P
Partitions, toy office building, 60;
doll-house, 145;
stable stall, 162.
Pictures, doll-house, 158.
Pinion-wheel windmill, 2.
Pinwheel, a paper, 1.
Pistol, toy, card-shooting, 143.
Planes, model aeroplane, 24.
Portieres, doll-house, 157.
Post-office with mail-box, to play, 209.
Primary coil, induction-coil, 127.
Propeller-shaft, model aeroplane, 29;
toy motor-boat, 35.
Propellers, model aeroplane, 27.
Propeller, toy motor-boat, 35.
Pulley-wheel, 42, 45, 62, 151.

R
Race-track, spinning-top, 82.
Railway, toy, 47;
trolley-line for, 47;
power for, 49;
tracks for, 50;
cars for, 50;
gondola car for, 52;
street car for, 52;
other cars for, 56;
operation of, 56;
station for, 57;
clockwork, 116.
Rattle, cricket, 75.
Reel, a hand kite-, 17;
a body kite-, 19.
Reflectoscope, 210.
Riders for merry-go-round, 86, 94.
Risers, doll-house stairway, 153.
Rugs, doll-house, 157.
Rug-tack top, 82.

S
Secondary-coil, induction-coil, 127.
Settee, doll, 178.
Shocking machine, 124.
Shoe-polish can top, 83.
Shooting gallery, toy, 140.
Side-board, doll, 180.
Sleighs for merry-go-round, cardboard, 93.
Sofa, doll, 203.
Spinning-top race-track, 82.
Spiral top, 85.
Spool and cardboard toys, 196.
Spool top, 82.
Stable, toy, 160.
Station for toy railway, 57.
Straw portieres, doll-house, 158.
Street car, toy, 52.
Swing, doll, 202.
Switch, electro-magnet derrick, 121.

T
Tables, cigar-box, 179, 180, 194;
cardboard, 204.
Tack top, 82.
Targets, toy shooting gallery, 142.
Teeter-board, 201.
Thrust bearings, 23, 35.
Top, clockwork, 81;
rug-tack, 82;
spool, 82;
spinning, racetrack, 82;
shoe-polish can, 83;
spiral, 85;
merry-go-round, 85.
Tops, 79.
Track, spinning-top race, 82.
Tracks, toy railway, 50.
Treads, doll-house stairway, 153.
Trolley-line, toy railway, 47.
Troughs, toy stable feed-, 162.
Truck, toy electric motor, 132.
Turtle toy, 76.

V
Varnish-can water-motor, 38.

W
Wagon, cigar-box express-, 192.
Wardrobe, doll, 190.
Wash-stand, doll, 186.
Water-motor, a varnish-can, 38;
another form of, 42.
Wheel, clockwork Ferris, 96.
Wheel, water-motor, 39, 43.
Whirligig, a buzz-saw, 71.
Winder, model aeroplane motor-, 31.
Windlass, electro-magnet derrick, 123.
Windmill, a paper, 1;
a pinion-wheel, 12;
a four-blade, 4;
an eight-blade, 5;
jumping-Jack operated by a, 7.
Window-shades, doll-house, 157.







End of Project Gutenberg's Home-made Toys for Girls and Boys, by A. Neely Hall

*** END OF THIS PROJECT GUTENBERG EBOOK HOME-MADE TOYS FOR GIRLS AND BOYS ***

***** This file should be named 41669-h.htm or 41669-h.zip *****
This and all associated files of various formats will be found in:
        http://www.gutenberg.org/4/1/6/6/41669/

Produced by Chris Curnow, Matthias Grammel and the Online
Distributed Proofreading Team at http://www.pgdp.net (This
file was produced from images generously made available
by The Internet Archive)


Updated editions will replace the previous one--the old editions
will be renamed.

Creating the works from public domain print editions means that no
one owns a United States copyright in these works, so the Foundation
(and you!) can copy and distribute it in the United States without
permission and without paying copyright royalties.  Special rules,
set forth in the General Terms of Use part of this license, apply to
copying and distributing Project Gutenberg-tm electronic works to
protect the PROJECT GUTENBERG-tm concept and trademark.  Project
Gutenberg is a registered trademark, and may not be used if you
charge for the eBooks, unless you receive specific permission.  If you
do not charge anything for copies of this eBook, complying with the
rules is very easy.  You may use this eBook for nearly any purpose
such as creation of derivative works, reports, performances and
research.  They may be modified and printed and given away--you may do
practically ANYTHING with public domain eBooks.  Redistribution is
subject to the trademark license, especially commercial
redistribution.



*** START: FULL LICENSE ***

THE FULL PROJECT GUTENBERG LICENSE
PLEASE READ THIS BEFORE YOU DISTRIBUTE OR USE THIS WORK

To protect the Project Gutenberg-tm mission of promoting the free
distribution of electronic works, by using or distributing this work
(or any other work associated in any way with the phrase "Project
Gutenberg"), you agree to comply with all the terms of the Full Project
Gutenberg-tm License available with this file or online at
  www.gutenberg.org/license.


Section 1.  General Terms of Use and Redistributing Project Gutenberg-tm
electronic works

1.A.  By reading or using any part of this Project Gutenberg-tm
electronic work, you indicate that you have read, understand, agree to
and accept all the terms of this license and intellectual property
(trademark/copyright) agreement.  If you do not agree to abide by all
the terms of this agreement, you must cease using and return or destroy
all copies of Project Gutenberg-tm electronic works in your possession.
If you paid a fee for obtaining a copy of or access to a Project
Gutenberg-tm electronic work and you do not agree to be bound by the
terms of this agreement, you may obtain a refund from the person or
entity to whom you paid the fee as set forth in paragraph 1.E.8.

1.B.  "Project Gutenberg" is a registered trademark.  It may only be
used on or associated in any way with an electronic work by people who
agree to be bound by the terms of this agreement.  There are a few
things that you can do with most Project Gutenberg-tm electronic works
even without complying with the full terms of this agreement.  See
paragraph 1.C below.  There are a lot of things you can do with Project
Gutenberg-tm electronic works if you follow the terms of this agreement
and help preserve free future access to Project Gutenberg-tm electronic
works.  See paragraph 1.E below.

1.C.  The Project Gutenberg Literary Archive Foundation ("the Foundation"
or PGLAF), owns a compilation copyright in the collection of Project
Gutenberg-tm electronic works.  Nearly all the individual works in the
collection are in the public domain in the United States.  If an
individual work is in the public domain in the United States and you are
located in the United States, we do not claim a right to prevent you from
copying, distributing, performing, displaying or creating derivative
works based on the work as long as all references to Project Gutenberg
are removed.  Of course, we hope that you will support the Project
Gutenberg-tm mission of promoting free access to electronic works by
freely sharing Project Gutenberg-tm works in compliance with the terms of
this agreement for keeping the Project Gutenberg-tm name associated with
the work.  You can easily comply with the terms of this agreement by
keeping this work in the same format with its attached full Project
Gutenberg-tm License when you share it without charge with others.

1.D.  The copyright laws of the place where you are located also govern
what you can do with this work.  Copyright laws in most countries are in
a constant state of change.  If you are outside the United States, check
the laws of your country in addition to the terms of this agreement
before downloading, copying, displaying, performing, distributing or
creating derivative works based on this work or any other Project
Gutenberg-tm work.  The Foundation makes no representations concerning
the copyright status of any work in any country outside the United
States.

1.E.  Unless you have removed all references to Project Gutenberg:

1.E.1.  The following sentence, with active links to, or other immediate
access to, the full Project Gutenberg-tm License must appear prominently
whenever any copy of a Project Gutenberg-tm work (any work on which the
phrase "Project Gutenberg" appears, or with which the phrase "Project
Gutenberg" is associated) is accessed, displayed, performed, viewed,
copied or distributed:

This eBook is for the use of anyone anywhere at no cost and with
almost no restrictions whatsoever.  You may copy it, give it away or
re-use it under the terms of the Project Gutenberg License included
with this eBook or online at www.gutenberg.org

1.E.2.  If an individual Project Gutenberg-tm electronic work is derived
from the public domain (does not contain a notice indicating that it is
posted with permission of the copyright holder), the work can be copied
and distributed to anyone in the United States without paying any fees
or charges.  If you are redistributing or providing access to a work
with the phrase "Project Gutenberg" associated with or appearing on the
work, you must comply either with the requirements of paragraphs 1.E.1
through 1.E.7 or obtain permission for the use of the work and the
Project Gutenberg-tm trademark as set forth in paragraphs 1.E.8 or
1.E.9.

1.E.3.  If an individual Project Gutenberg-tm electronic work is posted
with the permission of the copyright holder, your use and distribution
must comply with both paragraphs 1.E.1 through 1.E.7 and any additional
terms imposed by the copyright holder.  Additional terms will be linked
to the Project Gutenberg-tm License for all works posted with the
permission of the copyright holder found at the beginning of this work.

1.E.4.  Do not unlink or detach or remove the full Project Gutenberg-tm
License terms from this work, or any files containing a part of this
work or any other work associated with Project Gutenberg-tm.

1.E.5.  Do not copy, display, perform, distribute or redistribute this
electronic work, or any part of this electronic work, without
prominently displaying the sentence set forth in paragraph 1.E.1 with
active links or immediate access to the full terms of the Project
Gutenberg-tm License.

1.E.6.  You may convert to and distribute this work in any binary,
compressed, marked up, nonproprietary or proprietary form, including any
word processing or hypertext form.  However, if you provide access to or
distribute copies of a Project Gutenberg-tm work in a format other than
"Plain Vanilla ASCII" or other format used in the official version
posted on the official Project Gutenberg-tm web site (www.gutenberg.org),
you must, at no additional cost, fee or expense to the user, provide a
copy, a means of exporting a copy, or a means of obtaining a copy upon
request, of the work in its original "Plain Vanilla ASCII" or other
form.  Any alternate format must include the full Project Gutenberg-tm
License as specified in paragraph 1.E.1.

1.E.7.  Do not charge a fee for access to, viewing, displaying,
performing, copying or distributing any Project Gutenberg-tm works
unless you comply with paragraph 1.E.8 or 1.E.9.

1.E.8.  You may charge a reasonable fee for copies of or providing
access to or distributing Project Gutenberg-tm electronic works provided
that

- You pay a royalty fee of 20% of the gross profits you derive from
     the use of Project Gutenberg-tm works calculated using the method
     you already use to calculate your applicable taxes.  The fee is
     owed to the owner of the Project Gutenberg-tm trademark, but he
     has agreed to donate royalties under this paragraph to the
     Project Gutenberg Literary Archive Foundation.  Royalty payments
     must be paid within 60 days following each date on which you
     prepare (or are legally required to prepare) your periodic tax
     returns.  Royalty payments should be clearly marked as such and
     sent to the Project Gutenberg Literary Archive Foundation at the
     address specified in Section 4, "Information about donations to
     the Project Gutenberg Literary Archive Foundation."

- You provide a full refund of any money paid by a user who notifies
     you in writing (or by e-mail) within 30 days of receipt that s/he
     does not agree to the terms of the full Project Gutenberg-tm
     License.  You must require such a user to return or
     destroy all copies of the works possessed in a physical medium
     and discontinue all use of and all access to other copies of
     Project Gutenberg-tm works.

- You provide, in accordance with paragraph 1.F.3, a full refund of any
     money paid for a work or a replacement copy, if a defect in the
     electronic work is discovered and reported to you within 90 days
     of receipt of the work.

- You comply with all other terms of this agreement for free
     distribution of Project Gutenberg-tm works.

1.E.9.  If you wish to charge a fee or distribute a Project Gutenberg-tm
electronic work or group of works on different terms than are set
forth in this agreement, you must obtain permission in writing from
both the Project Gutenberg Literary Archive Foundation and Michael
Hart, the owner of the Project Gutenberg-tm trademark.  Contact the
Foundation as set forth in Section 3 below.

1.F.

1.F.1.  Project Gutenberg volunteers and employees expend considerable
effort to identify, do copyright research on, transcribe and proofread
public domain works in creating the Project Gutenberg-tm
collection.  Despite these efforts, Project Gutenberg-tm electronic
works, and the medium on which they may be stored, may contain
"Defects," such as, but not limited to, incomplete, inaccurate or
corrupt data, transcription errors, a copyright or other intellectual
property infringement, a defective or damaged disk or other medium, a
computer virus, or computer codes that damage or cannot be read by
your equipment.

1.F.2.  LIMITED WARRANTY, DISCLAIMER OF DAMAGES - Except for the "Right
of Replacement or Refund" described in paragraph 1.F.3, the Project
Gutenberg Literary Archive Foundation, the owner of the Project
Gutenberg-tm trademark, and any other party distributing a Project
Gutenberg-tm electronic work under this agreement, disclaim all
liability to you for damages, costs and expenses, including legal
fees.  YOU AGREE THAT YOU HAVE NO REMEDIES FOR NEGLIGENCE, STRICT
LIABILITY, BREACH OF WARRANTY OR BREACH OF CONTRACT EXCEPT THOSE
PROVIDED IN PARAGRAPH 1.F.3.  YOU AGREE THAT THE FOUNDATION, THE
TRADEMARK OWNER, AND ANY DISTRIBUTOR UNDER THIS AGREEMENT WILL NOT BE
LIABLE TO YOU FOR ACTUAL, DIRECT, INDIRECT, CONSEQUENTIAL, PUNITIVE OR
INCIDENTAL DAMAGES EVEN IF YOU GIVE NOTICE OF THE POSSIBILITY OF SUCH
DAMAGE.

1.F.3.  LIMITED RIGHT OF REPLACEMENT OR REFUND - If you discover a
defect in this electronic work within 90 days of receiving it, you can
receive a refund of the money (if any) you paid for it by sending a
written explanation to the person you received the work from.  If you
received the work on a physical medium, you must return the medium with
your written explanation.  The person or entity that provided you with
the defective work may elect to provide a replacement copy in lieu of a
refund.  If you received the work electronically, the person or entity
providing it to you may choose to give you a second opportunity to
receive the work electronically in lieu of a refund.  If the second copy
is also defective, you may demand a refund in writing without further
opportunities to fix the problem.

1.F.4.  Except for the limited right of replacement or refund set forth
in paragraph 1.F.3, this work is provided to you 'AS-IS', WITH NO OTHER
WARRANTIES OF ANY KIND, EXPRESS OR IMPLIED, INCLUDING BUT NOT LIMITED TO
WARRANTIES OF MERCHANTABILITY OR FITNESS FOR ANY PURPOSE.

1.F.5.  Some states do not allow disclaimers of certain implied
warranties or the exclusion or limitation of certain types of damages.
If any disclaimer or limitation set forth in this agreement violates the
law of the state applicable to this agreement, the agreement shall be
interpreted to make the maximum disclaimer or limitation permitted by
the applicable state law.  The invalidity or unenforceability of any
provision of this agreement shall not void the remaining provisions.

1.F.6.  INDEMNITY - You agree to indemnify and hold the Foundation, the
trademark owner, any agent or employee of the Foundation, anyone
providing copies of Project Gutenberg-tm electronic works in accordance
with this agreement, and any volunteers associated with the production,
promotion and distribution of Project Gutenberg-tm electronic works,
harmless from all liability, costs and expenses, including legal fees,
that arise directly or indirectly from any of the following which you do
or cause to occur: (a) distribution of this or any Project Gutenberg-tm
work, (b) alteration, modification, or additions or deletions to any
Project Gutenberg-tm work, and (c) any Defect you cause.


Section  2.  Information about the Mission of Project Gutenberg-tm

Project Gutenberg-tm is synonymous with the free distribution of
electronic works in formats readable by the widest variety of computers
including obsolete, old, middle-aged and new computers.  It exists
because of the efforts of hundreds of volunteers and donations from
people in all walks of life.

Volunteers and financial support to provide volunteers with the
assistance they need are critical to reaching Project Gutenberg-tm's
goals and ensuring that the Project Gutenberg-tm collection will
remain freely available for generations to come.  In 2001, the Project
Gutenberg Literary Archive Foundation was created to provide a secure
and permanent future for Project Gutenberg-tm and future generations.
To learn more about the Project Gutenberg Literary Archive Foundation
and how your efforts and donations can help, see Sections 3 and 4
and the Foundation information page at www.gutenberg.org


Section 3.  Information about the Project Gutenberg Literary Archive
Foundation

The Project Gutenberg Literary Archive Foundation is a non profit
501(c)(3) educational corporation organized under the laws of the
state of Mississippi and granted tax exempt status by the Internal
Revenue Service.  The Foundation's EIN or federal tax identification
number is 64-6221541.  Contributions to the Project Gutenberg
Literary Archive Foundation are tax deductible to the full extent
permitted by U.S. federal laws and your state's laws.

The Foundation's principal office is located at 4557 Melan Dr. S.
Fairbanks, AK, 99712., but its volunteers and employees are scattered
throughout numerous locations.  Its business office is located at 809
North 1500 West, Salt Lake City, UT 84116, (801) 596-1887.  Email
contact links and up to date contact information can be found at the
Foundation's web site and official page at www.gutenberg.org/contact

For additional contact information:
     Dr. Gregory B. Newby
     Chief Executive and Director
     gbnewby@pglaf.org

Section 4.  Information about Donations to the Project Gutenberg
Literary Archive Foundation

Project Gutenberg-tm depends upon and cannot survive without wide
spread public support and donations to carry out its mission of
increasing the number of public domain and licensed works that can be
freely distributed in machine readable form accessible by the widest
array of equipment including outdated equipment.  Many small donations
($1 to $5,000) are particularly important to maintaining tax exempt
status with the IRS.

The Foundation is committed to complying with the laws regulating
charities and charitable donations in all 50 states of the United
States.  Compliance requirements are not uniform and it takes a
considerable effort, much paperwork and many fees to meet and keep up
with these requirements.  We do not solicit donations in locations
where we have not received written confirmation of compliance.  To
SEND DONATIONS or determine the status of compliance for any
particular state visit www.gutenberg.org/donate

While we cannot and do not solicit contributions from states where we
have not met the solicitation requirements, we know of no prohibition
against accepting unsolicited donations from donors in such states who
approach us with offers to donate.

International donations are gratefully accepted, but we cannot make
any statements concerning tax treatment of donations received from
outside the United States.  U.S. laws alone swamp our small staff.

Please check the Project Gutenberg Web pages for current donation
methods and addresses.  Donations are accepted in a number of other
ways including checks, online payments and credit card donations.
To donate, please visit:  www.gutenberg.org/donate


Section 5.  General Information About Project Gutenberg-tm electronic
works.

Professor Michael S. Hart was the originator of the Project Gutenberg-tm
concept of a library of electronic works that could be freely shared
with anyone.  For forty years, he produced and distributed Project
Gutenberg-tm eBooks with only a loose network of volunteer support.

Project Gutenberg-tm eBooks are often created from several printed
editions, all of which are confirmed as Public Domain in the U.S.
unless a copyright notice is included.  Thus, we do not necessarily
keep eBooks in compliance with any particular paper edition.

Most people start at our Web site which has the main PG search facility:

     www.gutenberg.org

This Web site includes information about Project Gutenberg-tm,
including how to make donations to the Project Gutenberg Literary
Archive Foundation, how to help produce our new eBooks, and how to
subscribe to our email newsletter to hear about new eBooks.