The Project Gutenberg EBook of The Preparation of Illustrations for
Reports of the United States Geologi, by John L. Ridgway
This eBook is for the use of anyone anywhere at no cost and with
almost no restrictions whatsoever. You may copy it, give it away or
re-use it under the terms of the Project Gutenberg License included
with this eBook or online at www.gutenberg.org/license
Title: The Preparation of Illustrations for Reports of the United States Geological Survey
With Brief Descriptions of Processes of Reproduction
Author: John L. Ridgway
Release Date: July 16, 2013 [EBook #43232]
Language: English
Character set encoding: UTF-8
*** START OF THIS PROJECT GUTENBERG EBOOK THE PREPARATION OF ILLUSTRATIONS ***
Produced by Tom Cosmas from materials scanned in and
obtained from The Internet Archive.
DEPARTMENT OF THE INTERIOR.
John Barton Payne, Secretary
United States Geological Survey
George Otis Smith, Director
THE
PREPARATION OF ILLUSTRATIONS
FOR REPORTS OF THE
UNITED STATES GEOLOGICAL SURVEY
WITH BRIEF DESCRIPTIONS OF PROCESSES
OF REPRODUCTION
BY
JOHN L. RIDGWAY
WASHINGTON
GOVERNMENT PRINTING OFFICE
1920
| THE PREPARATION OF ILLUSTRATIONS FOR REPORTS OF THE UNITED STATES GEOLOGICAL SURVEY BY JOHN L. RIDGWAY |
| Page. | |
| Part I. Preparation by Authors. | |
| Introduction | 7 |
| Purpose and value of illustrations | 8 |
| Selection and approval of illustrations | 8 |
| Submittal of illustrations | 10 |
| Kinds of illustrations | 10 |
| Sizes of illustrations | 11 |
| Subdivisions of plates and figures | 12 |
| Preparation of copy by authors | 12 |
| Character of original material | 12 |
| Preliminary preparation of maps | 13 |
| Material available for base maps | 14 |
| Basic features of maps | 17 |
| Standard scales | 18 |
| Orientation of maps | 18 |
| Projection | 18 |
| Explanation | 19 |
| Titles of maps and other illustrations | 19 |
| Symbols used on maps | 20 |
| General features | 20 |
| Letter symbols | 20 |
| Oil and gas symbols | 21 |
| Symbols for use on maps showing features of ground water | 21 |
| Black-line conventions | 23 |
| Materials used in preparing maps | 23 |
| Paper | 23 |
| Bristol board | 24 |
| Tracing linen | 24 |
| Inks | 25 |
| Drawing pens | 25 |
| Pencils | 25 |
| Rubber erasers and cleaners | 25 |
| Colored pencils and crayons | 26 |
| Water colors | 26 |
| Japanese transparent water colors | 26 |
| Coloring geologic maps | 27 |
| Diagrams | 28 |
| Essential features | 28 |
| Plans of mine workings | 29 |
| Sections | 29 |
| Lithologic symbols | 32 |
| Use of photographs as illustrations | 32 |
| Essential features | 32 |
| Copyrighted photographs | 33 [4] |
| Sources of photographs | 34 |
| Lending original photographs and drawings | 34 |
| Unpublished photographs | 34 |
| Specimens | 34 |
| General requirements | 34 |
| Borrowed and fragile specimens | 35 |
| Transmittal of paleontologic specimens | 35 |
| Making up plates | 36 |
| Reuse of illustrations | 37 |
| Approval of finished illustrations | 38 |
| Revision of illustrations | 38 |
| Submittal of proofs | 38 |
| Proof-reading illustrations | 39 |
| General considerations | 39 |
| Part II. Preparation by Draftsmen. | |
| General directions | 41 |
| Instruments | 42 |
| Classification of material | 42 |
| Preparation of maps | 43 |
| Projection | 43 |
| Details of base maps | 45 |
| Transferring or copying | 46 |
| Tracing | 46 |
| Celluloid transferring | 47 |
| Sketching by reticulation | 47 |
| The "shadowless drafting table" | 47 |
| Topographic features | 48 |
| Relief | 48 |
| Hydrography | 51 |
| Cultural features | 52 |
| Lettering | 53 |
| General directions | 53 |
| Lettering by type | 54 |
| Abbreviations | 55 |
| Names of railroads | 57 |
| Make-up of maps | 57 |
| Forms for certain features | 57 |
| Border | 57 |
| Title | 58 |
| Explanation | 58 |
| Graphic scales for maps | 59 |
| Symbols | 61 |
| Areal patterns for black and white maps | 61 |
| Standard colors for geologic maps | 63 |
| Reduction or enlargement of maps | 63 |
| Diagrams | 64 |
| Sections | 64 |
| Plans and cross sections of mines | 65 [5] |
| Drawings of specimens of rocks and fossils | 66 |
| Methods used | 66 |
| Brush and pencil drawings | 66 |
| Pen drawings | 67 |
| Retouching photographs of specimens | 68 |
| Landscape drawings from poor photographs | 68 |
| Pen drawings made over photographs | 68 |
| Brush drawings from poor photographs | 69 |
| Outdoor sketches | 69 |
| Drawings of crystals | 70 |
| Retouching photographs | 70 |
| Part III. Processes of Reproducing Illustrations. | |
| Methods employed | 72 |
| Photoengraving | 72 |
| General features | 72 |
| Zinc etching | 73 |
| Copper etching in relief | 75 |
| Half-tone engraving | 75 |
| Three-color half-tone process | 78 |
| Wax engraving (the cerotype process) | 80 |
| Wood engraving | 81 |
| Photogelatin processes | 82 |
| Lithography | 83 |
| Original process | 83 |
| Photolithography | 86 |
| Offset printing | 87 |
| Chromolithography | 87 |
| Engraving on stone and on copper | 89 |
| Appendix. | |
| Length of degrees of latitude and longitude | 91 |
| Metric system and equivalents | 92 |
| Geologic eras, periods, systems, epochs, and series | 92 |
| Chemical elements and symbols | 93 |
| Greek alphabet | 93 |
| Roman numerals | 93 |
| Mathematical signs | 94 |
| Names of rocks | 94 |
ILLUSTRATIONS.
| Page. | |||
| Plate | I. | Methods of inserting plates and figures | 10 |
| II. | Symbols used on geologic maps, economic maps, and mine plans | 20 | |
| III. | Lithologic symbols used in structure and columnar sections to represent different kinds of rock | 32 | |
| IV. | Symbols used on base maps | 52 | |
| V. | Reduction sheet used in lettering illustrations | 54 | |
| VI. | Half-tone prints showing effects produced by the use of six standard screens | 56 | |
| VII. | Details of the make-up of a geologic map | 58 | |
| VIII. | Patterns used to show distinctions between areas on black and white maps | 60 | |
| IX. | Diagrams and curves | 64 | |
| Figure | 1. | Diagrams showing principal, guide, and auxiliary meridians, standard and special parallels and correction lines, and system of numbering townships, ranges, and sections | 16 |
| 2. | Conventional lines used in preparing plans and diagrams of mine workings to distinguish different levels | 29 | |
| 3. | Section and perspective view showing relations of surface features to the different kinds of rocks and the structure of the beds | 30 | |
| 4. | Sections of coal beds | 31 | |
| 5. | Diagram illustrating method of projecting a map | 44 | |
| 6. | Methods of expressing relief by contour lines, by hachures, by shading on stipple board, and by a brush drawing | 49 | |
| 7. | Designs for bar scales | 60 | |
| 8. | Method of making a bar scale for a map of unknown scale | 60 | |
| 9. | Map bearing six areal line patterns | 62 | |
| 10. | Diagram showing method of marking maps for reduction or enlargement (for record) | 64 | |
| 11. | Structure section showing method of determining the succession of folds | 65 | |
THE PREPARATION OF ILLUSTRATIONS FOR REPORTS OF THE United STATES GEOLOGICAL SURVEY.
By John L. Ridgway.
Part I. Preparation By Authors.
There has been an obvious need in the Geological Survey of a paper devoted wholly to illustrations. No complete paper on the character, use, and mode of preparation of illustrations has been published by the Survey, though brief suggestions concerning certain features of their use have been printed in connection with other suggestions pertaining to publications. The present paper includes matter which it is hoped will be of service to authors in their work of making up original drafts of illustrations and to draftsmen who are using these originals in preparing more finished drawings, but it is not a technical treatise on drafting.
The effectiveness of illustrations does not depend entirely on good drawings nor on good reproduction; it may be due in large part to the inherent character of the rough material submitted. If this material is effective or striking the finished illustrations, if well made, will be equally effective and striking. Each step in the making of an illustration—first the preparation of the author's original or rough draft, next the final drawing, and last the reproduction—is closely related to the others, and each is dependent on the others for good results. If the material has been well handled at all three steps the resulting illustration should be above criticism; if it has been poorly handled at any one of the three the effectiveness of the illustration is either impaired or ruined.
A consideration of processes of reproduction is essential in the preparation of all illustrations, and the influence or effect of the process to be selected on the methods of preparing a drawing has seemed to warrant the presentation of brief descriptions of the processes usually employed by the Geological Survey. These descriptions include statements as to the kind of copy that is suitable for each process, the result produced by each, and the relative cost of the processes.
PURPOSE AND VALUE OF ILLUSTRATIONS.
An illustration in a report of the Geological Survey is not merely a picture having a remote bearing on the subject matter of the report; it must represent or explain something discussed or mentioned in order to become an illustration in the true sense of the term. The illustrations used in the Survey's reports are not employed for embellishment; the more pictorial kinds may be in some measure decorative, but decoration is distinctly not their primary purpose. The illustrations used in popular literature are designed to meet a public demand for ornament or attractiveness. Those used in scientific publications should be made plain and direct, without attempt to ornament or beautify. In the literature of science illustrations made by the reproduction of photographs or of explanatory diagrams or maps are intended simply to furnish greater illumination, and if the illustrations display photographic reality most statements or conclusions thus illuminated seem less open to dispute. A photograph may thus serve the double purpose of explanation and corroboration. The graphic expression of data and of details in a Survey report is intended to aid the reader in comprehending the report, and this is the prime advantage of its use, but it also enables the writer to omit from his text numerous descriptive details. It would generally be difficult without illustrations to present a clear picture of the geology of a region in its exact relations, and especially to describe adequately the form and the details of the structure of many fossils. The tasks of both the writer and the reader of reports on geology and kindred subjects are thus greatly facilitated by geologic maps, sections, paleontologic drawings, and illustrations of other kinds.
The responsibility for good and effective illustrations rests largely upon the author, who should select and plan his illustrations with a view to their utility in aiding the reader to understand his report.
SELECTION AND APPROVAL OF ILLUSTRATIONS.
There is no rule limiting the number of illustrations that may be used in a publication of the Geological Survey, but in selecting illustrations for a report an author may easily fall into the error of over-illustration. The number of diagrammatic drawings or of drawings that express the author's deductions is rarely in excess of the needs of a paper, but the number of photographs submitted is often excessive. The number of pages in a manuscript may be a factor in determining the proper number of illustrations, but as the need of illustrations varies greatly from paper to paper this factor alone is [9] not decisive. The tendency to overillustrate led the Director to issue the following order[1] governing the approval of illustrations:
[1] From Survey Order 63, Oct. 20, 1915.
The primary responsibility for the selection of illustrative material shall rest upon the author and the chief of the branch transmitting the report: No one knows the subject matter of the report better than its author, though a sympathetic critic is usually needed to correct the personal equation that may express itself In an excessive number of illustrations or the use of photographs into which no one but the field man himself can read what he wishes to illustrate. The approval by the chief of branch of the illustrations selected by the author will be taken as vouching for those illustrations as essential and adequate, and the scientific value of the illustrations will not be subject to review in the section of illustrations.
The chief of the section of illustrations shall decide the technical questions relating to the preparation of these illustrations for reproduction and may recommend the rejection of any that do not promise effective or economical reproduction. In the consideration of such questions, especially any relating to maps, the cooperation of the editor of geologic maps and chief engraver will be expected.
The judgment of an author as to the illustrative value of a photograph is likely to be biased by his knowledge of the features that are actually included in the view represented, not all of which may be shown clearly in the photograph; his knowledge of all the features enables him to see more in his picture than his readers will be able to recognize without detailed description. Photographs in which special or significant features are obscured by foliage or lost in hazy distance do not make acceptable illustrations, and the use of a picture that requires much description to make it illustrate reverses, in a measure, the relations of text and illustrations.
A photograph is not necessarily good for reproduction simply because it shows some particular feature to be illustrated; the quality of the print it will afford when reproduced from an engraved plate should also be considered. Some loss of detail by reproduction must be expected, and therefore only the clearest and most effective prints obtainable should be submitted.
If an author has difficulty in making his preliminary or "original" drawings he may request that a draftsman be detailed to aid him. The request should be made to the Director through the chief of branch and properly approved. The work will then be done in the section of illustrations as advance preparation, but finished drawings should not be thus prepared unless the conditions are unusual. The administrative geologist reviews all illustrations submitted and represents the Director in matters relating to illustrations.
SUBMITTAL OF ILLUSTRATIONS.
All material intended for illustrations, except paleontologic specimens, should be submitted with the manuscript of the paper to be illustrated but in a separate package marked "Illustrations to accompany a paper on —— by ——." The package should contain a carbon copy of the list of illustrations that accompanies the manuscript or, if the titles to be printed on or with the illustrations include fuller descriptions than are given in that list, a carbon copy of the list giving complete titles and descriptions, the original of which should also accompany the manuscript. In the list each plate and figure should be separately numbered consecutively in the order in which it should appear in the report, and a figure opposite each title should show the number of the manuscript page on which the illustration is first mentioned or most fully discussed. Roman numerals should be used for the plates and arabic numerals for the figures. Each drawing or photograph should bear, in addition to the number and title, any suggestions concerning preparation, reduction, and method of reproduction which the author may consider especially desirable. The list should be headed "Illustrations."
Specimens other than fossils that are to be illustrated must be submitted directly to the section of illustrations, but the author may first obtain photographic prints of them in order to make up his plates. The specimens should be carefully packed and any that are fragile should be so marked.
The illustrations in reports of the Geological Survey may be classified into five more or less distinct groups—(1) maps, (2) diagrams (including graphs, sections, plans, figures of apparatus, and stereograms), (3) outdoor photographs, (4) photographs and drawings of specimens, and (5) sketches. These may be further divided into two large groups, which may be called permanent and ephemeral. The permanent group includes illustrations that do not lose value through lapse of time or by natural alteration, such as detailed geologic maps, well-prepared structure sections, views of specimens, and good photographs or drawings of natural phenomena; the ephemeral group includes maps showing progress, key maps, diagrams showing yearly production, and many others that should be prepared in such a way as to minimize cost of preparation and reproduction.

METHODS OF INSERTING PLATES AND FIGURES.
1, 2, 3, 5, 6, 7, plates; 4, 8, 9, 10, figures; 11, pocket.
The illustrations will be finally divided into plates and figures when they are fully prepared, but if an author desires to determine the classification in advance of transmittal he should submit his material to the section of illustrations, where methods, processes, and reductions will be decided for each. In determining which shall be plates and which shall be figures, size and method of reproduction are the only factors to be considered; there are no other real differences. Illustrations that require separate or special printing, such as those reproduced by Lithography and by the photogravure, photogelatin, and three-color processes, must be printed separately from the text as plates and inserted in the report at the proper places; those that are reproduced by relief processes, such as zinc and copper etching and wax engraving, if not too large, can be printed with the text as figures. If an illustration to be reproduced by a relief process is marked for reduction to a size not exceeding that of the page of the text, it can be called a figure and be printed with the text. Half tones, though etched in relief, are rarely made text figures in Survey reports, because to give satisfactory impressions they must be printed on the best quality of coated paper, which is not used for the text. By using the coarser screens shown in Plate VI (p. 56), however, a half-tone cut may be made that can be used in the text if it is smaller than the page.
The regular book publications of the Geological Survey are issued in three sizes—(1) octavo (annual reports of the Director, statistical reports on mineral resources, bulletins, and water-supply papers); (2) quarto (professional papers and monographs); (3) folio (geologic folios). The following table gives the measure of the text of each size and the measure of the trimmed page, in inches:
| Size of text. | Size of page. | ||||||||||
| Octavo | 4 | 3/8 | by | 7 | 15/16 | 5 | 7/8 | by | 9 | 1/8 | |
| Quarto | 6 | 1/16 | by | 9 | 1/8 | 9 | 1/4 | by | 11 | 5/8 | |
| Folio | 13 | 13/16 | by | 17 | 7/8 | 18 | 1/2 | by | 21 | 3/4 | |
Most professional papers are printed in two columns of type, each 3 inches wide, and folios are printed in three columns, each 43/8 inches wide. A text figure in one of these publications can be made to fit one or more columns, and it may run the full length of the text page.
The limits of the dimensions of plates and figures, in inches, are given in the following table. If for any reason a plate can not be reduced to the dimensions of a page it can be folded once or more; and if it is large and unwieldy it may be placed in a pocket on the inside of the back cover. (See Pl. I.)
| Single-page plate. | Plate with one side fold. | Text figure. | |||||||||||||
| Octavo | 4 | 3/8 | by | 7 | 1/2 | 7 | 1/2 | by | 8 | 1/2 | 4 3/8 | by | 7 | 1/2 | |
| Quarto | 6 | by | 9 | 9 | 1/2 | by | 14 | 3/4 | 3 or 6 | by | 8 | 1/2 | |||
| Folio | 15 | by | 17 | 1/2 | ............ | 43/8 or 1313/16 | by | 17 | 7/8 | ||||||
For an octavo report a single-page plate with side title should be 4 inches or less in width, and a plate with bottom title should be 7 inches or less in depth. In other words, the actual depth and width [12] of a single-page plate in a page of any size must depend on the number of lines in its title, the inclusion of which should not extend the matter much, if any, beyond the dimensions given in the table. A difference of 1 inch or less in the width of a folding plate may determine whether it must be folded once or twice, so that by consulting this table an author may save expense in binding and promote the reader's convenience in handling the plate.
A text figure (including the title) can not extend beyond the text measure but may be of any size or shape within that measure, as shown on Plate I, figures 4, 8, 9, 10.
SUBDIVISIONS OF PLATES AND FIGURES.
If a plate consists of two or more parts or photographs each part should be marked with an italic capital letter—A, B, etc.—which should be placed directly under each. If it is made up of many parts, in the form of plates that accompany reports on paleontology, each part should be similarly marked with an arable numeral—1, 2, 3, etc. If a text figure is subdivided into two or more parts, each part should be marked with a roman capital—A, B, C, etc.; and if details of a part are to be described each detail should be marked by an italic lower-case letter—a, 6, c, etc.
PREPARATION OF COPY BY AUTHORS.
CHARACTER OF ORIGINAL MATERIAL.
In the Geological Survey, as elsewhere, the "originals"—that is, the original material submitted by authors for the illustration of their reports—differ greatly in character and in degree of clearness. Some are carefully prepared; others are rough, obscure in part, and defective in detail. Drawings made from poor originals progress slowly, because the draftsman spends much time in interpreting uncertain features or in conference with the author concerning details. An original should be perfectly clear in detail and meaning, so that the draftsman can follow it without doubt. It should not consist of parts that must be brought together to make a new drawing, because the result of the combination of the parts will be uncertain at the outset and may not prove satisfactory. Each original illustration should be prepared with the idea that the draftsman who will make the finished drawing will be unfamiliar with the subject and will need definite instructions; all data should be plotted and each figure or plate should be completely made up before it is submitted. More or less roughly prepared originals are expected, but they should show no uncertainty in details. Obscure features may be cleared up by inclosing [13] the features in penciled loops connected by a line with notes written on the margin, such as "omit this line," "turn at an angle of 30° from true north," "add," "cut out."
PRELIMINARY PREPARATION OF MAPS.
The base map that generally accompanies a report may be an original field sheet or it may have been compiled from various sources by an author and made to incorporate the results of his field work. It should not be a collection of maps of different scales and standards to be worked into a new map.
The source of the data shown on every original base map should be indicated on the map, whether it is to be used as an illustration or as a record of field work. This information is required as a permanent record for showing the reliability of the map, for use in comparing data, and for giving full credit to those who are responsible for the data. An author should see that this requirement is observed in order that proper credit may be given and should especially see that all cooperative agreements and organizations are properly mentioned.
An original map should preferably be complete in itself. It should not consist of several parts or sheets unless the data to be represented are unusually complex. All elaborate or technical finish of border lines, lettering, or like features should be left to the draftsman or the engraver.
Base maps that involve the compilation of new data should be prepared by either the topographic branch or the division of Alaskan mineral resources. If a base map already published is to be reused it should be submitted to the chief topographic engineer or to the chief of the division of Alaskan mineral resources for approval. This procedure will insure a single standard of geographic accuracy in maps appearing in Survey publications.
A geologist who requires a base map that includes new topographic data should address a request for its preparation to the chief geologist, who, through the Director, will refer the request to the topographic branch. The request must be accompanied by a full statement regarding the proposed report and the time when it is likely to be submitted. The preparation of such base maps by draftsmen in the division of geology, the land-classification board, the water-resources branch, or the section of illustrations has been discontinued except for the minor adaptations provided for above.
If a report requires the preparation of a base map that includes no new topographic data such a map must be compiled from other authentic maps by the division or branch in which the report originates. [14] If, however, no draftsmen are available in that division or branch, an arrangement can be made with any other branch—as the topographic or publication branch—that may have draftsmen available, with the understanding that the cost of the work shall be reimbursed to the branch doing the work by the branch ordering it. For indicating geologic and other data, however, an author may make use of an authentic base map already published, and after it is reduced or enlarged to appropriate scale by photography such a map may suffice for transmittal with a manuscript.
MATERIAL AVAILABLE FOR BASE MAPS.
The maps already published by the Geological Survey[2] and other Government bureaus should always be consulted when a new base is to be compiled. The following list includes most of the maps available:
1. The Survey's regular topographic atlas sheets, published on three scales—15-minute sheets, scale, 1:62,500; 30-minute sheets, scale, 1:125,000; 60-minute sheets, scale, 1:250,000—approximately 1 mile, 2 miles, and 4 miles to 1 inch, respectively—and its "special" maps,[2] some of which are published on other scales. All these maps can be used as bases for detailed geologic maps, for compiling maps on smaller scales, and for revising other maps.
2. The United States part of the international map of the world, now being published on the scale of 1:1,000,000 (approximately 16 miles to 1 inch). Each sheet of this map represents an area measuring 6° of longitude and 4° of latitude. The published sheets of this map may be used as bases for general maps. The sheets are drawn on the scale of 1:500,000, and photolithographs on this scale are available for use as bases for geologic or other maps.
The adaptability of the 1:1,000,000 scale map to use as a base for general geologic maps is shown in the geologic maps of the southern peninsula of Michigan and of Indiana in Monograph 53 (Pls. IV and VII), the map of Florida in Bulletin 60 (Pl. I), and the map of Vermont in Water-Supply Paper 424 (Pl. I).
3. The Survey's two-sheet wall map of the United States, 49 by 76 inches, scale 1:2,500,000 (approximately 40 miles to 1 inch). Parts of this map can be used as bases for general geologic or other maps and as copy for index and other small diagrammatic maps. This map is published both with and without contours.
4. Land Office maps and township plats. These maps are now being published on a scale of 12 miles to 1 inch; they are also photo-lithographed on one-half that scale, or 24 miles to 1 inch. The township [15] plats are printed on a scale of one-half mile to 1 inch. The maps are especially useful in compiling maps in which land lines (townships and sections) are essential, and the township plats afford valuable detail and are useful in field work and in revising other maps. Township and section lines should appear on all land-classification maps published by the Survey. On maps on a scale less than 1:250,000 only the townships should be shown; on maps on scales greater than 1:250,000 the sections should be shown; on maps on a scale of 1:250,000 the sections should be shown, unless their representation will materially impair the legibility of the map, in which case only the townships should be shown. (See fig. 1.)
5. Post-route maps, covering single States or groups of adjacent States, published on sheets of different sizes and on scales determined mainly by the size of the State. The map of Texas is published on a scale of 12 miles to 1 inch, that of Virginia on a scale of 7 miles to 1 inch, and that of West Virginia on a scale of 6 miles to 1 inch. Both the Land Office and the post-route maps are useful for reference in compiling maps on smaller scales. Post-route maps are especially useful for comparing and verifying the location of cities, towns, and railroads.
6. Coast and Geodetic Survey charts, published on scales that are governed by the area represented and the amount of detail to be shown. These maps should always be used in compiling and correcting coast lines.
7. Maps and charts published by the Corps of Engineers of the Army, the Mississippi River Commission, the surveys of the Great Lakes, and the boundary surveys. These maps are especially useful if the scale of the map to be compiled requires considerable detail.
8. The Survey's three small base maps of the United States—(a) a map 18 by 28 inches, scale 110 miles to 1 inch, which is published both with and without contours, or with relief or hypsometric shading; (b) a map 11 by 16 inches, scale 190 miles to 1 inch; (c) a map 71/2 by 12 inches, scale 260 miles to 1 inch, designed for use as a two-page illustration in a bulletin or a water-supply paper.
9. The Century, Rand McNally & Co.'s, Cram's, Stieler's, The Times, Johnston's Royal, and county atlases.
10. State and county maps.
11. Railroad surveys, which are useful in furnishing data for elevations as well as for locations of towns and stations.
12. The latest national-forest maps and proclamations. It is, however, not necessary that national forests, bird reservations, and national monuments be shown on a map in a report unless their addition is specially requested by the author or by the chief of the branch submitting the report, and they should not be shown if they will obscure other more important data.
[2] See "Topographic maps and folios and geologic folios published by the United States Geological Survey" (latest edition).
Figure 1.—Diagrams showing principal, guide, and auxiliary meridians, standard and
special parallels and correction lines, and system of numbering townships, ranges,
and sections.
The Survey has published numerous maps of parts of Alaska, as well as other maps, which are available for use or reuse in its reports. Copies of all base maps for which copper plates have been engraved by the Survey can be obtained on requisition, and their use in a new report will save time as well as the cost of engraving. Other maps will be found in the Survey library, where the latest editions only should be consulted.
BASIC FEATURES OF MAPS.
It must be remembered that "every map, whatever its scale, is a reduction from nature and consequently must be more or less generalized."[3] The degree of generalization in the geologic and other detail to be shown on a map usually involves a corresponding degree of generalization in its base. Absolutely true generalization means the same degree of omission of detail for each kind of feature. If a base map on a scale of 1 mile to 1 inch, prepared with the usual detail, were placed before a camera and reduced to a scale of 16 miles to 1 inch, the lines representing the smaller tributaries of streams and the smaller water bodies, as well as many other features, would probably be so greatly reduced in length as to be illegible. If from this reduced photograph a new map were prepared, from which all features not plainly discernible were omitted, the new map should represent what might be called true generalization. This degree of generalization is, however, not practicable, but unessential detail should be systematically omitted. The amount of detail which a base map should show is limited by its scale, by the character of the country it represents, and by the kind of data to be shown. Coordinate features of a topographic map should be shown with equal detail. Detail in culture may call for detail in drainage, though relief may be greatly generalized or entirely omitted; detail in relief may like-wise call for detail in drainage, though culture may be more generalized.
[3] Gannett, Henry, A manual of topographic methods: U. S. Geol. Survey Mon. 22, p. 107, 1893.
If the three fundamental features of a topographic map—the culture, the drainage, and the relief—are to be engraved or photo-lithographed separately and printed in colors, the best results can be obtained by drawing each feature in a separate color on one sheet unless the work is coarse and great precision in register is not needed. The culture should be drawn in black waterproof ink, the drainage in Prussian blue, and the relief in burnt sienna; but care should be taken that the colors used will photograph well. To insure a good photograph it is usually necessary to add a little black to the blue and brown. (See "Inks," p. 25.) The photographer will then make three [18] negatives and will opaque or paint out all but one of the three features on each negative. The cost is somewhat greater than that of reproducing three separate drawings, but the result gives more accurate register than if the drawings were made on separate sheets, which are likely to change in size before they are reproduced.
STANDARD SCALES.
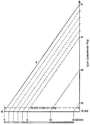
The standard scales of the maps used in the publications of the Geological Survey are fractions or multiples of 1:1,000,000 (see p. 14), except for a map that is reduced expressly to fit one or two pages of a report or that is reduced horizontally or vertically to fit the text as a small diagrammatic or index map. It should be remembered that a map which may be serviceable for use in compiling a new map, except as to scale, can be reduced or enlarged to the scale of the new drawing by photography, by a pantograph, or by other means. (See p. 47.)
Maps compiled by an author should be prepared on a scale of at least 11/2 times and preferably twice the size of the scale used on the published map. Maps traced on linen should be no less than twice the size of publication. Not only is the quality of the reproduction improved by considerable reduction, but the larger scale of the drawing facilitates the plotting of details. It should be remembered, however, that a linear reduction of one-half produces a map only one-fourth the area of the original, and reduction so great may prevent the addition of data, such as an extended note in small letters applying to a small area on the face of a map, which would not be legible when reduced.
ORIENTATION OF MAPS.
A map that bears no arrow indicating north is supposed to be oriented north and south, and its title should read from west to east. If, however, the area mapped has a general trend in one direction, as northwest to southeast, and its squaring up by a north-south line would leave too much blank paper, this general rule is not followed. The border lines on such a map should conform to the general trend of the area mapped, an arrow should show north, and the title and scale should be placed horizontally, but the projection numbers and town names should follow the direction of the parallels of latitude. (See Pls. X and XII, Bull. 628; and Pls. VI, XV, and XVI, Mon. 52.)
PROJECTION.[4]
[4] See also pp. 43-45, where the method of projecting a map is more fully explained.
The polyconic projection has been adopted by the Geological Survey for its topographic atlas sheets and must be consistently used [19] for its other maps. If a new map is to be compiled an accurate projection should first be constructed, and no plotting should be done on it until the projection has been checked and found to be correct. A projection should be checked or proved by some one other than the person who prepared it. Next the drainage and the water areas should be outlined; then the cultural features should be added; and finally the relief, whether expressed by contour lines, hachures, or shading.[5]
[5] See pp. 49-48 for methods of tracing and transferring.
EXPLANATION.
Under the heading "Explanation" should be placed all matter needed to describe fully the details of an illustration, whether map, diagram, or section, so that if the illustration became detached it would be a complete self-explanatory unit.
The explanation of a map may be placed inside the border lines if there is ample room for it, or it may be placed outside. The standard arrangement for an outside explanation for geologic maps is shown, in the geologic folios, which should be followed in general form. If there is space within the border lines the explanation may be appropriately arranged therein, either in a vertical column or horizontally, according to the size and shape of the space available. If the sequence of formation is shown by horizontal arrangement the younger formations are placed at the left and the older at the right. If it is shown by a vertical arrangement the youngest formation is placed at the top.
Each original map submitted by an author should have at least 41/2 inches of blank margin on the right and at the bottom in which to place the explanation, scale, title, and other matter, but the author should make no attempt to elaborate these features nor should he employ a draftsman to letter them carefully. Plainly written ordinary script is quits sufficient for original maps; the final lettering, which may consist entirely of impressions from type, will be added after submittal of a report.
TITLES OF MAPS AND OTHER ILLUSTRATIONS.
The titles of maps should be supplied by authors but are subject to revision in order to make them agree with established forms. They should be written in ordinary script, not carefully lettered. They should state concisely the kind of map, the area shown, the special features represented, and the county, State, or Territory in which the area is located. (See p. 58.) Titles are reproduced directly only on lithographs, three-color prints, photogelatin plates, and other illustrations that are printed by contractors, not by the Government Printing Office. The titles of illustrations that are repro [20]duced by relief processes, such as zinc etching, half tone, and wax engraving, are printed at the Government Printing Office from type, and proofs are submitted to the authors for examination.
SYMBOLS USED ON MAPS.
GENERAL FEATURES.
More than 200 symbols have been used on maps to express 25 different kinds of data, a fact indicating at once a notable lack of uniformity and a need of standardization. It is of course impossible to provide a characteristic symbol that can be used uniformly for each kind of feature, and therefore the same symbol may be used on different maps to express different things. The symbols shown in Plate II are those most used on geologic maps. The symbols for dip and strike, fault lines, mine shafts, prospects, and several others are generally well known, but on some maps it may be necessary to modify a standard symbol to express additional distinctions. The symbols shown, however, will cover all the ordinary requirements of miscellaneous mapping. Though the plate shows more than one symbol for some features the symbol most commonly used is given first and should be preferred. The center of each symbol should mark the location of the feature symbolized. Symbols are not always platted with sufficient care. On small-scale maps they are difficult to locate and unless great care is taken in platting them they are likely to be several miles out of place. All symbols should be located precisely where they belong.
The symbol showing dip and strike should be accurately platted by means of a protractor, so that the strike will be shown graphically, without a number and a degree mark, and not need replatting by a draftsman or engraver. The dip, however, should be indicated by a number and a degree mark.
LETTER SYMBOLS.
The letter symbols used on most geologic maps to indicate the ages and names of the formations represented consist of two or more letters—an initial capital letter for the name of the system and one or more lower-case letters for the name of the formation or of the material, as Qt (Quaternary—lower terrace deposits); Cpv (Carboniferous—Pottsville formation); COk (Cambrian-Ordovician—Knox dolomite), etc. The standard usage for this feature is shown in the geologic folios but is subject to modification in other publications.
In preparing an original geologic map a letter symbol, such as has been just described, or a number should be put in the proper place in the explanation, and the same symbol or number should be repeated at one or more places on the map within the areas to which it refers. Each area that is indicated by a color should be marked with the proper symbol in order to make its identification sure, for light colors especially are likely to fade and mixed colors can not be discriminated with certainty.
SYMBOLS USED ON GEOLOGIC MAPS, ECONOMIC MAPS AND MINE PLANS
OIL AND GAS SYMBOLS.
A complete set of symbols for maps showing oil and gas is given on Plate II. Referring to these symbols the chief geologist, in a memorandum to the Director, writes:
The symbols used by the Survey in its oil and gas maps have not been in accord with those used by the oil companies, nor have they been wholly logical. It appears that though they were submitted for recommendation they never have been formally approved.
Herewith I submit a code prepared by the geologists of the oil and gas section. They conform largely to commercial use and embrace its best features as well as the best and most logical features of our previous usage, the departures from which are, after all, of minor consequence.
The symbols here submitted [see PI. II] with recommendation for approval are founded on a building-up system, so that the history and the results of drilling at any location can be recorded by slight additions to symbol and without erasure. Thus maps may be revised without scratching.
In drawing these symbols the draftsman should make the rays of the gas well distinct and in adding the vertical bar or line showing that a hole is dry or abandoned should make it long enough to be distinct. It would be preferable to draw this bar obliquely, but an oblique position would coincide with some of the patterns on certain maps, and it should therefore be placed vertically. The vertical line indicates the failure or abandonment of the well, the symbol for which Is thus scratched off or canceled by the line drawn through it. The symbols agree so far with commercial usage that oil men will have little need to consult the explanation.
SYMBOLS FOR USE ON MAPS SHOWING FEATURES OF GROUND WATER.
The symbols used on maps relating to ground water represent the features named below, each of which has been shown in publications already issued.
| Area of absorption or outcrop. Depth to water table. Contours of water table. Fluctuation of water table. Depth to water-bearing formation. Structure contours of water-bearing formation. Area of artesian flow. Head of artesian water. |
Area that discharges ground water. Quality of ground water. Area irrigated with ground water. Nonflowing well. Flowing well. Unsuccessful or dry well. Well with pumping plant. Spring. |
The lack of uniformity in the symbols commonly employed to represent these features is due to differences in the number of color on the maps and differences in the scale. Standard colors for the [22] larger features, such as those for areas of artesian flow, areas of absorption, and curves showing depths to water table or to water-bearing formations, can not be fixed, because of considerations of economy in printing. For example, if light green is the standard color to be used for delineating areas irrigated by ground water and no green is used on other parts of the map its use would represent an additional or special printing, whereas a tint of blue, brown, or purple, if any of these colors is used for other features on the map, might be used also for this feature without additional printing. Therefore the general use of any particular color for a water feature seems to be impracticable; but this fact should not preclude the adoption of color standards for use subject to the requirements of economy in publication.
The ordinary symbols for wells are the open circle and the solid circle, or dot. Only in the secondary or specific well symbols does there appear to be lack of uniformity, the choice of secondary symbols being governed either by personal preference or by the requirements for specific distinction.
All symbols should, if possible, suggest the things they represent. Wells are circular and hence the open circle is most used and most appropriate for nonflowing wells. To indicate a flowing well the circle is made solid, denoting that the well is full of water. For an unsuccessful well the most suggestive symbol would be an open circle with a line drawn through it to denote cancellation. It has been suggested that if water features, including wells, are to be printed in blue, unsuccessful wells, or dry holes, be printed in black. A large circle drawn around the symbol for a flowing or nonflowing well will appropriately denote a pumping plant at the well.
The accepted symbol for a spring is a dot with a waved tail representing the direction of flow, if known. This symbol can not be modified without destroying its prime characteristics, but it may be accompanied by a letter indicating the kind of spring. An open circle with a tail might be used on large-scale maps, but it would be out of scale on other maps, whereas the black or blue dot and tail will fit maps of any scale.
The following colors and symbols can most appropriately be used to represent ground-water features. The well and spring symbols can be varied by adding letters if they are necessary to express other data than those indicated in the list below.
General ground-water features.
Area of absorption or outcrop: Flat color used on the map to show the geologic system in which the absorbing formation occurs.
Areas showing depths to water table: Shades of purple and gray; if possible the shades showing the areas of least depth should be darkest and the shades should grade from those to lighter tints.
Contours of water table, or contours on water-bearing formations: Gray or purple curves or lines.
Areas of artesian flow: Blue flat tint, or fine ruling in blue. Depth to water-bearing formations: Gradation of a single color or of two related colors from dark for shallow depths to light for greater depths.
Nonflowing artesian areas (pumped wells): Green flat tint, or fine ruling in green. Depth to water-bearing formations shown by gradation of tint if possible from dark for shallow depths to light for greater depths.
Head of artesian water: Blue curves or lines.
Areas that discharge ground water: Blue flat tint, or fine ruling in blue.
Areas irrigated with ground water: Green flat tint, or fine ruling in green.
Well, character not indicated.
Well, nonflowing.
Well, flowing.
Well, unsuccessful or dry.
Well, nonflowing, with pumping plant.
Well, flowing, with pumping plant.
Springs.
Spring, thermal.
Spring, mineral.
The standard color scheme should be used if no conditions preclude its use, but if other colors can be used with greater economy without sacrificing clearness the use of the standard colors should be waived.
BLACK-LINE CONVENTIONS.
A complete set of the black-line patterns used to distinguish areas on a map is given in Plate VIII (p. 60), and their application to a finished drawing is shown in figure 9 (p. 62). These patterns, however, should preferably not be used by the author in his preliminary work on an illustration. For this purpose water colors or colored crayons are preferable, and the distinctions between areas may be emphasized by letter symbols.
MATERIALS USED IN PREPARING MAPS.
PAPER.
For large and important maps which may at some time be extended to cover a greater area or which may be made to fit maps already prepared or published the paper used should be mounted on muslin to reduce to a minimum the shrinking or stretching caused by atmospheric changes. Pure white paper produces a better negative than a cream or yellowish paper and will retain its color longer, but all papers become more yellow with age and exposure to light.
The following brands of paper are used in the Survey in the preparation of maps:
"Normal" K. & E., unmounted. Has an excellent surface and comes in flat sheets, 19 by 24, 22 by 30, and 27 by 40 inches.
"Paragon" K. & E., mounted on muslin. In 10-yard rolls 72 inches wide. Used in the Survey for large office drawings and maps of large scale.
"Anvil" K. & E., mounted on muslin. In 10-yard rolls 42, 62, and 72 inches wide. Used in the Survey for large drawings.
"Whatman's hot pressed," unmounted or mounted on muslin. In sheets ranging in size from 13 by 17 to 31 by 53 inches. An excellent paper for maps. The muslin-backed paper is recommended for use in preparing large detailed maps and base maps that are to be retained as permanent records. The muslin provides a durable and flexible backing that permits the map to be rolled, and paper thus mounted is particularly serviceable for a map which may be subjected to considerable revision and to which must be added finally a title, explanation, and other marginal matter.
"Ross's relief hand-stipple drawing paper." A stiff enameled or chalk-coated paper whose surface has been compressed into minute points that stand in slight relief so that a shade made on it with pencil or crayon is broken up into dots and can be reproduced by photo-engraving. For use in making shaded drawings, drawings showing relief by light and shade, etc. Similar paper is prepared for parallel-line and other pattern effects. In sheets ranging in size from 11 by 14 to 22 by 28 inches. (See p. 51 for method of using.)
Profile and cross-section paper. In sheets of convenient sizes or in rolls. Bears lines printed in blue, green, red, or orange, in many kinds of rulings, which may be selected by reference to catalogues. Profile and cross-section paper printed in orange is recommended for preliminary drawings; blue is recommended for drawings that are made in pencil and submitted for inking in.
BRISTOL BOARD.
For the smaller maps, such as key maps and maps less than 18 by 24 inches, and for small drawings made for direct reproduction, Reynolds's bristol board is recommended on account of its pure-white color and its hardness, which permits erasures to be made without affecting redrawing over the corrected area. It is obtained in 2-ply, 3-ply, and 4-ply sheets. The 2-ply and 3-ply are especially useful in making delicate brush and pencil drawings and pen and ink drawings. The sizes used in the Survey are 161/2 by 203/4, 181/4 by 223/8, and 211/2 by 283/4 inches.
TRACING LINEN.
Tracing cloth or linen is especially useful for large work that will require considerable reduction. (See p. 18.) Its advantages are that a tracing that has been carefully made on it over any kind of copy for direct reproduction by a photo-engraving process can be used for [25] making a paper negative for contact printing or blue printing. On the other hand, it is susceptible to atmospheric changes that affect scale, and the lines traced on it are not reproduced as sharply as those made on paper. It can be obtained in rolls 30 to 54 inches wide.
Erasures should be made on tracing linen with a hard rubber eraser, not with a sand rubber or a steel eraser.
The best drawing inks are in liquid form, ready for use. They should be waterproof and equal to the grade known as Higgins's waterproof ink. When a suitable waterproof blue ink can not be obtained, a good blue for features of drainage can be made by dissolving a half pan of Winsor & Newton's prussian blue in water. No good waterproof burnt sienna ink seems to be obtainable, but a good substitute can be made by dissolving Winsor & Newton's water color of that name.
Ink lines should be drawn in full strength of color—lines that should be black must not appear grayish, for example—and pens should be kept clean. The same pen should not be used for applying two inks, as the mixture thus produced is likely to thicken or coagulate on the pen. A little black should be added to colored inks that are used in making drawings to be reproduced in colors in order to strengthen the lines for photographic reproduction.
DRAWING PENS.
The pens made by Keuffel & Esser, especially their No. 3202, and Gillott's Nos. 291, 290, 170, and 303 give complete satisfaction. The Gillott numbers are given in the order of fineness of the points. No. 291 being the finest. The best cleaner for a drawing pen is a piece of chamois skin.
PENCILS.
Pencils used for drawing should have leads of a quality equal to those of the Koh-i-noor brand, in which the grades of hardness are indicated by 3B, 2B, B, HB, F, H, 2H, 3H, 4H, 5H, 6H, 7H, 8H, and 9H; the softest grade is 3B and the hardest 9H. The grades most generally used are B, HB, F, 4H, and 6H.
RUBBER ERASERS AND CLEANERS.
Two kinds of rubber erasers are usually employed in making erasures on drawings—a hard, dense rubber like the "Ruby," and a soft, pliable rubber like the "Venus" or "H" (Hardtmuth). The soft rubber is also useful for cleaning large surfaces. Art gum is also recommended for this purpose and has the advantage of not disturbing the surface of the paper.
COLORED PENCILS AND CRAYONS.
Colored pencils and crayons are useful only for coloring preliminary maps. They are not recommended for use on maps that are to be kept for reference or to be submitted for reproduction, because the colors rub off, but they can be used on photographic prints of base maps or on transparent oversheets, for which the unglazed side of tracing cloth is well suited. When they are so used register marks should be added at numerous points on the map and the oversheet, including the four comers, the color boundaries should be drawn or traced, and finally the colors should be added. Two or more colors should not be used on any one area to modify a tone, but each area should be colored with a separate crayon. Patterns or designs should not be used except to strengthen contrasts, and for that purpose a pattern may be drawn with a black pencil over a color.
WATER COLORS.
By dilution to half strength some of the standard water colors will yield a tint or hue that will contrast with other tints or hues produced in the same way quits as well as undiluted or full colors will contrast with one another. The colors named below, except chrome-yellow and emerald-green, are among those that when diluted will afford satisfactory contrasts among themselves and with their full colors and are recommended for use in coloring original maps.
| Mauve. Crimson lake. Orange-vermilion. Burnt sienna. Cadmium-yellow. Chrome-yellow. Olive-green. |
Hooker's green No. 2. Emerald-green. Payne's gray. Lampblack. Sepia. Cerulean blue. |
Other pigments spread better than cerulean blue and emerald-green, but the exceptional purity of color of these two seems to warrant their use.
JAPANESE TRANSPARENT WATER COLORS.
Japanese transparent water colors, so called, are used by some geologists. They spread evenly and are convenient for field use, but they can not be washed out like other water colors, so that when they are once applied to an area and a change of color becomes necessary they must be bleached out. A good bleach is sodium hypochlorite, which should be applied with a brush until the color disappears, and the area dried with a blotter before recoloring. Light tints of these colors are believed to be somewhat fugitive if exposed to strong light.
COLORING GEOLOGIC MAPS.
The colors used on most original maps are not pleasing, a fact that is of no particular importance, but—and this is of importance—they often fail to give clear distinctions; the separate areas can not always be identified or distinguished with certainty. Again, some colors are fugitive, and when laid on in light tints they disappear entirely or become uncertain. Much of the difficulty in identifying and discriminating colors on an author's original maps is due to the promiscuous mixing of colors. Many persons can not match or discriminate mixed or broken colors. Hence if the supply of a color produced by mixing becomes exhausted and the attempt is made to duplicate it by a second mixture the two will probably fail to match. It is therefore suggested that colors in full strength and colors diluted to half strength be used instead of mixtures of two or more pigments, so that one color in two strengths or tones can be employed to indicate areas that are to be distinguished. The colors listed on page 26 will give 24 satisfactory distinctions and will thus supply all demands for map coloring.
To insure satisfactory contrasts between colored areas on a map, unlike colors should be placed next to each other—that is, colors should be placed together that are widely separated in the spectrum, such as yellow and mauve, red and green, blue and orange, burnt sienna and olive-green; not such as red and orange, blue and purple, orange and yellow, sepia and burnt sienna.
A sufficient quantity of water and color pigment to be used for one formation area on a map should be stirred in a saucer until the desired tint is produced before it is applied. To maintain the same tone properly the color should be well stirred every time the brush is filled; if it is not stirred the brush will on the next dipping take up a lighter tint, because most pigments, especially those derived from minerals, tend to precipitate. When the colors are applied the map should preferably be placed in a slightly inclined position, and the coloring should be started at the upper boundaries of an area to be colored, the well-filled brush being pulled toward the painter and Worked rapidly back and forth horizontally, the edges of the fresh color being kept wet. If the edges are allowed to dry, a hard line and a smeared or uneven effect will be produced.
A strong color should generally be used for small areas unless the map shows also large areas that must have the same color; lighter hues should be used for large areas. Bright colors are best suited for areas of igneous rocks, dikes, and veins, and these may be reduced in strength for the larger areas.
The Survey's color scheme (see p. 63) need not be applied at this stage of preparation, except in the most general way. Appropriate [28] final colors can be best selected when the new map is made ready for engraving. In the author's original maps adequate color distinctions between areas are more important than the use of standard geologic colors. Patterns should not be ruled in one color on an original map to indicate distinctions between different formations of the same age or period, because such patterns are difficult to produce by hand with proper uniformity except by engraving.
It is of vital importance that an original base map should be free from colors and from technical symbols in order that it may be kept clean for photographing and preserved for possible future use. Such a map should preferably be photographed in order to obtain prints on which to add the colors and symbols; the use of an oversheet for this purpose is not nearly so satisfactory. When photographed a base map should be reduced to publication scale in order to save the additional cost of a larger negative, and this reduced map may be made up for publication by the addition of colors and symbols, title, explanation, etc.; but the lithographer will also need the original base map from which to make his reproduction.
DIAGRAMS.
ESSENTIAL FEATURES.
The term "diagrams," as used here, includes such illustrations as mine plans, profiles, sections, stereograms, and maps that are more diagrammatic than cartographic. The first essential in the original drawings for simple diagrams is clearness of copy. Simplicity of subject does not warrant hasty preparation, for an original sketch that has been carelessly drawn and is inaccurate or inconsistent in detail may lead to serious errors. Ruled paper printed especially for platting profiles and cross sections should be used. Curves or graphs made by an author with pencil on blue-lined section paper may be inked by more skillful draftsmen. An author's pencil sketches are usually satisfactory if they indicate plainly the facts to be represented, but they should be prepared with some care as to detail. Tables and like matter are not generally satisfactory material from which to prepare drawings. In drawings for diagrams that are to be printed in the text as figures the use of large, solid black bars or of conspicuous areas of solid black is objectionable, because the black is likely to print gray and to appear uneven in tone. Ruled tints or cross lining give better effects. Stereograms should be prepared by an author with especial care, for they represent facts only as the author sees them, and the author's view must be imparted to the draftsman graphically. The "third dimension"—the relief—in such drawings is not easily expressed and should be brought out clearly in the author's rough sketches.
For illustrations of apparatus photographs are preferred, but if rough sketches are submitted they should show not only correct relations but all dimensions.
PLANS OF MINE WORKINGS.
Blue prints obtained from mining companies are acceptable for plans of mines or underground workings, but all unnecessary or irrelevant details on such plans must be canceled and all essential features retained, and every essential feature, especially any added data, must be clearly interpretable. Many such blue prints are so large and unwieldy that they must be greatly reduced by photography before they can be redrawn. If the lines are too weak to photograph, a tracing of the essential parts can be made and reduced to about twice publication size. The shadowless drafting table, described on pages 47-48, is well adapted to the work of making such tracings. Blue prints can also be pantographed to any convenient size if the details are not too minute or complex.
Figure 2.—Conventional lines used in preparing plans and diagrams of mine workings to
distinguish different levels.
The levels in plans of underground workings can be differentiated in finished drawings by a system of conventional outlines in black, as shown in figure 2, by conventional patterns or symbols within plain outlines, or by colors. Such plans should not be printed in colors unless the maze of workings is so complex that lines showing the different levels would become confused or obscure if printed in black.
SECTIONS.
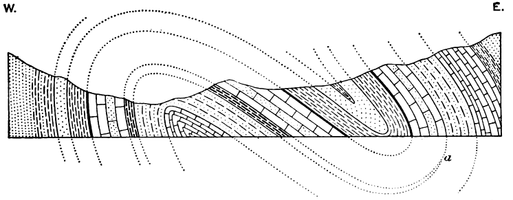
The standard forms of geologic sections are shown in the geologic folios. Structure sections should be prepared with great care as to [30] detail but without attempt at refinement of lines and lettering. The author's drawing of a section along a line or zone that is not definitely indicated by a line on an accompanying map should be so prepared that it may be copied exactly. On the other hand, the draftsman, in reproducing a section that represents the structure along a given line or zone, may be able to make the outcrops coincide with the topography and the formation boundaries shown on the map, but the structure, or the interpretation of it to be given, should be carefully worked out by the author. All essential facts relating to bedding, folding, faulting, crosscutting dikes and veins, or other significant details should be indicated with precision. No attempt need be made to draw firm, steady lines so long as the essential facts are clearly expressed.
All sections should be drawn to scale, and both the vertical and the horizontal scale should be given on the drawing. These scales should be uniform if possible, or at least the vertical exaggeration should be minimized. Too great vertical exaggeration creates distortion and is grossly misleading. Sections should be drawn to scale on ruled paper prepared for the use of authors. Such paper may be obtained on requisition.
Figure 3.—Section and perspective view showing relations of surface features to the
different kinds of rock and the structure of the beds.
A kind of cross section which is not often used but which gives a more pictorial and clearer conception of underground relations than other kinds is made by adding a sketch of the topography above the section. This sketch should be a perspective view, in which the prominent features shown hypothetically in the section below it will be reflected in the topography. Such a sketch might show, for example, not only monoclinal slopes, "hogbacks" due to steeply upturned beds, terraces, escarpments, and like features, but volcanic necks or other extruded masses in their true relations to the underground geology of the country. (See fig, 3.) In submitting the draft of such an illustration the author should, if possible, submit also a sketch or photographs of the adjacent country and indicate on the section the point of view by notes such as "Sketch A made at this point," "See photograph B." The sketch will be more useful if it is prepared on a scale consistent with the details of the section. [31] It may be made with a pencil and should show as well as possible the relations of the features in the landscape to those in the section. Some good examples of illustrations of this type can be found in Powell's "Exploration of the Colorado River," pages 182-193. One simpler figure of the same kind is given on the cover of the geologic folios.
In preparing original drawings representing columnar sections, or sections in wells or ravines, the author should indicate all well-defined or important local features of structure, such as cross-bedding, ore bodies, or lenses. If there are no unusual features or details, the subdivisions need be identified only by names of materials, such as "thin-bedded limestone," or "slates with some coal," the coal beds being shown. The sections should, however, be so plotted and subdivided by the author that each section or group of sections will be complete in its crude form. The compilation of various parts into one unit and the construction of columnar sections by reference to tables alone is an essential part of the author's original preparation.
Figure 4.—Sections of coal beds. The Figure shows the publications size and the arrangement
at the sections. Each section should be drawn three-tenths or four-tenths of an
inch wide and reduced one-half. Thicknesses can be indicated by numbers, as shown
on sections 1 and 10, or by bar scale.
Sections designed to show the relative thickness of beds of coal, arranged in groups for publication either as plates or figures, should be drawn in columns three or four tenths of an inch wide and reduced one-half, as shown in figure 4. These sections, whether correlated or not, should be drawn to some definite vertical scale and should show the thickness of the coal beds, preferably by numbers indicating feet and inches, the other material being symbolized and the symbols explained graphically, as shown in figure 4. The vertical scale should always be stated for the use of the draftsman. A bar scale may be used instead of figures showing the dimensions of the individual beds.
LITHOLOGIC SYMBOLS.
The symbols used to indicate the various kinds of rocks illustrated in sections and diagrams are shown in Plate III. The units or elements of these symbols may be spaced more openly in generalized diagrammatic sections than in sections that show great detail.
Symbols should be used consistently throughout a report, and in order to make them consistent a set showing the symbol to be used for each kind of rock to be indicated should be prepared before the original drawings are made. Some inconsistencies may be unavoidable on account of the small size of some areas shown and the contrast needed between others; but the deviations from the set of symbols adopted should be minimized.
USE OF PHOTOGRAPHS AS ILLUSTRATIONS.
ESSENTIAL FEATURES.
The foundation of a good photographic print is a good negative, and the best prints for reproduction as illustrations are those made from negatives in which the illumination is evenly distributed and the details are sharp—such negatives as are obtainable only by the use of small stops and correct focusing. A good print should not present too sharp contrasts between its dark and its light parts; if it does, the printed reproduction will show a loss of detail in both. Sufficiency of detail depends largely on focus, stopping down, and timing; brilliancy is the direct result of ample illumination by sun or artificial light, without which a photograph will be dull or "flat" and generally unsatisfactory for reproduction. Bad weather may prevent good field exposures, yet even in bad weather acceptable negatives may be obtained by judicious focusing, stopping down, and timing. If a negative is overexposed it may be full of detail, but flat and too thin to print well. If underexposed it will show no details in its lighter parts and the shadows will be black; and a black shadow is nothing less than a blemish. Some detail should appear in all shadows and in the middle tones, and some should appear in the high lights; and a print in which these are evenly developed and in which the illumination is distributed uniformly is technically perfect.
Unfortunately not all field photographs are good, so an author must select from his collection those which will make the best half tones. In making this selection he should of course consider, first, the scientific value of the photograph, and next, its pictorial or artistic quality, which, though of secondary importance, should nevertheless be kept in mind. A feature worthy of illustration deserves good pictorial expression; if it is of superior scientific interest it should not be represented by an inferior photograph. Fortunately, a good, accurate drawing may be made from a poor photograph, and a photographic view that has only minor defects can be successfully retouched. Photographs that need much retouching should generally be larger than publication size, for the effects of retouching—brush marks, etc.—will be softened by reduction. Photographs that need only slight retouching need not be larger than publication size. A photograph can rarely be satisfactorily enlarged in reproduction unless it is sharp in detail and requires no retouching.
Click on image to view larger size.
LITHOLOGIC SYMBOLS USED IN STRUCTURE AND COLUMNAR SECTIONS TO REPRESENT DIFFERENT KINDS OF ROCK
Unmounted prints are always preferable for use in making illustrations. A group that is to form a single plate should be placed in an envelope bearing the number of the plate and its title, and each print of the group should bear a corresponding number, written in pencil on its back. The envelope will protect the prints and keep them together, and the numbers will identify them. Red ink should not be used to mark photographs, as it is likely to penetrate the coating or even the fiber of the paper, so that it can not be erased.
If a print is of doubtful quality two copies of it should be submitted—one glazed, the other having a dead finish or "mat" surface, which is generally preferable if the print must be considerably retouched. The best prints for use as illustrations are those made on "regular" or "special" semimat velox and glossy haloid papers. The author should indicate prints that may be grouped together according to their relation geographically or by subject. Generally two half tones will be combined on a page, and the list of illustrations should be prepared accordingly.
With slight trimming and reduction, three photographs measuring 31/4 by 51/2 inches may be made up one above the other to form a full-page octavo plate. Four photographs in which the longer dimensions represent vertical distances may sometimes be used if they are placed sidewise on the page, with side titles.
Some photographs may be reduced to the width of a page by trimming instead of by photographic reduction, which may involve loss of detail. The author should clearly indicate the extent of such trimming as they may bear without loss of essential details. The trimming is best done during the final preparation. A line should not be drawn across a photograph to mark such trimming, but the position of the line or lines should be indicated either on temporary mounts, on the backs of the prints, or by a statement, such as "One inch may be cut off on right, one-fourth inch on left, and one-half inch at bottom."
COPYRIGHTED PHOTOGRAPHS.
Section 4965 (ch. 3, title 60) of the Revised Statutes, amended by act of March 2, 1895 (Stat. L., vol. 28, p. 965), provides that no copyrighted photograph may be used without the consent of the [34] proprietor of the copyright in writing signed in the presence of two witnesses. A penalty of $1 is imposed for every sheet on which such a photograph is reproduced without consents, "either printing, printed, copied, published, imported, or exposed for sale." An author should therefore obtain the written consent of the owner of a copyrighted photograph to use it, and the letter giving this consent should be submitted with the illustration.
SOURCES OF PHOTOGRAPHS.
Every photograph submitted with a manuscript should bear a memorandum giving the name of the photographer or the owner of the negative. If the negative is in the Survey's collection that fact should be stated, as "Neg. Keith 318." The Survey receives many requests for copies of photographs that have been reproduced as illustrations in its publications, and replies to these requests will be facilitated if the Survey's number or the source of each photograph presented for use as an illustration is stated as above on the photograph.
LENDING ORIGINAL PHOTOGRAPHS AND DRAWINGS.
A photograph that has been used in making a half-tone cut for a Survey report can not be lent, but if the negative is on file a print can be furnished at cost; and a Survey drawing that is well preserved can be photographed and a print furnished, also at cost. Requests for such prints should be addressed to the Director.
UNPUBLISHED PHOTOGRAPHS.
The Survey can not issue a copy of an unpublished photograph except upon the written approval or requisition of the person under whose name the negative is filed. This requirement does not apply to a print needed for official use, nor to a print made from an old negative reserved under the name of any present member of the Survey or from a negative that has been released by the person under whose name it is filed.
Authors using Survey photographs in unofficial publications are requested to acknowledge the source of the photograph by adding to the printed title such a statement as "Photograph by U. S. Geological Survey (David Whits)."
SPECIMENS.
GENERAL REQUIREMENTS.
Specimens other than fossils that are to be illustrated in a report should be photographed before they are submitted, but the requisition for the photographs should be initialed by the chief illustrator, who will indicate the kinds of prints needed. Duplicate photographs of the specimens should be made up into temporary plates by the [35] author and submitted with his other illustrations, the specimens being retained subject to call, if needed, when the illustrations are finally prepared. Should a colored illustration of a specimen be needed, however, the specimen must be submitted with the report, and a different kind of print, preferably one made on platinum or other special paper, will be obtained by the section of illustrations.
BORROWED AND FRAGILE SPECIMENS.
In submitting specimens to be illustrated an author should call attention to those that have been borrowed and to those that are fragile. Borrowed specimens will receive first attention, so that they may be returned promptly.
TRANSMITTAL OF PALEONTOLOGIC SPECIMENS.
All requests for paleontologic illustrations should be addressed to the Director. The letter of transmittal should state the title of the paper, the form of publication desired (bulletin, professional paper, or monograph), and the status of the manuscript, whether completed or in preparation. If the paper is unfinished an estimate of the number of illustrations required should be given, and the special reasons for prompt preparation should be fully stated. A letter transmitting a second or third lot of fossils should refer to the preceding lot or lots if all the fossils are to be used in illustrating the same paper.
Fossils that are to be drawn should be sent directly to the section of illustrations, but those that are to be photographed and require unusual posing or that are extremely delicate and valuable may be sent directly to the photographic laboratory to avoid repeated handling. Each specimen or, if it is very small, each box or bottle containing a specimen should be numbered, and each lot should be accompanied by a list giving their names and numbers. Full instructions as to size of reproduction, together with sketches showing the point of view preferred and any special features to be displayed should also be submitted. All specimens that show strong colors and all groups of specimens that are not uniform in color will be coated by holding them in the vapor of ammonium chloride unless directions to the contrary are given by the author of the paper. As it may not be desirable to apply this process to soft or fragile specimens or to specimens that have been borrowed an author should indicate any specimens that may not be so treated. Specimens whose color aids in revealing detail are not so coated. If any features of a specimen are unusual that fact should be stated so that the photographer and the retoucher may perform their work according to the requirements.
MAKING UP PLATES.
Two or more illustrations may be combined to form one plate in order to permit easy and close comparison as well as for economy, for if a particular illustration is too small to make a full plate and is not suitable for enlargement other illustrations that are closely related to it may be put on the same plate. The size of the printed page as given in the table on page 11 will determine the size of the plate.
In making up plates composed of a number of figures the author should endeavor to group related figures together and at the same time to observe proper regard for artistic effect, but as figures vary in size and shape a grouping according to relations may not be possible in some plates. If related figures can not be kept together the larger and darker figures should be placed in the lower part of the plate and the smaller and lighter above. If a plate consists of one large figure and several smaller ones the large figure should be placed below and the smaller figures above.
A number designating a figure should be placed immediately below the figure, and a series of such numbers should preferably begin with 1 in the upper left corner and continue consecutively across and down through the plate. This arrangement is not always possible, however, on account of variations in the size of figures.
As drawings of fossils or other specimens are prepared separately and grouped into plates, and as most paleontologists make up their own plates, each in his own way, there is naturally great dissimilarity in methods and in results. Ordinary white or light-gray cardboard should be used, and the figures that are to make up a plate should be arranged as stated above but not securely pasted until the grouping is satisfactory. In trimming each drawing or photograph the author should be careful to leave room at its lower edge for the number. Small drawings or photographs, such as paleontologists use, when pasted on bristol board or other board faced with tough paper are difficult or impossible to remove without injury if they have to be remounted; figures pasted on ordinary white or gray cardboard can be removed without difficulty. Each plate should be made up in a size to fit the volume or in its correct proportion to a page in the volume in which it is to be used (see table on p. 11), and each figure should be properly oriented—that is, all vertical lines, or the vertical axis of each specimen, should be parallel with the sides of the plate. When the figures are being mounted care should be taken that the mucilage or paste does not exude under pressure and cover any part of the drawing or photograph. The same attention should be given to pasting on numbers. Inattention to these details may produce results that will affect the reproduction of the plates.
Ordinary mucilage may be used for mounting drawings and photographs, but photo paste gives good results and is perhaps cleaner to handle. Dry-mounting tissue is well adapted to mounting single illustrations but not groups of figures. Liquid rubber is sometimes used, but it is not suitable for mounting small figures, such as drawings and photographs of fossils. It can be used satisfactorily for mounting temporary plates and for mounting photographs in albums and on large cards for study or exhibition; but it has not proved to be a permanent adhesive. Its special merit is that it does not cause either the photograph or the mounting sheet to warp. It is applied by spreading it evenly over the back of the photograph with the fingers. The superfluous rubber can easily be removed from the hands and from the cards or sheets when it is dry. Anything mounted with liquid rubber can be easily removed.
If a plate is to be made up of a small number of figures that require different reductions, the author, instead of mounting or pasting the separate figures on one card in the manner already indicated, may draw a rectangle of the size of the printed plate and sketch within it the several figures in their respective sizes and positions. These "dummy" plates or layouts should be numbered as plates, and they may bear captions and titles. The photographs or drawings represented by the sketches should then be numbered to identify them with the sketches on the dummy plate, and those that pertain to each plate should be inclosed in an envelope attached to the dummy plate. A plate made up in this manner will meet every requirement of the photo-engraver or lithographer.
If a paleontologist so desires, his plates can be permanently made up after he has transmitted his material, but he should always submit a tentative arrangement.
If an author desires to use in modified form an illustration already published, whether by the Geological Survey or by an outside publisher, he should furnish a print or tracing of the illustration showing the changes desired. If the illustration is not to be modified he need only give the title of the volume in which it was used, with the number of the page, figure, or plate, and he need not make a sketch of the illustration or furnish a dummy; but its title should be quoted and proper reference should be given in the list of illustrations. Due credit should be given to the author or publisher.
The original cuts of illustrations will be kept for one year after the report for which they were made has been published, and authors of later reports may and should reuse, whenever practicable, any such cut that will serve as an illustration. In the author's list of illustrations [38] such a cut should be referred to by its number as plate or figure and the volume in which it was first used.
An electrotype of any cut on hand will be furnished for use in publications other than those of the Geological Survey at the cost of making, which is 31/2 to 51/2 cents a square inch of printing surface. The minimum charge for a single electrotype ranges from 46 to 60 cents.
APPROVAL OF FINISHED ILLUSTRATIONS.
After the drawings for a report have been prepared they will be submitted to the author or to the chief of his branch or division for examination. The finished drawings will be accompanied by the "originals," with which the author should carefully and thoroughly compare them. After making a thorough comparison he should mark lightly with a pencil, on the finished drawings, all necessary corrections, or indicate his approval subject to such corrections and additions as may be required. He should verify all type matter and other lettering and assure himself that no mistakes have been made in grouping the photographs into plates, especially such as have been regrouped since they left his hands. The author's list of illustrations will be submitted with the new drawings for this purpose.
All illustrations receive editorial revision before they are sent to the engravers. After they are drawn they are examined with reference to their scientific features and their accuracy, and then in turn with reference to the correctness of geologic names and geographic names and to errors in statement and in spelling. Each illustration thus, before it is completed, receives critical examination by persons qualified in particular kinds of work to detect errors or omissions.
The first proofs of all illustrations are submitted to an author when he is within reach, but if he is in the field and the transmittal of the proofs to him is likely to cause too much delay they are submitted to the chief of the branch or division in which the report was prepared. Second proofs of the more complicated illustrations, particularly geologic maps, may be submitted. An author's examination should be confined principally to the revision of the scientific features of his illustrations, but suggestions as to general effectiveness are always acceptable.
The process to be used in engraving each illustration is stamped in its lower left corner. In examining proofs an author should note the following facts:
1. Changes can not be made in zinc etchings except by eliminating parts, cutting away defects, and connecting lines. If additions are [39] required reengraving is generally necessary, and reengraving should preferably be avoided.
2. Changes can be made in half-tone plates only by re-etching certain parts to make them lighter and by burnishing certain parts to make them darker. If the proof shows a general loss of detail the fault may lie either in the proving of the cut or in the reproduction. If it is in the reproduction it can not be remedied without reengraving. A slight loss of detail may be expected in all half tones, especially in those that are smaller than the copy submitted.
3. Minor changes can be made in photolithographs and chromolithographs, but changes can not be made twice in one place without danger of affecting the printing. It is customary to approve all lithographic proofs subject to the corrections indicated, the printed edition being examined and compared, but if the changes are numerous and radical second proofs may be required. Second combined proofs of chromolithographs are very expensive. (See p. 89.)
An author should examine the proofs of his illustrations closely and should compare them carefully with the original drawings. A mere cursory examination may fail to detect errors that have not been caught by the regular proof reader. Every correction desired should be clearly indicated with pen and ink in the body of the proof and inclosed in a loop from which a line should be carried to a marginal note or comment, but if the time available is short a pencil may be used. In correcting type matter or lettering (such as that in a geologic legend or explanation) the ordinary proof reader's marks should be used. The author or the person examining the proofs should initial each one at the place indicated by a rubber stamp.
Proofs should be held only long enough to examine them properly and to compare them with the original illustrations, for a time limit is fixed in each contract for engraving, and if the author holds proofs beyond a reasonable time he causes a delay in the fulfillment of the contract.
As the illustrations for many reports contain important data that will be discussed in the text, proofs of illustrations can not be supplied to any applicant without consent from the Director's office.
The following requirements are essential to obtain good original illustrations:
1. The material selected should be pertinent and expressive; it should have the qualities essential to good illustrations.
2. The character of the report and the size of the illustrations should be kept clearly in mind. If the report is preliminary or ephemeral the illustrations should be simple and inexpensive. If the report represents the sum of knowledge on the subject treated or the last word on some particular area the illustrations may be more elaborate. The character of a report generally determines the form of publication, which, in turn, determines the size of the pages and the size of the plates and figures. Every sketch made should be larger than publication size—preferably twice publication size—whether it is a simple diagram or a base map.
3. The kind of reproduction that is apparently needed should be fully considered, for it should have some relation to the kind of report. The illustrations for short-lived reports are reproduced by the cheaper processes. Those for hurried reports are reproduced by processes that can be worked quickly, but no process should be considered that will not give a clear reproduction of essential details.
4. Clearness of preparation of original matter is invariably essential. An author should not expect the draftsmen or the editors to supply missing links. Each original should be complete and should be so made that it can be understood and followed without question. Changes made in the finished drawings or on proof sheets are expensive and delay publication.
Part II. Preparation By Draftsmen.
The work of preparing illustrations such as are used in the reports of the Geological Survey is essentially that of making finished drawings from more or less crude and imperfect material furnished by authors to illustrate certain features or phenomena discussed in their manuscripts. Each finished drawing must be so prepared that it can be reproduced in multiple by one of several processes of engraving. The author's sketches and other material are commonly called "originals"; the finished illustrations are known by the engravers as "copy." Though most engraver's copy consists of more or less elaborate drawings that are to be reproduced in facsimile by "direct" processes without the interposition of handwork, some of it consists of more roughly prepared copy which is accurate in statement but requires complete manual or "indirect" reproduction. The direct processes in use are zinc etching, half-tone engraving, photolithography, three-color half tone, photogravure, and photogelatin. The manual or indirect processes are wax engraving, wood engraving, engraving on copper and on stone, plain lithography, and chromolithography. These processes are described on pages 72-90.
Part I of this pamphlet contains some matter that is pertinent to final preparation and should be consulted by draftsmen.
To prepare a drawing that will be in every way suitable for reproduction usually requires experience of a kind not acquired in many other kinds of drafting, such as preparing engineers' or architects' drawings, because the drawings themselves or blue prints made directly from them are the things the engineer or the architect desires. Drawings prepared for reproduction are generally made larger than publication size, and it is therefore necessary to gage each line, letter, or feature for a definite reduction. Engineers' and architects' drawings generally do not require preparation for reproduction by any process, but in preparing illustrations for the reports of the Geological Survey reproduction must be fully considered at every step, and each drawing must be made according to the requirements of a certain selected process and gaged for a certain reduction. The draftsman should therefore know how to plan each drawing step by step for an engraved cut, a lithograph, a text figure, or a plate, always with a definite result in view. He should be familiar with processes of engraving and should know the special requirements [42] of each process, and he should be able to prepare drawings for any specified reduction in a way to insure good, legible reproduction.
The geologic draftsman should read and study such textbooks of geology as those of Dana and Geikie and should familiarize himself with structural geology, the geologic time divisions, and geologic nomenclature. He should be able to prepare a simple, effective illustration from complicated rough originals and to supply minor missing essential parts or features. To perform his work successfully he must possess mechanical skill and some artistic taste, as well as good eyesight and great patience.
The following list of draftsmen's instruments is practically complete. Those which are considered indispensable are marked by asterisks; the others may be used according to individual preference. The same kind of instrument may be duplicated in different sizes according to the variation in the demands of the work.
| Air brush and connections. Beam compass. Bow pen, drop spring. *Bow pen, steel spring. Bow pencil, steel spring. *Brushes, red sable. China saucers. *Color box. *Compass, pen and pencil points. Crayons, assorted colors. Curve rule, adjustable. *Dividers, plain. *Dividers, proportional. Dividers, steel spring. Drawing boards, several sizes. Eraser, glass. *Eraser, rubber, hard. *Eraser, rubber, soft. *Eraser, steel. Erasing shield. *French curves, xylonite. Microscope, low power and lenses. Palette knife. Pantograph. Pens, double-pointed. *Pens, Gillott's, Nos. 170, 290, 291. Pens, K. & E., drawing. No. 3202. |
Pens, Payzant's, 1 set. *Pencils, best quality, graded leads. *Protractor. Railroad curves, pearwood, 1 set. Railroad pen. *Railroad pencil. Reading glass. *Reducing glass. *Ruling pen. Scale, boxwood, 12 inches long, with divisions of millimeters and inches. Scales, boxwood, triangular. Section liner (parallel ruling device). Straightedge, steel, 24 inches. Straightedge, steel, 36 inches, with divisions for hundredths of an inch and millimeters. *Straightedge, wood, 24 inches. Swivel or curve pen. Thumb tacks. Tracing point, steel. *Triangle, 45°. *Triangle, 60°. *T square, pearwood, xylonite edge. *Tweezers, dentist's. |
CLASSIFICATION OF MATERIAL.
The draftsman handling the drawings and other original material submitted by the author of a report for its illustration should first group them, as far as possible, into kinds or classes, in order that [43] he may decide how each illustration should be prepared (1) to express most effectively the author's purpose, (2) to insure reasonable economy in preparation and in reproduction, and (3) to meet the requirements of the processes of reproduction selected. All similar illustrations for one publication should be prepared in the same general style. In a series of geologic sections, for example, the same lithologic symbols should be used throughout for the same kinds of rocks. The titles, explanations, and captions of the maps should also agree with one another in general style and in details of workmanship.
The draftsman should determine in advance the reduction for each drawing or for each group of drawings, in order that he may use the same size of letters or the same kinds of type for the lettering on a series of drawings that require the same reduction. The reduction should preferably be marked in fractions (as "1/2 off," "1/4 off" or "reduce 1/2," "reduce 1/4"), and the choice of the same reduction for a group of drawings will not only insure greater uniformity in the drafting and in the reproduction but will permit the drawings to be reproduced more economically, for the engraver can photograph them in groups instead of each one separately.
The draftsman should therefore note and consider (1) the special features shown in the author's originals; (2) whether or not these features have been plainly indicated and whether the originals are complete; (3) the size of the printed page of the volume in which the illustrations will appear and the reduction required for each drawing; and (4) the process by which each drawing should be reproduced. If an original is of doubtful or uncertain interpretation or appears to be incomplete the draftsman should confer with the author of the paper if he is within reach or should bring the matter to the attention of the chief of the branch; otherwise he may waste much time in making the drawing.
PROJECTION.
The base maps furnished by authors (see pp. 13-14) are prepared in many different ways and in different degrees of refinement and of crudity, but the work of redrawing them for reproduction involves well-established and generally uniform principles. All maps except those of very extensive areas should be based on a map projection which will show with a minimum of distortion the effect of the curvature of the earth. The polyconic projection (see fig. 5) is used for most Government maps. In this projection the central meridian is a straight vertical line, and each parallel of latitude is developed independently of the others. The mathematical elements of map projection [44] are given in tables published by the Geological Survey[6] and the Coast and Geodetic Survey.[7] Figure 5, however, illustrates the mechanical or constructional features of the polyconic projection and if used in connection with the published tables will probably be a sufficient guide for projecting a map on any desired scale.
[6] Gannett, S. S., Geographic tables and formulas, 4th ed.: U. S. Geol. Survey Bull. 650, 1916. See also Gannett, Henry, Manual of topographic methods: U. S. Geol. Survey Bull. 307, pp. 85-86, 1906.
[7] Methods and results: Tables for the projection of maps and polyconic development; Appendix No. 6, Report for 1884; Tables for a polyconic projection of maps, based upon Clarke's reference spheroid of 1886; 3d ed., 1910.
In projecting a map first select a convenient measuring scale for setting off the dimensions given in the tables, or if no scale is at hand one may be constructed. Measuring scales are made, however, bearing divisions for miles and kilometers and finer subdivisions of 6 to 100 parts. They include the ratios of 1:31,250, 1:31,680, 1:48,000, 1:62,500, 1:63,360, 1:125,000, 1:250,000, 1:500,000, 1:1,000,000, and others. On a map drawn on the scale of 1 to 63,360, for example, 1 inch would represent 1 mile; on a map drawn on the scale of 1 to 1,000,000, 1 millimeter would represent 1 kilometer, and so on. It will be seen that the use of a scale that shows in ratios, such as those just given, the actual distance on the ground as compared with the unit representing the same distance on the map will reduce the possibility of error.
The method of projecting a map, illustrated in the accompanying diagram (fig. 5), is as follows: First draw a straight vertical line (A) through the middle of the sheet to represent the central meridian [45] of the map and a line (B) at the lower end of this line exactly at right angles to it to represent the bottom of the map. Then set off on the line showing the central meridian the distances between parallels given in Table 6 on page 36 of "Geographic tables and formulas" (Bull. 650). It should be noted that the figures in these tables give the distance, in meters and statute miles, of 1° on a meridian measured 30' each way from a point where the meridian is intersected by a parallel. The exact distances between parallels as measured on the ground are given in the Coast and Geodetic Survey tables, or they may be computed from Table 6 of "Geographic tables and formulas" by adding the sum of the figures given for any two latitudes 1° apart and dividing by 2.
The distance between parallels that are 2° apart, as shown in the diagram, may be computed from Table 6 of "Geographic tables and formulas," as follows:
| Meters. | Meters. | |
| 1° of latitude on 37th parallel | = 100,975.1 ÷ 2 = | 55,487.5 |
| 1° of latitude on 36th parallel | = | 110,956.2 |
| 1° of latitude on 35th parallel | = 110,937.6 ÷ 2 = | 55,468.8 |
| True distance from 35° to 37° latitude | = | 221,912.5 |
The distances given in the diagram were obtained by adding the figures given in the Coast and Geodetic Survey tables, which yield the same results. Other tables in Bulletin 650 give the true distances in inches on maps of certain standard scales.
Through the points thus obtained on the central meridian draw lines at right angles to the vertical line. Along these horizontal lines lay off the dimensions in the column headed X, Table 6 (pp. 39-47) of "Geographic tables and formulas" as required for each individual map—in the diagram every alternate degree. Draw vertical lines at these points and set off the distance Y in the same table in a similar manner, and the points so found will be the points of intersection of the respective meridians and parallels. Figures are given on the diagram for the thirty-fifth parallel only.
DETAILS OF BASE MAPS.
Anyone who attempts to draw a base map must, first of all, know how each feature or part of the map should be represented. Most of the conventional symbols for features shown on base maps are well established and should invariably be used; for instance, a line composed of alternate long and short dashes (not dashes and dots) represents a county boundary, and a line or two parallel lines across which short lines are drawn at regular intervals represents a railroad. If he finds that two or more symbols have been widely used to represent [46] the same feature the draftsman should select the one that is best suited to the map in hand. The correct forms of the conventional symbols or features to be used in preparing miscellaneous maps are shown in Plate IV, but the size and weight of each line or symbol must depend on the size and character of the map.
TRANSFERRING OF COPYING.
TRACING.
The oldest method of transferring a map or parts of a map or other drawing to another sheet is that of copying it by means of tracing paper. This method, though still used for simple work, has given way to quicker and more effective methods. By one of these methods a piece of thin, fairly smooth paper (not necessarily transparent) is coated with graphite by rubbing over it a soft pencil. When the graphite has been evenly distributed over it, this sheet is laid upon the drawing paper, coated side down, the map or other subject to be copied is laid upon the graphite-coated sheet, and the two outer sheets—the drawing paper and the map—are securely fastened together. By a steel tracing point or very hard pencil the lines and other details of the matter to be copied are then firmly and carefully traced and thus transferred to the clean drawing paper beneath.
For maps that show several features in different colors sheets rubbed with blue, orange, brown, or green pencils may be used, one after another, for tracing each set of the features. Red should not be used, as it is not easily erased. This method insures distinctive lines for the separate features and prevents the confusion that might result from the use of one color only. Exact register of the features shown in the several colors used may be insured by fastening one edge of the drawing to be copied to the drawing paper by mucilage or thumb tacks. The colored sheets may then be slipped in and out without altering the position of the lines or symbols for one set of data with relation to those for the others.
In the final preparation of a base map to be engraved and printed in colors—for example, black, blue, and brown—tracings of the three colors appearing on the original base should generally be transferred, as described above, to one sheet of paper and thus worked up into a three-colored map. It is usually unnecessary and undesirable to draw each color on a separate sheet. The preparation of separate drawings may facilitate reproduction, but if they are made on tracing cloth the usual uneven shrinking or stretching of the cloth may produce misregister in the printing; therefore it is safer to make a single drawing, so that the photolithographer can make three negatives and [47] separate the colors by painting out or "opaquing" the colors not wanted on each negative. A map drawn on a single sheet is also less bulky and can therefore be more conveniently handled and compared with proof.
If for any reason separate tracings for the different colors to be used on a map are considered desirable they should be made on linen cut from one roll and in the same direction according to the warp and woof.
CELLULOID TRANSFERRING.
In the celluloid method of transferring a map or parts of a map to paper upon which a complete new map is to be drawn the map or part of the map to be copied is photographed to the exact scale of the new drawing and reproduced in graphite on thin sheets of celluloid.
The celluloid sheet is then laid face down in the correct position on the drawing paper and firmly rubbed on the back with a steel burnisher, which makes a perfect offset of the map on the paper. After the parts desired are inked over the rest of the graphite print is easily erased with an ordinary rubber.
By using this method it is possible to get absolute scale and more satisfactory results than by tracing over a photographic print line for line or by using a pantograph.
Requisitions for celluloid prints are made on the form used for requesting photolithographic work.
SKETCHING BY RETICULATION.
If the sheet bearing the design or matter to be copied may be marred without objection it is ruled lightly into pencil squares of equal size. Corresponding squares of the same size, larger, or smaller, according to the size of the new drawing, are then ruled on the drawing paper, and the work is sketched square by square. If the original sheet may not be marred the same result can be obtained by drawing the lines on a transparent oversheet. This method is serviceable for enlarging or reducing simple work that includes no great amount of detail; if great precision of detail is required the original should be enlarged or reduced by photography or by the pantograph.
THE "SHADOWLESS DRAFTING TABLE."
One of the most useful contrivances that has been made for tracing a drawing on the same scale is called by its manufacturers the "shadowless drafting table." The essential features of this table are a wooden box inclosing strong incandescent lights and bearing a ground-glass top. A drawing placed on the ground glass can be so [48] illuminated as to make its lines conspicuous and readily traceable even through relatively thick paper. The table is particularly useful for tracing sheets upon, which the lines are indistinct and would not be discernible under tracing paper with reflected light. It is also useful in preparing drawings in which certain features must register perfectly over each other. In fact any drawing that does not require enlarging or reducing can be traced with great facility by the use of this drafting table, and it is particularly useful for tracing faint lines on old and poorly preserved prints or drawings.
Such a table has been installed in the section of illustrations, where it can be used by authors and others.
TOPOGRAPHIC FEATURES.
RELIEF.
The effect of relief is expressed on a map by three methods—by contours, by hachures, and by shading. (See fig. 6.) The first method does not give pronounced pictorial expression of relief, though it gives correct shape and exact elevation; the others are mow pictorial, but they do not give exact elevation.
Contours.—As contoured maps are originally prepared from actual surveys the draftsman should simply follow the copy furnished by the topographer or such original matter as may be given to him for redrawing. If the area mapped is large and the contours are close together the original may be transferred by celluloid tracing (see p. 47), or it may be transferred by tracing with graphite-coated paper (see p. 46). After the contour lines have been transferred they should be traced in ink, in lines of even thickness, except those that represent certain fixed intervals and are to be numbered, which should be made slightly thicker. (See fig. 6, A.) In drawing these lines some draftsmen use an ordinary ruling pen, others the swivel pen; but considerable practice is required in the use of either before it can be controlled to follow precisely the penciled lines. Still other draftsmen use the Shepard pen or an ordinary drawing pen. The swivel pen, if expertly handled, produces a firm and even line.
Italic numbers should be used to indicate the elevation of a contour and should be placed in an opening in the line, never between lines. Where the lines run close together great care should be taken that they do not touch unless the interspaces are so narrow that they must touch and combine. The lines should be firm and even, and if the copy or original map shows that they are uniformly very close together it should be enlarged before the tracing is made in order to give more freedom in drawing; but if the enlarged map is to be much reduced care should be taken to make the lines proportionate to the reduction. A photo-engraving of a map on which the contour [49] lines are drawn very close together is likely to be unsatisfactory because, though the spaces between the lines are reduced in width, the lines themselves may show no corresponding reduction in thickness.
Figure 6.—Methods of expressing relief: (A) by contour lines, (B) by hachures, (C) by
shading on stipple board, and (D) by a brush drawing. The four examples given represent
the same area. The drawings were made twice the size of the printed cuts.
Certain contour lines are commonly accentuated on a map, generally every fourth or fifth line—that is, for a 10-foot interval every 50-foot line, for a 20-foot interval every 100-foot line, for a 25-foot [50] interval every 100-foot line, for a 50-foot interval every 250-foot line, and for a 100-foot interval every 500-foot line.
Hachuring.—The effect of relief can be produced satisfactorily by hachuring but only by a draftsman who has had considerable well-directed practice in that kind of drawing. In a hachured map the light should seem to come from the west or northwest—that is, the darker parts should be on the east or southeast side of an elevation and the lighter parts on the west or northwest The highest elevation should be represented by the darkest shade on the right and by a corresponding high light on the left. The hachuring should begin at the crest of a peak, range, or butte and be worked downward toward the gentler slopes, the lines being drawn farther apart and made thinner until the floor of the valley is reached and the effect of shadow is lost by fewer and lighter lines. On a hachured map that is made from a contoured map somewhat definite differences of elevation may be indicated by the intervals between the strokes, and abrupt changes in slope may be indicated by shorter and heavier lines. The strokes should be disjointed, and they should trend at right angles to the upper margin of a cliff and should radiate from a peak. Figure 6, B, represents satisfactory hachuring.
Hill shading.—Relief is more easily expressed by shading than by hachuring. (See fig. 6, C, D.) The draftsman can best express it by this means after he has studied contoured maps or photographs of the region mapped, if they are available, in order that he may obtain an idea of the details of its topography.
The special means used to produce hill shading will depend on the character of surface of the paper on which the drawing is to be made, the size of the map, the amount of detail and refinement of execution desired, and the amount of reduction to be made in reproducing the drawing. For maps on which it is desired to show some refinement of drawing and detail, a lithographic or wax crayon can be used on paper which has a grained surface. The draftsman must express relief according to the information he has at hand, whether detailed or general, and must employ methods that accord with the purpose of the map and the mode of reproduction selected. If a shaded relief map is to be prepared for direct reproduction by photolithography and the shading is to be printed in a separate color the base map should be completed first and a light photographic or blue print obtained on which to add the relief in black lithographic crayon, to insure perfect fitting of the relief and the base; or the relief can be prepared on an oversheet—a semitransparent white paper with sufficient "tooth" or grain to cut the shading up into minute dots. The shadowless drafting table (see p. 47) is especially useful for this purpose. On this oversheet register [51] marks should be placed at the four comers and at several other points, particularly at the intersection of parallels and meridians.
For relief shading on small black and white maps Ross's hand-stipple drawing paper may be used. (See p. 24.) By rubbing a black wax crayon or pencil over the surface of the paper the desired effect is produced in fine dots or in stipple, which may be varied in density of shade at the will of the draftsman. (See fig. 6, C.) High lights can be produced by scraping away the chalky surface of the paper. A lithographic or wax crayon is the best medium to use on this stipple paper, as on the paper referred to in the preceding paragraph, for the shading produced by it is not so easily smeared as that produced in pastel or by a graphite pencil. The object of using either the rough paper or Boss's stipple paper for drawings that are to be reproduced by photo-engraving is to produce a shading that is broken up into dots of varying sizes, which is essential in such reproduction.
Belief shading for maps can also be made with a brush in flat washes of either india ink or lampblack. Such shading should be made only over a blue print or an impression of some kind from the map upon which the shading or relief is to be overprinted. If the relief is expressed on the author's original by contours the general shapes of the relief and the drainage lines can be traced and transferred lightly in blue lines to form a base on which to model the shading and at the same time to make the shading fit the streams. Such a drawing can be photographed through a screen and reproduced by half tone (see fig. 6, D) or mezzotint as a separate plate made to overprint the map in another color.
HYDROGRAPHY.
General directions.—The drainage features of a map should be so drawn as to suggest the natural courses of the streams. Streams should not be drawn in straight, hard lines, as such lines are decidedly unnatural and produce a crude effect. The course of a river may be straight in general, but it is likely to be somewhat sinuous in detail. If the streams shown on a preliminary map are drawn in a clumsy or characterless fashion they should be redrawn with a freehand effect or made slightly wavy, in order that they may appear more natural. The gradual widening of streams from source to mouth should also be shown in the drawing. On small-scale maps, where the eye can at once see a stream through its full length, this almost imperceptible widening can be expressed by a line of almost uniform weight except for the stretch near the source, where it should grow thinner and taper off. On maps which are to be reproduced directly from drawings in black and white and which are to show [52] both contour lines and drainage the lines representing the streams and other water bodies should generally be drawn freehand and slightly heavier than the contour lines, which should be sharper and more precise.
The names of all streams or other bodies of water should be in italic letters, those of the larger streams being lettered in capitals and those of the smaller streams in capitals and lower-case letters. (See "Lettering," p. 53.)
Water lining.—The use of water lining on black and white maps should be limited to maps on which the water areas are not readily distinguishable from the land areas. In rough drawings that are to serve only as copy for engravers a flat color may be used for water areas and its conversion into water lines specified. In base maps to be reproduced in three colors a light-blue tint may be used in lieu of water lining, and it can be printed either flat or in a fine ruling transferred to the stone that is to print the drainage. The engraving of water lines is expensive, and the flat blue color should generally be preferred.
Water lining usually consists of 30 to 45 lines on engraved or large maps, but on small maps and sketch maps the number may be reduced as desired. Care should be taken that the lines are as nearly parallel as they can be made freehand and of even weight or thickness. The first three to six lines outside the coast line should be somewhat closer together than those farther out and should conform closely to the coast line, but the spacing between the lines should increase and the lines should become almost imperceptibly less conformable to the coast line as they reach their outer limit, the last three to six being made with the greatest care and refinement. Water-lined maps that are to be reproduced by photographic processes should be drawn at least twice publication size. The reduction will bring the lines closer together, and the reproduction will show a more refined effect than could possibly be produced by the most skillful drawing.
Good examples of water lining, such as are shown on the topographic atlas sheets of the Survey, should be studied by draftsmen before they undertake such work.
CULTURAL FEATURES.
The cultural features represented on a map include "the works of man"—not only cities, towns, buildings, bridges, railroads, and other roads, but State, county, and other boundary lines—in short, all that part of a three-color base map which is shown in black, the engraved plate for the black being called the culture plate. The features named in the list below are the cultural features referred to. (See Pl. IV for corresponding symbols.)
| Aqueduct mains. Aqueduct tunnels. Bench marks. Boundary Lines. Boundary monuments. Breakwaters. Bridges. Buildings. Cable Lines. Camps. Canal locks. Canals. Cemeteries. Churches. Cities. County lines. Dams. District lines. Ditches. Electric power lines. Fences. Ferries. Fords. Gas wells. Hedges. |
Hospitals. Jetties. Land-grant lines. Land-section Lines. Levees. Mains. Mineral monuments. Mine tunnels. Mines. National forests. National parks. Oil tanks. Oil wells. Open cuts. Park boundaries. Paths. Pits. Post offices. Precinct lines. Prospects. Province lines. Quarries. Quarter-section lines. Railroads, steam or electric. |
Ranches. Reservation boundaries. Reservoirs. Roads. Ruins. Schoolhouses. Section comers. Section Lines. Settlements. Shafts. Streets. Telegraph Lines. Towns. Township comers. Townships. Trails. Tramways. Triangulation stations. Tunnels. Villages. Water mains. Water wells. Waterworks. Windmills. |
GENERAL DIRECTIONS.
The cultural features are named on maps by letters of two distinct styles—slanting gothic for public works and roman for habitations and civil divisions. The size of the letters used should indicate in a general way the relative importance of the feature or group to which they are applied, but on some maps the county seats, State capitals, and large cities may be distinguished by different symbols. The names of civil divisions are lettered in sizes depending on their relative grade and the size of the area or space in which the names are to appear.
The features shown on a topographic map may be broadly separated into four groups and are lettered as follows:
Civil divisions (countries, States, counties, townships, land grants, reservations, cities, towns, villages, settlements, schools, lodges, ranches, etc.), roman capitals or capitals and lower case.
Public works (railroads, tunnels, roads, canals, ferries, bridges, fords, dams, mains, mines, forts, trails, etc.), slanting gothic capitals (light) or capitals and lower case.
Hydrographic features (oceans, seas, gulfs, bays, lakes, ponds, rivers, creeks, brooks, springs, wells, falls, rapids, marshes, glaciers, etc.), italic capitals or capitals and lower case.
Hypsographic features (mountains, ranges, peaks, plateaus, cliffs, buttes, canyons, valleys, peninsulas, islands, capes, etc.), upright gothic capitals (light) or capitals and lower case.
The essential principles of lettering have been described in numerous treatises and are well understood by most draftsmen. The correct form of each letter may be learned from such treatises, but spacing and arrangement are best learned by observation and experience. Good lettering will not strongly attract attention, but even slight imperfections of form, spacing, slant, and shading will be quickly detected and criticized. Map letterers should note that the name of a place or the number of a symbol should be put to the right of the symbol if possible and a little above or below it—not to the left and directly on a line with it, as Tucsono, 17o, Dallaso, Carsono. Names indicating large areas, if written from west to east, should curve with the parallels, and all names should be so lettered that "if they should fall they would fall on their feet." Every name should be distinctly legible but not so conspicuous as to subordinate the feature it designates. Lines should therefore not be broken in order to make the lettering clear except where there is possible danger that the smaller spaces may be filled up in printing. The lettering on a map should always be so spaced that it will properly fit the area it is intended to designate. In names consisting of two or more words the letters should not be closely spaced if wide spaces are left between the words. In numbers, except those used to indicate elevations on contour Lines or elsewhere, thousands should always be set off by commas.
Draftsmen often draw bad forms for commas, quotation marks, apostrophes, and question marks. The following forms are correct: Comma , ; quotation marks "" ; apostrophe ' ; question mark ? .
LETTERING BY TYPE.
Names and short notes printed from type on paper, to be cut out and pasted in proper positions on maps or other drawings, now furnish a large proportion of the lettering on the Survey's illustrations. The strips are likely to become detached by the repeated handling of a drawing, however, unless they are securely pasted on. The best results can be obtained by having the type printed on a special brand of "noncurling" gummed paper, from which the lettering is cut in squares or strips, which are dampened and applied to the proper places on the drawing. In handling such strips a pair of dentist's tweezers is useful. When mucilage is applied to printed strips of ordinary paper the moisture causes the paper to warp or curl, often so much as to affect the reproduction of the drawing. This printed lettering is generally used, however, only for headings, titles, notes, and other matter that stands alone; it should not be used for the geographic names in the body of a map unless only a few names are to appear, for the strips of paper bearing the names may obscure parts of the map. The reproduction of this lettering by photo-engraving or photolithography gives results superior to those obtained from hand lettering unless each letter is made with the utmost care, work which is considered a waste of time.
Click on image to view larger size.
REDUCTION SHEET USED IN LETTERING ILLUSTRATIONS.
The largest size shows the letters unreduced; the other sizes show the letters
reduced as indicated in the margin.
Type is used also for printing lettering directly on a drawing exactly in proper position, by a special type holder, somewhat like a self-inking stamp.
Most of the styles and sizes of type now used on maps in the Survey's reports are shown in Plate V.
If a drawing is to be reduced one-half the smallest type used should be about 2 millimeters in height; if it is to be reduced one-third the smallest type used should be about 1.5 millimeters in height; and so on. No letter whose vertical height after reproduction would be less than about 1 millimeter should be used, and the larger lettering should bear a proper relation to the smaller. Sheets showing the styles of type in use by the Survey, in full size and reduced one-fourth, one-third, two-fifths, one-half, three-fifths, two-thirds, and three-fourths, will be furnished on request. If a drawing is to be reduced one-half, for example, the sheet that has been reduced one-half will show the size of the lettering on the printed plate, so that the draftsman, by referring to the sheet showing the reduction he desires, can select type of a size that will be legible. Plate V shows a part of this reduction sheet.
ABBREVIATIONS.
The following are the correct forms for abbreviations used on maps and other illustrations:
|
|
|
Words like mount, river, point should not be abbreviated where they form a part of the name of a city or town, as Rocky Mount, Fall River, West Point. Neither the word nor the abbreviation for railroad or railway should be placed on a map; the chartered name (or initials of the name) and the road symbol are sufficient.
Names of States and Territories should be abbreviated, where abbreviation is necessary, as follows:
| Ala. | Ga. | Minn. | N. J. | Tenn. |
| Ariz. | Ill. | Miss. | N. Mex. | Tex. |
| Ark. | Ind. | Mo. | N. Y. | Va. |
| Calif. | Kans. | Mont. | Okla. | Vt. |
| Colo. | Ky. | Nebr. | Oreg. | Wash. |
| Conn. | La. | Nev. | Pa. | W. Va. |
| D. C. | Mass. | N. C. | R. I. | Wis. |
| Del. | Md. | N. Dak. | S. C. | Wyo. |
| Fla. | Mich. | N. H. | S. Dak. |
Alaska, Guam, Hawaii, Idaho, Iowa, Maine, Ohio, Samoa, and Utah should be written in full.
The abbreviations used on the margins of maps for subdivisions of land should be as follows (note punctuation): T. 2 N., E. 3 W. On large-scale plats the marginal lettering should be as follows: N. 1/2 NE. 1/4 sec. 1, T. 7 N., K 2 W.; fractional secs. 2 and 35, Tps. 7 and 8 N., R. 2 W.; NW. 1/4 sec. 20, T, 7 N., R. 2 W. In spelling fractions use half and quarter, not one-half and one-quarter.
The abbreviated forms of such names as North Fork and South Fork should be N. Fork and S. Fork, not North Fk. and South Fk.
Additional abbreviations used on illustrations are as follows:
N. for north, NE. for northeast, NNE. for north-northeast, etc. Capitalize directions affixed to street names, as NW., SE. (1800 F St. NW.).
Sec. and secs. for section and sections before a number. Capitalize only at the beginning of a line or sentence.
a. m. and p. m. for antemeridian and postmeridian, as 4.30 p. m. Lower-case unless in line of caps.
& in names of corporations or companies. On Survey miscellaneous maps "and" is spelled out in railroad names.
B. t. u. for British thermal units.
bbl., bbls. for barrel, barrels.
bu. for bushel or bushels.
c. c. for cubic centimeter.
cm. for centimeter.
cwt. for hundredweight.
dwt. or pwt. for pennyweight
oz. for ounce or ounces.
etc. (not &c.) for et cetera.
ft. for foot or feet.
H. m. s. for hours, minutes, and seconds. (Use capital H.)
in. for inch or inches.
kw. for kilowatt or kilowatts.
£ s. d. for pounds, shillings, and pence.
per cent (omitting period) for per centum. Spell out percentage.
ser. for series.
St. for Saint or street
U. S. Army for United States Army, as distinguished from United States of America (U. S. A.).
yd., yds. for yard, yards.
Click on image to view larger size.
HALF-TONE CUTS SHOWING EFFECT OF SEVERAL STANDARD SCREENS IN THE REPRODUCTION OF THE SAME DETAIL.
The names of certain months may in some places be abbreviated; those of others should invariably be spelled out. The following are the correct forms:
| Jan. | Apr. | July | Oct. |
| Feb. | May | Aug. | Nov. |
| Mar. | June | Sept | Dec. |
The abbreviations for number and numbers before figures are No. and Nos. The o should never be raised, as in No. The abbreviation for Mac is Mc, not Mc.
All periods should be omitted from abbreviations used in the body of a map unless their omission would cause misunderstanding. They are generally unnecessary, and if used on some maps they are likely to be mistaken for symbols representing certain features, such as houses or flowing wells, if either is shown. Periods used on drawings that are to be reproduced "direct" or photomechanically should always be slightly exaggerated.
NAMES OF RAILROADS.
The names of railroads may be written in full or abbreviated, in accordance with the kind of map and the space available. On a sketch map in black and white the initial letters are generally sufficient. On a more detailed map, if there is room enough, the names may be spelled out. As already stated, neither the words "railroad" and "railway" nor the abbreviations R. R. and Ry. should be used on a map.
MAKE-UP OF MAPS.
FORMS FOR CERTAIN FEATURES.
The proper forms for certain features of maps, such as the borders, titles, explanations, bar scales, captions, arrows indicating true north and magnetic declination, source, and authorship, are shown in Plate VII. Note particularly the style and position of the marginal matter.
BORDER.
A finished map border is used or omitted according to the kind of map prepared. Diagrammatic maps and maps on which no parallels and meridians appear do not need finished borders. On a map that shows complete areal geologic or other coloring, such as a map in a Survey geologic folio, the border lines tend to destroy the simple effect of the whole map. On a map that is not completely colored and on all very large maps borders are really necessary. If borders [58] are used, however, the space between the neat line and the outer line of the border should be only sufficient to provide proper space for the numbers showing latitude and longitude or township and range. A simple rule[8] for determining the width of this space is as follows: Divide the sum of the dimensions of the map by 2 and find the square root of the quotient, which will represent the width of the border in sixteenths of an inch. Example: Map is 20 by 30 inches; (20 + 30)/2 = 25; square root of 25 = 5; width of border = 5/16 inch.
[8] Worked out by Martin Solem, of the U. S. Geological Survey.
The numbers showing latitude and longitude should be in shaded arabic numerals and those showing township and range in gothic. The symbols for degree, minute, and second should not be crowded. On a map that has no added border lines the numbers should be in hair-line gothic.
TITLE.
The title of a map should be in roman letters and if placed at the lower margin should generally be arranged in two lines, unless it is short. If it forms two or more lines the lines should be well balanced. The first line should describe the position of the area; the second line should state the purpose of the map, as
MAP OF BUTTE AND VICINITY, MONTANA
SHOWING LOCATION OF MINES AND PROSPECTS.
A title placed inside the border of a map should be arranged in a series of lines, generally beginning with "Map of" or "Geologic map of." and the line showing the dominant part of the title should be emphasized by larger lettering, thus:
MAP OF
THE VICINITY OF BUTTE
MONTANA
SHOWING LOCATION OF MINES AND PROSPECTS.
The name of the author or compiler of a map or of the person supplying the geologic or other data shown on it may be placed either beneath the title or in the lower right corner, just below the border line, and the names of the topographers or the source of the base should be stated in the lower left corner, just below the border line. If the title is placed inside the border all notes giving credit for any part or features of the map may be placed beneath the title or scale. (See PI. VII.)
Click on image to view larger size.
DETAILS OF THE MAKE-UP OF A GEOLOGIC MAP
EXPLANATION.
The symbols, patterns, or colors used on a map should be given in a series of rectangles or "boxes," accompanied by explanatory terms in the form shown in Plate VII, headed "Explanation." If the explanation is small a convenient place for it on some maps may be found within the neat lines. If no space is available there, or if it is so large that there is not room to place it there without obscuring other details, it may be placed either vertically along the right margin, as shown in Plate VII, or horizontally under the title. A geologic explanation should preferably be arranged vertically, as in Plate VII, so as to show the relative age of the formations by the positions of the boxes. This explanation should be carefully worked out in pencil by the draftsman and approved by the committee on geologic names before it is drawn in ink, in order to save time in making corrections.
In lettering the explanation roman letters or type should be used for the titles under the boxes and italic of smaller size for the subtitles or descriptive detail, which should be inclosed in parentheses. The names of geologic periods and systems should be in gothic capitals, the names of series or groups should be in italic lower case, and the limit of each period, system, or group should be indicated by braces. The general style and arrangement shown in the Survey's geologic folios should be followed, and this and the arrangement of other matter is shown in Plate VII. Care should be taken not to crowd the explanation, and if corrections are necessary they should be so made that each line of the matter in which they appear will be properly spaced.
The explanation for a map that is to be engraved or to be reproduced by lithography need only be sketched in to show general style and arrangement. The engraver or the lithographer will supply such matter in proper form according to specifications. For direct reproduction, however, as by photolithography or zinc etching, the lettering must either be carefully drawn with pen or printed from type on slips, which are pasted on the drawing.
GRAPHIC SCALES FOR MAPS.
A bar scale for miles or feet should be given on every map, and if
the map is of international interest the metric scale should be given
just beneath the scale of miles or feet. The accepted designs for
these scales are shown in figure 7. The scale should be accompanied
W any necessary statement pertaining to the base map, such as "Contour
interval 20 feet," "Datum is mean sea level." The fractional
scale (
,
for example) should be given on all except the more
simple kinds of maps, and the date of publication should also
appear just below the scale or scales. The single-line bar scale
should be used only on small or simple maps. The length of
the bar scale must depend on the size of the map and the space
available. Those shown in figure 7 were made over blue prints from
scales used by the Survey.
To make a bar scale for a map of unknown scale that shows only a single meridian and parallel, or for a map on which no meridians or parallels are shown, first ascertain the distance between two points shown on the map by reference to other authentic maps. If, for example, the distance between two such points is 16.315 miles draw a horizontal line (a in fig. 8) representing this distance on the map, and at its end, at right angles to it, draw another line (b) actually measuring 16.315 units of any convenient denomination. Draw a straight line (c) diagonally between the ends of lines a and b. Then set off on line b any convenient number of the units selected, say 5 or 10, and project from the points set off lines exactly parallel with line c to line a. The distance and the number of the units thus marked on line a will indicate the number of miles covered by that distance on the map, as shown in figure 8.
PATTERNS USED TO SHOW DISTINCTIONS BETWEEN
AREAS ON BLACK AND WHITE MAPS
Contrasts may be increased by varying the direction
and spacing of Lines
SYMBOLS.
Symbols should be drawn with as much care as letters, though to a critic they may not appear so bad as poor lettering unless he finds them glaringly large or so small that he can discover or identify them only with difficulty. The size of a symbol must depend on its importance on the map bearing it. On a map that shows numerous mines, for instance, the crossed hammers or the symbols for shafts should be not only visible but conspicuous. The draftsman who is to make such a map must know beforehand how much his drawing will be reduced in reproduction and must make the symbols in proportion to the reduction. The symbols shown in Plate II (p. 20) should be used in all the Survey's illustrations where they are appropriate.
AREAL PATTERNS FOR BLACK AND WHITE MAPS.
The conventional patterns used on a map to distinguish separate areas, chiefly geologic, are shown in Plate VIII. The patterns shown represent the proper combinations of lines, dots, and other forms and should be spaced openly or closely according to the size of the area covered, the contrast needed between areas, and the general clearness and effect desired. If a map is to show both small and large areas dense or closely spaced patterns should generally be used for the smaller areas, even if they may be required for some fairly large areas representing the same formation or condition. On the other hand, open patterns should be used for large areas. Again, it may be necessary to make certain areas more conspicuous than others, and this effect can be best produced by drawing the lines closer together rather than by making them heavier, unless the area covered is small or unless a closely spaced similar pattern has been or will be used elsewhere on the map. Heavy-line patterns or bars are not desirable. The lines forming a pattern should generally be drawn at an angle of 45° to the sides of the map; they should be drawn vertically or horizontally only in small areas or in areas not crossed by meridians or parallels or by other lines running in the same direction. The lines should preferably run across the long axis of an area, not parallel to it, and the predominating trend or general direction of the areas of one geologic formation on a map should decide the direction of the lines for all areas of that formation on the same map, even if the rule must be violated on some of the minor areas.
An effort should always be made to produce a pattern that is subordinate in strength to the main lines of the base map on which it is drawn. In black and white maps, as in colored maps, unlike patterns should be placed next to each other. If they are so placed it may not be necessary to rule the lines on two adjacent areas in opposite directions to produce needed distinctions. A section liner or other ruling device should be used in drawing line patterns in [62] order to produce uniformly even spacing. The application of six of these conventional patterns to a base map is shown in figure 9.
STANDARD COLORS FOR GEOLOGIC MAPS.
The standard series of colors for systems of sedimentary rocks is
shown on the maps in the Survey's geologic folios but is subject to
modifications for use on maps in other Survey reports. Each system
is represented by a different color, and if there are two or more formations
in one system they are generally distinguished by using different
patterns composed of straight parallel lines in the same color. The
patterns for subaerial deposits (chiefly Quaternary) are composed of
dots or circles, or combinations of both, and may be printed in any
color, but the color most often used is yellow or ochraceous orange.
No specific colors are prescribed for igneous rocks, but if only a few
areas are shown red or pink is preferred. The colors used for igneous
rocks are generally more brilliant and purer than those used for sedimentary
rocks. For small areas they are used "solid"; for large areas
they are reduced in tone by the use of a suitable cross-line pattern or
"reticle." Metamorphic rocks are represented by short dashes irregularly
placed. These dashes may be in black or in color over a ground
tint or over an uncolored area, or they may be in white on a ground
tint or pattern. The standard colors used for the sedimentary series
covering the 12 systems recognized by the Geological Survey are:
Quaternary (Q), ochraceous orange; Tertiary (T), yellow ocher and
isabella color; Cretaceous (K), olive-green or rainette-green; Jurassic
(J), blue-green or niagara-green; Triassic (
), light peacock-blue
or bluish gray-green; Carboniferous (C), blue or columibia-blue;
Devonian (D), gray-purple or heliotrope-gray; Silurian (S), purple
or argyle-purple; Ordovician (O), red-purple or rocellin-purple;
Cambrian (
), brick-red or etruscan red; Algonkian (A), terra cotta
or onion-skin pink; Archean (
), gray-brown or drab.[9]
[9] Names printed in italic are from "Color standards and nomenclature," by Robert Ridgway.
REDUCTION OF ENLARGEMENT OF MAPS.
The following is the simplest and most accurate method of marking the reduction or enlargement of a map to a selected scale: Measure the distance between the extreme meridians along one of the parallels. (See fig. 10.) Convert this distance into miles by multiplying the number of degrees it covers (say 3) by the number of miles in a degree. A degree on the forty-third parallel, for example, is 50.669 miles, [10] which multiplied by 3 equals 152.007 miles. Then draw a line on the margin of the map, outside the border, the exact length of the 3 degrees, and just below this line draw another line representing the same number of miles (152.007) on the scale to which the map is to be reduced or enlarged. Then mark to reduce or enlarge the upper line to the lower line, as shown in figure 10. A long line will reduce error and give greater accuracy than a short one, and therefore as great a distance should be set off as possible. The number of miles represented by both lines and the fractional scale to which it is to be reduced should be stated on the drawing, for permanent record.
Maps that will bear reduction without affecting the clearness of the details they show may be reduced to fit the book in which they are to appear, regardless of definite scale. The reduction for such maps is best marked in fractions, as "1/2 off," "1/3 off," "2/3 off." If the size needed is not exactly represented by these fractions it should be indicated in inches, as "Reduce this line to 71/2 inches," or "Reduce to 43/8 inches in width."
Click on image to view larger size.
Figure 10.—Diagram showing method of marking maps for reduction or enlargement (for record).
DIAGRAMS.
In preparing a diagram a draftsman should endeavor to make its parts and relations perfectly clear to the reader. He should study the drawing or material furnished by the author until he fully understands it and should endeavor to reproduce it simply and legibly. Any lettering that may be needed should generally be in plain upright or slanting gothic type (see Pl. IX), or it may be in roman.
A diagram should generally be drawn on bristol board or on blue-lined section paper and should be marked for reduction to the minimum size. It should bear no title, as the title will be set up in type by the printer.
SECTIONS.
The sections used in geologic reports are of two widely different kinds. One shows only the broader relations of parts; the other shows details of structure as well as relations. One is diagrammatic; the other is more realistic and graphic. The draftsman should prepare all sections strictly according to the copy supplied by the author but should use proper symbols and make a more finished drawing. The various kinds of sections, most of them geologic, are described on pages 29-30, and the conventions used to express lithologic character are shown in Plate III.
Detailed drawings of this kind, though entirely conventional, can be so prepared as to give a satisfactory expression of nature. The draftsman should study well-prepared sections in Geological Survey reports and should learn the details of folding and faulting from textbooks. He should first ascertain whether or not the vertical scale in the original section has been unduly exaggerated, and if so he should confer with the author with a view to reducing the exaggeration as much as possible. He should submit to the author all questions as to doubtful points, as well as all suggestions for improvement in expression, before he makes any changes, and he should make corrections only on the author's approval. A seeming inaccuracy in an author's drawing may be a faithful representation of natural conditions. For example, a formation that seems to be omitted by inadvertence in drawing may really "pinch out" at a point represented in the section. (See a on fig. 11.)
Click on image to view larger size.
Figure 11.—Structure section showing method of determining the secession of folds.
Penciled lines corresponding to those shown by dots in figure 11 should be carefully added in redrawing a roughly sketched section that shows complex folding. An original indefinite sketch that shows complicated structure affords opportunities for error in preparing the new drawing, and omissions may be detected by following the formations as they would be continued above and below the section, as shown by the dotted lines in the figure.
PLANS AND CROSS SECTIONS OF MINES.
Plans of mines, like diagrams, should not be elaborate, and their lettering should be plain and legible, yet it should not be so conspicuous as to obscure other details. Gothic letters should generally be used, but some plans require different styles of lettering, especially for geographic or other names that should be coordinate with those on maps or other illustrations in the book. Unless there are good reasons, however, for varying the styles of lettering, plain [66] gothic capitals, or capitals and lower-case letters, either upright or slanting, should be used. Abbreviations for the numbers of levels should generally be given thus: 3d level, 6th level, 200-foot level, etc., or the shorter terms may be spelled out, as third level, sixth level. The same general scheme of lettering should be used on all plans and cross sections that are to appear in one publication or in one series of similar papers.
The reduction of such drawings to the minimum scale consistent with clearness is always advisable.
DRAWINGS OF SPECIMENS OF ROCKS AND FOSSILS.
METHODS USED.
Drawings of specimens or other objects were once made with brush and pencil or with pen and ink, by means of measurements taken with dividers or by viewing the specimen through a camera lucida. Each of these methods is still used, but by using the camera lucida in sketching: the outlines and details more accurate proportions and relations can be produced, whether the object is to be enlarged or reduced, than by any other means except photography.
BRUSH AND PENCIL DRAWINGS.
In all drawings or photographs of specimens, except photomicrographs of thin sections, the light should appear to come from the upper left quarter. A disregard of the well-established rule that the direction of illumination should be uniform throughout a series of drawings would cause confusion or uncertainty in the interpretation of the relief shown in them.
Reynolds's three-ply and four-ply bristol board affords a satisfactory surface for brush and pencil drawings. Its surface is smooth and hard and, being free from coating of any kind, permits satisfactory erasures without great injury; its color is pure whits; and it is durable.
Boss's relief hand-stipple paper is also well adapted to many kinds of brush drawings as well as to its primary use for producing stippled effects. Very delicate gradations of color or light and shade can be produced on its surface with brush and lampblack or with india ink, and high lights can be made by scraping off the chalky surface.
The draftsman who is preparing brush and pencil drawings should have first of all a knowledge of the principles of light and shade, of reflected light, and (for drawing specimens) of shadow perspective. He should also have delicacy of touch and ability to see and interpret form and to reproduce the soft blending of light and shade shown in a good photograph. He should be provided with pencils equal in quality to the Koh-i-noor B, F, 4H, and 6H; [67] the best quality of red sable brushes of the sizes of Winsor & Newton's Nos. 3, 4, and 6; the best quality of stick india ink; a cake or pan of lampblack; and a porcelain saucer or slab.
In drawings of fossils and of some other specimens a combination of pencil and brush work produces satisfactory results and tends to increase speed. The gloss produced by penciling, however, is objectionable and should be obviated by a preponderance of brush work. Stick India ink is the best pigment to use in delicate wash drawings, and lampblack is preferable for large work on which the softer tones of the shading are not so important and for drawings that are to be considerably reduced when engraved. Gouache (an opaque mixture of Chinese white and lampblack) may also be used, but it is best suited for large work.
In making corrections on brush drawings the parts to be corrected should be carefully washed out with a small short-cropped brush and water and still further cleaned by using a rubber eraser over an erasing shield or an opening cut in a piece of celluloid. Erasures should not be made on delicate work with a knife or a sand rubber, as either will injure the surface and affect reproduction. In measuring a specimen with dividers the draftsman should be careful not to injure the specimen or to puncture the paper on which he is preparing the drawing.
PEN DRAWINGS.
A draftsman who is preparing drawings of specimens with pen and ink should have a good assortment of pens equal to Gillott's Nos. 291, 290, and 170, liquid waterproof ink equal to that manufactured by Higgins, good pencils, hard and soft rubber erasures, plain dividers, and Reynolds's bristol board. A glass eraser is also useful.
Good pen drawings of specimens are much more difficult to make than brush drawings. They can be prepared only by a draftsman who has had some artistic training and experience in pen work. Few draftsmen can prepare pen drawings that faithfully represent both the detail and the texture of specimens; the shading on many such drawings confuses and destroys both detail and texture.
The pencil sketch over which a pen drawing of a specimen should be made must be prepared in much the same manner as the sketch for a brush drawing, though the outlines need not be so delicate. This sketch is generally made on bristol board. The pen work should begin with the outlines and should then be carried to the details, and finally to the shading, whether in lines or stipple. The texture of a specimen is the best key to the proper shading. If the specimen is decidedly granular, stippling is appropriate; if it is smooth or polished, finely drawn parallel lines, varied in spacing and character according to depth of shade and texture, are preferable. [68] Erasures can be made with a hard-rubber eraser, other parts being protected by a shield, or with a very sharp knife or a glass eraser, and the parts erased can be resurfaced with an agate burnisher.
RETOUCHING PHOTOGRAPHS OF SPECIMENS.
Photographs of specimens, particularly fossils that have been coated to destroy local color, should be printed on velox paper, in a tone somewhat lighter than that of ordinary photographs. The details and relief should, however, be strong enough to enable the draftsman to see them clearly, so that by retouching them and strengthening the shadows and high lights he can make them sufficiently strong for reproduction. This he can do by a combination of pencil and brush work, the pencil being used sparingly because the gloss produced by the graphite is likely to affect reproduction. A No. 3 Winsor & Newton's red sable brush and lampblack are preferable for the greater part of this work, and a 4H and a 6H pencil for the fine details and as a possible aid in producing the finer gradations of shading. The details should be retouched or strengthened under a reading glass to insure accuracy; the broader effects can be best produced without the aid of a magnifier.
Erasures on photographs of specimens should be made very carefully with a hard rubber that is free from sand, and the parts not to be disturbed should be protected with a shield. High lights may be added by carefully scraping or rubbing the surface of the paper.
LANDSCAPE DRAWINGS FROM POOR PHOTOGRAPHS.
A poor photograph or one that has become injured and can not be retouched for direct reproduction can be utilized by making from it, as described below, a pen drawing or a brush or crayon drawing, which will be almost photographically correct.
PEN DRAWINGS MADE OVER PHOTOGRAPHS.
A pen and ink drawing may be made over a blue print or a bromide print (preferably a blue print) and the photographic image then bleached out. The blue print should be larger than publication size and should not be so dark that the draftsman can not see his lines. If the negative is available a bromide enlargement can be obtained; otherwise the picture should be rephotographed in larger size, preferably twice publication size. The enlargement will give the draftsman greater freedom in drawing details and will make his work appear finer and better in the reduced illustration. If the photographic print is of a subject requiring the use of instruments it should be securely fastened to a drawing board, square with the board, so that any horizontal and vertical lines in it may be ruled by the use of a [69] T square and triangle. For specimen or landscape work it need not be fastened.
For bleaching blue prints a saturated solution of oxalate of potassium (K2C2O4 + H2O) has been used with good results. For bleaching bromide prints cyanide of potassium (KCN) to which a few drops or flakes of iodine have been added should be used. Neither kind of print should be bleached until the drawing has been completely finished in every detail, because bleaching loosens the fibers of the paper, so that the ink of any added lines is likely to spread. The print should be placed in a hard-rubber pan, the bleaching solution poured on it, and the pan rocked until the image disappears. The print should then be carefully removed, thoroughly washed in running water, placed between clean white blotters to dry, and finally mounted on cardboard. For temporary, hurried work on drawings that are not to be retained for future use the blue print may be mounted first and bleached by pouring the bleaching fluid over the mounted print.
BRUSH DRAWINGS FROM POOR PHOTOGRAPHS.
Brush drawings may be made directly from photographs by working over an enlarged print with gouache, or by making a pencil tracing and sketch of the photograph and working it up with lampblack or india ink. The photograph should be larger than publication size to permit greater freedom and breadth in drawing details. The larger size will also afford a more refined and better engraving when reduced. If lampblack or india ink is used and the subject is small, bristol board is recommended, but if the photograph is larger than, say, 8 by 10 inches, Whatman's hot-pressed double elephant or similar paper, laid down with thumb tacks, will prove satisfactory.
If gouache is used over a print a preliminary drawing is of course unnecessary, but the photograph should be an unglazed print of a size that will require considerable reduction, and the finished drawing should be protected by an oversheet. If lampblack or india ink and not gouache is used the photograph should be traced and a fairly complete pencil sketch should be made before the brush is used.
Plates I, IV, A, V, B, and VII, B, Monograph 34, were made from gouache drawings. Plates III, A, VII, A, X, XI, XII, XIII, XX, XXVIII, and XXX, in the same publication, were made from lampblack or india-ink wash drawings. The originals can be examined at any time.
The art of sketching from nature is one in which few but professional artists excel. Not many geologists are able to make sketches from nature that are suitable for direct reproduction. An artistic draftsman should be able to redraw the geologist's sketches, however, [70] in their true perspective and relations, with the skill necessary to make them satisfactory illustrations.
In most crude outdoor sketches the important features are usually shown with sufficient clearness to follow. If they are not the draftsman should ascertain what those features are and prepare the new drawing in such a way as to display them properly. The new drawing should be made with pen and ink, generally for reduction to a text figure, which is the most appropriate form for such an illustration.
In all sketches of this kind the lines should be drawn in such a way as to produce natural effects and at the same time to make good printing plates. Good examples of pen and ink sketches of this class can be found in Monograph 34, already referred to, and in the Seventh Annual Report, especially Plates XXVIII and XXXVIII; Ninth Annual Report, Plates XLIII and XLIV; Tenth Annual Report, Plates XIV and XIX and figure 58; Eleventh Annual Report, Plates XV, XXVII, XXXV, LII, and LIV and figures 18, 30, 31, 67, 98, and 99.
A crystal should generally be drawn in outline with straight lines. The invisible rear side of a crystal, if shown, should be represented by dashed lines. The outer boundary line of a crystal should be slightly heavier than the inside lines, which should all be of the same weight. Striations should be shown by straight lines; broken or uneven surfaces by irregular lines. A twinning line, if an intersection edge, should be solid; if not an intersection edge it should be broken into dashes. Italic, Greek, German, and Old English letters are used to mark crystal faces. All faces of a given form should be marked by the same letter but may be differentiated, if necessary, by primes or numerals, thus: m, m′, m″, m‴, mIV. "Leaders" should be short full lines, or, if these are likely to be confusing, they should be dashes. Numbers may be used in place of letters for specific purposes. Letters indicating twin faces are underscored; a second twin is doubly underscored or overscored, thus: m, m, m. Twin units may be differentiated by the use of roman numerals.
An author, of course, selects his photographs to illustrate some special features; he does not always consider their fitness for reproduction. Photographs that are blurred or out of focus, those in which the shadows are too black or lack transparency, and those which have local defects, such as bad skies or spots, must be worked over to make them suitable for reproduction. In order to remedy these defects and produce natural results the draftsman doing work of this sort should be able to see and interpret nature properly and [71] to supply natural effects in a manner corresponding with those produced photographically. He should be sufficiently expert with the brush and pencil and in handling an air brush to duplicate the delicate and soft tones in the photograph, and he should know how the pigments he uses will "take" when the subject is reproduced.
The retoucher should have access to an air brush and should provide himself with a jar of photo white or blanc d'argent and a color box containing indian red, crimson lake, yellow ocher, lampblack, and ultramarine—colors with which he can duplicate those shown in any photograph. He should also have the best grade of red sable brushes, ranging in size from No. 3 to No. 8, a stack of porcelain saucers, and a jar of oxgall. By mixing the colors to match exactly the shades of a photograph and using a red sable brush he can strengthen details, "spot out" flaws, and remove imperfections, except those in skies or other large, flat areas, for which he must use an air brush.
The air brush has become a necessary adjunct to a retoucher's outfit. Smooth, even gradations of flat tones can not be successfully applied to photographs without it, and it is therefore indispensable, especially for retouching skies and covering other large areas.
Before retouching a photograph the draftsman should mix in a saucer a tint that will match the color of the part that is to be retouched and should try this tint and note its effect after it has dried and change it, if necessary, until it matches the color exactly. If he is to retouch a number of photographs that have the same local color he may with advantage make up enough of the tint for the entire lot, thoroughly mixing it and seeing that it is not too thin. In making this tint he should use only pigments of the best grade, and if he finds that the Chinese or other white he is using does not photograph well, or that it does not hold its color, he should discard it at once and use another brand. Photographs that are to be retouched should be large enough to permit sufficient reduction to soften the effects of retouching.
In order to eliminate the lines of junction between two or more photographs that are joined together to form a panorama some adjustment or fitting of details by retouching is generally required before the group is rephotographed to obtain a new print of the whole on one piece of paper. As it is often desirable to increase the width of such an illustration the photographer should be instructed to print the photograph on a strip of paper that is wider than the negative, so that, if necessary, the retouching may be carried above or below the new print to add depth to the illustration.
Panoramas may also be drawn from photographs with either pen or brush in the manner described on pages 68-69.
PART III. PROCESSES OF REPRODUCING ILLUSTRATIONS.
The preliminary work in producing illustrations includes the preparation, from originals submitted by authors, of drawings and other kinds of "copy" in such a way that the copy can be reproduced in multiple by printing.
Several processes are used for preparing plates for printing illustrations, and each has its peculiar features of excellence. One process may render fine details with facility but may fail in uniformity in large editions; another may be cheap and effective on the whole but may not reproduce fine details; and still another may give fine color or tone effects but may be too expensive. Therefore a knowledge of the varied uses and results and of the cost of the several processes of reproduction and, on the other hand, of the kinds of originals that are best suited for reproduction by any one of the processes is essential to effectiveness and economy in planning, preparing, and reproducing an illustration.
The following condensed descriptions of processes are intended mainly to aid in determining the kind of copy that is appropriate for each process and the kind and quality of reproduction to be expected, so that only the principal operations or stages in each process are described. Wood engraving, which was used in making printing plates for many of the illustrations in the early publications of the Geological Survey, is described here only to compare that laborious and "indirect" method of engraving cuts with the more modern kinds of relief engraving. In 1892 it gave way to photo-engraving.
GENERAL FEATURES
The term "photo-engraving" is applied to processes by which a black and white line drawing, photograph, or like original is reproduced in relief on a metal plate from which prints may be made on an ordinary printing press, in distinction from processes that print from flat or relatively flat surfaces, such as the lithographic and photogelatin processes. The photo-engraving processes that are most generally used are those called "zinc etching" and "half-tone engraving." These processes depend on the discovery that gelatin or [73] similar organic material, if treated with potassium or ammonium bichromate and exposed to the action of light, is made insoluble in water. If a metal plate coated with bichromatized gelatin or albumen is exposed to light under a negative the parts acted upon by light become insoluble and those not acted upon remain unchanged and may be washed away so as to expose the metal, which is then etched with acid in order to give relief to the unexposed parts and make of them a printing surface.
ZINC ETCHING.
Zinc etching is adapted to the direct reproduction of a pen and ink drawing composed of lines, dots, or solid black areas. On the finished metal plate these lines, dots, and solid areas form the printing surface, and the spaces between them, which have been etched away, represent the white or blank parts of the picture. The process is cheap and is almost universally used for reproducing small drawings designed for text illustrations. It is also well adapted to the reproduction of maps and diagrams measuring in print not more than about 10 by 14 inches. One of the chief advantages of this and of all other direct (photographic) processes of engraving is that they reproduce a drawing in facsimile, whereas the "personal equation" must enter into all engravings made by an indirect method—that is, by hand—such as wood engraving, wax engraving, and engraving on stone or copper, which make it necessary to compare every detail of the proof with every detail of the drawing before the engraving can be approved. The pen drawing to be reproduced, which should preferably be considerably larger than the completed engraving, is first photographed to the proper size or scale on an ordinary negative film. The film is then stripped from the negative and reversed in order that the etched plate may print the design as in the original and that the film may be grouped with other films on one large glass and all printed at the same time. The negative (whether a single film or several) is then placed in a specially constructed printing frame in contact under pressure with a sensitized zinc plate and exposed to light.
After the zinc plate has been removed from the printing frame (in the dark room) the plate is rolled with printer's transfer ink, which resists acid, and placed in a shallow tray containing water, in which it is rocked for several minutes, and then taken out and rubbed gently with cotton. The parts of the coating of the plate that were acted on by light have become insoluble and will therefore be unaffected by the water, but the parts of the coating not acted on by light and therefore not hardened will be removed by the washing, which will expose the metal and leave the parts acted on by light—the [74] picture—in black lines, dots, etc. The plate is then dusted with "topping powder," a resinous substance which adheres only to the parts carrying the ink. The plate is then heated so that the resin and the ink that remain fuse together and form, when cooled, a resistant surface which will not be affected by the acid to be used later in etching the unprotected parts of the plate.
The plate is now ready for a preliminary etching in a fluid consisting of water and a few drops of nitric acid. It is placed in a tray, rocked gently for a short time, and then removed, washed well in running water, drained, and dried with gentle heat. "Dragon's blood," a resinous powder that resists the action of acid, is next applied to the plate, in order to protect the sides of the lines and the dots from the acid, and the plate is then heated just sufficiently to melt the powder and units it with the ink. A small quantity of nitric acid is now added to the etching bath, and the plate is subjected to its first thorough biting or etching. It is then removed from the bath, washed under a tap, carefully wiped with a damp rag, and dried with gentle heat.
The plate is thus treated three or more times until it is etched deep enough to insure satisfactory printing, and it is then ready for finishing, which consists of deepening the larger open spaces between the lines with a routing machine and of cutting away with hand gravers lines that are improperly connected or that are so close together that they will not print separately. The routing machine is provided with a cutting tool mounted on a revolving spindle that projects downward into the engraved plate, which is securely fastened. The movement of the arm that holds the cutter is universal and can be controlled with great precision. The plate is then "proved" that is, a proof is taken from it on paper and if the proof is satisfactory the plate is nailed to a block of wood on which it will be "type high" (0.918 inch), for printing.
Most drawings for zinc etching are made with a pen in black ink and consist of lines, dots, or masses of black, but drawings may also be prepared by using some medium that will produce a fine stipple, such as a black crayon on rough paper or Ross's stipple paper. (See p. 24.) The drawing should be one and one-half to two or three times as large as the printed illustration, for it is impossible to obtain a satisfactory reproduction of a pen and ink drawing without some reduction. If the drawing has not been reduced the lines appear heavier in the reproduction than in the drawing, and imperfections thus become more noticeable; if it has been properly reduced, imperfections are diminished and the lines and dots become thinner and finer than those in the drawing. In making a drawing that is to be reduced the draftsman can also space his lines farther apart and work out his details more easily.
An author should carefully examine and approve the finished drawings, which can, of course, be greatly altered, if necessary, before they are engraved; but similar corrections can not be made on proof sheets of zinc cuts, which should not be marked for alterations except by eliminating parts. Minor changes can be made in such a cut by an expert "finisher," but if the cut is small it is generally cheaper to correct the drawing and have a new cut made.
Zinc etchings cost about 10 to 25 cents a square inch, the cost being varied according to a standard scale which is based upon the ascertained cost of reproduction. The minimum charge for a single cut is $2.
COPPER ETCHING IN RELIEF.
Copper etching, which produces a line cut in relief, requires the same kind of copy that is most often marked for zinc etching and is used to obtain deeper etching and a more permanent cut. It is said to produce better printing plates than those etched on zinc and is used largely for reproducing script lettering and other fine work. As copper plates will hold up longer in printing than zinc, a cut etched on copper may not need to be electrotyped.
The chemical part of the process is practically the same as that employed for etching half-tone plates, described under the next heading.
The cost of etching on copper is considerably greater than the cost of etching on zinc. This process is not often used in reproducing illustrations for publications of the Geological Survey.
HALF-TONE ENGRAVING.
The half-tone process is, in name at least, familiar to almost everyone who has had any connection with the making of books, whether as author, editor, illustrator, or printer. The invention of a photomechanical process of reproducing a line drawing to make a metal plate that could be printed along with type on an ordinary printing press naturally led to attempts to reproduce similarly a photograph. It was known that the intermediate shades between white and black in a photograph—the half tones—can be reproduced on an ordinary printing press only by breaking them up into dots or lines that will form a good printing surface and that by their variation in size or density will give for each shade the effect of a uniform tone. In the half-tone process this effect is produced by photographing the picture or object through a screen.
The half-tone screen consists of two plates of glass, on each of which lines running generally at an angle of 45° to the sides of the plate have been engraved, cemented together so that the lines cross at right angles. The lines, which are minute grooves filled with an [76] opaque black pigment, thus appear as a series of black crossed lines on a white ground. The screen is placed in the camera in front of the negative. Screens are made that show from 60 lines to an inch for the coarser newspaper illustrations to 250 lines or more to the inch for fine book work. The screens used for magazine illustrations generally show 120 to 150 lines. Those used for Survey publications show 150 to 175 lines, and for reproducing delicate drawings and photographs of fossils screens bearing 200 lines to the inch are sometimes specified; but these finer screens require the use of highly super-coated papers, some of them made of cheap fiber and not known to be permanent. For a half tone that is to be printed in the text a 100-line or a 120-line screen is specified. (See Pl. VI, p. 56.)
The method of etching a half-tone plate does not differ greatly from that used in zinc etching, and there are several kinds of half-tone plates, though most of them are etched on copper, not on zinc, those etched on zinc being used principally for newspaper illustrations. The half-tone screen is used also in other processes to obtain a negative.
When a half-tone negative hag been made the film is stripped from the glass plate and reversed, as in the zinc-etching process, though some half-tone engravers use a mirror box or prism by which the picture is so disposed on the negative that it does not need stripping and reversing. A perfectly flat, clean, and highly polished copper plate, generally large enough to accommodate several such films, is then coated with a sensitive film according to one of several formulas, all based on the fact that gelatin or some similar body, if sensitized with certain chromic salts, becomes hardened and insoluble in water on exposure to light. This plate is then placed in the printing frame in contact, under pressure, with the glass negative plate and is exposed to light in the usual manner. The copper plate is then removed from the frame in the dark room and made ready for etching.
For etching half-tone plates on copper a saturated solution of perchloride of iron is used instead of the solution of nitric acid used for zinc etching. The time of etching ranges from about 5 to 15 minutes, according to the strength of the solution. One etching is generally sufficient, but it may be necessary to give the plate another "biting" if it has not been etched deep enough, or to re-etch it in order to strengthen contrasts. If, for instance, the sky in a half-tone plate shows too dark or is uneven in tint it can be made lighter or more even by re-etching. On the other hand, if certain features on a plate are too light they can be darkened by burnishing—rubbing the surface with a highly polished steel burnisher under just sufficient pressure to flatten slightly the fine points that form the printing surface of the plate. When the plate leaves the hands of [77] the etcher it is turned over to the finisher, who with a graver removes spots or any other imperfections that may appear on it. Sometimes a roulette is used to lighten parts, and other tools are used for special purposes.
After a plate that shows two or more pictures has been etched and finished it is divided by sawing them apart. Each one is then put into a beveling machine, where its edges are trimmed and the usual border is made, if it is desired. The separate plates are then ready to be proved and mounted on blocks of wood which make them type high, ready for printing.
The half-tone process is used almost exclusively for reproducing photographs and wash drawings, though it will produce a facsimile of any kind of copy, such as impressions from type, old manuscripts, or typewriting, but a shade composed of minute black dots will appear over the entire print and there will be no absolutely whits areas unless they are produced by routing the plate or cutting out the high lights. (See p. 74.) The reproduction of an ordinary outdoor photograph requires very little handwork, except for re-etching, burnishing, and cutting the borders. In the reproduction of copy that is made up of separate parts, such as groups of photographs of specimens that are to appear on a white ground, the half-tone "tint"—or more properly shade—between and around the several figures must be removed and numbers must be added. This operation requires two negatives—one half tone and one line—and produces what is called a "combination" plate. Therefore the difference in the cost of making a half-tone cut from a single photograph of a landscape and from a cut made from "copy" of the same size consisting of a number of small photographs or drawings, to which numbers or letters are added, is considerable (about 50 per cent greater) and depends upon the amount of additional work involved. Routing, when needed, must be done with extreme care lest the edges of a figure be marred, and this work requires skill that can be gained only by experience.
Copy for the half-tone process should be as nearly perfect as possible. Only the best photographs should be selected. Prints on semimat velox and glossy haloid papers are regarded as the best photographic copy for reproduction. Every part of the photograph or drawing should be absolutely clean. If any part that should be pure white becomes soiled or stained the defects will be reproduced. If a photograph needs retouching it should be retouched with great care and just sufficiently to correct defects and to bring out or strengthen the important details. In many photographs the skies may be "muddy" or uneven in tone, and this defect can be corrected by the use of an air brush, the only medium that will produce an almost even tone. As already stated, half-tone plates can be improved [78] by re-etching and tooling, but tooling tends to destroy the effects of nature and produces an artificial appearance in the print. One who is preparing wash drawings for reproduction by the half-tone process should remember that brush marks and other inequalities of tone will be reproduced with as much fidelity as other details. Such drawings should therefore be made two or three times larger than the engraved cut in order to subdue all unnatural effects and to soften the general tones.
Line drawings are not generally suitable copy for the half-tone process, but it is occasionally desirable to use that process instead of zinc etching for reproducing a line drawing that has been inexpertly prepared if the cost of redrawing would more than offset the difference in cost between zinc etching and the more expensive half-tone process. In reproducing a pen drawing by half tone the lines become softened and represent the details and shading only; but the pen drawing may be further developed by brush work. Examples of this type of reproduction are Plates V, A, VI, A, and XV, figure 10, and other illustrations in Survey Monograph 34.
Vignetting, which consists of a skillful grading off of the edges of a picture, as well as extensive tooling or hand engraving, is often employed for artistic effect but should be specified only for exceptional illustrations. The plates made for the Survey are either "square trimmed" or the ground tint is entirely omitted or routed away; they are not usually tooled or vignetted.
Half-tone cuts etched on copper cost 20 to 60 cents a square inch, the cost being varied according to a standard scale based on the ascertained cost of reproduction. Those that require a screen finer than 150 lines cost 25 per cent additional. The minimum charge for a single cut is $3.
Half tones etched on zinc (100-line screen or coarser) cost 25 per cent less than those etched on copper.
THREE-COLOR HALF-TONE PROCESS.
The three-color process is practically an adaptation of the half-tone process to color printing based on the theory that all colors or hues in nature can be reproduced by combinations of three colors of the spectrum—red, blue, and yellow. The process differs from the ordinary half-tone process particularly in the use of color filters in making the negatives and in the character of screens and diaphragms used. This process, like all others, is worked somewhat differently in different establishments. In what is called the indirect method, the one most commonly used, twelve photographic operations are necessary to produce one illustration, or the three plates or cuts from which one illustration is to be reproduced by printing. These twelve [79] operations produce three chromatic negatives, each representing one color; three transparencies or positives, made from the chromatic negatives; three half-tone negatives, made from the positives; and finally three contact prints, made on sensitized metal plates. In what is called the direct method the half-tone screen is placed in front of the photographic plate so that it becomes also a half-tone negative from which a print is made on a sensitized metal plate. Thus the photographic operations in the direct method are reduced to six, but the interference to the passage of light offered by the half-tone screen and by the prism used to reverse the image on the negative lengthens the time of exposure.
Unfortunately, no pigments have been found that can reproduce in purity the colors of the spectrum, and to this fact is due the failure of the process to reproduce exactly all the colors, tints, and shades of an original. When a drawing in black on white paper is photographed only the white paper affects the negative film. The transparent parts of the developed negative thus represent the black, and the opaque parts, which have been acted upon by light, represent the whits. Theoretically, when a chromatic negative is made for the yellow plate a purple-violet filter cuts out all the yellow and allows the red and blue rays to affect the plate; when a negative is made for the blue plate an orange filter similarly cuts out the blue and allows the yellow and red rays to affect the plate; and when a negative is made for the red plate a green filter cuts out the red and permits the blue and yellow rays to affect the plate. These color filters, which are usually made of transparent stained gelatin, are generally placed in front of the lens. When printing plates like those used in the half-tone process have been made from the three negatives and the plates have been inked with yellow, blue, and red ink, respectively, a combined impression from them will produce a close approximation of the subject photographed. The colored inks often used are light yellow, peacock or prussian blue, and bright, transparent crimson.
The ordinary half-tone screen, which bears lines cut at an angle of 45° to the sides of the plate, is rectangular, but the screens used for three-color work are made circular in order that they may be turned in the camera to make the lines intersect at other angles, the angles being varied to avoid producing an undesirable pattern or a moire effect. Turning the screen also prevents the exact coincidence or superposition of the red, blue, and yellow dots, which would produce black. In other respects the screens do not differ essentially from those used in ordinary half-tone work.
As special experience is necessary in printing three-color plates the engraver generally delivers the printed illustrations to the purchaser [80] instead of the plates, which he furnishes for other kinds of relief printing.
The copy for this process may consist of anything in color, such as specimens, objects, paintings, or properly colored photographs. The process does not usually reproduce all the colors and tints of an original with equal exactness and is not used by the Survey for work that demands precise reproduction of color, but it is satisfactory for reproducing most colored drawings, colored photographs of specimens, or the specimens themselves if they show individual variations in color. As the process is entirely photomechanical it gives more scientific accuracy in detail than chromolithography, in which there is much hand work, and it is much less expensive. If the colors shown in proofs are not satisfactory they can be modified.
The four-color process, in which four color plates are used, gives a closer approximation of true color values than the three-color process, and at a comparatively small increase of cost. The additional color used is generally a neutral gray or black.
WAX ENGRAVING (THE CEROTYPE PROCESS).
The wax or cerotype process does not require finished drawings and is especially suitable for making text illustrations and small maps, although it may be used also for large work. For this process blue prints, pencil sketches, old prints, or rough copy of any kind may be submitted—that is, it is not necessary to furnish carefully prepared drawings in black ink, as it would be for photo-engraving, for the wax engraver will reproduce in proper form any illustration in which the copy and the instructions show what is wanted, just as an experienced draftsman will make a good drawing from the rough original furnished by an author. Full and clear instructions should always be given, however, as to the size of the cut wanted and what it is to show.
In this process a polished copper plate is coated with a film consisting of beeswax, a whitening medium, and other ingredients, and the coating, which varies in thickness according to the nature of the copy, is sensitized as in the ordinary photographic processes. The map or other design to be engraved is first photographed to publication size and a contact print is made on the wax coating from the negative. The lines and other parts of the photographed image are then traced or cut through the wax to the copper plate with steel tools and straightened or perfected by the engraver, but the lettering is set in printer's type, which is pressed into the wax until it also touches the metal plate. After the work of cutting through the wax has been completed the larger open spaces between the lines are "built up" by the addition of wax to give greater depth to the plate, [81] so that the wax plate thus built up corresponds to an electrotype mold. The plate is then dusted with powdered graphite and suspended in a solution containing copper, where by electrolytic action a copper shell is formed over its surface. When this shell is sufficiently thick it is removed from the solution and reinforced on the back with metal, and proofs are taken from it. If the proofs are satisfactory the plate is blocked type-high.
Wax-engraved plates may be used for printing colored maps or diagrams, in which variations of tint are produced by various kinds of machine rulings. The effect of some of the colors thus produced is almost a "flat" tint, in which a pattern can be detected only by close scrutiny. Some color work is printed from a wax base plate in combination with half-tone color plates.
The price of a wax engraving depends entirely on the size of the cut, the amount of work involved, and the character of the original copy, but it should not exceed very much the cost of a carefully prepared pen drawing plus the cost of a zinc etching made from it. Cuts engraved by the wax process, like zinc and half-tone plates, are delivered to the purchaser. If colored work is ordered, however, the printed sheets, not the cuts, are delivered.
WOOD ENGRAVING.
Wood engraving was once the universal method of producing cuts for illustrations that were designed to be printed on an ordinary press. It is said to be the oldest of all methods of engraving illustrations. The engraving is made on a block of boxwood, a very dense, hard wood of a light-yellow color. The block is cut type-high across the grain, and the engraving surface is made perfectly smooth by nibbing it with pumice or other stone. When a cut is to be larger than 3 or 4 inches square the wood block is made up of pieces securely dovetailed or joined together to prevent splitting and warping. A woodcut is not used for printing but is electrotyped and the electrotype is used in the press.
Originally the smoothed surface of the wood block was coated with prepared chalk or Chinese whits, and on this coating a finished drawing was made with a brush and pencil by an illustrator. According to more recent practice the surface of the wood is covered with a sensitized coating, on which the drawing or design to be engraved is photographed. The engraver then, with various kinds of gravers and other tools, cuts out the parts of the picture that are to be represented by white paper and leaves the lines, dots, and black areas as a printing surface, thus translating the shades and tints of the picture into a system of lines and dots which exactly duplicate, in effect, the details and tones of the original design. In order to produce a [82] line effect of an area in which the tone is intermediate between whits and black the engraver must space his lines so that one-half the area will remain as printing surface and the other half as white spaces, and he must give character and direction to his lines, so that, if he is skillful, he can reproduce not only the delicate tones but the texture and details of the original picture. Many wood engravers became noted for their artistic rendering of magazine illustrations, of famous paintings, and of other works of art.
The Survey began to abandon this method of engraving in 1884, when the Sixth Annual Report was in press, substituting for it the cheaper photomechanical processes, zinc etching and half-tone engraving, and entirely abandoned its use in 1892.
Many good examples of wood engraving may be found in the early monographs and annual reports of the Geological Survey. Monograph 2 contains numerous examples.
PHOTOGELATIN PROCESSES.
Bichromatized gelatin is used in several photomechanical processes of reproducing illustrations, but in the photogelatin processes the gelatin not only receives the image by exposure to light through a negative but becomes a printing surface on a plate from which prints are made somewhat as in lithography. The several photogelatin processes are much the same as the original collotype process and are best known by the names collotype, heliotype, albertype, artotype, and the German name lichtdruck.
In working these processes a thick plate of glass, after certain preliminary treatment, is coated with sensitized gelatin. The plate is then placed in a drying room or oven having a temperature of 120° F., baked until it is thoroughly dry, and allowed to cool gradually. The subject to be reproduced is then photographed in the usual manner, and unless a prism or mirror box has been used the negative is stripped and reversed in order to make the print reproduce the original in proper position. From the negative a contact print is made on the gelatin-coated plate, the parts or molecules of gelatin being hardened in proportion to the amount of light that affects them. After the contact print has been made the gelatin plate is thoroughly washed in cold water, in order to dissolve and wash out the bichromate and stop any further action of light on the plate, and is then thoroughly dried. Before prints are made from the gelatin-coated plate water is flowed on it and penetrates different parts of the gelatin according to their hardness. The darkest parts of the picture will correspond to the hardest and densest parts of the gelatin, which will not absorb water; the lighter parts will take up more water. The surface water is then removed with a rubber straight edge [83] and an absorbent roller and the plate is ready for inking. The ink, being greasy, has no affinity for water, and when it is rolled over the plate it adheres only to the dry parts of the gelatin, and in the press is carried to the paper in all the lights and shades of the illustration. The plate is kept moist in printing.
The paper used for printing from photogelatin plates must be free from chemicals that will affect the gelatin. A nearly pure rag paper is generally used.
The photogelatin process is well adapted to the reproduction of paleontologic drawings, wash drawings, photographs, photomicrographs, works of art, old manuscripts—in fact, any kind of subject in which the reproduction of delicate lights and shades is essential. If properly manipulated it has distinct advantages over the half-tone process in that it can reproduce details and light and shade without showing the effect of a screen and without the use of coated paper. Excellent reproductions by the heliotype process are also made in color by first printing the design in a neutral tone and superposing appropriate transparent colors on this print, somewhat as in chromolithography, so that the colors softly blend with the shaded groundwork.
Reproductions made by the photogelatin process are more expensive than those made by the half-tone process, for the prints are generally made on better paper and are printed with greater care. They give no screen effect and are perhaps unrivaled by prints obtained by any other process except photogravure, in which the image is printed from a metal plate that has been sensitized, exposed under a reversed negative, and etched.
Changes can not be made on photogelatin plates except by making over the corrected parts. All retouching must be done on the originals or on the negatives made from then.
ORIGINAL PROCESS.
The general term "lithography" is sometimes used to indicate not only the original process so named, said to have been invented by Senefelder, but chromolithography, photolithography, and engraving on stone, as well as engraving on copper as a means of supplying matter to be transferred to and printed from a lithographic stone.
Senefelder discovered that limestone will absorb either grease or Water, and that neither one will penetrate a part of the surface previously affected by the other. He found that if a design is drawn on limestone with a greasy crayon and the stone afterward properly prepared with a solution of nitric acid and gum, greasy ink will [84] adhere only to the parts that are covered with the crayon, and that the stone will give off an impression of the design.
Lithographic stone is described as a fine, compact, homogeneous limestone, which may be either a pure carbonate of lime or dolomitic—that is, it may contain magnesium. Although limestone is one of the most common rocks, limestone of a quality suitable for use in lithography is found at only a few localities.[11] There are two general classes of lithographic stone, known to the trade as "blue" or hard stone and "yellow" or soft stone. The blue stone is adapted for engraving and to the better grade of fine-line printing; the yellow stone is rated as somewhat inferior.
[11] Kubel, S. J., Lithographic stone: U. S. Geol. Survey Mineral Resources, 1900, pp. 869-873, 1901.
In the original process, which may here be termed plain lithography, two methods are employed in putting on stone the design to be reproduced. In one the subject or picture to be reproduced is drawn on the printing stone either with a lithographic crayon or with a pen dipped in lithographic ink or "tusche," which is oily or fatty, like the crayon. In the other method the drawing is made on transfer paper and transferred to the stone. In drawing on stone it is necessary to reverse the design, so that all lettering must be drawn backward. In doing this the artist often uses a mirror to aid him. If the drawing is made on transfer paper the design and the lettering are copied as in the original—not reversed.
Before a drawing is made on stone a stone of the quality suited to the particular design in hand is selected. The stone is then ground and polished, and if the drawing is to be made with crayon it is "grained" according to the special requirements of the subject. If the drawing is to be made with a pen and is to consist of "line work" the stone is polished. The first step is to obtain on the stone an outline or "faint" of the design. There are several ways to do this. By one method a tracing of the design is made, a sheet of thin paper covered with red chalk is laid face downward on the stone, the tracing is laid face downward over it, and the design is again traced in red-chalk lines on the stone. The method described is simple, but there are others that are more complicated and that are particularly applicable to the reproduction of photographs and other illustrations. Crayon work is often used in combination with pen and ink, stipple, and brush work. This method of drawing on stone is used also for preparing color stones in the process of chromolithography, in which there are many added details of manipulation. After the drawing has been made on the stone or transferred to it the stone is "gummed"—that is, it is covered with a solution of gum arabic and nitric acid—and dried. The stone is then dampened with water and carefully rolled with lithographic ink, which adheres [85] to the pen or crayon work and is repelled elsewhere. It is then "rubbed" over with powdered rosin and talcum, which adheres to the ink and further protects the drawing from the effects of the etching fluid, which is next to be applied to the stone. This fluid consists of a 10 per cent solution of gum arabic to which 2 to 7 per cent of nitric acid has been added, the degree of acidity being varied according to the subject and the hardness of the stone. The fluid is applied with a brush or sponge and is left on the stone just long enough to decompose slightly the carbonate of lime on its surface and, after washing, to leave the design or drawing in very slight relief. The stone is again gummed and dried, and the design is "washed out" or brought out by removing the surface gum with a wet sponge and applying to the stone a rag sprinkled with turpentine and charged with printing ink. These operations wash away the tusche and the crayon that have been decomposed by the acid and expose the design faintly in white at first, but it gradually grows darker as it becomes charged with printing ink from the rag. The stone is next "rolled up" or inked. The slightly moistened surface repels the ink and the design takes it up, so that when the stone is run through the press the design is carried to the paper.
Lithographic prints from stones prepared in this way are made on a flat-bed press. The stone is carried forward to print and on its return is dampened and inked, an operation slower than that of rotary printing.
Corrections and changes are made on the stone by carefully scraping or polishing away the parts to be corrected and making the changes with a crayon or pen, but the design can not ordinarily be corrected twice in the same place, as the scraping or polishing removes a part of the surface of the stone and thus lessens the pressure at that place, and the impression there may be imperfect or may completely fail.
This form of lithography is seldom used for Survey illustrations but was formerly much used and is well adapted to the reproduction of drawings of fossils, particularly of remains of dinosaurs and other types of large extinct animals. Examples may be seen in Monographs 8 and 10 and in other early reports of the Geological Survey. The drawings for these illustrations were made directly on stone.
A drawing made on one stone may be transferred in duplicate or in any desired number to another stone, or to a properly grained sheet of zinc and aluminum, from which impressions may be printed on a lithographic press. Both these metals are also used for lithographic printing on rotary presses, the zinc or aluminum plate being bent and secured around a cylinder which rotates continuously in one direction. As one impression is made at each revolution of the [86] cylinder the printing is rapid; but the best printing from a metal plate is inferior to the best printing from a lithographic stone.
PHOTOLITHOGRAPHY.
Photolithography, like other lithographic processes, has been improved greatly during the last few years—not particularly in results but in methods—by the introduction of metal plates, the rubber blanket offset, the Ben Day films, and many mechanical and chemical devices, so that a brief description of it will not explain the process except in a most general way. As photolithography is a direct process and is relatively cheap it is the one most used for reproducing large maps and other line drawings that have been carefully prepared. Zinc and aluminum plates are now much used in photolithography, for a direct contact photographic print can be made on them, they can be printed flat or bent for use on a rotary press, and they can be stored for future use more economically than stones.
There are two somewhat distinct methods of producing photolithographs. In both the ordinary photographic methods are used, but it is often necessary to "cut" or trace parts of the negative in order to open up lines and other features that are not sharp or well defined, so that the negative will print them sharp and clear. If the copy to be reproduced shows three colors, three negatives are made, one for each color, and the parts to be shown by each are preserved by "opaquing" or painting out all other parts. By the older method the negative thus perfected is placed in a printing frame in contact, under pressure, with sensitized transfer paper and is exposed to light. The printing frame is then carried to the dark room and the paper is removed from the frame and its surface covered with transfer ink. The paper is then laid face upward on water and soaked for several minutes, after which it is placed in the same position upon a slab of stone or metal and thoroughly washed with water. This washing removes the ink and the sensitive film from the parts that were unaffected by the action of light (the parts corresponding to the white paper in the design), but the ink still adheres to the lines of the design in the precise sharpness and clearness of the negative. The design is now ready to be transferred to the printing stone or zinc plate. The sheet is again slightly dampened between moist blotters and laid face downward in its correct position on a prepared stone or zinc plate, which is then pulled through a press under heavy pressure. The paper is then removed from the stone or plate, to which it has carried the design. From this point the gumming, etching, and other operations are practically the same as those used in ordinary lithography.
The bichromate-gelatin transfer process described above has been replaced in the Survey by a more satisfactory one, which insures absolute scale and reproduces the finest line drawings perfectly without thickening the lines or without distortion. In this process, which is known as the planographic process, a photographic negative of the "copy" is placed in a vacuum printing frame in contact with a zinc or aluminum plate that has been sensitized with a bichromate-albumen solution and exposed in front of an arc lamp. After proper exposure the plate is removed from the frame, inked over, and placed under water. The parts not hardened by the action of light (the unexposed parts) are then rubbed away with cotton, and the plate is chemically etched, gummed over, and dried. The plate is then ready to be printed from in a lithographic press. If a large map is to be reproduced it is photographed in parts, and contact prints are made on zinc plates. From these plates transfers are pulled and the parts are assembled and laid down in proper position on a stone or an aluminum plate, which is then prepared for printing.
A drawing that is to be reproduced by photolithography should be made on pure-white paper in lines, dots, or black masses with black waterproof ink. It should be one and one-half to two or three times the size of the finished print.
Photolithography is particularly adapted to the reproduction of maps, plans, and other large drawings. Within certain limitations, lines may be changed and details may be added after proofs have been submitted. The process is ordinarily used for reproducing illustrations in one color (black), but it is used also for printing in more than one color, generally over a black outline base, each color being printed from a separate stone, as in chromolithography.
OFFSET PRINTING.
In the offset process the design is "offset" from a lithographic plate or stone to a rubber blanket on a cylinder, from which it is printed. By thus obtaining an impression from an elastic surface the finest details can be printed on rough, uncoated paper, which can not be used in other processes, which can be folded without danger of breaking, and which is more durable than coated paper. Plates II, III, IV, VII, and VIII in this pamphlet were printed by this process.
CHROMOLITHOGRAPHY.
The chromolithographic process, by which illustrations are printed in color from stone, is used in Survey publications principally for reproducing geologic maps, but it is sometimes used for reproducing colored drawings of specimens.
There are several kinds of color printing from stones. One produces a picture by superimposing colors that combine and overlap without definite outlines and thus reproduce the softly blended colors of the original. Another reproduces the original by printing colors within definite outlines on a "base" which has been previously printed in black. The first kind is used by the Survey for reproducing colored drawings of specimens. The second is followed in reproducing geologic maps.
As each color must be printed from a separate stone and properly fitted with respect to the others a tracing from the original is made of the precise outlines of each color; or, if the design is to be reduced, a tracing is made over a properly reduced photographic print. This tracing can be made on specially prepared tracing paper or on a sheet of transparent gelatin or celluloid, which is laid over the copy and on which all the outlines and overlaps of the various colors are scratched with a steel point. The scratches thus made on the celluloid are filled with red chalk or like substance, and rubbed in with cotton, and by reversing the sheet and rubbing it the chalk lines are deposited on as many stones as are needed to produce the colors of the original design, each stone bearing all the outlines of the design. Sometimes all the outlines are engraved on what is called a key stone and an impression from it is laid down on each of the color stones. The parts on each stone that are to have one color are then inked in or engraved, and at the same time guide marks are indicated, so that in the composite print from the stones each color will fit its proper place. This fitting is called "register" and is an important part of printing, for each stone must be adjusted to a nicety while on the press in order to make each impression fit the others exactly. The process was originally manipulated entirely by hand, but photography has now replaced much of the handwork and has given rise to several methods by which the same kinds of subjects are reproduced in radically different ways. Tints are sometimes produced by the half-tone and other screens and by machine ruling, and printer's type is used almost exclusively for titles and other matter that was formerly engraved or drawn on the stone.
In reproducing a geologic map the base may be engraved on stone or on copper or it may be photo-lithographed. By either process the map may be transferred to the printing stone. The color stones for geologic maps are prepared by hand, but the geologic patterns, which are printed in colors, are engraved separately on plates, from which impressions are pulled when needed and transferred to their proper places on the printing stones in the shapes required according to the "key" design. The lighter, more transparent colors are generally printed first, and often twelve or more colors and many distinctive patterns are used to produce a geologic map. When proofs [89] of such a map are pulled each stone must be taken up and carefully adjusted on the press, so that the work of proving maps that are printed from a considerable number of color stones is laborious and expensive. It is therefore customary to approve first combined proofs conditionally—that is, subject to the corrections and changes indicated on the proofs—and to hold the lithographer responsible for any failure to make the corrections.
This process is the most expensive one used for reproducing illustrations. Changes may be indicated on proofs, but changes can not be made on a stone twice in the same place without danger of affecting the printing or making it necessary to retransfer the parts affected. All changes are expensive because a slight modification at one point may involve corresponding changes on a number of stones, each of which must be taken up, corrected, and proved to insure the exact coincidence of the parts affected. It is often less expensive to retransfer the entire job than to make extensive changes on the original stones.
ENGRAVING ON STONE AND ON COPPER.
Engraving on stone is distinctly lithographic, but engraving on copper is sometimes included among lithographic processes because the work produced by it is usually printed from stone and thus becomes lithographic. In other respects engraving on copper is not a lithographic process. Roughly prepared maps and any rough line copy that is accurate in statement and clear as to intent are appropriate for both methods of engraving, but drawings that are expertly prepared are more suitable for reproduction by photolithography. In engraving on stone the lines of a design are scratched on the blackened surface of a stone with a steel-pointed tool; in engraving on copper the lines are cut with a graver on a sheet or plate of copper, the matter to be engraved being first shown on the plate by what is called the photo-tracing process, which was devised in the Geological Survey. There is, however, no great or essential difference in the printed results of the two processes, but most lithographers employ only stone engravers.
A stone on which a design is to be engraved is ground and polished according to the kind of work to be engraved, is coated with a thin solution of gum arable and allowed to dry, and is then washed until the superficial gum is removed while the surface pores remain filled. As the lines made by the engraver must be visible the stone is blackened with a pigment composed of lampblack and gum or is covered evenly with red chalk or Venetian red. It is then ready to receive the design to be engraved.
If the design is a map which is to show culture, streams, and surface contours, and each of these sets of features is to be printed in a [90] separate color, impressions of the work to be engraved must be placed on three stones. One method of doing this is to make a scratch tracing of the original drawing on a sheet of transparent gelatin or celluloid in the manner employed in chromolithography, except that a dry pigment, generally chrome-yellow, is used to fill the scratch lines instead of red chalk or Venetian red. From this tracing a "faint" or imprint of all the details of the three separate features of the map is made on each of the three stones, and the engraver then cuts on each stone only the lines and other features, including ample register marks, that are to be printed in one color, the imprint made from the tracing making it possible to engrave each set of features in its exact position relative to the other two. By another method the matter to be engraved is photographed directly on the stone.
The engraving is done with a steel needle inserted in a small wooden cylinder, an instrument resembling an ordinary lead pencil. The size and shape of the needles used are varied according to the requirements of the matter to be engraved. With this instrument the lines and lettering are lightly scratched into the stone through the dark coating and show as light lines. The points of some of the needles are fine; those of others are V-shaped; and some have spoon-shaped points, for use in thickening lines and shading letters. All features are engraved in reverse.
After the engraving is completed the stones are prepared for printing by wiping off all the superficial color and filling the engraved lines with a greasy ink—generally a thin printing ink—which is rubbed into the lines with a soft rag. Impressions are then pulled on transfer paper and transferred to three printing stones for use in printing the three colors, the register marks enabling the pressman to fit each color exactly in its proper place.
In all lithographic processes the titles and other marginal lettering can be and usually are transferred from type impressions to the printing stones. It is therefore unnecessary to letter such matter carefully on an original drawing that is made for lithographic reproduction, for appropriate faces of type will give better printed results than hand lettering.
Corrections can not be made on a stone or copper engraving as readily as on a drawing. If a stone engraver makes an error or if a change is required after his engraving is finished, the parts to be corrected must be scraped off and a new ground laid before the correction can be made. Sometimes he will engrave the parts corrected on another part of the original stone and transfer it to the printing stone. Corrections are made on copper plates by "hammering up" the plate from beneath, polishing off a new surface, and reengraving the part to be corrected.
The matter given in this appendix is much used in making geologic maps and other illustrations. The Greek alphabet and the groups of signs presented are given chiefly to show the correct formation of each letter and sign.
Length of 1° of longitude measured along given parallels from the Equator to
the poles.
[From U. S. Coast and Geodetic Survey Report for 1884, Appendix 6.]
|
|
|
Length of 1° of latitude measured along a meridian at given parallels.
[Parallel given is in center of the degree whose length is stated.]
| Parallel of latitude. |
Statute miles. |
Parallel of latitude. |
Statute miles. |
| 0 | 68.704 | 50 | 69.115 |
| 10 | 68.725 | 60 | 69.230 |
| 20 | 68.786 | 70 | 69.324 |
| 30 | 68.879 | 80 | 69.386 |
| 40 | 68.993 | 90 | 69.407 |
Metric system and equivalents.
[The units of linear measure most commonly used are millimeters (mm.), centimeters (cm.),
decimeters (dm.), meters (m.), and kilometers (km.), 1 m. = 10 dm.; 1 dm. = 10 cm.;
1 cm. = 10 mm.; 1 km. = 1,000 meters = 0.62137 mile; 1 m. = 39.37 inches = 3.280833 feet.]
| Meters. | Inches. | Meters. | Feet. | Kilometers. | Miles. |
| 1 | 39.37 | 1 | 3.280633 | 1 | 0.62137 |
| 2 | 78.74 | 2 | 6.561667 | 2 | 1.24274 |
| 3 | 118.11 | 3 | 9.842500 | 3 | 1.86411 |
| 4 | 157.48 | 4 | 13.123333 | 4 | 2.48548 |
| 5 | 196.85 | 5 | 16.404166 | 5 | 3.10685 |
| 6 | 236.22 | 6 | 19.685000 | 6 | 3.72822 |
| 7 | 275.59 | 7 | 22.965833 | 7 | 4.34959 |
| 8 | 314.96 | 8 | 26.246666 | 8 | 4.97096 |
| 9 | 354.33 | 9 | 29.527500 | 9 | 5.59233 |
| Inches. | Centimeters. | Feet. | Meters. | Miles. | Kilometers. |
| 1 | 2.54 | 1 | 0.304801 | 1 | 1.60935 |
| 2 | 5.08 | 2 | 0.609601 | 2 | 3.21869 |
| 3 | 7.62 | 3 | 0.914402 | 3 | 4.82804 |
| 4 | 10.16 | 4 | 1.219202 | 4 | 6.43739 |
| 5 | 12.70 | 5 | 1.524003 | 5 | 8.04674 |
| 6 | 15.24 | 6 | 1.828804 | 6 | 9.65606 |
| 7 | 17.78 | 7 | 2.133604 | 7 | 11.26543 |
| 8 | 20.32 | 8 | 2.438405 | 8 | 12.87478 |
| 9 | 22.86 | 9 | 2.743205 | 9 | 14.48412 |
The "vara," used in Texas, is equivalent to 331/3 inches and is computed as representing 2.78 feet.
Geologic eras, periods, systems, epochs, and series.
| Era. | Period or system. | Epoch or series. | ||
| Cenozoic. | Quaternary. | Recent. Pleistocene (replaces "Glacial"). |
||
| Tertiary. | Pliocene. Miocene. Oligocene. Eocene. |
|||
| Mesozoic. | Cretaceous. | Upper (Gulf may be used provincially). Lower (Comanche and Shasta may be used provincially). |
||
| Jurassic. | Upper. Middle. Lower. |
|||
| Triassic. | Upper. Middle. Lower. |
|||
| Paleozoic. | Carboniferous. | Permian. Pennsylvanian (replaces "Upper Carboniferous"). Mississippian (replaces "Lower Carboniferous"). |
||
| Devonian. | Upper. Middle. Lower. |
|||
| Silurian. | ||||
| Ordovician. | Upper (Cincinnatian may be used provincially). Middle (Mohawkian may be used provincially). Lower. |
|||
| Cambrian. | Saratogan (or Upper Cambrian). Acadian (or Middle Cambrian). Waucoban (or Lower Cambrian). |
|||
| Proterozoic. | Algonkian. Archean. |
pre-Cambrian. | ||
Chemical elements and symbols.
| Element. | Symbol. | Element. | Symbol. | Element. | Symbol. | ||
| Aluminum | Al | Holmium | Ho | Rhodium | Rh | ||
| Antimony | Sb | Hydrogen | H | Rubidium | Rb | ||
| Argon | Al | Indium | In | Ruthenium | Ru | ||
| Arsenic | As | Iodine | I | Samarium | Sa | ||
| Barium | Ba | Iridium | Ir | Scandium | Sc | ||
| Bismuth | Bi | Iron | Fe | Selenium | Se | ||
| Boron | B | Krypton | Kr | Silicon | Si | ||
| Bromine | Br | Lanthanum | La | Silver | Ag | ||
| Cadmium | Cd | Lead | Pb | Sodium | Na | ||
| Cesium | Cs | Lithium | Li | Strontium | Sr | ||
| Calcium | Ca | Lutecium | Lu | Sulphur | S | ||
| Carbon | C | Magnesium | Mg | Tantalum | Ta | ||
| Cerium | Ce | Manganese | Mn | Tellurium | Te | ||
| Chlorine | Cl | Mercury | Hg | Terbium | Tb | ||
| Chromium | Cr | Molybdenum | Mo | Thallium | Tl | ||
| Cobalt | Co | Neodymium | Nd | Thorium | Th | ||
| Columbium | C | Neon | Ne | Thulium | Tm | ||
| Copper | Cu | Nickel | Ni | Tin | Sn | ||
| Dysprosium | Dy | Niton | Nt | Titanium | Ti | ||
| Erbium | Er | Nitrogen | N | Tungsten | W | ||
| Europium | Eu | Osmium | Os | Uranium | U | ||
| Fluorine | F | Oxygen | O | Vanadium | V | ||
| Gadolinium | Gd | Palladium | Pd | Xenon | Xe | ||
| Gallium | Ga | Phosphorus | P | Ytterbium | |||
| Germanium | Ge | Platinum | Pt | (Neoytterbium) | Yb | ||
| Glucinum | Gl | Potassium | K | Yttrium | Y | ||
| Gold | Au | Praseodymium | Pr | Zinc | Zn | ||
| Helium | He | Radium | Ra | Zirconium | Zr |
Greek alphabet.
| Caps. | Lower-case. | Greek name. | English sound. |
Caps. | Lower-case. | Greek name. | English sound. |
|
| Α | α | Alpha. | A. | Ν | ν | Nu. | N. | |
| Β | β | Beta. | B. | Ξ | ξ | Xi. | X. | |
| Γ | γ | Gamma. | G. | Ο | ο | Omicron. | O short. | |
| Δ | δ | Delta. | D. | Π | π | Pi. | P. | |
| Ε | ε | Epsilon. | E short. | Ρ | ρ | Rho. | R. | |
| Ζ | ζ | Zeta. | Z. | Σ | σ | Sigma. | S. | |
| Η | η | Eta. | E long. | Τ | τ | Tau. | T. | |
| Θ | θ | Theta. | Th. | Υ | υ | Upsilon. | U. | |
| Ι | ι | Iota. | I. | Φ | φ | Phi. | F. | |
| Κ | κ | Kappa. | K. | Χ | χ | Chi. | Ch. | |
| Λ | λ | Lambda. | L. | Ψ | ψ | Psi. | Ps. | |
| Μ | μ | Mu. | M. | Ω | ω | Omega. | O long. |
Roman numerals.
| I | 1 | IX | 9 | LXX | 70 | D | 500 |
| II | 2 | X | 10 | LXXX | 80 | DC | 600 |
| III | 3 | XIX | 19 | XC | 90 | DCC | 700 |
| IV | 4 | XX | 20 | C | 100 | DCCC | 800 |
| V | 5 | XXX | 30 | CL | 150 | CM | 900 |
| VI | 6 | XL | 40 | CC | 200 | M | 1000 |
| VII | 7 | L | 50 | CCC | 300 | MD | 1500 |
| VIII | 8 | LX | 60 | CD | 400 | MCM | 1900 |
Mathematical signs.
| + | plus. | ~ | difference |
| - | minus. | ∫ | integration. |
| × | multiplied by. | ≎ | equivalence. |
| ÷ | divided by. | : | ratio. |
| = | equality. | ∺ | geometrical proportion. |
| ± | plus or minus. | –: | difference, excess. |
| □ | square. | ∴ | therefore. |
| ▭ | rectangle. | ∵ | because. |
| ∆ | triangle. | ∞ | infinity. |
| ◯ | circle. | ∝ | varies as. |
| ∠ | angle. | √ | radical. |
| ∟ | right angle. | ° | degree. |
| ⫍ or > | greater than. | ' | minute. |
| ⫎ or < | less than. | " | second. |
| ⊥ | perpendicular. |
The following list was prepared in the geologic branch for the use of geologic draftsmen to enable them to select appropriate symbols for rocks that may be referred to in preliminary drawings by name only. For sedimentary rocks dots and circles, parallel lines, and broken or dotted lines are used; for metamorphic rocks short dashes arranged without definite patterns; and for igneous rocks patterns composed of short dashes, triangles, rhombs, crosses, and cross lines. All these patterns are shown in Plate III.
Sedimentary material.
[Including residual, detrital, eolian, glacial, organic, and chemically precipitated material.]
| Agglomerate. Alabaster. Alluvium. Alum shale. Anhydrite. Apron (alluvial). Argillite. Arkose. Asphalt. Bench gravel. Bentonite. Boulder clay. Brea. Breccia. Brownstone. Burrstone. Calcarenite. Calc sinter. Caliche. Catlinite. Chalk. Chert. Clay. Coal. Conglomerate. Coprolite. Coquina. Detritus. Diatomaceous earth. Diluvium. Dolomite. Drift. Fan (alluvial). Fanglomerate. Flagstone. Flint. Freestone. Fuller's earth. Geyserite. Gravel. Graywacke. Greensand. Grit. Gumbo. Gypsum. Hardpan. Hematite. Infusorial earth. |
Ironstone (also igneous). Itacolumite. Kame. Kaolin. Laterite. Lignite. Limestone. Limonite. Loess. Marble (also metamorphic). Marl. Metaxite. Morainal deposit. Mudstone. Novaculite. Peat. Pelite. Phosphate rock. Phosphorite. Phthanite. Psammites. Psephites. Puddingstone. Pyroclastic material. Quartzite (also metamorphic). Reddle. Rock salt. Rock stream. Rubble. Salt. Sand. Sandstone. Selenite. Shale. Silt. Slate (also metamorphic). Soil. Stalactite. Stalagmite. Talc. Talus. Till. Travertine. Tripoli. Tufa (=chemically deposited lime). Tuff (=igneous fragments). Wacke. Wash. |
Metamorphic material.
| Adinole. Amphibolite. Andalusite schist (?). Apo (rhyolite), etc. Argillite. Augen gneiss (also igneous). Biotite schist. Calc schist. Cataclastic. Chlorite schist Clay slate. Damourite schist. Desmosite. Dynamometamorphic rock. Eclogite. Epidosite. Erlan. Erlanfels. Eulysite. Fibrolite schist Garnet rock. Garnet schist. Gneiss. Granite gneiss. Graywacke (?). Green schists. Greenstone (also igneous). Greisen. Halleflinta. Hornblende schist Hornfels. |
Hornstone. Itabirite. Kinzigite. Knotenschiefer. Knotty schists. Luxulianite (igneous?). Marble. Meta (diabase), etc. Mica schist. Mylonite. Ophicalcite. Ottrelite schist. Phyllite. Porcelanite. Protogene. Pyroschists. Quartz. Quartzite. Quartz schist. Schist. Sericite schist, etc. Serpentine. Slate. Soapstone. Sodalite. Spilosite. Steatite. Talc schist. Topazfels. Topaz rock. Zobtenite. |
Igneous material.
| Absarokite. Abyssal. Adamellite. Adendiorite. Ailsyte. Åkerite. Alaskite. Albitlte. Allivalite. Allochetite. Alnölte. Alsbachite. Ambonite. Amherstite. Analcitite. Andesite. Anorthosite. Aphanitite. Aplite. Arkite. Atatschite. Augen gneiss (also metamorphic). Augitite. Avezacite. Banakite. Banatite. Bandaite. Basalt. Basanite. Beerbachite. Bekinkinite. Bombs. Borolanite. Bostonite. Camptonite. Carmeloite. Cascadite. Chibinite. Ciminite. Comendite. Complementary rocks. Coppaelite. Cortlandite. Cromaltite. Cumberlandite. Cuselite. Dacite. Dellenite. Diabase. Diallagite. Dike rock. Diorite. Ditroite. |
Dolerite. Dunite. Durbachite. Effusive rock. Ekerite. Elvan. Enstatite. Eruptive rock. Essexite. Estrellite. Eulysite. Extrusive rock. Farrisite. Felsite. Felsophyre. Fergusite. Fortunite. Fourchite. Foyaite. Gabbro. Gauteite. Garewaite. Glumarrite. Gladkaite. Granite. Granitite. Granitoid. Granodiorite. Granophyre. Greenstone (also metamorphic). Greisen (?). Grorudite. Harrisite. Harzburgite. Haüynophyre. Hawaiite. Hedrumite. Heumite. Holyokeite. Hornblendite. Hypabyssal rock. Hyperite. Hypersthenite. Ijolite. Intrusive rock. Irruptive (=Intrusive) rock. Isenite. Jacupirangite. Jumillite. Kaiwekite. Kedabekite. Kentallenite. Kenyite. |
Igneous material.—Continued.
| Keratophyre. Kersantite. Kimberlite. Kobalaite. Krablite. Krageröite. Kulaite. Kyschytymite. Lamprophyre. Latite. Laugenite. Laurdalite. Laurvikite. Lava. Lestiwarite. Leucite basalt. Leucite tephrite. Leucitite. Leucocratic. Lherzolite. Limbergite. Lindoite. Liparite. Litchfieldite. Lithoidite. Luciitss. Lujaurite. Madrupite. Maenaite. Magma basalt. Malchite. Malignite. Mangerite. Mariupolite. Melaphyre. Melilite basalt. Mesanite. Mica peridotite. Minette. Missourite. Monchiquite. Mondholdeite. Monmouthite. Monzonite. Mugearite. Naujaite. Nelsonite. Nephelinite. Nevadite. Nordmarkite. Norite. Obsidian. Odinite. Orbite. Orendite. Ornöite. Orthophyre. Ortlerite. Ouachitite. Paisanite. Pantellerite. Pegmatite. Peridotite. Perknite. |
Perlite. Phanerite. Phonolite. Pierite. Pitchstone. Plagiaplite. Plagioclastic. Plumasite. Plutonic rock. Pollenite. Porphyry. Pulaskite. Pumice. Pyroxenite. Rhombenporphyry. Rhyolite. Rizzonite. Rockalite. Santorinite. Sanukite. Saxonite. Scyelite. Shastaite. Shonkinite. Shoshonite. Soda granite. Sölvsbergite. Sommaite. Spessartite. Sussexite. Syenite. Taimyrite. Tawite. Tephrite. Teschenite. Theralite. Tilaite. Tinguaite. Tjosite. Tonalite. Tonsbergite. Tordrillite. Toscanite (?). Trachy-andesite. Trachyte. Trap. Troctolite. Umptekite. Unakite. Ungaite. Urtite. Valbellite. Venanzite. Verite. Vitrophyre. Vogesite. Volcanic rock. Volhynite. Vulsinite. Websterite. Wehrlite. Windsorite. Wyomingite. Yamaskite. |
[97]
[98]
[99]
[A] [B] [C] [D] [E] [F] [G] [H] [I] [J] [L]
[M] [N] [O] [P] [R] [S] [T] [V] [W] [Z]
A.
Abbreviations, forms of. 55-67
Adhesive materials, choice. 37
Alaska, maps of, reuse of. 17
Albertype. See Photogelatin processes.
Apparatus, photographs of, preferred to sketches. 29
Approval of finished drawings, features to be covered by. 38
of illustrations, regulations governing. 80
Areas, patterns used to distinguish. 23
patterns used to distinguish, plate showing. 62
Army, Corps of Engineers of the, maps published by. 15
Artotype. See Photogelatin processes.
Atlases, published, use of. 15
B.
Base maps. See Maps, base.
Bleaching photographic prints, method and solutions for. 69
Border for maps, width and use of. 57-58
Bristol board, kind Mid sizes used. 24, 66
Brash and pencil drawings, materials and methods used in making. 66-67, 69
Brushes, kinds and sizes used. 66-67,71
C.
Celluloid transferring, process of. 47
requisitions for. 47
Cerotype process, description and advantages of. 80-81
Changes in engravings, possible kinds of. 38-39, 90
Changes in original material, draftsman to consult author on. 65
Chemical elements, names and symbols of. 93
Chromolithography, description of. 87-80
Civil divisions, lettering of. 53, 54
Coal beds, indication of thickness of. 31
Coast and Geodetic Survey charts, use of. 15
Collotype. See Photogelatin processes.
Coloring materials, use of. 26
Colors, standard, for geologic maps. 62-63
use of, for ground-water features. 21-23
on original geologic maps. 27-28
Commas, form of. 54
use of, in numbers. 54
Contours, drawing of. 48-50
Cooperation, mention of. 13
Copper, engraving on. 89, 90
etching in relief on, process and advantages of. 75
Copying methods of. 46-48
Corrections. See Changes.
Cost of photo-engravings. 75, 78, 80, 81
County maps, use of. 15
Crayons, wax, use of. 26, 50, 51
Credit for data of maps, indication of. 13
Crystals, drawings of, making and lettering of. 70
Cultural features, lettering of. 53-54
list of. 52-53
Curves, date showing. 64
Cuts. See Engravings.
D.
Details of a geologic map, plate showing. 58
Diagrams, drawing and lettering of. 64
features of, plate showing. 64
original, general requirements for. 28-20
Director of the Survey, order by. 9
Divisions of plates and figures, serial letters and numbers for. 12
Drafting table, shadowless, description of. 47-48
shadowless, use of. 29, 48, 50
Draftsmen, detail of, to aid author. 9
detail of, to prepare base maps. 13-14
experience and reading required by. 41-42
general treatment of material by. 42-43
Drainage features, depiction of. 51-52
Drawing instruments, list of. 42
Drawing materials, kinds used. 23-26, 66-67, 69, 71
Drawings, authors', draftsmen may aid in making. 9
authors', editorial revision of. 38
finished, general requirements for. 41-42
requests for photographs of. 34
Duplicates of engravings, charges for. 38
E.
Effectiveness of illustrations, elements that produce. 7, 30
Electrotypes of engravings, charges for. 38
Elements, chemical, names and symbols of. 93
Engraving on stone, process of. 89-90
See also Lithography.
Engravings, changes in. 38-39
original, time of keeping. 37
Erasers, injury to paper by. 67
kinds used. 25, 67-68
Erasures, smoothing paper after. 68
Explanations on maps, arrangement and lettering of. 19, 58-50
F.
Figures, differences from plates. 10-11
divisions of, serial letters for. 12
methods of inserting, plate showing. 12
Formations, geologic, use of letter symbols for. 20-21
Fossils. See Specimens.
Four-color process, advantage of. 80
G.
Gas wells, symbols for. 21
Generalization, true, meaning of. 17
Geographic tables and formulas (Bull. 650), use of. 44, 45
Geologic periods of time, names of. 92
Gouache, use of. 67, 69
Great Lakes surveys, maps published by. 15
[100]
Greek letters, forms, names, and English sounds of. 93
Ground-water features, symbols representing. 21-23
H.
Hachuring, use of. 50
Half-tone engraving, preparation of copy for. 77-78
process and advantages of. 75-78
three-color process of. 78-80
Half tones, changes in. 39
prints of, showing effects produced by different screens. 56
requirements for printing. 11
Heliotype. See Photogelatin processes.
Hill shading, use of. 60-51
Hydrographic features, lettering of. 54
representation of. 51-52
Hypsographic features, lettering of. 54
I.
Illustrations, kinds of. 10-11
Inks, kinds used. 25, 67
methods of using. 25
Inserting plates and figures, methods of, plate showing. 12
Instruments, draftsmen's, list of. 42
J.
Japanese transparent water colors, use of. 26
L.
Land Office maps, scales and detail of. 14-15
Latitude, length of 1° of, at intervals of 10°. 91
Lending of photographs and drawings, rules governing. 34
Letter symbols, use of, on geologic maps. 20-21
Lettering, directions for. 53-55
for lithographing. 90
for names of streams. 52, 54
on diagrams. 64
on drawings of crystals. 70
on original maps. 19
on plans and cross sections of mines. 65-66
reduction sheet used in, plate showing. 54
use of type for. 54-55
Light, direction and gradation of. 66
Lithographs, printing and insertion of. 11
Lithography, original process of. 83-85
See also Engraving on stone.
Longitude, length of 1° of, at latitudes 0° to 90°. 91
M.
Map of the world, millionth-scale, use of, for base maps. 14
Maps, areal patterns for, drawing of. 61-62
bar scales for. 59-60
base, conventional symbols used on. 45-46
including new data, how obtained. 13-14
indication of sources on. 13
of the United States on small scales, use of. 15
published maps available for. 14-17
reuse of, to be approved. 13
black and whits, patterns used on, plate showing. 62
borders for. 57-68
cultural features on. 52-53
enlargement and reduction of. 18
explanations for. 19, 58-59
geologic, details of, plate showing. 58
printing of. 87-89
standard colors for. 62-63
hydrographic features on. 61-52
lettering on. 53-65
materials used for drawing. 23-28
orientation of. 18
original, margin required on. 19
original base, amount of detail on. 17
must be free from colors and symbols. 28
preparation of. 13-14, 17-18
original geologic, method of coloring. 27-28
projection for. 18-19, 43-45
reduction or enlargement of, marking for. 63-64
relief on. 48-51
standard scales for. 18
symbols used on. 20-23
drawing of. 61
plates showing. 20, 46
titles for. 58
topographic, scales of. 14-15
Mathematical signs, forms and names of. 94
Measures, linear, metric equivalents of. 92
Measuring scales for map projection, use of. 44
Meridians used on public-land maps, diagram showing. 16
Metric measures, English equivalents of. 92
Millionth-scale map, use of. 14
Mine plans, conventional lines for. 29
features of. 65-66
symbols used on, plate showing. 20
Minerals. See Rocks.
Mississippi River Commission, maps published by 15
N.
Names of rocks. 94-97
National forest maps and proclamations, use of. 15
O.
Offset process, description of. 87
Oilwells, symbols for. 21
Opaquing, meaning of. 18, 47, 86
Orientation of maps, requirements for. 18
Original drawings, general treatment of, by draftsmen. 42-43
preparation of. 12-40
Outdoor sketches, redrawing of. 69-70
P.
Panoramas, construction of. 71
Paper, kinds used for drawings. 23-24, 60, 61, 66, 69
Pastes, use of. 37
Patterns, areal, method of drawing. 61-62
areal, plate showing. 62
Pen drawings, materials and methods used in making. 67-68, 68-69
Pencils, colored, use of. 26
drawing, quality and grades of. 25, 66
Pens, kinds of, used for drawing. 25, 48, 67
Photoengraving, cost of. 75, 78, 80, 81
general features of. 72-73
Photoengravings, printing and insertion of. 11
Photogelatin processes, description of. 82-83
[101]
Photographs, adaptation of. 83
bleaching of. 69
care needed in taking and handling. 32, 33, 39-40
copyrighted, consent for use of. 33-34
duplicate prints of, requests for. 34
mounting and numbering of. 33, 36-37
poor, mating of drawings over. 68-69
preparation of, for half-tone engraving. 77-78
record of source of. 34
selection of. 32-33
retouching of. 68, 70-71
suitability of. 9
unpublished, issue and use of. 34
Photolithographs, changes in. 39
Photolithography, description of. 86-87
Planographic process, description of. 87
Plans of mines, drawing and lettering of. 29, 65-66
symbols used on, plate showing. 20
Plates, differences from figures. 10-11
divisions of, serial letters and numbers for. 12
grouping small illustrations on. 36-37
methods of inserting, plate showing. 12
Political divisions, lettering of. 53, 54
Post-route maps, scales and detail of. 15
Projection for maps, preparation and checking of. 18-19, 43-45
Proofs, changes in. 76
correction of. 38-39
duplicate, supplying of. 30
submittal of. 38
Public-land maps, meridians, parallels, and township lines used on, diagram showing. 16
Public works, lettering of. 53
Punctuation marks, forms of. 54
Purpose of illustrations in Survey reports. 8, 40
R.
Railroad surveys, data for maps obtainable from. 15
Railroads, names of, on maps. 57
Reduction of maps, marking drawings for. 63-64
means of. 18
Reduction sheet for lettering, plate showing. 54
use of. 55
Relief, methods of expressing. 48-51
Reproduction of illustrations, processes for. 72-90
relation of, to the drawing supplied. 7, 40
Reticulation, sketching by. 47
Retouching of photographs, materials and method used in. 68, 70-71
Reuse of illustrations, procedure for. 37-38
Rocks, igneous, names of. 95-97
metamorphic, names of. 95
sedimentary, names of. 94-95
symbols used to distinguish. 32
See also Specimens.
Roman numerals, numbers expressed by. 93
Rubber, liquid, use of. 37
S.
Scales, bar, forms of. 50-60
measuring for projection of maps. 44
standard, of maps. 18
Scope of this manual. 7
Screens, half-tone prints showing effects produced by. 56
Selection of illustrations, considerations governing. 8-9
Sections, columnar, original drawings for. 31
columnar, symbols used in, plate showing. 32
structure, combination of, with views of topography. 30-31
drawing of. 64-65
original drawings for. 29-31
symbols used in, plate showing. 32
vertical exaggeration of. 30
Shading, kinds used. 67
Signs, mathematical, forms and names of. 94
Sises of illustrations. 11-12, 40
Specimens, borrowed and fragile, care of. 35
drawings of, methods of making. 60-68
paleontologic, transmittal of. 35
photographs of, how printed. 68
how used. 34-85
Springs, symbols for. 22, 23
State maps, use of. 15
Stipple, production of. 50, 51
Stone, engraving on. 89-90
Streams, drawing of. 51-52
lettering names of. 52
Submittal of illustrations. 10
Symbols, drawing of. 20, 61
for ground-water features, uniformity needed in. 21-23
for maps and mine plans, plates showing. 20, 46
uniform use of. 20, 45-46
for oil and gas wells, features of. 21
for structure and columnar sections, plate showing. 32
lithologic, use of. 32
T.
Three-color half-tones, process of making. 78-80
Titles of illustrations, arrangement and place of. 58
printing of. 19-20
wording and lettering of. 19
Tooling on half-tones, effects obtained by. 77, 78
Topographic atlas sheets, scales of. 14
Tracing, method of. 46-47
use of colors in. 46-47
Tracing linen, use of. 24-25
Transferring, celluloid, process of. 47
celluloid, requisitions for. 47
Type, lettering with. 54-55
styles and sizes of. 55
V.
Value of illustrations in Survey reports. 8
Vara, length of. 92
Vignetting, effect obtained by. 78
W.
Wall map of the United States, use of, for basemaps. 14
Water colors, use of. 26, 67, 71
Waterlining, use of. 52
Wax engraving, process and advantages of. 80-81
Wells, symbols for. 22, 23
Wood engraving, process of. 81-82
Z.
Zinc etchings, changes in. 38-39
drawings for. 74
insertion of. 11
making and advantages of. 73-75
◯
Transcriber's Note
Paragraphs split by illustrations were rejoined.
In the table of Mathematical symbols, the symbol for "varies as" was set to the unicode symbol for "proportional to" (∝ = ∝).
End of the Project Gutenberg EBook of The Preparation of Illustrations for
Reports of the United States Geologi, by John L. Ridgway
*** END OF THIS PROJECT GUTENBERG EBOOK THE PREPARATION OF ILLUSTRATIONS ***
***** This file should be named 43232-h.htm or 43232-h.zip *****
This and all associated files of various formats will be found in:
http://www.gutenberg.org/4/3/2/3/43232/
Produced by Tom Cosmas from materials scanned in and
obtained from The Internet Archive.
Updated editions will replace the previous one--the old editions
will be renamed.
Creating the works from public domain print editions means that no
one owns a United States copyright in these works, so the Foundation
(and you!) can copy and distribute it in the United States without
permission and without paying copyright royalties. Special rules,
set forth in the General Terms of Use part of this license, apply to
copying and distributing Project Gutenberg-tm electronic works to
protect the PROJECT GUTENBERG-tm concept and trademark. Project
Gutenberg is a registered trademark, and may not be used if you
charge for the eBooks, unless you receive specific permission. If you
do not charge anything for copies of this eBook, complying with the
rules is very easy. You may use this eBook for nearly any purpose
such as creation of derivative works, reports, performances and
research. They may be modified and printed and given away--you may do
practically ANYTHING with public domain eBooks. Redistribution is
subject to the trademark license, especially commercial
redistribution.
*** START: FULL LICENSE ***
THE FULL PROJECT GUTENBERG LICENSE
PLEASE READ THIS BEFORE YOU DISTRIBUTE OR USE THIS WORK
To protect the Project Gutenberg-tm mission of promoting the free
distribution of electronic works, by using or distributing this work
(or any other work associated in any way with the phrase "Project
Gutenberg"), you agree to comply with all the terms of the Full Project
Gutenberg-tm License (available with this file or online at
http://gutenberg.org/license).
Section 1. General Terms of Use and Redistributing Project Gutenberg-tm
electronic works
1.A. By reading or using any part of this Project Gutenberg-tm
electronic work, you indicate that you have read, understand, agree to
and accept all the terms of this license and intellectual property
(trademark/copyright) agreement. If you do not agree to abide by all
the terms of this agreement, you must cease using and return or destroy
all copies of Project Gutenberg-tm electronic works in your possession.
If you paid a fee for obtaining a copy of or access to a Project
Gutenberg-tm electronic work and you do not agree to be bound by the
terms of this agreement, you may obtain a refund from the person or
entity to whom you paid the fee as set forth in paragraph 1.E.8.
1.B. "Project Gutenberg" is a registered trademark. It may only be
used on or associated in any way with an electronic work by people who
agree to be bound by the terms of this agreement. There are a few
things that you can do with most Project Gutenberg-tm electronic works
even without complying with the full terms of this agreement. See
paragraph 1.C below. There are a lot of things you can do with Project
Gutenberg-tm electronic works if you follow the terms of this agreement
and help preserve free future access to Project Gutenberg-tm electronic
works. See paragraph 1.E below.
1.C. The Project Gutenberg Literary Archive Foundation ("the Foundation"
or PGLAF), owns a compilation copyright in the collection of Project
Gutenberg-tm electronic works. Nearly all the individual works in the
collection are in the public domain in the United States. If an
individual work is in the public domain in the United States and you are
located in the United States, we do not claim a right to prevent you from
copying, distributing, performing, displaying or creating derivative
works based on the work as long as all references to Project Gutenberg
are removed. Of course, we hope that you will support the Project
Gutenberg-tm mission of promoting free access to electronic works by
freely sharing Project Gutenberg-tm works in compliance with the terms of
this agreement for keeping the Project Gutenberg-tm name associated with
the work. You can easily comply with the terms of this agreement by
keeping this work in the same format with its attached full Project
Gutenberg-tm License when you share it without charge with others.
1.D. The copyright laws of the place where you are located also govern
what you can do with this work. Copyright laws in most countries are in
a constant state of change. If you are outside the United States, check
the laws of your country in addition to the terms of this agreement
before downloading, copying, displaying, performing, distributing or
creating derivative works based on this work or any other Project
Gutenberg-tm work. The Foundation makes no representations concerning
the copyright status of any work in any country outside the United
States.
1.E. Unless you have removed all references to Project Gutenberg:
1.E.1. The following sentence, with active links to, or other immediate
access to, the full Project Gutenberg-tm License must appear prominently
whenever any copy of a Project Gutenberg-tm work (any work on which the
phrase "Project Gutenberg" appears, or with which the phrase "Project
Gutenberg" is associated) is accessed, displayed, performed, viewed,
copied or distributed:
This eBook is for the use of anyone anywhere at no cost and with
almost no restrictions whatsoever. You may copy it, give it away or
re-use it under the terms of the Project Gutenberg License included
with this eBook or online at www.gutenberg.org/license
1.E.2. If an individual Project Gutenberg-tm electronic work is derived
from the public domain (does not contain a notice indicating that it is
posted with permission of the copyright holder), the work can be copied
and distributed to anyone in the United States without paying any fees
or charges. If you are redistributing or providing access to a work
with the phrase "Project Gutenberg" associated with or appearing on the
work, you must comply either with the requirements of paragraphs 1.E.1
through 1.E.7 or obtain permission for the use of the work and the
Project Gutenberg-tm trademark as set forth in paragraphs 1.E.8 or
1.E.9.
1.E.3. If an individual Project Gutenberg-tm electronic work is posted
with the permission of the copyright holder, your use and distribution
must comply with both paragraphs 1.E.1 through 1.E.7 and any additional
terms imposed by the copyright holder. Additional terms will be linked
to the Project Gutenberg-tm License for all works posted with the
permission of the copyright holder found at the beginning of this work.
1.E.4. Do not unlink or detach or remove the full Project Gutenberg-tm
License terms from this work, or any files containing a part of this
work or any other work associated with Project Gutenberg-tm.
1.E.5. Do not copy, display, perform, distribute or redistribute this
electronic work, or any part of this electronic work, without
prominently displaying the sentence set forth in paragraph 1.E.1 with
active links or immediate access to the full terms of the Project
Gutenberg-tm License.
1.E.6. You may convert to and distribute this work in any binary,
compressed, marked up, nonproprietary or proprietary form, including any
word processing or hypertext form. However, if you provide access to or
distribute copies of a Project Gutenberg-tm work in a format other than
"Plain Vanilla ASCII" or other format used in the official version
posted on the official Project Gutenberg-tm web site (www.gutenberg.org),
you must, at no additional cost, fee or expense to the user, provide a
copy, a means of exporting a copy, or a means of obtaining a copy upon
request, of the work in its original "Plain Vanilla ASCII" or other
form. Any alternate format must include the full Project Gutenberg-tm
License as specified in paragraph 1.E.1.
1.E.7. Do not charge a fee for access to, viewing, displaying,
performing, copying or distributing any Project Gutenberg-tm works
unless you comply with paragraph 1.E.8 or 1.E.9.
1.E.8. You may charge a reasonable fee for copies of or providing
access to or distributing Project Gutenberg-tm electronic works provided
that
- You pay a royalty fee of 20% of the gross profits you derive from
the use of Project Gutenberg-tm works calculated using the method
you already use to calculate your applicable taxes. The fee is
owed to the owner of the Project Gutenberg-tm trademark, but he
has agreed to donate royalties under this paragraph to the
Project Gutenberg Literary Archive Foundation. Royalty payments
must be paid within 60 days following each date on which you
prepare (or are legally required to prepare) your periodic tax
returns. Royalty payments should be clearly marked as such and
sent to the Project Gutenberg Literary Archive Foundation at the
address specified in Section 4, "Information about donations to
the Project Gutenberg Literary Archive Foundation."
- You provide a full refund of any money paid by a user who notifies
you in writing (or by e-mail) within 30 days of receipt that s/he
does not agree to the terms of the full Project Gutenberg-tm
License. You must require such a user to return or
destroy all copies of the works possessed in a physical medium
and discontinue all use of and all access to other copies of
Project Gutenberg-tm works.
- You provide, in accordance with paragraph 1.F.3, a full refund of any
money paid for a work or a replacement copy, if a defect in the
electronic work is discovered and reported to you within 90 days
of receipt of the work.
- You comply with all other terms of this agreement for free
distribution of Project Gutenberg-tm works.
1.E.9. If you wish to charge a fee or distribute a Project Gutenberg-tm
electronic work or group of works on different terms than are set
forth in this agreement, you must obtain permission in writing from
both the Project Gutenberg Literary Archive Foundation and Michael
Hart, the owner of the Project Gutenberg-tm trademark. Contact the
Foundation as set forth in Section 3 below.
1.F.
1.F.1. Project Gutenberg volunteers and employees expend considerable
effort to identify, do copyright research on, transcribe and proofread
public domain works in creating the Project Gutenberg-tm
collection. Despite these efforts, Project Gutenberg-tm electronic
works, and the medium on which they may be stored, may contain
"Defects," such as, but not limited to, incomplete, inaccurate or
corrupt data, transcription errors, a copyright or other intellectual
property infringement, a defective or damaged disk or other medium, a
computer virus, or computer codes that damage or cannot be read by
your equipment.
1.F.2. LIMITED WARRANTY, DISCLAIMER OF DAMAGES - Except for the "Right
of Replacement or Refund" described in paragraph 1.F.3, the Project
Gutenberg Literary Archive Foundation, the owner of the Project
Gutenberg-tm trademark, and any other party distributing a Project
Gutenberg-tm electronic work under this agreement, disclaim all
liability to you for damages, costs and expenses, including legal
fees. YOU AGREE THAT YOU HAVE NO REMEDIES FOR NEGLIGENCE, STRICT
LIABILITY, BREACH OF WARRANTY OR BREACH OF CONTRACT EXCEPT THOSE
PROVIDED IN PARAGRAPH 1.F.3. YOU AGREE THAT THE FOUNDATION, THE
TRADEMARK OWNER, AND ANY DISTRIBUTOR UNDER THIS AGREEMENT WILL NOT BE
LIABLE TO YOU FOR ACTUAL, DIRECT, INDIRECT, CONSEQUENTIAL, PUNITIVE OR
INCIDENTAL DAMAGES EVEN IF YOU GIVE NOTICE OF THE POSSIBILITY OF SUCH
DAMAGE.
1.F.3. LIMITED RIGHT OF REPLACEMENT OR REFUND - If you discover a
defect in this electronic work within 90 days of receiving it, you can
receive a refund of the money (if any) you paid for it by sending a
written explanation to the person you received the work from. If you
received the work on a physical medium, you must return the medium with
your written explanation. The person or entity that provided you with
the defective work may elect to provide a replacement copy in lieu of a
refund. If you received the work electronically, the person or entity
providing it to you may choose to give you a second opportunity to
receive the work electronically in lieu of a refund. If the second copy
is also defective, you may demand a refund in writing without further
opportunities to fix the problem.
1.F.4. Except for the limited right of replacement or refund set forth
in paragraph 1.F.3, this work is provided to you 'AS-IS' WITH NO OTHER
WARRANTIES OF ANY KIND, EXPRESS OR IMPLIED, INCLUDING BUT NOT LIMITED TO
WARRANTIES OF MERCHANTABILITY OR FITNESS FOR ANY PURPOSE.
1.F.5. Some states do not allow disclaimers of certain implied
warranties or the exclusion or limitation of certain types of damages.
If any disclaimer or limitation set forth in this agreement violates the
law of the state applicable to this agreement, the agreement shall be
interpreted to make the maximum disclaimer or limitation permitted by
the applicable state law. The invalidity or unenforceability of any
provision of this agreement shall not void the remaining provisions.
1.F.6. INDEMNITY - You agree to indemnify and hold the Foundation, the
trademark owner, any agent or employee of the Foundation, anyone
providing copies of Project Gutenberg-tm electronic works in accordance
with this agreement, and any volunteers associated with the production,
promotion and distribution of Project Gutenberg-tm electronic works,
harmless from all liability, costs and expenses, including legal fees,
that arise directly or indirectly from any of the following which you do
or cause to occur: (a) distribution of this or any Project Gutenberg-tm
work, (b) alteration, modification, or additions or deletions to any
Project Gutenberg-tm work, and (c) any Defect you cause.
Section 2. Information about the Mission of Project Gutenberg-tm
Project Gutenberg-tm is synonymous with the free distribution of
electronic works in formats readable by the widest variety of computers
including obsolete, old, middle-aged and new computers. It exists
because of the efforts of hundreds of volunteers and donations from
people in all walks of life.
Volunteers and financial support to provide volunteers with the
assistance they need, are critical to reaching Project Gutenberg-tm's
goals and ensuring that the Project Gutenberg-tm collection will
remain freely available for generations to come. In 2001, the Project
Gutenberg Literary Archive Foundation was created to provide a secure
and permanent future for Project Gutenberg-tm and future generations.
To learn more about the Project Gutenberg Literary Archive Foundation
and how your efforts and donations can help, see Sections 3 and 4
and the Foundation web page at http://www.pglaf.org.
Section 3. Information about the Project Gutenberg Literary Archive
Foundation
The Project Gutenberg Literary Archive Foundation is a non profit
501(c)(3) educational corporation organized under the laws of the
state of Mississippi and granted tax exempt status by the Internal
Revenue Service. The Foundation's EIN or federal tax identification
number is 64-6221541. Its 501(c)(3) letter is posted at
http://pglaf.org/fundraising. Contributions to the Project Gutenberg
Literary Archive Foundation are tax deductible to the full extent
permitted by U.S. federal laws and your state's laws.
The Foundation's principal office is located at 4557 Melan Dr. S.
Fairbanks, AK, 99712., but its volunteers and employees are scattered
throughout numerous locations. Its business office is located at
809 North 1500 West, Salt Lake City, UT 84116, (801) 596-1887, email
business@pglaf.org. Email contact links and up to date contact
information can be found at the Foundation's web site and official
page at http://pglaf.org
For additional contact information:
Dr. Gregory B. Newby
Chief Executive and Director
gbnewby@pglaf.org
Section 4. Information about Donations to the Project Gutenberg
Literary Archive Foundation
Project Gutenberg-tm depends upon and cannot survive without wide
spread public support and donations to carry out its mission of
increasing the number of public domain and licensed works that can be
freely distributed in machine readable form accessible by the widest
array of equipment including outdated equipment. Many small donations
($1 to $5,000) are particularly important to maintaining tax exempt
status with the IRS.
The Foundation is committed to complying with the laws regulating
charities and charitable donations in all 50 states of the United
States. Compliance requirements are not uniform and it takes a
considerable effort, much paperwork and many fees to meet and keep up
with these requirements. We do not solicit donations in locations
where we have not received written confirmation of compliance. To
SEND DONATIONS or determine the status of compliance for any
particular state visit http://pglaf.org
While we cannot and do not solicit contributions from states where we
have not met the solicitation requirements, we know of no prohibition
against accepting unsolicited donations from donors in such states who
approach us with offers to donate.
International donations are gratefully accepted, but we cannot make
any statements concerning tax treatment of donations received from
outside the United States. U.S. laws alone swamp our small staff.
Please check the Project Gutenberg Web pages for current donation
methods and addresses. Donations are accepted in a number of other
ways including checks, online payments and credit card donations.
To donate, please visit: http://pglaf.org/donate
Section 5. General Information About Project Gutenberg-tm electronic
works.
Professor Michael S. Hart is the originator of the Project Gutenberg-tm
concept of a library of electronic works that could be freely shared
with anyone. For thirty years, he produced and distributed Project
Gutenberg-tm eBooks with only a loose network of volunteer support.
Project Gutenberg-tm eBooks are often created from several printed
editions, all of which are confirmed as Public Domain in the U.S.
unless a copyright notice is included. Thus, we do not necessarily
keep eBooks in compliance with any particular paper edition.
Most people start at our Web site which has the main PG search facility:
http://www.gutenberg.org
This Web site includes information about Project Gutenberg-tm,
including how to make donations to the Project Gutenberg Literary
Archive Foundation, how to help produce our new eBooks, and how to
subscribe to our email newsletter to hear about new eBooks.