The Project Gutenberg eBook, Greek Dress, by Ethel Beatrice Abrahams

This eBook is for the use of anyone anywhere in the United States and most other parts of the world at no cost and with almost no restrictions whatsoever. You may copy it, give it away or re-use it under the terms of the Project Gutenberg License included with this eBook or online at www.gutenberg.org. If you are not located in the United States, you'll have to check the laws of the country where you are located before using this ebook.

Title: Greek Dress

A Study of the Costumes Worn in Ancient Greece, from Pre-Hellenic Times to the Hellenistic Age

Author: Ethel Beatrice Abrahams

Release Date: February 5, 2016 [eBook #51128]

Language: English

Character set encoding: UTF-8

***START OF THE PROJECT GUTENBERG EBOOK GREEK DRESS***

 

E-text prepared by deaurider, Ramon Pajares Box,
and the Online Distributed Proofreading Team
(http://www.pgdp.net)
from page images generously made available by
Internet Archive
(https://archive.org)

 

Note: Images of the original pages are available through Internet Archive. See https://archive.org/details/greekdressstudyo00abra

 

Transcriber's note

Table of Contents

List of Illustrations

English Index

Greek Index


 

 

 

Book cover

[p. i]

GREEK DRESS


[p. iii]

GREEK DRESS

A STUDY OF THE COSTUMES WORN IN
ANCIENT GREECE, FROM PRE-HELLENIC
TIMES TO THE HELLENISTIC AGE

BY ETHEL B. ABRAHAMS, M.A.

WITH ILLUSTRATIONS

LONDON
JOHN MURRAY, ALBEMARLE STREET, W.
1908


[p. v]

TO MY FRIEND

ETHEL STRUDWICK


[p. vii]

PREFACE

The object of this book is to give a continuous account of the dress worn by the people inhabiting Greek lands, from the earliest times of which we have any record down to the Hellenistic age. The first chapter stands somewhat apart from the rest, since it deals with the costume of the race which occupied the Ægean shores before the real Hellenic races arrived on the scene, and of which we have abundant remains in Crete and elsewhere within the Ægean area. The remains found at Mycenæ, Tiryns, and other so-called Mycenæan sites, seem to be the last efforts of this dying civilization, which was replaced in the period of invasion and conquest recorded in the Homeric poems. I have been unable to trace any continuous development from the dress of this pre-Hellenic people to that of classic Greece, and the marked difference in the type of costume between the two periods bears out the theory of a difference of race.

I have endeavoured to show that the dress described in the Homeric poems is of the same type as the dress of classic Greece, and of this I have traced the historic development, classifying[p. viii] it into two main divisions, namely, Doric and Ionic. The simple and severe Doric dress contrasts with the more luxurious costume of the Ionian Greeks, although there are many instances, from the fifth century and onwards, in which the two styles are blended. I have noted also the elements which probably came in from Northern Greece; these are chiefly the chlamys and petasos.

The bulk of the following pages constituted a thesis approved for the degree of Master of Arts in the University of London. In revising the work for the press, however, some alterations and additions have been made. The chief of these is the addition of the section on the toilet; the illustrations have been carefully selected from extant monuments.

My sources for the chapter on pre-Hellenic dress have been mainly the finds of Mr A. J. Evans at Knossos, which I had the opportunity of seeing in the Candia Museum; these have been supplemented by the figures found at Petsofa, in Crete, and by various Mycenæan objects, notably rings and gems. The papers published by Mr Evans and Mr J. L. Myres in the British School Annual have been of very great value.

For the chapter on Homeric dress, my chief authority has been the poems themselves; in the absence of contemporary monuments, I have used the François vase to illustrate this section, since the figures upon it seem to tally most closely with the descriptions of dress found in the poems. Of[p. ix] modern literary authorities, the most valuable has been Studniczka’s Beiträge zur Geschichte der Altgriechischen Tracht.

For the dress of the classical period, the evidence from extant art is abundant, and I have based my study chiefly upon it. Sculpture and vase-paintings have furnished the majority of my illustrations. I have noted many references to dress scattered up and down the ancient authors, and a passage from the fifth book of Herodotus has furnished a starting-point for the classification into Doric and Ionic dress.

My theory as to the shape and “cut” of the himation worn by the archaic ladies in the Acropolis Museum at Athens is, I think, a new one; it is based on a very careful examination of the statues, supplemented by some practical experiments in draping a living model.

For the sections on head-dress, materials, and footgear, I have referred to passages in ancient literature, and have used extant remains for illustrations, chiefly vase-paintings; except in the case of materials, for which I have cited the actual fragments of fabric found in Greek tombs at Kertch, in the Crimea.

In describing individual garments, I have in each case suggested dimensions and given diagrams, which, it is hoped, may be of practical use to those who wish to make Greek dresses for themselves.

Throughout the work, in addition to ancient[p. x] authorities, I have consulted the various articles in the current classical dictionaries. These include Pauly-Wissowa’s Real Encyclopädie, Daremberg and Saglio’s Dictionnaire des Antiquités grecques et romaines, Smith’s Dictionary of Greek and Roman Antiquities, Gardner and Jevons’ Manual of Greek Antiquities, and the Companion to Greek Studies. Other works, to which single references have been made, are mentioned in the footnotes.

In addition to written authorities, I have received personal help from several scholars and friends, to whom I should like to express my thanks.

In the first place, I should like to acknowledge my indebtedness to the Reid Trustees of Bedford College, who elected me to a Fellowship in 1905, which enabled me to work for my second degree, and to spend some months in Greece as a student of the British School at Athens.

The suggestion that a thesis on the subject of Greek Dress might be of some value beyond getting me a degree, was due to Mr A. B. Cook, of Cambridge, under whom I had already worked for three years at Bedford College, and whose constant readiness to stimulate my leanings towards Archæology encouraged me to continue my studies in that direction. Mr Cook very kindly read this work in manuscript for me, and gave me the benefit of his criticisms. I owe a very great deal, also, to Professor Ernest Gardner, of University College, London, whose M.A. courses I attended regularly[p. xi] for two years, and from whom I constantly received help and guidance.

While in Athens, I devoted my attention chiefly to the dress of the archaic statues in the Acropolis Museum, and had the opportunity of discussing this subject with Mr R. C. Bosanquet, then director of the British School. I must also thank Herr Fritz Röhrig, the German sculptor, who placed his studio in Athens at my disposal, and procured a model for me, for the purpose of making my first experiments in reproducing the archaic style of draping the himation.

Special acknowledgments are due to Mr A. J. Evans, Mr J. L. Myres, and the Committee of the British School at Athens, for their courtesy in allowing me to reproduce subjects published by them in the British School Annual; to the Trustees of the British Museum, for permission to secure photographs of objects in the Museum for publication; to Mr Cecil Smith, for giving me free access to the library of the Department of Antiquities; and, particularly, to Mr H. B. Walters, who went through the illustrations with me, and greatly facilitated the task of securing suitable ones.

Lastly, my grateful thanks are due to Mr John Murray, for undertaking to publish the book, and to Mr A. H. Hallam Murray, for his constant courtesy and assistance during the progress of the work of publication.

E. B. A.

July 1908.


[p. xiii]

CONTENTS

PAGE
I. Introduction—Pre-Hellenic 1
II. Homeric 15
III. Doric 39
IV. Ionic 57
V. The Maidens of the Acropolis—The Development of the Ionic Himation 73
VI. Materials and Ornamentation 97
VII. Hair and Head-dress 107
VIII. Footgear 115
IX. The Toilet—Conclusion 120
  English Index 129
  Greek Index 133

[p. xv]

LIST OF ILLUSTRATIONS

PAGE
Fig.  1.—Cupbearer of Knossos face 6
Figs. 2 and 3.—Snake Goddess and Votary 11
Fig.  4.—Fresco of a Dancing Girl 12
Fig.  5.—Statuette from Petsofa 12
Fig.  6.—Studniczka’s Diagram   18
Fig.  7.—(a) Vase—British Museum, (b and c) Vase-paintings by Klitias and Ergotimos, Florence face 26
Fig.  8.—From the François Vase 30
Fig.  9.—Diagram of the Doric Peplos   43
Fig. 10.—Metope from the Temple of Zeus, at Olympia face 44
Fig. 11.—Bronze Statue from Herculaneum, Naples 45
Fig. 12.—Vase-painting—British Museum 46
Fig. 13.—Vase-painting in the Polygnotan Style—Louvre 47
Fig. 14.—Vase-painting by Hieron—British Museum 49
Fig. 15.—Terra-cotta Statuette—British Museum 49
Fig. 16.—Vase-painting by Euxitheos—British Museum 50
Fig. 17.—Vase-painting by Falerii—Rome, Villa Giulia 50
Fig. 18.—Athena of Velletri 51
Fig. 19.—Bronze Statuette—British Museum 53
Fig. 20.—Vase-painting—British Museum 54
Fig. 21.—The Doric Himation 54
Fig. 22.—Vase-painting by Euphronios—Munich 55
Fig. 23.—The Chlamys and Petasos 55
Fig. 24.—Diagram of the Chlamys   55
Fig. 25.—Vase-painting from Lucania—British Museum face 61
Fig. 26.—Diagram of the Ionic Chiton   61
Fig. 27.—The Delphi Charioteer face 62
Fig. 28.—Vase-painting—Munich 63
Fig. 29.—Vase-painting by Brygos—British Museum 66
[p. xvi]Fig. 30.—Diagram of the Sleeved Chiton with Overfold   66
Fig. 31.—Archaic Statue—Athens, Acropolis Museum face 75
Fig. 32.—Archaic Statue—Athens, Acropolis Museum 78
Fig. 33.—Diagram of the Archaic Ionic Himation   90
Fig. 34.—Drapery in the Style of the Archaic Statues in the Acropolis Museum, Athens face 91
Fig. 35.—Vase-painting—British Museum 93
Fig. 36.—Vase-painting—Ionic Dress 94
Fig. 37.—The Artemis of Gabii—Louvre 95
Fig. 38.—Vase-painting—Dress with two Overfolds 96
Fig. 39.—Fragments of a Sarcophagus Cover from Kertch 103
Fig. 40.—Embroidered Fragment from Kertch 105
Fig. 41.—(a and b) Fragments of a Sarcophagus Cover from Kertch. (c) Embroidered Fragment from Kertch 106
Fig. 42.—Men’s Head-dress—Archaic 108
Fig. 43.—(a) Head of Apollo from the Temple of Zeus, at Olympia. (b) Head of an Athlete—Athens Acropolis Museum 110
Fig. 44.—Archaic form of Petasos   111
Fig. 45.—Women’s Head-dress face 112
Fig. 46.—Sandals and Shoes 116
Fig. 47.—Boot   118
Fig. 48.—(a) A Bronze in the British Museum. (b) Foot of the Hermes of Praxiteles (from a cast in the British Museum). (c) A Terra-cotta Flask in the British Museum face 118
Fig. 49.—Sandals   119
Fig. 50.—Diagram of an Aryballos   121
Fig. 51.—Diagram of a Lekythos   121
Fig. 52.—(a) A Pyxis in the British Museum. (b) A Toilet-box in the British Museum face 122
Fig. 53.—(a) Bronze Box Mirror—British Museum. (b) Bronze Stand Mirror—British Museum face 124
Fig. 54.—Diagram of an Alabastron   125

[p. 1]

GREEK DRESS

I
INTRODUCTION
PRE-HELLENIC

In seeking to conjure up a vivid picture of the life of an ancient people, it is the task of the archæologist to neglect no point that can in any way throw light on the manners and customs which that people practised from day to day, both in the exercise of their public duties and in the privacy of their own homes.

Just as the habits and dress of an individual frequently give a true impression of his character and type of mind, so the salient characteristics of a nation are reflected in the external details of their manners and their costume. In making a careful study of the Greeks, therefore, whose innate feeling for beauty was part of their very being, and whose sense of the fitness of things rarely if ever played them false, we shall expect to find our efforts amply repaid, both by the satisfaction given to the æsthetic sense and by the knowledge we[p. 2] shall have gained of the development of the national character. The study of costume has, moreover, an ethnological significance which in itself justifies a detailed investigation of the subject.

Professor Ridgeway, in The Early Age of Greece, has pointed out that the civilization reflected in the Homeric poems differs in many essential points from that which is revealed by the monuments found at Mycenæan sites on the mainland of Greece and in the Ægean islands. Confirmation has since been added to his convincing arguments by the discoveries of Mr Arthur Evans in Crete, which prove that the so-called Mycenæan remains were but the last efforts of a dying civilization which stretched back at least as far as the third millennium before our era. The culture revealed by the excavations at Knossos and other sites in Crete presents a striking contrast to that of the Greeks of the classic period; whereas the state of society described in the Homeric poems seems to contain analogies with both periods.

The palace of Alcinous and the house of Odysseus, as described in the Odyssey, correspond in plan to the palace of Mycenæ excavated by the Greek Archæological Society in 1886, which undoubtedly belongs to the older stratum of civilization;[1] on the other hand, the methods of dis[p. 3]posing of the dead, and the underlying principles of costume, are utterly different in the two cases. The Homeric heroes burn their dead, whereas the remains found in Mycenæan graves prove that in the state of society to which they belong burial was the common method of disposing of the dead. The difference in costume is equally striking; the women’s dress, illustrated by the Mycenæan gems and the wall-paintings and faïence statuettes from Knossos, consists of elaborately made garments, with tight jackets fitting closely to the figures at the waist, and full and frequently flounced skirts; there is no indication of fastening by means of brooches or fibulæ. In Homer the brooch is almost invariably mentioned as an essential detail of female costume, and the garments described are of a simple character, and such that they can be spread out and used for other purposes. For example, Aphrodite, when protecting Æneas from his assailants, shields him from their weapons by drawing a fold of her peplos over him (Iliad, v., 315); and again, at the funeral rites of Hector, the body is covered, πορφυρέοις πέπλοισι μαλακοῖσιν (Iliad, xxiv., 796), “with soft purple robes.”

The contrast between the forms of dress represented in Mycenæan art and in the Homeric poems can only be explained by supposing that there is a difference in race between the two peoples, and that the older civilization was almost entirely swept away by a great series of invasions carried out by men of a different race. The[p. 4] Homeric dress is closely akin to that of the Greeks of the classic period, whereas that represented on Mycenæan rings and gems belongs, as will be shown later, to the stratum of civilization revealed by the Cretan excavations.[2] We must suppose, then, that the Homeric heroes belonged to the invading race, which was full of youthful vigour and succeeded in superimposing its manners and customs upon those of the older, decadent society, and in finally ousting the older inhabitants from their homes altogether. The process was one which must have lasted over some centuries, and it is probable that the Homeric poems were composed whilst it was still incomplete, and that the siege of Troy represents one incident in the long wars which were waged between the two peoples. This view accounts for the fact that the Homeric house belongs to the older civilization, while the costume is that of the later. The invaders, having conquered or driven out the inhabitants, finding their houses strongly built and luxuriously decorated, would refrain from destroying them and settle themselves peacefully and comfortably there, naturally retaining their own style of dress and customs of disposing of their dead. Any new houses built after their settlement would be constructed after their own plans, and so the Homeric house would gradually give place to the Hellenic. The absence of brooches and fibulæ from the graves on the Acropolis of Mycenæ, and their presence in[p. 5] those of the lower city, adds confirmation to this theory. The Acropolis graves are earlier than the others, which in all probability belong to the time when the invaders had already imposed some of their characteristic customs upon their predecessors at Mycenæ and elsewhere in Greece. The use of the fibula is common to the early peoples of Central Europe, from which region it must have been introduced by the Achæan invaders into Greece.[3]

The earliest remains found on Greek soil are those which have been unearthed by Mr A. J. Evans, in his series of excavations at Knossos, in Crete. They represent earlier stages of that civilization which has hitherto been known as Mycenæan. The costume revealed by the art of this pre-Hellenic age forms a study in itself, since it presents a striking contrast to that of the classic period in Greece, and also to that of contemporary Asiatic peoples. The costume of the men is simple; when not entirely nude, they wear sometimes a waist-cloth rolled round a girdle, with a loose end hanging down like an apron in front;[4] in a lead statuette of the same period found near Abbia, in Laconia, the waist-cloth appears to take the form of a triangular piece of material wrapped round the girdle, the apex of the triangle being drawn up between the legs and tucked into the[p. 6] belt in front. In some terra-cotta figurines from Petsofa,[5] a third garment appears, consisting of a rectangular piece of material with the long side tucked into the belt all round and the short sides hanging down perpendicularly in front. In the later Mycenæan period, the garment takes the form of short breeches reaching half-way down the thigh. These are probably a development from the earlier waist-cloth.[6]

Illustration: Cupbearer of Knossos

Fig. 1.—Cupbearer of Knossos.

[Face page 6.

In most cases the upper part of the body appears to be quite bare, but in some instances a line is drawn at the neck and wrists which may indicate the edges of a close-fitting, long-sleeved tunic. It is more probable, however, that these lines are meant to represent a necklace and bracelets, such as have been found in considerable numbers in Mycenæan graves. On a siege scene represented on a fragment of a silver vase from Mycenæ,[7] the majority of the fighting warriors are represented quite nude; but in one case (at the lower right-hand corner) a tunic and head-dress are worn; but in this instance the tunic has sleeves reaching only half-way to the elbow, as is also the case with the inhabitants, who are watching the progress of the battle from behind the city wall; two figures, which appear to be just leaving the city, wear square cloaks fastened on the right shoulder and leaving both arms free; they do not appear to[p. 7] be fighting, and probably represent heralds about to make some proposal to the enemy. The covering here described as a cloak has been regarded as representing an oblong shield (ἠΰτε πύργος); but in view of the fact that the men carry no weapons and that both arms are exposed, it seems more reasonable to suppose that a mantle is intended. The warriors in front are fighting without protection; and if any shield were represented, we should expect it to be of the usual Mycenæan shape, which appears as a decoration on the upper left-hand corner of the fragment. A fragment of a wall-painting from Mycenæ represents a warrior wearing a short-sleeved tunic and having a double bracelet at the wrist; it appears, then, that when the pre-Hellenic man wore a tunic, it was not furnished with long sleeves, and even when his clothing was of the scantiest possible nature, he was not far enough removed from primitive barbarism to prevent his adorning his person with bracelet and necklace.

The indication of some kind of footgear is frequent: it is represented on the Vaphio cups; and on a wall-painting from Tiryns depicting the capture of a bull, it takes the form of pointed shoes turned up at the toes and fastened by a series of bands above the ankles. Such pointed shoes were common to the Assyrians and the Hittites, and are worn to this day by Greeks and Turks, and frequently also in other rocky countries.[8]

In the wall-painting from Tiryns, and on a[p. 8] Mycenæan intaglio (Perrot and Chipiez, VI., 426. 21), a number of bands is indicated just below the knee. Possibly the boots were fastened by leather laces crossed round the legs and then passed two or three times round under the knees. At present these bands have only been found in cases where the wearer is engaged in some violent occupation, such as the bull-taming scene; it has been suggested that they represent a leather thong wound round the knees to act as a protection; on stony ground some such guard would be necessary.

The head-dress, of conical shape, finished by a button or flattened knob on the top, represents a helmet, made sometimes probably of metal, as was the case in Assyria, but in some cases certainly of felt or leather, covered with rows of overlapping boar’s tusks, turned alternately in opposite directions. A large number of boar’s tusks were found by Dr Schliemann[9] at Mycenæ, flattened on one side and with several holes in them, which obviously served to fasten them to some object; such a helmet is to be seen in an ivory fragment from Mycenæ,[10] and would exactly correspond to that described in Iliad, X., 261.

ἀμφὶ δ᾽ οἱ κυνέην κεφαλῆφιν ἔθηκεν

ῥινοῦ ποιητήν· πολέσιν δ᾽ ἔντοσθεν ἱμᾶσιν

ἐντέτατο στερεῶς, ἔκτοσθε δὲ λευκοὶ ὄδοντες

ἀργιοδόντος ὑὸς. Θαμέες ἔχον ἔνθα καὶ ἔνθα

εὖ καὶ ἐπισταμένως.

[p. 9]“And about his head he set a helmet made of leather; and inside it was stiffly wrought with many thongs, and outside the white teeth of a boar with shining tusks were set close together, this way and that, well and cunningly arranged.”

In some cases the helmet presents a strikingly Egyptian appearance, and may quite possibly have been derived from Egypt; evidence of direct intercourse between the Cretans and Egyptians is not wanting; indeed the clearest representation of the costume of the pre-Hellenic inhabitants of the Ægean shores is to be found on an Egyptian tomb fresco,[11] where the Kefts are depicted bringing vases as tribute to the Egyptian monarch, their costume is identical with that of the cupbearer from the Knossian fresco, and they are carrying vessels of the same shapes as many which have been found in Crete and on other Mycenæan sites. It has been pointed out by Mr H. R. Hall[12] that the Keftiu were the people of the Ægean islands, including Crete, and that sometimes the name was applied exclusively to the Cretans. The Keftiu were formerly mistaken for Phœnicians; but their whole appearance and costume on the Egyptian fresco is utterly unlike anything Phœnician; so we are quite justified in considering that they represent the Cretans faithfully as they appeared to the Egyptians, especially in view of their similarity to the cup[p. 10]bearer of the fresco at Knossos, a native product of Cretan art.

A striking analogy to the pre-Hellenic male costume is to be observed in the Etruscan wall-paintings from the tombs at Corneto, now in the British Museum. The waist-cloth, shoes, and head-dress are there represented in a form almost identical with that found in Mycenæan art. So little is known of the origin of the Etruscans, that it is difficult to say whether this similarity of dress indicates any racial connection between the two peoples; it is interesting to note that among ancient authorities Hellanicus of Lesbos states that the Etruscans were of Pelasgian origin, and modern writers have claimed a Pelasgian origin for the Cretans; there is not sufficient evidence forthcoming at present to determine whether they are right or wrong; but in any case, it is not improbable that both the Etruscans and the Cretans were branches of a common civilization, which spread itself all round the shores of the Mediterranean Sea in pre-Hellenic times, and that the Etruscans maintained some of their early characteristics down to a later date than other peoples of the same race.[13]

Turning to the female costume of the pre-Hellenic age, we find we have something far more complicated to deal with. The same style of dress is found on the early faïence figures from Knossos[p. 11] and Petsofa, and extends right on until quite late Mycenæan times.

Illustration: Snake Goddess and Votary

Figs. 2 and 3.—Snake Goddess and Votary. (British School Annual, IX., figs. 54 and 56.)

[Face page 11.

It consists of a short-sleeved jacket, fitting closely to the figure, and a full skirt, standing out round the feet in a manner suggestive of the hoops of the early Victorian age. The juncture of the two garments is hidden by a thick double girdle worn round the waist, which is pinched into the smallest possible compass.

The snake goddess and her votary[14] from Knossos have, in addition, a kind of apron reaching almost to the knees in front and behind, and rising to the hips at the sides. The costume is completed by the addition of a high hat or turban.

Looking at the snake goddess more in detail, we find that the jacket is cut away into a V-shape from the neck to the waist, leaving both the breasts quite bare; the two edges are laced across below the breast, the laces being fastened in a series of bows. The jacket is covered with an elaborate volute pattern, the apron with spots and bordered with a “guilloche.” The horizontal lines on the skirt probably represent stripes in the material, the edge being ornamented with a reticulated band. The girdle of the goddess is composed of two snakes intertwined. The head-dress here consists of a high turban, probably made of cloth or linen wound round some kind of framework. The principle of the costume is always the same, though the fashions vary considerably in detail: for example, the skirt of[p. 12] the votary is composed of a series of seven flounces, one above the other, the lower edge in each case just covering the upper edge of the flounce below, the whole being probably sewn on to a foundation. On a fresco[15] representing a lady dancing, the skirt seems to consist of three such flounces. On the same figure the breast is not left bare, but a chemisette seems to be worn under the jacket, possibly made of some fine linen material, the edge of which is distinctly indicated at the neck. In one of the statuettes from Petsofa[16] the jacket terminates at the back in a high “Medici” collar, and in another fresco, from Knossos, a high sash appears on the back, the loop reaching to the nape of the neck, and the fringed edge hanging down to the waist; at first sight this sash recalls the Japanese “Obi.”[17] The millinery of the Cretan ladies, as illustrated by the terra-cotta fragments from Petsofa, exhibits an abundant variety of styles. The hat seems to have consisted of a flat, circular, or oval piece of material pinched up into any shape to suit the taste of the wearer; sometimes it is fastened down towards the nape of the neck, and curves round the head, rising high up in front over the face; in one case[18] the brim has a wavy edge and is trimmed with rosettes underneath; frequently it is[p. 13] done up into a large “toque” shape, narrowing to a point in front; this form occurs also on late Mycenæan terra-cottas.

Illustration: Fresco of a Dancing Girl

Fig. 4.—Fresco of a Dancing Girl.

[Face page 12.

Illustration: Statuette from Petsofa

Fig. 5.—Statuette from Petsofa.

[Face page 12.

On none of the examples of costume quoted above is there any indication of fastening; the garments are obviously constructed by an elaborate system of sewing, but the means by which they were held in place on the figure is not represented, except in the case of the bodices of the goddess and her votary, which are laced across by cords. The use of fibulæ is nowhere indicated in art; and no fibulæ have been found, except in the later Mycenæan graves, which in all probability belong to the Achæan civilization introduced into Greece by the invasions from Central Europe.[19] A fragmentary hand from Petsofa has a bracelet represented in white paint, which is clearly fastened by means of a button and loop; since this method of fastening was known to the Cretans, it is probable that the ladies’ skirts were fastened at the waist by buttons and loops, the fastening being concealed by the belt, as is the case with the modern blouse and skirt costume.

It has been pointed out by Mr J. L. Myres[20] that this jacket and apron type of dress is commonly worn at the present day by the peasants of the mountainous districts of Europe, chiefly in Italy, Switzerland, the Tyrol, Norway, and the Pyrenees. In Norway and Switzerland, moreover, we find the[p. 14] addition of a fan-like head-dress analogous to that represented in Minoan art. The appearance of the same kind of costume in Crete in the third millennium before our era merely serves to show that the type of dress need not necessarily be a modern development, but may possibly claim greater antiquity than has hitherto been supposed. The question of survival in the Ægean is interesting; as late as Tournefort’s[21] time, the inhabitants of some of the islands—for example, Mycone—appear to have worn a dress composed of a tight jacket and flounced skirt, with the addition of some Turkish elements; in the remoter islands there is a possibility—but it is little more than a possibility—that this may be a case of survival; in any case, the type seems to have disappeared in the eighteenth or early nineteenth century.[22]


[p. 15]

II
HOMERIC

Turning to the various passages in the Homeric poems which refer to dress, we find that there is very little likelihood that they can be intended to describe the kind of costume dealt with above under the name of “Pre-Hellenic Dress.” The words used, and the accounts of the process of dressing, have no meaning, unless we suppose them to refer to the draped type of costume as opposed both to the close-fitting jacket type and to the dressing-gown type, consisting of a loose-sleeved garment opening down the front. The question of the kind of dress actually worn by the Trojan and Achæan heroes is not one to be entered into here; possibly it may have been the same as that reflected in the art of the Minoan and Mycenæan peoples; indeed, if the Trojans represent the older race which inhabited the shores of the Ægean, and the Achæans the invaders who came down upon them from the north, there is every probability that the former wore the pre-Hellenic dress, and the latter introduced the new Hellenic draped type. The use of the epithets βαθύκολπος and βαθύζωνος,[p. 16] “deep-bosomed” and “deep-girdled,” in the Homeric poems perhaps has some bearing on this point. Referring respectively to the deep hollow between the breasts and to the girdle cutting deep into the figure, they might well be applied to the wasp-waisted ladies of Knossos. It is significant to notice that βαθύκολπος is used only of Trojan women,[23] βαθύζωνος only of barbarian captives;[24] possibly the poet may be unconsciously referring to the difference between the dress of the older race and that of their Achæan conquerors.

However that may be, in most cases Homer ascribes the same kind of costume to Achæans and Trojans alike; he is singing of deeds that happened many years, perhaps even two or three centuries, before his day, and being no archæologist, he imagines his heroes to have dressed as his own contemporaries did; he is acting no differently from the Italian masters, who painted their Madonnas in mediæval costume.

We find in Homer many differences in the nomenclature used when speaking of men’s and women’s dresses respectively. The words χιτών and χλαῖνα are applied exclusively to men’s costume, πέπλος and κρήδεμνον exclusively to women’s, whereas the word φᾶρος is the only one used indifferently for either; both men and women alike fasten their garments with brooches or pins of some kind (περόνη, ἐνετή) and with girdles (ζώνη, ζωστήρ). Many of the words applied to articles of wearing-apparel[p. 17] are also used to signify coverings for beds, seats, etc.: such are χλαῖνα, ῥήγεα, πέπλος, φᾶρος; the last is used also of sails and of the shroud of Laertes.[25] This being the case, we must infer that they were not made-up garments, but large square or oblong pieces of material which could be used for other purposes besides clothing; the Homeric dress, therefore, must belong to the draped type rather than to any other.

The men’s dress in Homer regularly consists of two pieces—the χιτών, or under-garment, and a cloak called variously χλαῖνα, φᾶρος, or, in one case, λώπη.[26] Warriors sometimes wore a skin instead of the mantle. For example, in Iliad, x., 22, Agamemnon is described as putting on a lion’s skin, and a few lines further on Menelaus appears wearing a dappled leopard’s skin.

The description of the process of dressing in the Iliad is simple and straightforward. Agamemnon[27] awakes in the morning, and prepares to meet the assembly of the Achæans:

ἕζετο δ᾽ ὀρθωθεὶς μαλακὸν δ᾽ ἔνδυνε χιτῶνα

καλὸν νηγατέον, περὶ δὲ μέγα βάλλετο φᾶρος·

πόσσι δ᾽ ὑπὸ λιταροῖσιν ἐδῆσατο καλὰ πέδιλα,

ἀμφὶ δ᾽ ἄρ᾽ ὤμοισιν βάλετο ξίφος ἀργυρόηλον.

“He sat upright and drew on his soft tunic, fair and new, and threw around him his great cloak: and beneath his shining feet he bound fair sandals, and around his shoulders he slung his silver-studded sword.”

[p. 18]

Illustration: Studniczka’s Diagram

Fig. 6. Studniczka’s Diagram.
The dotted lines mark the seams, the spaces A B, C D, E F being left open for arms and head respectively.

The χιτών was apparently, then, a garment which could be drawn on (ἔνδυνε) while in a sitting position. No mention is made, either in this or other similar passages, of pins or girdle to fasten the χιτών, so we may infer that it was a rather narrow garment sewn up at the two sides, with openings left for the head and arms.

Studniczka[28] gives a diagram of such a garment, which he describes as a sack left open at the bottom, with openings in the top and side-seams for head and arms.

The words ἐνδύνω, ἐκδύνω, are commonly used for “to put on” and “to take off” a χιτών, which seems to imply that the garment was drawn over the head; although occasionally περί is used with the simple verb δύνω instead of the compound ἐνδύνω.[29] In no case is there any mention of pins or brooches in connection with the χιτών, so we are justified in inferring that it was a sewn garment; and in Odyssey, xxiv., 227, the χιτών of Laertes is actually described as sewn:

ῥυπόωντα δὲ ἕστο χιτῶνα

ῥαπτὸν ἀεικέλιον.

“He wore a sewn tunic, dirty and unseemly.”

[p. 19]

As a rule, the χιτών was worn ungirdled, except when the wearer was engaged in vigorous action, when he is usually described as girding himself for the purpose. For example, in the Odyssey,[30] when Eumæus is going to slay pigs, he prepares himself by confining his χιτών with a girdle:

ὣς εἰπὼν ζωστῆρι θοῶς συνέεργε χιτῶνα.

Little mention is made in the Homeric poems of the length of the χιτών, but the distinguishing epithet of the Ionians is ἑλκεχίτωνες—with trailing chitons—so that trailing garments were evidently customary only among the Ionians; warriors while fighting and slaves occupied in active work would probably wear very short garments reaching only to the thigh, as they are to be seen on the earliest vase-paintings. The princes and elders of the people, engaged in peaceful pursuits, in all probability wore them reaching to the ankles. The word τερμίοεις, applied to the χιτών in Odyssey, xix., 242, is usually taken to mean “reaching to the feet,” and to be equivalent to ποδήρης, used by later writers.

With regard to the material of which the χιτών was made, the word itself is connected with a Semitic root signifying linen;[31] and from the various epithets applied to it in Homer, it is reasonable to infer that the garment was ordinarily made of that material. It is described as σιγαλόεις, “shining” or “glossy”; and although[p. 20] this particular epithet need mean no more than “dazzlingly clean,” its comparison for softness and brightness with the skin of an onion[32] would hardly be very apt, if it were made of a stuff that did not present a very smooth surface; a hand-woven woollen material might possibly be called μαλακός, “soft,” but could hardly be described as shining like the sun. Two passages in Homer show clearly that oil was used in the weaving of linen, which would have the effect of producing a shiny appearance. The maidens in the palace of Alcinous are described as weaving linen from which the oil runs off:

καιρουσσέων δ᾽ ὀθονέων ἀπολείβεται ὑγρὸν ἔλαιον.

[Odyssey, vii., 107.]

“And from the close-woven linen the liquid oil runs off,” and in Iliad, 596, the youths in the dancing place on the shield of Achilles are described as wearing χιτῶνας ἐϋννήτους, ἦκα στίλβοντας ἐλαίῳ, “well spun, shining softly with oil.”

The epithet στρέπτος applied to the χιτών[33] requires comment; it was taken by Aristarchus, the grammarian, to mean a coat of chain mail. There is no evidence to show that such a piece of defensive armour was known to the early Greeks, and we find[p. 21] no reference to it until Roman times; there is, therefore, no justification for the inference that στρέπτος χιτών in Homer means a coat of mail.

The word στρέπτος means primarily “twisted,” and could be applied to a coarse kind of linen whose texture showed very clearly the separate threads of which it was woven; but other uses of the word in Homer, and the second of the two passages in which it is applied to a χιτών, suggest a different interpretation. In Odyssey, ii., 426, in the description of the rigging of a ship, the expression εὐστρέπτοισι βοεῦσιν occurs. The adjective here can very well retain its simple meaning—“well-twisted”; the noun can mean nothing else but “ropes of ox-hide”—that is to say, the whole expression will signify ropes made of well-twisted thongs of leather.

The passage referred to in the Iliad runs as follows:—

δῆσε δ᾽ ὀπίσσω χεῖρας εὐτμήτοισιν ἱμᾶσι

τοὺς αὐτοὶ φορέεσκον ἐπὶ στρεπτοῖσι χιτῶσι.

[Iliad, xxi., 30.]

The subject is the sacrifice of the twelve boys at the funeral of Patroclus.

Achilles bound their hands behind them with the well-cut thongs which they wore on their twisted chitons. The word ἱμᾶσι implies leather, and the only kind of chiton which would be likely to have leather thongs attached to it would be a jerkin made of leather, perhaps plaited in some way and fastened by means of leather laces. Such a[p. 22] garment might be worn in war under a metal breast-plate, or if very stoutly made might even serve as defensive armour, without the addition of any corslet; in any case, it would afford more protection than an ordinary linen chiton such as was worn by those engaged in the pursuits of peace.

Another garment worn by men is the ζῶμα, which appears at first sight to mean simply a girdle, but in one or two passages signifies something more. The word is obviously connected with the verb ζώννυμι, “to gird on,” and means a “thing girt on.” The word might well apply to a girdle, but it might also be used of anything put on round the waist, and so of a waist-cloth; there can be little doubt that it has this meaning in Iliad, xxiii., 683, where a description is being given of the preparations for a boxing match; and a few lines further on the participle ζωσαμένω, applied to the wrestlers, in all probability means putting on their waist-cloths. In other passages where the word occurs, its meaning is less obvious, although here too there is nothing to render the same interpretation impossible. In Iliad, iv., 186, a weapon is described as not inflicting a mortal wound:

εἰρύσατο ζωστήρ τε παναίολος ἠδ᾽ ὑπένερθεν

ζῶμά τε καὶ μίτρη, τὴν χαλκῆες κάμον ἄνδρες.

“But the shining belt checked it, and the waist-cloth beneath, and the kirtle which the coppersmiths fashioned.”

[p. 23]

Here the ζωστήρ and the μίτρη are obviously pieces of armour, and the ζῶμα is a garment worn under the ζωστήρ, and can very well bear the meaning of a waist-cloth. Such garments were worn at all periods; they formed the regular dress of the men of the pre-Hellenic age; they occur also on vases of the classical period.[34] There is no necessity, therefore, to suppose, as Studniczka does, that the word here is synonymous with χιτών. Studniczka supports his interpretation of this passage by another, Odyssey, xiv., 478 f., where Eumæus is describing to Odysseus an occasion when he and comrades had to sleep in the open air, and he felt the cold because he had foolishly left his cloak behind him, and had only his shield and ζῶμα φαεινόν. The expression could here maintain its signification of “waist-cloth”; only, the simple meaning is obscured by a phrase some five lines further on, when Eumæus continues:

οὐ γὰρ ἔχω χλαῖναν· παρὰ μ᾽ ἤπαφε δαίμων

οἰοχίτων᾽ ἔμεναι.

“I had no cloak: some god beguiled me to go with only a single garment.”

The simple meaning of οἰοχίτων is, “wearing only a chiton,” or under-garment; but without stretching the meaning of the expression very far, we can easily suppose its being applied to a man clad only in a waist-cloth; so that even here it is not necessary to suppose that ζῶμα is another word for χιτών.

[p. 24]

We must next consider the over-garment worn by the Homeric heroes, for which several words are used, the most common being χλαῖνα and φᾶρος.

The χλαῖνα was used not only as an article of dress, but also as a blanket to sleep under;[35] as a rug to cover couches and seats;[36] a constant epithet is οὔλη, so that its material was evidently woollen; and the adjectives ἀλεξάνεμος and ἀνεμοσκεπής, “warding off winds,” show that it was worn for warmth, as a protection against cold winds.[37] It was thrown off for exercise or when speed in running was required.[38] The style in which the χλαῖνα was worn varied somewhat; the verbs regularly used for the act of putting it on are ἀμφιβάλλω and ἀμφιέννυμι, “to throw round”; περιβάλλω also occurs, and sometimes it is described as being placed ἐπ᾽ ὤμοισι, “upon the shoulders”; for taking it off, ἀποβάλλω and ἀποτίθημι are used, and in one case ἐκδύνω occurs, though this word should more correctly be applied to the χιτών. The constant use of ἀμφί, “around,” shows that the χλαῖνα was not a garment which was drawn on over the head, like the χιτών, but was a square or rectangular piece of material wrapped round the figure or laid over the shoulders. We read in Homer of the χλαῖνα ἁπλοΐς, “single cloak,” and the χλαῖνα διπλῆ, “double cloak”; the former expression must mean a cloak worn single, without being folded over; such a garment might possibly be put on as the himation was in later time, one end[p. 25] being laid on the shoulder, so that the mass of the material hung down towards the back; this mass of material would then be drawn across the back under the arm which was then left exposed, and across the chest, and the end would be thrown over the shoulder towards the back. The garment could easily be drawn up so as to cover both arms if the temperature required greater warmth, or it might be worn over both shoulders like a shawl, without being doubled, and the frequent mention of the shoulders in connection with the χλαῖνα seem to point to this style as the most common.[39] The χλαῖνα διπλῆ is mentioned twice in Homer—once in the Iliad and once in the Odyssey; in both cases it is described as being fastened with a brooch:

ἀμφὶ δ᾽ ἄρα χλαῖναν περονήσατο φοινικόεσσαν

διπλῆν ἐκταδίην.

[Iliad, x., 133.]

“And about him he fastened a purple cloak, doubled, with no folds.”

χλαῖναν πορφυρέην οὐλὴν ἔχε δῖος Ὀδυσσεύς,

διπλῆν· αὐτὰρ οἱ περόνη χρυσοῖο τέτυκτο

αὐλοῖσιν διδύμοισι.

[Odyssey, xix., 225.]

“Goodly Odysseus had a purple cloak, woollen and doubled; and it had a brooch wrought of gold, with a double groove for the pins.”

In these cases the χλαῖνα was obviously folded over double, though in what way is not expressly stated; if the garment consisted of a wide rect[p. 26]angular piece of material, it might be doubled along its length horizontally and fastened with a brooch on one shoulder, like Apollo’s himation in the Thasos relief.[40] This method, however, is not found on the earliest vases, which, though not contemporary with Homer, are yet the nearest monumental evidence obtainable; moreover, the additional expression, ἐκταδίην, seems to be against this interpretation; the meaning of ἐκταδίην seems to be “stretched out straight,” and the word could hardly be applied to a garment draped in such a way as to fall in many folds; it is reasonable, therefore, to suppose that the χλαῖνα διπλῆ consisted of a large square[41] of woollen material folded along the diagonal, so that two opposite corners lay on each other; it would be laid on the shoulders so that these two corners hung down in the middle of the back, no folds being formed (ἐκταδίην), and the other two points hung down one on each side of the front; a brooch would prevent the cloak from slipping off the shoulders; this shawl-like method of wearing the mantle is frequently represented on the black figured vases.[42] The δίπτυχον λώπην, “double cloak,” which Athena wears, ἀμφ᾽ ὤμοισι, when disguised as a shepherd,[43] is probably a garment worn in this same fashion,[p. 27] and the δίπλακες which Helen and Andromache are described as weaving in the Iliad[44] are perhaps intended for cloaks to be so worn.

Illustration: (a) Vase—British Museum. (b and c)
            Vase-paintings by Klitias and Ergotimos, Florence

Fig. 7.—(a) Vase—British Museum. (b and c) Vase-paintings by Klitias and Ergotimos, Florence.
[Furtwängler and Reichhold, Griechische Vasenmalerei, I and II.]

[Face page 26.

The place of the χλαῖνα is frequently taken by the φᾶρος, constant epithets of which are καλὸν and μέγα, “fine” and “large,” so that we may conclude that the φᾶρος was an ample and somewhat luxurious garment. The word is used not only for an article of wearing apparel, but also for the shroud of Laertes,[45] and for the sails of a ship,[46] so that Studniczka’s conjecture that it was made of linen is probably right, and the difference of material probably constitutes the chief distinction between the φᾶρος and the χλαῖνα. The φᾶρος is several times described as “white” and “well-washed,” and the epithets ἀργυφεόν, λέπτον, χαρίεν, “silvery,” “fine,” and “graceful,” which are used of the φᾶρος of Calypso, are more applicable to a linen than to a woollen garment. Φᾶρος is the only word used in Homer for the dress of both men and women. When worn by men, the φᾶρος was in all probability draped in the same fashion as the χλαῖνα, but the woman’s φᾶρος would be draped differently, as will be shown later.

The χλαῖνα and the φᾶρος were not worn in battle, since they would encumber the wearer too much; armour was put on over the chiton, or in some cases warriors wore the skin of some wild beast slain in combat; we hear, for example, of[p. 28] Agamemnon wearing a lion’s skin,[47] and of Menelaus and Paris wearing leopards’ skins.[48] A man’s costume was completed by sandals, πέδιλα, which we are told were made of leather;[49] no mention is made of any head-covering worn in the pursuit of peaceful occupations; if any protection were needed, a fold of the mantle might easily be drawn up over the head; in battle, of course, some kind of helmet was worn, which was made usually of bronze, or sometimes of hide,[50] covered with boars’ tusks, such as have been found at Mycenæ.

The women’s dress in Homer consists of two garments, the πέπλος and the κρήδεμνον or καλύπτρη, called also in one case the κάλυμμα;[51] the word ἑανός which is used sometimes as a substantive instead of πέπλος, sometimes as an adjective, simply means “something to be worn.”

The principal garment of the women was the πέπλος. The derivation of the word is uncertain; it is probably connected with some root meaning to cover or wrap; the word is used in the Iliad to signify things other than dress; for the covering of a chariot[52] and for the wrappings of the vessel which held the ashes of Hector;[53] the πέπλος, therefore, like the χλαῖνα and φᾶρος consisted of a square or rectangular piece of material which could be used for various purposes. When worn as a garment, it was held in place by means of brooches[p. 29] or pins (περόναι, ἐνεταί) and a girdle. A passage in the Iliad[54] gives a description of an elaborate toilette made by Hera when she is setting out to beguile Zeus:

ἀμφὶ δ᾽ ἄρ᾽ ἀμβρόσιον ἑανὸν ἕσαθ᾽ ὅν οἱ Ἀθήνη

ἔξυσ᾽ ἀσκήσασα, τίθει δ᾽ ἐνὶ δαίδαλα πολλά·

χρυσείῃς δ᾽ ἐνετῇσι κατὰ στῆθος περονᾶτο,

ζώσατο δὲ ζώνην ἑκατὸν θυσάνοις ἀραρυῖαν,

ἐν δ᾽ ἄρα ἕρματα ἧκεν ἐϋτρήτοισι λοβοῖσιν,

τρίγληνα μορόεντα· χάρις δ᾽ ἀπελάμπετο πολλή.

κρηδέμνῳ δ᾽ ἐφύπερθε καλύψατο δία θεάων

καλῷ νηγατέῳ, λευκὸν δ᾽ ἦν ἠέλιος ὥς.

ποσσὶ δ᾽ ὑπὸ λιπαροῖσιν ἐδήσατο καλὰ πέδιλα.

“Then she clad her in her fragrant robe that Athena wrought delicately for her, and therein set many things beautifully made, and fastened it over her breast with clasps of gold. And she girdled it with a girdle arrayed with a hundred tassels; and she set ear-rings in her pierced ears—ear-rings of three drops and glistering—and therefrom shone grace abundantly. And with a veil over all the peerless goddess veiled herself, a fair, new veil, bright as the sun, and beneath her shining feet she bound goodly sandals.”—Lang, Leaf, and Myers.

We gather from this passage that the garment was fastened on the shoulders by brooches or pins inserted, κατὰ στῆθος, which Studniczka rightly explains[55] as meaning “down towards the breast,” a method of fastening which is represented on the[p. 30] François vase[56] and elsewhere; the material is drawn from the back, and wraps over that which covers the front; the pins are then inserted downwards, and hold the two thicknesses of material together; the dress is held in to the figure by a girdle worn round the waist, over which any superfluous length of material could be drawn, forming a κόλπος or pouch. No mention is made in Homer of the ἀπόπτυγμα, or overfold, which is a common feature of the women’s dress in historic times; but from its constant appearance on the earliest monuments, it is not unreasonable to suppose that it formed an element in women’s costume of the draped type from the very earliest times. It is formed by folding over the upper edge of the garment before it is put on, in such a way that a double thickness of material covers the figure from the neck to a distance a little above the waist in front and behind. The original purpose of this overfold may have been either to secure greater warmth, or to prevent the dress from tearing at the points where the brooches were inserted; such a thing might easily happen, if only the single stuff were used, since the whole mass of material hung down from the two points where it was secured on the shoulders.

Illustration: From the François Vase

Fig. 8.—From the François Vase.

[Face page 30.

Another question which arises in connection with the Homeric peplos is as to whether it was worn open or closed at the side; a passage which has been much discussed in this relation is the one[p. 31] which describes the peplos given by Antinous to Penelope, with its twelve brooches:

Ἀντινόῳ μὲν ἔνεικε μέγαν περικαλλέα πέπλον

ποικίλον· ἐν δ᾽ ἄρ᾽ ἔσαν περόναι δυοκαίδεκα πᾶσαι

χρύσειαι, κληῗσιν ἐϋγνάμπτοις ἀραρυῖαι.

[Odyssey, xviii., 292.]

“For Antinous, his henchman, bare a broidered robe, great and very fair, wherein were golden brooches, twelve in all, fitted with well-bent clasps.”—Butcher and Lang.

The point in dispute is the purpose of the twelve brooches. Studniczka maintains that two were used to fasten the dress on the shoulders, and the remaining ten to hold it together down the open side; he states in support of this theory that sewing was not commonly practised by the Homeric women, although he has previously pointed out that the men’s chiton was always sewn; this being the case, it is only natural to suppose that the women applied the art of sewing to their own garments also where necessary. There is no example in early art of a peplos fastened in this way with brooches; it is invariably joined round, the seam being covered by a band of ornament either woven in the edge of the material or embroidered upon it afterwards. In fifth century art we sometimes find representations of the peplos worn open down the side; it may have been worn so also in Homeric times; if the garment were wide, one edge could easily be wrapped over the other and held in place by the girdle, so as not to[p. 32] leave the figure too much exposed. It is more probable that the twelve brooches in question were used to fasten the dress on the shoulders and down the upper arms six on each side, forming a kind of sleeve to the elbow. That the ample Ionic chiton was worn in this way in later times is manifest from the numerous vase-paintings and other monuments of the late sixth and early fifth centuries; it may have been a fashion peculiar to the East in Homeric times, but Eastern fashions and customs were not unknown to the author of the Homeric poems. We read[57] of rich robes that were the work of Sidonian women whom Paris brought from Sidon, and it is not unlikely that Antinous, wishing to offer Penelope some rich gift, would choose a luxurious garment brought from the East.

However, we must regard the use of twelve brooches as exceptional, and consider that the peplos was ordinarily fastened with only two, and with a girdle round the waist. That it was a fairly ample garment and trailed on the ground behind, is proved by the epithets τανυπέπλος and ἑλκεσιπέπλος, “with trailing robes,” frequently applied to women. Athena finds it certainly too cumbersome to fight in; for when she is preparing for battle, we are told that she lets her peplos slip to the ground, and puts on the chiton of her father,[58] Zeus. A very constant epithet of the peplos is ποικίλος, or sometimes the intensified form, παμποίκιλος,[59] The meaning of the[p. 33] adjective is, “bright, varied, covered with patterns.” Whether these patterns were woven in the material at the loom or embroidered is a question not easy to decide.[60]

In some cases they were apparently woven, in others probably embroidered.

The silver-shining φᾶρος which Calypso puts on[61] takes the place of the peplos, and was probably worn in the same way,[62] with the overfold and girdle, over which the superfluous length was drawn, forming the κόλπος, or pouch, which varied in depth according to the wearer’s fancy. That it was sometimes fairly roomy is proved by the fact that the nurse of Eumæus was able to hide three cups ὑπὸ κόλπῳ[63] “under the folds of her dress.”

The material of which the girdle (ζώνη) was made is uncertain. We hear of golden girdles of Calypso and Circe, and of a fringed girdle of Hera with a hundred tassels, but these are exceptional. The ordinary girdle may have been of metal, or cord, or leather; this last material is suggested by the magic κεστὸς ἱμᾶς of Aphrodite, which may have been a girdle; or, since we are told that the goddess took it ἀπὸ στήθησφιν,[64] “from her bosom,” and that Hera received it and ἑῷ ἐγκάτθετο κόλπῳ, “put it on her own bosom,” perhaps it was something of the nature of Athena’s ægis, which also possessed magic power. On a vase in the British Museum[65] a god[p. 34]dess is represented wearing an ægis, and would naturally be interpreted as Athena, were it not that the vase-painter has clearly written her name, “Aphrodite,” by her side. It has been suggested that he has made a slip, and meant to write “Athena”; but in all probability he knew what he was doing, and it was his intention to represent Aphrodite wearing her κεστὸς ἱμᾶς.

The second garment which was essential to the completion of a woman’s dress, at least when she appeared in public, was the κρήδεμνον or καλύπτρη,[66] which served both as cloak and veil. It was probably put on over the shoulders like a shawl, without being folded, in such a way that it could be drawn over the head without difficulty, and across the face, serving as a veil.[67] Sometimes it may have been doubled corner to corner diagonally and laid on the shoulder. That it was worn over the head is clear from Odyssey, v., 232, where Calypso puts on her φᾶρος; κεφαλῇ δ᾽ ἐρύπερθε καλύπτρην, “and over her head a veil.” From the description of Penelope, when she appears among the suitors “holding her shining veil before her cheeks,” we may gather that it was customary for women to veil themselves before men.[68] No woman would think of leaving[p. 35] the house without her κρήδεμνον. Helen, though she quits her house in haste, first veils herself with shining linen,[69] ἀργεννῇσι καλυψαμένη ὀθόνῃσιν, and it is only when they are far from the town and enjoying the quietude of the river bank, that Nausicaa and her attendant maidens throw off their veils for the ballplay.[70]

From the constant use of the epithets λιπαρός and λαμπρός, “shining” or “bright,” we may infer that the κρήδεμνον was usually made of linen, and, in summer at least, it was probably a fine, light garment, possibly even semi-transparent. In no case are any pins or brooches mentioned in connection with it; and from the ease with which it can be slipped off,[71] it is reasonable to infer that it was worn without fastening of any kind, like a shawl or scarf. In the passage where Andromache casts off her head-dress in her anguish at the death of Hector,[72] Studniczka supposes that because the κρήδεμνον is mentioned as falling off last, the other δέσματα must have been worn over it and held it in place; this seems to be putting a too literal and even prosaic interpretation upon the lines. There is no occasion to suppose that the poet enumerated the various parts of the head-dress in the order in which they fell; and if we read in that spirit, we shall frequently find that the Homeric heroes put on their cloaks before their undergarments; for more than once the φᾶρος or χλαῖνα is mentioned before the χιτών.[73]

[p. 36]

The various parts which composed this head-dress have given rise to much discussion. The passage runs:

τῆλε δ᾽ ἀπὸ κρατὸς βάλε δέσματα σιγαλόεντα,

ἄμπυκα κεκρύφαλόν τε ἰδὲ πλεκτὴν ἀναδέσμην

κρήδεμνόν θ᾽.

[Iliad, xxii., 468.]

“And far from her head she flung the shining bonds, diadem and kerchief, and meshy net and veil.”

The δέσματα σιγαλόεντα are explained by the words which follow, and which stand in apposition. No question is raised as to the nature of the ἄμπυξ; it was a metal diadem like the στεφάνη, worn across the front of the hair. The κρήδεμνον has already been explained; the κεκρύφαλος and the πλεκτὴ ἀναδέσμη need some comment. The former is sometimes taken to mean a “net,” but it will be shown later that this meaning is better applied to the πλεκτὴ ἀναδέσμη; the word κεκρύφαλος is obviously connected with the verb κρύπτω to cover, and therefore means “something which covers,” “a covering.” In all probability, then, the κεκρύφαλος is simply a kerchief worn on top of the head behind the ἄμπυξ. The ἀναδέσμη is obviously something which serves to bind up (ἀναδέω) the hair and hold it in place, which is the proper function of a net. The epithet πλεκτή, which Helbig[74] has tried to explain as “folded,” means primarily “plaited”; it is applied elsewhere in the Homeric poems to baskets,[75] which shows its perfect appropriateness to the meshes of a net. We[p. 37] need give no other meaning, then, to the πλεκτὴ ἀναδέσμη, but can easily explain it as a net that confined the long hair behind. This completes the head-dress proper, the κρήδεμνον being a separate scarf or shawl worn over it.

The women’s dress in Homer is completed by sandals, and for ornament they wore, in addition to the brooches which fastened their clothes, ear-rings and necklaces of varied workmanship; the γναμπταὶ ἕλικες and κάλυκες of which we read[76] are perhaps spiral-shaped brooches and ear-rings or necklaces in the shape of lilies, such as have been found in the later Mycenæan graves.

Few colours are mentioned in Homer in connection with dress. The epithets “white” and “shining” are frequently applied to the chiton and κρήδεμνον and to the φᾶρος. Φοινικόεις and πορφύρεος are frequently used of the χλαῖνα and the δίπλαξ, the former meaning “red,” and the latter probably “dark purple”; the word is used also of the sea and of clouds. The veil of Thetis[77] is described as κυάνεος, indigo, probably, or blue-black, since we hear immediately afterwards that “no garment ever was blacker.” The dark veil may be a sign of mourning; but in any case, the epithet might be used of the garments of the sea-goddess, just as κυανοχαίτης, “blue-haired,” is applied to Poseidon. Only once is yellow mentioned, and that in the case of “saffron robed dawn.” The veil of Hera, that was “bright as the sun,”[78] might have[p. 38] been yellow-gold. Yellow is a favourite colour among the Greek peasant women of to-day for the kerchiefs with which they cover their heads; and in the clear atmosphere and brilliant sunshine of Greece, it is natural to wear bright colours.

The embroidered robes of the women would naturally be worked in various colours, among which red and blue probably predominated, as they do on the sixth century statues on the Acropolis at Athens, and also in more modern Greek embroideries.

Enough has been said on the subject of Homeric dress to show that it differs entirely from the pre-Hellenic type of costume which appears on the monuments from Knossos and elsewhere. The absence of contemporary monumental evidence renders it impossible to make any very definite statements as to the details of Homeric dress; but the poems themselves afford sufficient proof of the fact that it was of the draped type, and resembled Greek dress as we know it from the monuments dating from historic times; the dress of the classical period is simply a development of that described in the Homeric poems, with the addition of some foreign elements which blended with it and somewhat transformed it in its details, while still preserving the main types unaltered.


[p. 39]

III
DORIC

When we come to the question of Greek dress during the classical period, we find that the literary evidence is somewhat scanty; however, in addition to the various casual references to dress that are to be found chiefly in the plays, there are a few passages which bear directly on the historical development of dress in Greece. The most important of these is a passage in Herodotus,[79] in which he describes a disastrous expedition against Ægina undertaken by the Athenians during the first half of the sixth century, probably in the year 568 B.C.; only one man returned alive to Athens, to meet with an ignominious death at the hands of the wives of those who had perished. Herodotus shall tell the story in his own words:

Κομισθεὶς γὰρ ἐς τὰς Ἀθήνας ἀπήγγειλε τὸ πάθος· πυθομένας δὲ τὰς γυναῖκας τῶν ἐπ᾽ Αἴγιναν στρατευσαμένων ἄνδρων δεινόν τι ποιησαμένας ἐκεῖνον μοῦνον ἐξ ἀπάντων σωθῆναι, πέριξ τὸν ἄνθρωπον τοῦτον λαβούσας καὶ κεντεύσας τῇσι περόνῃσι τῶν ἱματίων εἰρωτᾶν ἑκάστην αὐτέων ὅ κῃ εἴη ὁ ἑωυτῆς ἀνήρ. Καὶ τοῦτον μὲν οὕτω διαφθαρῆναι,[p. 40] Ἀθηναίοισι δὲ ἔτι τοῦ πάθεος δεινότερόν τι δόξαι εἶναι τὸ τῶν γυναικῶν ἔργον. Ἄλλῳ μὲν δὴ οὐκ ἔχειν ὅτεω ζημιώσωσι τὰς γυναῖκας, τὴν δὲ ἐσθῆτα μετέβαλον αὐτέων ἐς τὴν Ἰάδα· ἐφόρεον γὰρ δὴ πρὸ τοῦ αἱ τῶν Ἀθηναίων γυναῖκες ἐσθῆτα Δωρίδα τῇ Κορινθίῃ παραπλησιωτάτην· μετέβαλον ὦν ἐς τὸν λίνεον κιθῶνα, ἵνα δὴ περόνῃσι μὴ χρεώνται. Ἔστι δὲ ἀληθεϊ λόγῳ χρεωμένοισι οὐκ Ἰὰς αὕτη ἡ ἐσθὴς τὸ παλαιὸν, ἀλλὰ Κάειρα, ἐπεὶ ἥ γε Ἑλληνικὴ ἐσθῆς πᾶσα ἡ ἀρχαίη τῶν γυναικῶν ἡ αὐτὴ ἦν τὴν νῦν Δωρίδα καλεῦμεν.

“When he came back to Athens bringing word of the calamity, the wives of those who had been sent out on the expedition took it sorely to heart, that he alone should have survived the slaughter of all the rest; they therefore crowded round the man and struck him with the brooches by which their dresses were fastened, each, as she struck, asking him where he had left her husband. And the man died in this way. The Athenians thought the deed of the women more horrible even than the fate of the troops. As, however, they did not know how else to punish them, they changed their dress, and compelled them to wear the costume of the Ionians. Till this time the Athenian women had worn a Dorian dress, shaped nearly like that which prevails at Corinth. Henceforth they were made to wear the linen tunic, which does not require brooches.

“In very truth, however, this dress is not originally Ionian, but Carian; for anciently the Greek women all wore the costume which is now called the Dorian.”—Rawlinson.

He goes on to say that after this the Argive[p. 41] and Æginetan women, out of rivalry with the Athenians, wore much larger brooches than before.

The importance of the passage is that it tells us of the two types of dress worn by Greek women. We learn that down to the early years of the sixth century all the Greek women wore the Dorian dress fastened with pins of such size and strength that they could become dangerous weapons in the hands of women excited by grief or passion. Later the Athenian women adopted a different dress, which did not need these large pins to fasten it, and which Herodotus calls the linen Ionic chiton, afterwards correcting himself and explaining that this kind of dress was really Carian in its origin.

The story of the slaying of the sole survivor of the Æginetan expedition, and of the punishment meted out to the Athenian women, seems in itself far-fetched and highly improbable; but there is probably some foundation of truth in it. Possibly the tale was invented by Herodotus, or, more probably, was current in his day as an explanation of a change in the style of dress which actually took place in Athens at the beginning of the sixth century, or more probably even earlier. Among the sumptuary laws introduced by Solon was one regulating women’s dress, and forbidding them to wear more than three garments when they went out to funerals or festivals.[80] The passing of such a law could only be necessary if the Athenian women had already adopted a luxurious and[p. 42] extravagant style of dress. Now, the essence of the Doric dress, as will be shown later, is simplicity; it did not admit of great variety or elaboration. On the other hand, that the Ionic dress was somewhat luxurious is clear from Thucydides, i., 6; so we may infer that by the time of Solon’s archonship, 594 B.C., the Athenian women had already adopted the Ionic dress, and had perhaps elaborated it by some modifications added by their own invention. If this is so, Herodotus’s story places the change at least a generation later than its actual occurrence; but as he is writing at a distance of more than a century from the event, we need not be surprised if he is a generation or so out in his dating.

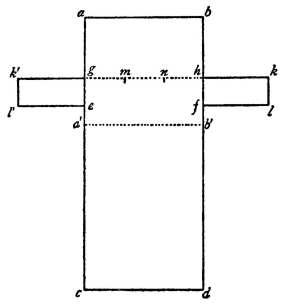
The simple Doric dress mentioned by Herodotus as being universally worn by Greek women down to the sixth century, finds abundant illustration in early art, especially in the Attic black-figured vases. It consists of a large oblong piece of material, in length about 1 ft. more than the height of the wearer, in width about twice the distance from elbow to elbow when the wearer’s arms are held out horizontally at shoulder level. The additional foot in height is used up by folding the upper edge over so that the material is double from neck to waist. The garment is put on by folding it round the body and pinning it on the shoulders at points a third of the distance from the middle line and the edges respectively. A diagram will make the arrangement clear.

Illustration: Diagram of the Doric Peplos

Fig. 9.

a, b, c, d represents the original rectangular[p. 43] piece of material, ab being twice the wearers distance from elbow to elbow—that is to say, about 5 ft. 9 in.—ac being 1 ft. more than the wearer’s height—namely, about 6 ft. 6 in.

After the upper edge ab has been folded over to a width of about 1 ft., the dress is pinned on the shoulders at the points e e′ and f f′; the part which covers the back is drawn slightly forward over the front, so that there are four thicknesses of material where the pins are inserted; the garment is then girded at the waist, the position of which is indicated by the points g and h, and any superfluous length is drawn up over the girdle.

The distance between the points a′ f, f e, e′ f′, etc., varies slightly, but is always approximately one-sixth of the whole width of the material. In practice, a better effect is produced if the width of stuff e′ f′, which covers the back of the neck, is shorter than the other sections.

[p. 44]

The garment is usually represented as being sewn up along the side, sometimes along the whole length ac, bd, sometimes only along the length from the waist to the feet—that is, along the edges gc, hd; sometimes it is left open, being held in place only by the girdle. On the black-figured vases it is usually the closed Doric dress which is represented, probably because it offered the least difficulty to a technique which necessarily imposed somewhat close limitations on the artists who practised it. A good example is to be found in the figures of the Fates from the François vase, which has already been quoted in illustration of the Homeric peplos.

Illustration: Metope from the Temple of Zeus, at Olympia

Photo. by The English Photographic Co.]

Fig. 10.—Metope from the Temple of Zeus, at Olympia.

[Face page 44.

A freer and more realistic representation is to be found in the sculptured metopes from the temple of Zeus, at Olympia. Athena in the metope representing the cleaning of the Augean stables wears the closed Doric dress; here the ἀπόπτυγμα, or overfold, falls slightly below the waist, and below it the kolpos is clearly visible, the slight pouch formed by drawing the superfluous length of the material over the girdle.[81] On the vases the pouch is almost invariably absent, and the girdle is always visible. This is also the case in one of the archaic statues on the Acropolis at Athens, where the Doric dress is worn over an Ionic chiton. A slight variation of the dress is to be seen on the nymph of the Atlas metope at Olympia, where the overfold hangs considerably below the waist and no girdle or pouch is visible; here the additional length of the overfold[p. 45] probably obviated the necessity of a pouch, and the girdle, which is hidden, simply served to hold the dress in to the figure. A bronze statuette from Herculaneum shows the dress sewn up only from the waist downwards (Fig. 11).

Illustration: Bronze Statue from Herculaneum, Naples

Photo. by Brogi, Naples.]

Fig. 11.—Bronze Statue from Herculaneum, Naples.

[Face page 45.

As time went on, the dimensions of the Doric dress became more ample, or at least were represented so in art; both pouch and overfold become deeper and the folds of the garment generally grow fuller; the distance of the shoulder pins from the points which hang immediately under the arms becomes proportionately larger, no longer being an exact sixth of the whole width of the dress. The most perfect examples in art of the Doric dress in its full development are to be found in the maidens of the Parthenon frieze and the Caryatids of the Erechtheum. Here the pouch is emphasized, and its graceful curve dipping over the hips, though idealized, is at the same time perfectly naturalistic, as can be shown at once by practical experiment.

The Munich copy of Cephisodotus’s Eirene holding the infant Plutus presents a very good example of the closed Doric dress as it was worn in the fourth century; it will be seen that the folds are more ample, and the overfold and pouch fall to a distance considerably below the waist, so that the garment must be larger than that originally worn, if we are to accept early monuments as faithful representations of the style of dress actually worn.

The simpler form of the Doric dress, namely, that which is unsewn and left open down the side, is[p. 46] not found represented in art before the fifth century; it becomes fairly common on red-figured vases, where it is very frequently depicted ungirt.[82] Sometimes it is the only garment worn; in other cases it is worn over an under-dress. A sculptured example is to be found in an Artemis in Dresden,[83] for the original of which Furtwängler claims Praxitelean authorship. This was probably the dress worn by Laconian girls, to whom the term φαινομηρίς, “showing the thigh,” was applied by some ancient writers.[84]

Illustration: Vase-painting—British Museum

Fig. 12.—Vase-painting—British Museum.

[Face page 46.

A variety of this dress appears in art about the middle of the fifth century; it is sometimes known as the “peplos of Athena,” because Pheidias chose it as the style in which to drape his statue of the Athena Parthenos. The word “peplos” is usually reserved for the Doric dress whether open or closed, the word “chiton” for the Ionic, though the latter is frequently applied to the Doric, and is invariably used of the under-dress, when the two styles became confused. The “peplos of Athena” is similar to the ordinary open Doric dress, except that the overfold is longer and reaches to the thighs and the girdle is worn over it.[85] The material is pulled up very slightly over the girdle, but not sufficiently to hide it in front, the purpose of the slight pouch being merely to prevent the dress from dragging under the arms, and from trailing on the ground at the sides. The girdle is at first worn round the[p. 47] waist, but later it is put on higher, until, on the Athena from the frieze of the altar at Pergamon, it is worn immediately under the breasts. The clearest representation in art is to be found in the Varvakeion copy of the Athena Parthenos, and it occurs also in many representations of Athena which were obviously influenced by Pheidias. In the Dresden “Lemnia,”[86] the girdle is passed not only over the overfold, but also round the ægis; in the “torso Medici”[87] this overgirt peplos is worn over an under-dress of the Ionic type. The date of the introduction of this style of wearing the Doric dress is a point of some uncertainty. The question arises as to whether it was invented by Pheidias or was already commonly worn and adopted by him as being most appropriate for his great representation of the maiden goddess. Certainly, in sculpture we have no example of it before the time of Pheidias, unless we assign an earlier date to the little relief of the “mourning Athena,” which seems improbable; the Iris of the Parthenon frieze wears it; and among slightly later works the Victory of Pæonius at Olympia is a good example, though here the dress is slightly varied by being fastened only on one shoulder. Further evidence is afforded by the vases, but even these do not give any certain proof; the dress does not appear before the middle of the fifth century, but after that date it becomes fairly frequent, and is given not only to Athena but to other divine or mythological personages, such as[p. 48] Persephone,[88] Nike, Cassandra, and also to hand-maids attending on ladies in more elaborate costume. In some of these vases the work is obviously post-Pheidian, but many of them were probably made before the completion of the Athena Parthenos, and the fact that the overgirt dress is so frequently represented on slaves renders it likely that it was a style of dress actually worn, and not merely the invention of the great sculptor’s imagination; it was probably selected by him for the Parthenos because of its extreme simplicity and the possibilities of statuesque dignity which it contained.

Illustration: Vase-painting in the Polygnotan Style—Louvre

Fig. 13.—Vase-painting in the Polygnotan Style—Louvre.

[Face page 47.

It has been mentioned incidentally that the Doric peplos is sometimes found worn over another garment, but it is ordinarily the only garment worn indoors, and for outdoor wear another is sometimes put on over it. The overfold of the peplos could itself be used as a veil by drawing the back part up over the head; it is so used by a woman on a red-figured vase in the British Museum.[89]

Illustration: Vase-painting by Hieron—British Museum

Fig. 14.—Vase-painting by Hieron—British Museum.

[Face page 49.

The outer garment worn by women in classical times corresponds to the Homeric κρήδεμνον and is called the ἱματίον, although this term is applied by Herodotus to the Doric peplos. By derivation the word simply means “a piece of clothing,” being connected with εἷμα and ἕννυμι. It consisted of a large oblong piece of material about 7 or 8 feet in length, and in breadth about equal to the wearer’s height. Considerable variety was possible[p. 49] in the arrangement of it. It could be worn both as head covering and cloak, by placing the middle of the upper edge over the head and letting the two sides fall down over the shoulders like a shawl; it is often so depicted on the vases both black- and red-figured; the figure of Eleusis wears it so on the Triptolemus vase by Hieron in the British Museum.[90] It was frequently worn over the shoulders in this fashion without covering the head, and could easily be pushed back or drawn up over the head at will. A second very common way of arranging the himation was to draw one end over the left shoulder from the back towards the front, so that it hung down in a point in front, then to pass the mass of material across the back and under the right arm and throw the other end over the left shoulder again, so that the second point hung down towards the back: this was a very common style both for men and women.[91] If additional warmth were required, it could easily be obtained by drawing the cloak up over the right shoulder, so as not to leave the right arm and chest exposed. A combination of these two styles is seen in some of the Tanagra statuettes, where the himation is put on over the head. Both shoulders are covered; but instead of the two ends being allowed to hang down symmetrically one on each side of the front, one is taken up and thrown over the other shoulder, so that the whole figure is covered in the ample folds of the cloak.[92]

Illustration: Terra-cotta Statuette—British Museum

Fig. 15.—Terra-cotta Statuette—British Museum.

[Face page 49.

[p. 50]A rather exceptional variant of the second style of wearing the himation is to be seen on a vase of Euxitheos in the British Museum,[93] where Briseis is represented wearing it with one end placed on the left shoulder, the mass of the cloak being drawn across the back; the other end is passed under the right arm, but instead of being thrown over the left shoulder again, is turned back over the right shoulder, and so leaves the front of the figure exposed.

Illustration: Vase-painting by Euxitheos—British Museum

Fig. 16.—Vase-painting by Euxitheos—British Museum.

[Face page 50.

Illustration: Vase-painting by Falerii—Rome, Villa Giulia

Fig. 17.—Vase-painting by Falerii—Rome, Villa Giulia.
[Furtwängler and Reichhold, Griechische Vasenmalerei, 17 and 18.]

[Face page 50.

A third fashion is somewhat similar to the second, except that it leaves the front of the figure exposed to the waist or a little below. Instead of being drawn across the chest and thrown over the left shoulder, the second end is simply thrown over the forearm and held in place by the bend of the elbow.[94] A cloak worn in this style would be very likely to slip, so another fashion was adopted, which produced approximately the same effect, but which prevented the possibility of slipping. Instead of throwing the end over the left arm, the wearer secured it at the waist under the arm either by a brooch or more probably by simply tucking it under the girdle. To prevent the garment from hanging down too low and dragging on the ground, a large corner was usually doubled over before it was secured at the waist. The part thus fastened was sometimes passed over the end which hung down from the left shoulder, sometimes under it. The himation is so worn by Mausolus and Artemisia in[p. 51] their portrait statues from the Mausoleum. A very good example is the Athena of Velletri published by Furtwängler.[95]

Illustration: Athena of Velletri

Photo. by A. Giraudon.]

Fig. 18.—Athena of Velletri.

[Face page 51.

On many of the monuments of the Pheidian period and the time immediately preceding it, we find that the Doric peplos is worn alone or with a small cloak or shawl laid on the shoulders and hanging down the back, as in the case of the maidens carrying sacrificial vessels on the Parthenon frieze. This small shawl was perhaps worn more for ornament than for the sake of warmth, and an ample peplos of warm woollen material might be found sufficient protection.

It may be objected that in the majority of the examples chosen as illustrations the himation is worn not over the Doric peplos, but over the Ionic chiton, and it has indeed been sometimes regarded as an element of the Ionic dress rather than of the Doric.

It does, however, appear over the Doric peplos, e.g., in Fig. 18 and on many black-figured Attic vases,[96] and it is not difficult to trace its development from the Homeric κρήδεμνον worn symmetrically over the head and shoulders. It is an easy step in advance to throw one end of the cloak over the opposite shoulder, push it back off the head, and bring one arm out free instead of letting it remain covered. Fig. 15 might serve to illustrate an intermediate stage between those represented in Figs. 14 and 17.

An attempt will be made later to show that the[p. 52] Ionic himation was fastened with brooches, and had a different development. The wearing of the unpinned himation over the Ionic chiton is an instance of the blending of Doric and Ionic dress.

The Doric dress of men was similar to that of women, both with regard to under-dress and cloak. The name χιτών is used for the under-dress, as it was in Homer, the word peplos being restricted to women’s garments. The outer garment of men as well as of women is called the himation.

The Doric men’s chiton is fastened by brooches on the shoulders and girt in at the waist. It was a short garment reaching midway down the thighs, or to a distance just above the knees, had no overfold, and was narrower than the women’s peplos. No kolpos was worn, there being no superfluous length to dispose of. The side was sewn up so that the garment before being pinned was cylindrical in shape. This somewhat scanty garment was the only one worn by slaves, and men engaged in active pursuits and workmen frequently wore it fastened only on one shoulder, leaving the other bare and the arm quite free. When worn in this way it was called the χιτὼν ἔξωμις or ἑτερομάσχαλος; the god Hephaistos is usually represented wearing it in this way in his capacity as craftsman. We learn from Pollux, vii., 47, that the ἔξωμις was a περιβλῆμα as well as an ἔνδυμα, from which we may gather that a small cloak was sometimes worn fastened on one shoulder and girt round the waist, but left unsewn down the side. Fig. 19 represents the χιτὼν ἔξωμις.

[p. 53]

Representations of Amazons and of Artemis the huntress are frequent, wearing the χιτὼν ἔξωμις; but in these cases it is usually a longer garment than that worn by men, and its superfluous length is drawn up over the girdle, forming a pouch; and then a second girdle is worn over this to prevent it from flapping in the wind. The Amazons of the Mausoleum frieze wear the short Doric dress without overfold and unsewn down the side; this, however, is perhaps merely a device on the part of the sculptor to afford an opportunity of displaying the physical forms, as well as the drapery. Various references in literature show that the Spartan women wore more scanty clothing than the Athenians; they are described as μονοχίτων, “wearing a single garment,” and we learn from Pausanias that the girls who competed in the running races at Olympia wore the short χιτὼν ἔξωμις. As monumental testimony to the truth of this statement, we have the statue of a girl runner in the Vatican Museum.

Illustration: Bronze Statuette—British Museum

Fig. 19.—Bronze Statuette—British Museum.

[Face page 53.

The τρίβων worn by Spartans and people of austere or Laconizing tendencies, like Socrates and the Cynic philosophers, was probably a scanty Doric chiton made in some coarse homespun material; men of leisure and elderly men preferred to wear a longer chiton with sleeves either sewn or fastened with brooches; this was the case even after the reaction against anything savouring of Orientalism which followed the Persian wars. If we are to consider the monuments, both sculpture and vases, as giving a realistic picture of Greek life, we[p. 54] shall see that men frequently wore only the himation; but it is difficult to believe that this was so, except, perhaps, in the height of summer.

The methods of draping the himation were the same for men as for women, except that after the period of the early black-figured vases we do not find men represented wearing it laid on both shoulders like a shawl; nor do they ever wear it drawn up over the head, although in the sunshine of a southern summer some such protection against the heat might be considered indispensable. The favourite style for men was that of laying the one end on the left shoulder and drawing the rest round the body from the back and throwing the other end either across the left forearm or over the shoulder.[97] This was called wearing the himation ἐπὶ δεξιὰ, presumably because it was drawn closely round the right side of the body. It was considered a mark of good breeding to throw it over the shoulder and let it hang down in such a way as to cover the left arm completely.[98] To wear it ἐπ᾽ ἀριστέρα, “over the left side,” was a mark of boorishness, as we gather from Aristophanes Birds,[99] where Poseidon taunts the barbarian Triballus for wearing it so.

Illustration: Vase-painting—British Museum

Fig. 20.—Vase-painting—British Museum.

[Face page 54.

Illustration: The Doric Himation

Fig. 21.—The Doric Himation.

[Face page 54.

Illustration: Vase-painting by Euphronios—Munich

Fig. 22.—Vase-painting by Euphronios—Munich.
[Furtwängler and Reichhold, Griechische Vasenmalerei, 22.]

[Face page 55.

Illustration: The Chlamys and Petasos

Fig. 23.—The Chlamys and Petasos.

[Face page 55.

Another variety of over-garment worn by men is the χλάμυς, a cloak used for riding or travelling. It is considered to be of Macedonian origin,[100] another form of it being the ζειρά, a rough Thracian riding[p. 55]-cloak sometimes depicted on Greek vases.[101] It was probably brought into Greece from the north by the Dorian invaders when they came down, and in its origin may have been no different from the Homeric χλαῖνα. In classical times it was always worn over the short chiton by travellers and riders, and was the characteristic dress of Ephebi.[102] The Parthenon frieze affords abundant illustration of the way in which it was worn. Like the himation, it consisted of a rectangular piece of material, but was of a slightly different shape, being rather more oblong; in fact, when doubled it would form almost a perfect square. Its normal dimensions would be about 6 to 7 feet long by 3½ feet wide. In putting it on, the wearer would double it round him and stand inside it, so that the middle line came along the back of the left arm and shoulder; he would[p. 56] then fasten the two sides together with a brooch on the right shoulder, close to the neck, at the points e and f in the accompanying diagram; the corners d and b would hang down in front and behind respectively at a distance of about 1 foot from the ground, and the corners a and c would hang down together along the right side; the left arm which held the reins in riding would thus be covered, while the right would be free to hold spear or whip. The left could easily be freed also by swinging the cloak round so that the brooch came under the chin instead of on the shoulder; the two corners a and c could then be thrown back over the arms. The χλάμυς is frequently represented in art worn in this way, especially in cases where the wearer is occupied in vigorous action.

Illustration: Diagram of the Chlamys

Fig. 24.


[p. 57]

IV
IONIC

We must now turn to a consideration of the Ionic dress, which Herodotus tells us was adopted by the Athenian women in the sixth century B.C. According to his account, it was Carian in its origin; our knowledge of the Carians is somewhat vague and indefinite. We learn from Thucydides[103] that they originally inhabited the Cyclades, but were driven out by Minos of Crete; and a little later on[104] he speaks of them, together with the Phœnicians, as islanders who practised piracy. Herodotus[105] gives a slightly different account, saying that the Carian inhabitants of the islands were subjected by Minos and used by him to man his ships, and were not driven out until later by the Dorian and Ionian immigrants. He also mentions the belief of the Carians themselves that they were autochthonous in Caria, and attributes to them various inventions afterwards adopted by the Greeks. According to Thucydides, their method of burying the dead seems to have differed from that of the Greeks; and from the various accounts of the two historians,[p. 58] we may gather that their race was different, although possibly they were soon hellenized by their Ionian neighbours. If, as Herodotus tells us, the Greeks adopted some Carian inventions, it is not unlikely that they may also have adopted the Carian dress, or at least may have modified their own by assuming some Carian elements.[106]

In his account of the assumption of the Ionic dress by the Athenians, Herodotus speaks only of the women; but we know that it was worn by men also, partly from the evidence of the monuments and partly from Thucydides, who tells us[107] that not long previously to the time at which he is writing the elder men of the wealthy classes gave up wearing linen chitons and fastening their hair with the τέττιξ, “cicala,” a luxurious mode of dress common to them and their kinsfolk the Ionians. The Ionic dress was probably discarded by the Athenians shortly after the outbreak of the Persian war, when a reaction set in against Orientalism and a tendency towards greater simplicity began to manifest itself; Thucydides is writing more than a generation after the Persian wars, but his expression, οὐ πολὺς χρόνος, “no great length of time,” is sufficiently vague, and he probably recollected the change which took place in his youthful days; moreover, he speaks only of the elder men of the wealthy classes, who would naturally be of conserva[p. 59]tive tendencies and the last to adopt any change in their mode of life or dress. The exact period at which the Athenians adopted the Ionic dress is unknown; the Æginetan expedition of 568 B.C., of which Herodotus makes use in dating the change, is too late, for we know that already in Solon’s days luxury in dress had reached such a pitch as to necessitate the passing of a sumptuary law to regulate it, and such luxury could hardly have been reached so long as the simple Doric dress was retained. It may not be unreasonable to assume, then, that constant intercourse with the Ionians in the islands on the coast of Asia Minor led the Athenians to adopt their dress at some time towards the end of the seventh century.

Illustration: Vase-painting from Lucania—British Museum

Fig. 25.—Vase-painting from Lucania—British Museum.

[Face page 61.

The Ionic chiton differed from the Doric in length, material, and method of fastening. We read in Homer already of the Ἰάωνες ἑλκεχίτωνες, “long-robed Ionians,” and Pollux tells us of the λινοῦς χιτών ὅν Ἀθηναίοι ἐφόρουν ποδήρη, καὶ αὖθις Ἴωνες,[108] “the linen tunic which the Athenians wore reaching to the feet, and the Ionians too.” This χιτών ποδήρης is a long chiton reaching to the feet; that its material was linen is testified by Thucydides and Pollux, as well as other writers.[109] The story of Herodotus shows that its fastening was different from that of the Doric, since the Athenian women were forced to adopt it, ἱνα δὴ περόνῃσι μὴ χρεώνται, “so as not to[p. 60] need brooches.” This expression is usually taken to mean that the characteristic difference between the Doric and Ionic chitons is, that the Doric is fastened by means of pins or brooches, the Ionic is always sewn on the shoulders. That this is not invariably the case is proved by many examples both in sculpture and vase-painting, where a chiton is represented, which, from its length and fulness and the fine texture of its material, is clearly Ionic, but which is not sewn on the shoulders, but fastened together down the upper arm by a series of small round brooches; this fastening forms a kind of loose sleeve which reaches frequently to the elbow. It is the formation of this sleeve, whether sewn or pinned, which, apart from size or material, distinguishes the Ionic from the Doric chiton, which is sleeveless. The Ionic chiton in its simplest form is cylindrical in shape, and varies considerably in length, but is always longer than the height of the wearer; the superfluous length is drawn up through the girdle to form a kolpos, which varies in depth according to the length of the chiton. The Mænad vase of Hieron gives a good idea of the size to which this kolpos sometimes attained.[110] Being made of a fine linen material, the Ionic chiton is naturally fuller than the coarser woollen Doric garment, and its folds are consequently more numerous and more delicate; it is the greater width of the garment which necessitates the formation of the sleeve, as a single fastening from the shoulder[p. 61] would leave too great a mass of material hanging down under the arms. The sleeve is made by joining the two top edges of the garment together and gathering them up so as to form regular folds; an opening is left in the middle for the neck and one at each end for the arms. The arm-holes were probably not formed, as some believe, by lateral openings in the side-seams, since this method produces a clumsy effect in practice; and moreover, in many vase-paintings[111] the ornamental border which runs along the neck and upper arm passes also round the arms without being continued down the side, which shows that it was embroidered or woven along the top edge of the chiton before the sleeves were made.

Illustration: Diagram of the Ionic Chiton

Fig. 26.

A diagram will best show how the sleeves were formed, and the position of the openings for neck and arms: ab represents the upper edge of the chiton, along which a border is frequently woven or embroidered; ef represents the space for the neck, through which the head is thrust; ad and bc represent the arm-holes, which hang down parallel to the wearer’s sides when the arms are held down in a normal position; the side-seams ag and bh are sewn along their whole length; the distances de fc are[p. 62] joined and gathered to form the full sleeve. The fulness is frequently held close to the figure by the addition of cross-bands, either crossing both in front and behind and attached to the girdle at the sides, or crossing only at the back and passing round the front of the shoulders. A very excellent sculptured representation of this, the simplest form of the Ionic chiton, is to be found in the famous Delphi charioteer, where the gathering of the sleeves is very clearly marked.[112] In cases where the sleeve is not sewn, the spaces de and fc are joined by a series of brooches, varying in number from four to six on each side. The fulness is produced by taking up a little group of folds at each fastening and leaving the spaces between quite plain; the two edges are usually parted in these spaces, so as to show the arm through. These groups of folds are perhaps more effective than the continuous row of gathers which we get with the sewn sleeve. The Euxitheos vase reproduced above[113] will furnish an illustration of the chiton with pinned sleeves. A short chiton, with sleeves pinned in several places, was frequently worn by men, as is proved by many vase-paintings. We sometimes find women represented wearing a full chiton without overfold, fastened only once on each shoulder, like the Doric dress. This is one of the many modifications which the Ionic dress underwent when introduced into the mainland of Greece. We frequently find on vases figures in rapid motion wearing the long Ionic[p. 63] chiton with many folds, represented by fine close lines, in which the lower edge of the chiton in front is drawn up to an angle on one or often more places. It was supposed by Böhlau[114] that this was meant to indicate that the garment had been cut at the bottom in a series of points. The object of this cutting is difficult to see, and on examination it will be found that wherever the lower edge of the chiton is so drawn up, immediately above it the kolpos hangs down deeper over the girdle; the figures are usually in rapid motion, and the lower edge of the back of the garment, which shows behind the feet, is represented by a continuous curve, without being drawn up anywhere.[115] It is obvious, then, that the artist intended to indicate that the wearer had drawn the dress up through the girdle, so as not to impede progress. Anyone who has ever moved about freely wearing a chiton of this kind, will know that unless the girdle is uncomfortably tight the dress has a habit of slipping down, so that it is necessary to pull it up sometimes, so as to prevent treading on it in front.

Illustration: The Delphi Charioteer

Fig. 27.—The Delphi Charioteer.

[Face page 62.

Illustration: Vase-painting—Munich

Fig. 28.—Vase-painting—Munich.
[Furtwängler and Reichhold, Griechische Vasenmalerei, 33.]

[Face page 63.

A feature of the Ionic chiton not very easy to understand is the overfold, which occurs very frequently, especially in vase-paintings of the severe red-figured class; it is not a normal feature of the Ionic chiton, and may very possibly have been added by the Athenian women when they adopted the dress, since they had always been accustomed to wearing it with the Doric peplos. The view[p. 64] that Herodotus (v., 87) is wrong, and that the Athenian women never wore the Doric dress at all, is hardly tenable in the face of such evidence as the François vase and others like it, which are certainly of Attic workmanship.

The Ionic chiton with overfold is really, then, an instance of the blending of the two types of dress, which later became so complete that it is frequently difficult to decide whether a particular garment should more correctly be called Doric or Ionic.

In some instances the overfold of the Ionic chiton is formed in exactly the same way as that of the Doric dress, only it is frequently shorter: it is turned over before the garment is put on, then back and front are fastened together along the arm, either by sewing or by brooches. In this latter case the only distinction from the Doric dress, in addition to those of size and material, is that instead of being pinned only once on each shoulder, and so being sleeveless, it is pinned along from shoulder to elbow, so as to form sleeves. An example of this is to be seen in a figure of Aphrodite from a vase-painting in Paris reproduced by Miss Harrison.[116] This style of dress, with the sleeves sewn instead of pinned, is found on the first of the so-called Fates of the Parthenon pediment, and on one of the Nereids from the Nereid monument, on a torso at Epidaurus, and on many vase-paintings. Although not always represented in art, shoulder-cords or cross-bands were probably actually worn with this dress, as a[p. 65] general rule, since without some such contrivance it would slip inconveniently.

Illustration: Vase-painting by Brygos—British Museum

Fig. 29.—Vase-painting by Brygos—British Museum.

[Face page 66.

A type of dress very commonly found on vases is that which has full sleeves to the elbow and an overfold covering the chest and back, and passing under the arms without covering the sleeves, as was the case in the chiton described above. The Mænads on the famous Hieron vase are represented wearing this kind of dress, and numerous examples could be quoted from other vase-paintings.[117] Some such effect might be produced with the ordinary cylindrical-shaped chiton with overfold, if shoulder-bands were worn such as those worn by the Delphi Charioteer and by one of the so-called Fates of the east pediment of the Parthenon; but in actual practice such an arrangement would produce a somewhat clumsy mass of folds under the arm, and could not be managed at all unless the overfold were considerably deeper than that usually represented on the vases. We must look, therefore, for some other explanation; and it will not be far to seek, if we allow the Ionian women and their Athenian imitators a freer use of scissors and needle than their Doric sisters were accustomed to make. A close examination of the monuments will show that although the sleeve of the Ionic chiton was frequently formed in the manner described above, yet in a very large number of cases, in almost all of which the overfold is present, the [p. 66]sleeve is more like our modern notion of a sleeve—that is to say, it fits closer to the arm, as though shaped to some extent, while the rest of the garment fits closer to the figure. The vase-painter Brygos is fond of depicting women in this kind of dress: the accompanying illustration[118] is taken from his representation of Hera and Iris pursued by Silenoi. This dress is obviously not composed simply of a cylindrical piece of material folded over at the top and fastened on the arms, for the rather deep overfold leaves the sleeves quite free, and covers only the body of the wearer. This effect could be produced in two ways, in both of which, however, the sleeve-pieces must be sewn in separately. In the first method, we may suppose that two rectangular pieces of material are taken, equal in size and shape, represented in the diagram as abcd.

Illustration: Diagram of the Sleeved Chiton with Overfold

Fig. 30.

These are sewn together along the sides up to the points e and f at a distance of about 5 feet from the lower edge; when the dress is worn, these points will come immediately under the arms. We may next suppose that two rectangular pieces of material measuring about 18 by 20 inches are taken[p. 67] for the sleeves; these are folded double, so that the longer sides lie upon each other, and then sewn on to the body of the chiton at the points f, h, g, and e, so that the fold lies in the position indicated by the lines fl and el′ in the diagram; the openings kl and k′l′ will form the arm-holes; that part of the chiton abgh which still extends above the sleeve-pieces is then folded over, so that it hangs down in the position gha′b′. The line kk′ now represents the upper edges of the garment, which are fastened together (leaving the space mn for the neck) either by sewing and gathering or by groups of folds held in place by a series of brooches. The front and back part of the overfold would then hang down separately, but they could be joined together under the arms, provided that the space round the shoulder were left free for the arm to pass through into the sleeve.

The second method of making this dress is nothing but a modification of the first. It consists of taking two smaller rectangles in the first place, ghcd, to form the body of the chiton; two pieces abgh are sewn on back and front, after the sleeve-pieces, to form a sort of false overfold, which will have exactly the same effect as if it were in one piece with the rest of the chiton.

It is possible to conceive of the sleeve-pieces being originally in one piece with the rest of the chiton, which would then be a dress composed of two cross-shaped pieces of material sewn together along the edges dfl and cel′; it is more reasonable[p. 68] to suppose, however, that the sleeve-pieces were sewn on separately. That such sleeve-pieces were attached to the ordinary Ionic chiton without overfold seems likely from many vase-paintings. The addition of sleeves was certainly not unfamiliar to the Greeks, for we find slaves wearing a narrow, ungirt chiton, with tight sleeves reaching to the wrists. A familiar example of this is to be found in Hegeso’s attendant on the well-known grave relief in Athens. In an inscription, dating from the middle of the fourth century,[119] and recording a large number of garments dedicated to Artemis Brauronia, the expression χειριδωτός occurs, which can only mean “sleeved.” In the same inscription special mention is frequently made of the fact that the chiton, or χιτωνίσκος, is ἐμπλαισίῳ, “oblong,” from which we may infer that it was not always so. Now, the ordinary simple Ionic chiton would be oblong in shape when not worn, so that we may take the others, which are not described as oblong, to be chitons with separate sleeve-pieces attached.

The false overfold was sometimes attached also to the simple cylindrical Ionic chiton. In these cases it covered the chest only, leaving the arms covered only by the sleeves; it was probably simply sewn on at the neck in front only. Kalkmann has collected and stated the evidence for this false overfold to the chiton in an article in the Jahrbuch, vol. xi., where he shows that it was sometimes applied to[p. 69] the over-garment also. Very clear examples of it are to be seen in some of the archaic female statues on the Acropolis at Athens, especially in those cases where the himation is worn like a shawl over both shoulders.[120]

That the long Ionic chiton with sleeves was worn by men as well as women, is abundantly evident from the monuments. On the vases, Zeus and Dionysus and other gods are almost invariably represented wearing it; and in sculpture also, kings, priests, and others are represented so dressed. Together with the himation, it probably constituted a sort of state dress for priests and other officials, even after it had been discarded for daily use, as being too luxurious.

A short chiton, with or without sleeves, and made of some fine material, is to be found on the vases worn by men engaged in active pursuits. It sometimes has an overfold; although, with the long chiton, this feature is usually confined to women. A good example of the men’s short chiton with overfold is to be seen on the vase of Brygos representing the exploits of Theseus.

The cross-bands and shoulder-cords already mentioned are, strictly speaking, an element of the Ionic chiton, though they are sometimes represented in art over the Doric peplos. Their object is to hold the ample folds of the full chiton close to the figure, and to prevent the sleeves from slipping or flapping about with every movement of the wearer. The[p. 70] cross-bands are usually attached to the girdle and can be of one piece with it; their place is sometimes taken by a second girdle, worn rather high over the kolpos, as is the case with the Artemis of Gabii reproduced below (Fig. 37).

This high girdle was known as the ταινία, or ἀποδέσμος, whereas the low girdle was called περιζῶμα. A broad band, known as the στρόφιον, was sometimes worn by women under the breasts, to serve the purpose of modern corsets.[121]

A word or two must be said about the diminutives of χιτών—namely, χιτώνιον, χιτωνάριον, and χιτωνίσκος. We should naturally expect the words to mean a small or short chiton, but this does not seem always to be the case. The χιτώνιον and χιτωνάριον are frequently described as διαφανές, “transparent,”[122] and Eustathius (iii., 1166) explains the words as referring to a fine and luxurious dress worn by women. In the inscription to Artemis Brauronia[123] we read more than once of a χιτώνιον ἀμοργῖνον—that is, a garment made of linen from Amorgos, which we know was very fine and expensive; we may infer, then, that the diminutives χιτώνιον and χιτωνάριον refer to fineness of material rather than to shortness of cut. The case of the χιτωνίσκος is somewhat different; it is not referred to as being transparent, and is usually described in the inscription cited above as being very ornate. Women are frequently repre[p. 71]sented on vases[124] wearing over the long Ionic chiton a short and sometimes very ornate garment, which cannot be described as a himation. Possibly this short over-chiton is the garment indicated by the name χιτωνίσκος.[125] A similar garment was worn by musicians over the long ungirt chiton (ὀρθοστάδιος).[126] Another instance of a special dress worn for a special purpose is the costume worn by actors; it had long sleeves, and was probably padded to complete the impression of increased size produced by the high masks and buskins.

The himation worn over the Ionic chiton presents considerable variety of shape and arrangement. In very many cases we find that the Doric himation is worn, whether over both shoulders or only over one. In the Harpy monument, where we might have looked for Ionic dress in its purest form, we find the Doric himation worn over the fine linen-sleeved chiton, and on very many of the red-figured vases of the severe style this is the case. There is one set of monuments, however, which may be considered as Ionic in origin, or at least of Ionizing tendencies, where a far less simple garment takes the place of the Doric himation. This set includes the archaic female statues and flying victories of the Acropolis Museum at Athens, and a large number of small painted terra-cotta statuettes[p. 72] in the same museum, the sculptures of the Treasury of the Cnidians at Delphi, and a number of other statues and reliefs from Athens, Eleusis, Delos, and elsewhere. The dress presents a somewhat complicated appearance at first sight, and has given rise to a considerable amount of discussion. The following section is based upon a careful study of the original monuments and of the literature already written on the subject.


[p. 73]

V
THE MAIDENS OF THE ACROPOLIS
THE DEVELOPMENT OF THE IONIC HIMATION

The problem of the drapery of the archaic female figures in the Acropolis Museum has been considered by various archæologists, but has not yet been satisfactorily solved in all its details by any of them. The questions to be decided are: Firstly, are we to suppose that the draperies of the statues give us a faithful and realistic reproduction of a costume actually in fashion among the Athenian ladies at the close of the sixth century, or must we take into account the fact that the work is still archaic and the artists have not yet sufficiently mastered their material to be able to reproduce exactly what they saw before them? Secondly, what are the separate garments which constitute the elaborately complicated whole? And thirdly, how are these garments arranged so as to produce the effect seen in the statues?

The answer to our first question is to be found in a compromise lying somewhere between the two hypotheses suggested. The early artist, struggling[p. 74] with the technical difficulties of his art, is always ready, as soon as he has solved one problem to his satisfaction, to pass on to something which presents still greater difficulties and demands the exercise of still greater skill. The makers of the Acropolis maidens have advanced so far as to be able to infuse some sort of life into their work;—witness the lively expression on some of the faces. Moreover, in the modelling of some parts of the human figure they have reached a high degree of excellence. In the few cases in which the feet of the statues are preserved, a great degree of delicacy and refinement is displayed, which shows that the artists had attained some considerable power over their material. Having advanced so far, they feel themselves equal to facing the problem of representing drapery in sculpture. It is not to be supposed that at this stage of artistic development they would invent difficulties which did not naturally present themselves, nor would they attempt to represent anything that they had not actually seen; therefore, we must conclude that the Athenian ladies of the period actually wore a dress corresponding closely to that reproduced in art. At the same time, it must be remembered that the Greek artist in all probability did not work with a model constantly before him, so that we must expect some slight differences in detail on that account; furthermore, we must make some allowance for archaism; for example, in all the statues under discussion, the drapery does not fall freely away from the figure,[p. 75] but follows the lines of the form beneath in a manner impossible in real life.

Illustration: Archaic Statue—Athens, Acropolis Museum

Photo. by English Photographic Co., Athens.]

Fig. 31.—Archaic Statue—Athens, Acropolis Museum.

[Face page 75.

Having determined that the artists have represented a dress which was actually worn, we must proceed to consider the character of the dress as a whole, and of the parts of which it consisted. In giving a general description it will be best to take an example which exhibits all, or nearly all, the characteristics that can be collected from the various statues. No. 594 will serve our purpose. (Perrot and Chipiez, pl. xii.; Lechat, Au Musée de l’Acropole, fig. 16.)[127] The under-garment which appears on the neck and left arm is represented by a series of fine wavy lines, running parallel to one another, which give a crinkled appearance, and may possibly be meant to indicate a material which has undergone some special treatment in the making. This garment is finished at the neck and down the upper part of the arm by an ornamental border, originally painted, but from which the colour has now almost entirely disappeared. The lower part of the figure is covered by a very long and ample garment, which I shall hope to prove to be the same as that which covers the left shoulder and upper arm. This garment is ornamented with a broad and elaborate meander pattern down the middle of the front; and if the statue were not broken, we should probably see another border round the bottom. So far, the costume is comparatively simple; but above this[p. 76] under-garment is worn a cloak which passes under the left arm and is drawn up to the right shoulder, where it is fastened so as to hang in heavy vertical folds down the right-hand side of the figure, back and front; in most cases we shall find that the cloak is fastened by a series of buttons along the upper part of the arm, as far as the curve of the elbow. The example before us now has an additional wrap, which conceals the fastening down the right arm. The rest of the cloak, passing under the left arm, hangs in a series of oblique but almost vertical folds, running parallel to a box-pleat which starts from the shoulder. These folds are apparently held in place by a band passing under the left arm and fixed on the other shoulder. The upper edge of the cloak hangs over this band in a sort of little frill with a zigzag edge. The mass of folds lying close to the figure under the left arm represents the material which forms the sleeve of the chiton. The additional wrap seen in one or two of the statues is a very simple matter; it consists of a large scarf worn over the shoulders, hanging down to a point on the left-hand side; it leaves the left arm uncovered, passes round the back, and over the right shoulder. Instead of hanging straight down to a point in the right-hand side, the end of the scarf is turned up and thrown over the arm. The end is broken away in No. 594, but appears in another instance (No. 684, Acropolis Museum; Perrot and Chipiez, fig. 297, p. 592). Both cloak and scarf are[p. 77] bordered with patterns, of which the colour still remains to some extent.

Many theories have been advanced as to the various garments which compose the costume. It will be well to give a brief summary of them, and to point out wherein they fall short, and, if possible, to substitute one that is more satisfactory.

The chief point at issue is whether the skirt part of the drapery belongs to the chiton—that is to say, to the garment which appears on the neck and left arm—or whether it is part of the cloak which passes under the left arm and is fastened on the right shoulder. Collignon even distinguishes three garments; he believes that the skirt is the chiton proper, and that the crinkled texture of the piece which appears above the himation is meant to represent some sort of woollen jersey worn over the chiton, which he calls the “chitoniscus.”

The difference in texture comes out very plainly in those cases where the himation is worn over the shoulders like a shawl, or where it is omitted altogether; for example, in Nos. 670 and 671.[128]

At first sight it appears as though two separate garments were intended, but on close examination it will be found that the curved line which terminates the wavy lines of the upper section has not the appearance of an edge, but appears rather to turn under and to represent a pouch, formed by pulling the garment up through the girdle. Moreover, in[p. 78] some cases these parallel wavy lines appear on the skirt as well, and cover the whole surface with the exception of the mass of folds hanging down the middle of the front. This can clearly be seen in No. 687 (Lechat, p. 161), in a small statue of the same type from Eleusis, now in the National Museum, Athens, and in the relief of the Charites in the Acropolis Museum (Lechat, pl. 3). Again, the same technique is found sometimes introduced into the rendering of the himation. Frequently on the shoulder, when the cloak is fastened, a succession of these wavy parallel lines begins to appear, then stops suddenly, and the rest of the garment presents a smooth surface.[129] There can be no question here of a difference of material, nor of a separate piece of drapery, so that we must look for some other explanation of the different treatment. Lechat has offered one which is satisfactory and which finds confirmation in other monuments. He says “the difference in the appearance of the upper and lower part of the same garment is due to this: that in the lower part, all the superfluous material is gathered together in a single mass, and the rest is drawn tightly across the legs; while in the upper part, the material, being left free, falls in regular folds all round the body.” He further suggests that the regularity of the folds may be meant to represent some artificial treatment of the dress, such as is applied to the modern fustanella. The archaism of the work, however, is sufficient to account for this[p. 79] regularity in representing a series of very full folds in a fine material held in rather closely to the figure. The same kind of treatment appears on many of the red-figured vases of the best period. One from a vase by Euphronios is reproduced by Kalkmann (Jahrbuch, vol. ix.); it occurs also on the well-known Troilus vase by the same artist, and in numerous other instances (Klein, Euphronios, p. 215). Above the girdle the folds are represented by fine parallel wavy lines drawn very close together below by straight lines. In these cases there is no questioning the fact that only one garment is intended, so that we may conclude that in the case of the Acropolis statues too, there is no need to suppose that the difference in texture represents two separate garments of different materials.

Illustration: Archaic Statue—Athens, Acropolis Museum

Photo. by Mansell & Co.]

Fig. 32.—Archaic Statue—Athens, Acropolis Museum.

[Face page 78.

It has been suggested that there may be an intention on the part of the artist to indicate some kind of material that had a crinkled texture, such as that of some of the modern Greek stuffs; but if this were so, we might reasonably expect to find the same technique all over the garment, and the comparison with the vases shows that the supposition is not necessary.

We may conclude, then, that in those cases where the himation is omitted altogether, the figure is draped in a single garment, namely, the long Ionic chiton described above.

In the case of these statues, the chiton is exceptionally long; there is still some material left trailing on the ground after the formation of the[p. 80] deep “kolpos,” which necessitates the skirt being held up in one hand, so as not to impede walking. We are at once reminded of the Ἰάονες Ἑλκεχίτωνες of the Homeric Hymn to Apollo.

We have next to consider those cases—and they are in the majority—where another garment is worn over the chiton; and it is on this point that archæologists are at variance. Many maintain that the chiton only appears on the upper left-hand side of the figure, and that a very large cloak is worn over it, which covers the whole of the rest of the chiton, and has a deep overfold at the top and trails on the ground behind, being held up in front and drawn aside in the left hand. Studniczka supports this view, and calls the garment an “ionisirende Peplos.” Holwerda, in an article in the Jahrbuch for 1904, gives some drawings of some practical experiments he has made in draping a model in a garment of this kind. He supposes that it is cylindrical in shape, with a deep overfold, which is shorter on the shoulder than elsewhere, and so produces a zigzag line along its lower edge when draped; a girdle is worn underneath the overfold, through which the superfluous length left by shortening the overfold on the shoulder can be drawn. He supposes that the garment was drawn tightly round under the left arm, and that its upper edge formed the frill which we see in many of the Acropolis statues. A comparison between his finished model and the statue which he reproduces beside it serves to show the points wherein his theory falls short; it in[p. 81] no way accounts for the vertical folds of the cloak, nor for the tight band which appears passing under the left arm and fastened on the right shoulder. Amelung, writing in Pauly-Wissowa’s Real Encyclopädie, and Professor E. A. Gardner, in his Handbook of Greek Sculpture, maintain that the garment is simply a Doric peplos fastened on one shoulder instead of both, and held in place by a tight band, under which the width of the peplos is arranged in vertical folds. The main objections to this theory are that the Doric peplos is invariably fastened in one place only on the shoulder, whereas the fastening of the garment in question is continued by a series of brooches down as far as the elbow; the result would be to leave a very heavy and cumbersome mass of material hanging from the right arm, which would seriously impede any active motion. Moreover, it leaves out of account a piece of material which appears almost invariably in front, below the zigzag edge, where it is drawn up highest.[130] Holwerda takes it to be a girdle, but it has not the appearance of a girdle; it hangs over the material that falls from below it, and does not cut into the soft stuff in the way in which a girdle would. That the makers of these statues knew how to represent a girdle is plain from No. 679,[131] where the Doric peplos is worn over the Ionic chiton. In this case the peplos is consider[p. 82]ably shorter than the chiton, so that the latter garment is plainly seen below the peplos, which only hangs down to a distance somewhat above the ankles. The Caryatid of the Cnidian Treasury at Delphi has the girdle clearly represented below the box-pleat by two parallel, horizontal, incised lines. On the frieze of the same building some of the figures are represented wearing the Doric peplos as an over-garment; in these cases also it is shorter than the chiton, which invariably appears below it at the feet. An archaic statue from Rhamnus, in Attica, now in the British Museum, has the crinkly chiton showing at the feet, and over it a himation with a deep overfold reaching considerably below the waist; in addition to this overfold a pleated frill appears over the breast, but no band is visible; the frill, however, is deeper than is usually the case in the Acropolis statues, and might be intended to conceal a band. This over-dress is sewn up at the side, and in that respect resembles the Doric peplos. It is significant that in this case, where the garment might with more reason be regarded as a Doric peplos let down from one shoulder, the chiton is seen appearing below it at the feet, and the over-dress does not reach to the ankles. In the few cases where the feet of the Acropolis statues are preserved, it will be noticed that the skirt is held up fairly high towards one side, so as to display the ankle. If a long under-garment were worn, we should expect its lower edge to be seen here; but in no instance is that the case, so that we may conclude[p. 83] that the skirt itself is the under-garment. Those who maintain that the skirt belongs to the upper garment support their opinion by the fact that very frequently the ornamentation on the two different parts is the same; the natural colour of the marble is left as a ground, and the decoration consists of coloured borders and patterns dotted somewhat sparsely over the surface. The part of the dress which appears on the left shoulder is frequently painted all over, and we might have expected that if the skirt belonged to the same garment it would also be painted all over. But before accepting this argument as conclusive, it will be well to consider the nature and purpose of polychromy as applied to Greek sculpture.

In the early days when inferior materials were used for sculpture, colour was applied to them to conceal the poverty of the stone and to produce a more pleasing surface than that offered by the rough material at the artist’s disposal. These coarser materials were not capable of such careful finish, or of producing such a lively play of light and shade, as the marbles later used, and the only way to give them animation was by the application of colour all over the surface. It became, therefore, a regular practice for early Greek sculptors to paint their statues. When, however, they began to use more beautiful materials, such as marble, they recognised that it was a pity to conceal its texture by the extensive application of colour. They therefore adopted the practice of submitting the surface of[p. 84] the marble to a process of polishing, and adding colour only in parts, the effect being that the beauty of the marble is enhanced by the contrast between its polished surface and the coloured parts of the statue. The range of colours used is somewhat limited and conventional. For example, in the early pediment groups from the Acropolis, we find red used for human flesh; and the colours used in the draperies of the Acropolis female statues are limited to red and blue. Both eyes and hair are invariably red. We may infer, therefore, that colour was not added with a view to reproducing nature faithfully, but simply to decorate the statues. If, therefore, the artist felt that a white surface of marble with a few patterns sprinkled over it produced a more pleasing effect than a surface coloured all over, he would use this method of decorating his work, even if it were not realistic; and he would prefer to treat large surfaces of drapery in this way, rather than colour them all over. When, therefore, in these statues, we find that the small surface of the chiton which appears on the upper part of the figure is coloured all over, we need not conclude that the skirt belongs to another garment because it is differently ornamented; had so large a surface been painted all over, the effect would have been far less pleasing. The difference in the decoration of different parts of the same garment need in no way surprise us; it occurs very frequently in the black-figured vases, where we get purple used for the upper part of a garment and black for the lower,[p. 85] simply with the object of producing variety. The argument from the application of coloured ornament will not help us, then, in this case, especially when we find that it can be used to support either view. Professor Baldwin Brown has pointed out that some terra-cotta figures[132] in the Acropolis Museum, which are draped in the same style as the archaic statues, have the under-garment covering the shoulder and the skirt painted in one colour, and the part which passes round the figure under the left arm in another, and he uses this fact as a piece of evidence to show that the skirt is part of the chiton and the rest a separate garment.[133] It will be safer, therefore, in considering the different garments which constitute the dress, to leave the question of colour out of account altogether, and to base our arguments only on their form. Many who maintain that the skirt is part of the chiton, are of the opinion that the upper garment is the ordinary himation with a small overfold, fastened on the shoulder and down the arm. Lechat supposes that the upper edge is taken up and drawn from beneath and folded over on itself, so as to form a sort of thick pad at the top, and he suggests that the pleats were folded before the cloak was put on, and perhaps even ironed; but this arrangement would not produce the vertical folds which we find in almost all the statues.

[p. 86]

Kalkmann[134] calls the garment a “stilisirte himation,” and suggests that the vertical lines are continued round the figure because the artist had great difficulty in representing the transition between the vertical folds which hang down from the arm and the horizontal ones of the overfold. This explanation, however, does not account for the frill-like edge which appears at the top of the himation. Professor Baldwin Brown[135] has published some good photographs of a model draped in this Ionian himation, but has not given a very full or satisfactory explanation of how the effect was produced. He says that the secret of the dress is that “the upper edge of it, with all the folds, is tightly rolled over so that it is shortened in the front, while at the same time the folds are kept in their places.” He admits that the folds will only keep in place on a “motionless wearer of imperturbable patience,” and therefore supposes that the dress was evolved for use on the wooden xoana. It seems unlikely that a special dress of such an elaborate nature should have been evolved to drape these early wooden images, and there is no reason to suppose that the series of Acropolis statues are merely reproductions of such images. They appear much rather to represent the grand Athenian ladies who dedicated themselves symbolically to their patron goddess by setting up statues of themselves in her honour. Since the statues were probably intended to be set up permanently in a conspicuous[p. 87] place, it is natural that the votaries would like to see themselves appearing in their best clothes.

A careful study of the statues themselves and a consideration of all the evidence bearing on the question leads to the conclusion that the complete costume consists of two garments, a long under-dress, which may be regarded as the usual indoor costume of the Athenian ladies of the sixth century, and a mantle worn over it for out of doors; occasionally a scarf or shawl is worn as well over the mantle, perhaps for additional warmth, perhaps only for ornament. The under-dress consists of the long linen Ionic chiton, a wide cylindrical garment fastened by brooches or sewn down both arms so as to form sleeves; a girdle is worn round the waist, and the superfluous length of the material is drawn up over this girdle so as to form a deep pouch; sometimes this pouch is worn all round the figure, sometimes, as is apparently the case in a large seated figure of Athena, the pouch is formed only in front. On some occasions[136] we find that the chiton, in addition to the pouch, has an overfold from the neck resembling the ἀπόπτυγμα of the Doric peplos. This overfold sometimes only covers the chest and sometimes hangs down considerably lower. Such an overfold is very frequently found on vases; in some cases its material may be of one piece with that of the rest of the chiton, as it appears on one of the Nereids from the so-called Nereid monument; but in those many cases where it only appears[p. 88] between the shoulders and does not extend also along the arms, it is quite possible that it may be a separate piece of stuff sewn on to the chiton at the neck. It is probably the edge of such an overfold that appears at the waist below the himation on the Acropolis statues; no other satisfactory explanation of this detail of the costume has at present been suggested. It is unlikely that it represents the “kolpos,” because in all cases, with one possible exception (No. 676; Lechat, fig. 29), a border is painted on it, indicating that it is an edge and not a pouch. It has been suggested that this overfold was sometimes made of a different kind of material from the chiton on to which it was sewn, and that this material was a silk or linen of a crinkled texture, indicated by the wavy parallel lines which appear on the statues. The fact that this treatment appears sometimes also on the skirt and on the upper part of the mantle, diminishes the probability of this hypothesis, and makes it appear more likely that this kind of technique was simply used to represent very full folds in a fine material. Such a treatment may have been suggested to the artist by familiarity with some material of a crinkled texture, such as that used for sheets and table-cloths in some Greek villages to-day.

With regard to the ornamental patterns which adorn the chiton, we find borders at the feet and at the edge of the overfold, also strips of ornamentation running round the neck and along the arms and round the arm-holes, and almost invariably a[p. 89] broad band running vertically down the front of the lower part of the chiton. In addition to these strips and borders we also get stars or small floral designs scattered over the whole garment. The bands which appear at the edges are easy to understand; they were either woven in the material of which they were made, or, more probably, embroidered on to it afterwards; but in those cases where the overfold is worn and a pattern appears at its edge and also along the neck and arms, we must suppose that this latter was applied after the sleeves were formed and the overfold attached. Possibly, also, the vertical band on the lower part of the chiton represents a separate strip of embroidery sewn on to the garment. The Greek women probably occupied a large proportion of their time in embroidery; and since a good piece of embroidery lasts for very many years, it is quite possible that when the original garment was worn out, they may have cut off the strip of still good work, and sewn it on to a new dress. The only other explanation of the numerous patterns which appear on the statues, is that the artist simply applied ornamentation wherever it pleased his fancy to do so; this is less satisfactory than to suppose that he was representing something which he actually saw.

Illustration: Diagram of the Archaic Ionic Himation

Fig. 33.

Turning to the himation or mantle worn over the chiton, the simplest method of producing the effect seen in the Acropolis statues was found by experiment to be by taking a piece of material between 5 and 6 yards long and about 18 or 20[p. 90] inches wide. This was folded double, as in the diagram at the point a, so that the points b and b′ met. Then at the points c and c′, at equal distances from the corners, and cutting off at little less than one-third of the wide length of the stuff, the two upper edges were fastened together on the model’s right shoulder, a few pleats or gathers being taken in the material on each side. A series of such fastenings was made along the upper arm, as far as the points d and d′, which reached to the model’s elbow; the rest of the stuff, as far as the points b and b′, was allowed to hang down from the elbow. The part of the material c to c′ passed under the left arm and was arranged in a series of regular oblique folds running parallel to the box-pleat, which formed itself naturally at the first fastening on the shoulder—that is to say, at the points c and c′; these folds were held in place by a band passing under the left breast, drawn rather tightly round the figure and secured firmly on the right shoulder. In order to make the lower edge of the cloak rise in the middle, as it does invariably in the statues, it was found necessary to draw the folds up over the band and let the upper edge fall over, forming a kind of frill. The frill, however, hung down too low, and it was[p. 91] this fact that suggested cutting the upper edge of the cloak out in a curve, or rather in two curves, one at the back and one at the front, leaving the part under the left arm longer than that in front and behind. When these curves were cut out and the garment once more arranged in its pleats, the little frill-like edge hung of itself over the band, just in the way in which it appears in some of the statues. The band alone held the folds fairly well in place; but in order to prevent the possibility of their slipping, the Athenian ladies probably had them stitched on to the band. It would be quite easy to slip the garment on and off over the head without even unfastening it on the shoulder.[137]

Illustration: Drapery in the Style of the Archaic Statues in the
            Acropolis Museum, Athens

Fig. 34.—Drapery in the Style of the Archaic Statues in the Acropolis Museum, Athens.

[Face page 91.

The variations in detail which appear in the different statues can easily be produced by arranging the folds in a slightly different fashion. In some cases, as for example in No. 674 (Lechat, pl. 1), the folds hang quite upright instead of obliquely, and the box-pleat appears in the middle instead of hanging from the shoulder; this can easily be produced by turning the folds first in one direction and then in the opposite. The folds of the frill sometimes hang in the opposite direction to those of the main part of the mantle; this is simply a mistake on the part of the artist. Occasionally the frill does not appear at all, for example in No. 686 (Lechat, fig. 37), but the cloak hangs straight down from the broad band. In this instance we must[p. 92] suppose that the overhanging mass of material has been cut away entirely before the folds were attached to the band.

Sometimes the two ends were sewn together along the lines be and b′e′, and in this case the last fastening, indicated by the letters d and d′, approached nearer to the points b and b′, so as to leave an opening only sufficient for the arm to pass through.

The detail of the cloak which presents most variety is the little frill-like edge which falls over the band. Sometimes it appears to be a natural continuation of the vertical folds which hang down below it, and it falls over the band so as almost to hide it; sometimes it is shorter, and reveals the band and forms a sort of leaf-like pattern above it; in other cases it disappears entirely. Its most realistic representation is in one of the Victories in the Acropolis Museum, where the corners c and c′, formed by cutting the curves, are actually indicated on the shoulder, and the frill lies in an irregular zigzag, almost exactly as it was found to fall in practice.

In two cases in the Acropolis Museum at Athens, and in a statue at Delphi, the band does not pass under the arm, but from shoulder to shoulder, and the cloak covers both arms symmetrically, being fastened down both alike with a series of brooches. In these cases the box-pleat falls in the middle, and the curve must necessarily have been considerably smaller, since the upper edge lies much higher up towards the neck. When the cloak was worn in this way, it was probably sewn up[p. 93] down both sides, and the curves for the neck, back and front, were naturally equidistant from the two side-seams. The openings for the arms would come at the ends of the top edge, as in the case of the Ionic chiton.

Illustration: Vase-painting—British Museum

Fig. 35.—Vase-painting—British Museum.

[Face page 93.

The style of dress represented by this set of monuments is certainly the most luxurious which we find in Greek art at any period. Now the date of the Acropolis maidens can be fixed at some period certainly not later than the last quarter of the sixth century. Solon’s sumptuary law regulating women’s dress must have been enacted during the first years of the sixth century, so that we may conclude that these dainty ladies with their chitons, cloaks, and scarfs represent the height of luxury in dress which was possible after the passing of that law: their self-satisfied smile seems to be inviting approval of the degree of elegance to which their ingenuity could attain, even though a stern law-giver had limited the number of their garments to three.

This style of dress seems to have passed out of fashion at the end of the sixth century, or in the early years of the fifth, for we find it only in the early works of sculpture already mentioned. An attempt to render it is frequently made by the artists of the early red-figured vases—sometimes with some success; but more often the attempt results in a confusion between this somewhat elaborate style of cloak and the simpler development which it took later. Fig. 35 shows a fairly successful attempt to represent the dress. Here we have the band passing[p. 94] round the right shoulder and the vertical folds falling from it, but the frill and the fastening down the right arm are omitted. Possibly they taxed the artist’s skill too greatly; possibly the style had already passed out of fashion in real life. But he would be moderately familiar with the maidens on the Acropolis, although perhaps not sufficiently so to be able to reproduce their costume in detail. Working daily in his little shop down below in the Cerameicus, perhaps he did not very frequently mount the citadel, where he might study the art treasures that adorned it. Possibly even the vase is not earlier than 480 B.C., and the picture is but a reminiscence of the statues that the artist had seen on the Acropolis previous to their burial at the coming of the Persians. Very often on the vases we find the vertical folds represented falling from beneath a series of horizontal folds obviously formed by turning over the top of the cloak before fastening it on the shoulder. Here the band and fastening down the arm are omitted.[138] The place of the frill is taken by an overfold of the cloak before it is put on, and it is fastened by a single brooch on the shoulder; the material is allowed to hang in natural folds, and the necessity of cutting a curve in the upper edge is obviated by the fact that no band is worn, and the stuff is not arranged in artificial vertical folds. This style of cloak appears already on the figure of Apollo, on the relief from Thasos in the Louvre; it is seen most clearly in[p. 95] the Artemis of Gabii.[139] It was probably developed from the earlier and more elaborate form of cloak by gradual stages, first by omitting the artificial folds and the band which held them in place, and then by omitting the numerous fastenings on the arm. This would necessitate an alteration in the shape of the cloak; it would naturally become more square. Kalkmann, in the article already referred to, fig. 17, represents an intermediate stage in this development, where a large cloak is worn without band or frill, and is fastened by a series of several brooches down one arm. Were it not for this representation of the transition stage, we might be inclined to class the cloak of the Artemis of Gabii as a development of the Doric peplos, which it resembles in having an overfold and being fastened by a single large brooch on the shoulder; and indeed these two elements are probably due to the influence of the Doric dress, and we should therefore, perhaps, more rightly call the final form of the cloak a blending of the two styles rather than a development of either the one or the other.

Illustration: Vase-painting—Ionic Dress

Fig. 36.—Vase-painting—Ionic Dress.

[Face page 94.

Illustration: The Artemis of Gabii—Louvre

Photo by Mansell & Co.]

Fig. 37.—The Artemis of Gabii—Louvre.

[Face page 95.

As early as the beginning of the fifth century we find the two styles becoming confused and mingled together. The Doric peplos is worn as an over-dress over the Ionic chiton, even by one of the “Maidens” of the Acropolis, and later on the commonest form of outdoor dress for women was the Ionic chiton with the Doric himation over it. This combination appears in the so-called Fates of the Parthenon pediment. Frequently we find this[p. 96] blending of the two styles in a single garment; we find also on vases the overgirt Doric peplos with sleeves formed by a number of brooches;[140] and again, with cross-bands, which belong properly to the Ionic chiton.[141] Some authorities, pinning their faith entirely to Herodotus, consider that the brooch is an element which belongs strictly only to the Doric dress; they therefore regard the chiton with pinned sleeves as a mixture of the two. An over-garment not very simple in form, which can be regarded as neither Doric nor Ionic, but a mixture of both, is illustrated by Fig. 38. Kalkmann regards it as a number of overfolds or flounces sewn separately on to the chiton. It seems more reasonable, however, to regard the part of the dress which appears on the arms and at the feet, and which is made of a plain material, as the chiton, and the rest which is ornamented with a pattern, as a separate over-garment. This garment has three edges, at the waist, hips, and ankles, so that it is obviously not merely an ordinary rectangular himation, nor a simple Doric peplos with overfold. It seems simplest to explain it as a Doric peplos with deep overfold, ungirt, having a short false overfold to the waist sewn on over the real one at the neck. Such over-garments never occur in sculpture and only rarely on the vases, and may possibly be an error or invention on the part of the vase-painter; if commonly worn, they would probably be more frequently represented in art.

Illustration: Vase-painting—Dress with two Overfolds

Fig. 38.—Vase-painting—Dress with two Overfolds.

[Face page 96.


[p. 97]

VI
MATERIALS AND ORNAMENTATION

The fabrics in use for Greek dresses presented considerable variety. The commonest materials were naturally woollen, but linen and silk were used for more luxurious garments, and a kind of leather jerkin known as διφθέρα[142] was sometimes worn by peasants.

That the woollen materials used themselves varied considerably in texture, is proved by some fragments actually found in a tomb at Kertch in the Crimea, and published in the Comptes rendus in 1878. These date for the most part from the fourth century B.C., but one at least probably goes back to the fifth century. They are in most cases rather loosely woven, so that the separate threads are clearly visible, and a bright object could be seen through the material. The oldest piece is composed of such fine threads that it is almost transparent; other pieces have a texture not unlike that of woollen crêpe. A somewhat coarser piece, the threads of which are very strong, has a portion of a seam remaining, which is oversewn with strong[p. 98] woollen thread. In addition to very finely woven woollen materials, the more luxurious of the Greeks wore also many varieties of linen, and in some cases even silk. Pollux tells us that the long linen chiton was worn by the Athenians and Ionians, and many references are to be found in ancient literature to different kinds of linen, coming from places usually in Asia or the more easterly of the Ægean islands. Of these the most commonly mentioned are ἀμόργινα, garments made of linen from the flax of Amorgos, and βύσσινα, made of βύσσος, a yellowish kind of flax, coming especially from India and Egypt. We learn from Aristophanes[143] that the χιτώνιον ἀμόργινον was transparent, so that we may conclude that the linen from which it was made was very fine indeed; perhaps it resembled a very fine cambric. That βύσσος was a linen of some kind, we are told by Pausanias,[144] and Pollux gives us the information that it came from India. That it was known in Egypt also, is testified by Herodotus,[145] who tells us of its use for mummy-cloths. It was probably rather a mark of luxury when worn by the Greeks, for Simætha[146] tells us that she wore a χιτών of it when going out on a festive occasion.

Of materials which come under the heading of silk, three kinds were known to the ancients. We read in Latin authors of vestes coæ, bombycinæ, and sericæ, and these were also known to the Greeks. Aristotle[147] is the first of the ancient writers who[p. 99] tells us anything of the production of silk. After describing the various changes undergone by the worm before becoming a moth, he gives us the following information:—

Ἐκ δὲ τούτου τοῦ ζῴου καὶ τὰ βουβύκια ἀναλύουσι τῶν γυναικῶν τινές ἀναπηνιζόμεναι, κἄπειτα ὑφαίνουσιν· πρώτη δὲ λέγεται ὑφῆναι ἐν Κῷ Παμφίλη Πλάτεω θυγάτηρ.

“Some women undo the cocoons of this creature, winding off the silk, and then weave it; and Pamphile, daughter of Plateus, is said to have been the first to weave it in Cos.” This implies that the manufacture of silk was carried on in Cos, but no information is given as to whether the worm was reared in that island or whether the raw silk was imported. Pliny[148] tells us more on the subject; he seems to distinguish the three kinds of silk mentioned above. Of these three, only “sericum” is, strictly speaking, silk—that is to say, a material made by unwinding the cocoon of the silkworm reared on the mulberry tree. This worm is first mentioned by Pausanias.[149] It was the Chinese who discovered this method of procuring the silk, and it was apparently unknown to the Greeks and Romans. The “coa” and “bombycina” were procured by piercing and carding the cocoon instead of unwinding them entire; the result was a substance coarser and less brilliant than silk. Pliny draws a distinction between “coa” and “bombycina,” telling us that the latter was a product of Assyria and came from the ordinary mulberry worm, whereas the[p. 100] worm from which coan silk was procured was reared on other trees, notably the oak, ash, and cypress.[150]

Coæ vestes are frequently mentioned by the Latin poets, chiefly Horace, Tibullus, and Propertius, and from them we learn that they were chiefly worn by Hetairæ and were of a transparent texture;[151] sometimes they were purple and had gold threads interwoven or embroidered.[152] One piece of silk was found amongst other materials at Kertch. In colour it is a bronze-gold, and is woven in a lozenge pattern.

If Greek dress lacked variety of cut and material, the deficiency was to some extent made up by considerable gaiety of colour and ornamentation. Probably none but slaves and artisans would wear garments of one colour without pattern or ornamentation of any kind, and even they would sometimes have their dresses adorned with a simple border, such as a broad stripe. From the numerous references scattered up and down through extant literature, it appears that the favourite colours were purple, red, and yellow. Pollux[153] gives us a list of the colours most commonly used. This list includes green (βατραχίς) and gray (κίλλιον, ὀνάγρινον), in addition to those mentioned above, but strangely enough no mention is made of blue. The word[p. 101] κυάνεος, “dark blue,” is seldom if ever applied to garments, yet it is scarcely likely that the colour was unknown to the Greeks. Possibly some shades described as πορφύρεος approached a violet, or blue, as distinguished from ἁλοῦργος, “true purple.” For red we find the word φοινίκεος, “dark red,” used especially of the military cloak of the Lacedæmonians,[154] and κοκκοβαφής, “scarlet”; for yellow κροκωτός and θάψινος. Βατραχίς, “frog-coloured,” is the word applied to a green garment, and this is probably the colour described as ὀμφάνικος, “like unripe grapes.” Pollux[155] tells us that for mourning the Greeks wore φαιὸν καὶ μέλαν ἀλλήλοις ἔγγυς, “gray and black, very like each other.” From this we learn that φαιός was a very dark colour, probably gray or dun.

The ornamentation applied to dress by the Greeks was very varied in character; it is comparatively rare to find on Greek vases a dress that is entirely free from decorations, and the patterns represented are very numerous. Sometimes the ornament consists of a simple border, often of a pattern distributed all over the dress, and these designs are frequently of a very elaborate character, including animal and even human forms. In sculpture, too, this feature was not neglected; the maidens of the Acropolis at Athens all have some pattern on their draperies added in colour, and one of them has no less than seven different designs distributed over her costume. We know that the[p. 102] himation of the Olympian Zeus by Pheidias was richly decorated, and the fragment from Damophon’s great group at Lycosura will serve as a later example of sculptured drapery highly ornamented with patterns in relief. This has not only geometric and floral designs as borders, but the whole surface is covered with fantastic dancing figures of human and hybrid forms.

References in literature are not very frequent; the most noteworthy occurs in the Iliad,[156] where Helen is described as working at a great loom:

ἣ δὲ μέγαν ἱστὸν ὕφαινεν

δίπλακα πορφυρέην, πολέας δ᾽ ἐνέπασσεν ἀέθλους

Τρώων θ᾽ ἱπποδάμων καὶ Ἀχαιῶν χαλκοχιτώνων.

“She was weaving a great purple web of double fold, and over it she spread many battles of horse-taming Trojans and bronze-clad Achæans.”

The epithet ποικίλος, applied to dress, undoubtedly means “richly decorated,” and the ἀνθινά, “flowered garments,” frequently mentioned in inscriptions, presumably refers to garments ornamented with floral designs. In connection with the passage in Homer, the question has been raised as to whether these complex designs were woven into the material or embroidered afterwards. It seems hardly likely that they were woven in, unless the work were a heavy tapestry, such as would hardly be suitable for a costume; moreover, the word ἐμπάσσω means “to sprinkle on,” and is more easily applicable to the distribution of a design over a piece of material[p. 103] already woven than to the formation of a pattern in the course of the weaving. The words μέγαν, ἱστὸν, and ὔφαινεν would still be applicable, because when the garment was at this stage, it would still be regarded as incomplete, and the designs, however applied, would probably be at least sketched out while it was still on the loom.

Illustration: Fragments of a Sarcophagus Cover from Kertch

Fig. 39.—Fragments of a Sarcophagus Cover from Kertch.

[Face page 103.

Among the fragments of materials found at Kertch were some which were embroidered, others which had simple geometrical designs woven into the borders; in addition to these there were some considerable fragments of a large sarcophagus cover, the ornamentation of which is strongly reminiscent of Greek vase-painting of the fourth century. The ground is black and is covered with designs in red and light terra-cotta; the ornamentation is divided into bands, and consists of battle scenes with chariots, and birds and beasts scattered about the field of the design; the bands are separated by different patterns, many of which are frequently met with on vases. These include the egg and dart pattern, ivy and laurel wreaths, large palmettes, and many others.[157] Names are inscribed against some of the figures, among others ΝΙΚΗ, ΑΘΗΝΑΙΗ ΙΟΚΑΣΤΗ, (Ι)ΓΓΟΜΕΔΩΝ, etc.

These designs are not embroidered, nor are they produced in the course of weaving the cloth; they are apparently drawn out by means of some pigment applied after the material was woven. Herodotus tells us[158] that the people of the Caucasus[p. 104] used to paint animals on their clothes with some vegetable pigment which they mixed with water. Some such procedure, then, must have been practised by the Greeks of the fourth century, which is the date assignable to the fragment in question, on the evidence of the inscriptions.

The designs applied to Greek dresses presented abundant variety, as is evidenced by extant monuments, especially by the vases; they may be roughly classed as geometric, floral, and those containing animal and human forms. Of the geometric designs some are rectilinear, others curvilinear. The favourite rectilinear borders are broad lines, parallel rows of zigzag lines, the mæander or key pattern in very many forms varying from the simple running mæander to a complicated double fret, broken at intervals by stars or chequers. In addition to these borders we frequently find a chequer pattern covering the whole surface of a garment. A kind of net pattern, often seen on vases, was very probably used in dresses also. Of the curvilinear designs the most common are the “guilloche” or plait-band, the simple spiral, and the κυμάτιον or wave pattern. On the black-figured vases a kind of scale pattern frequently occurs covering a wide surface.

A very great variety of floral designs was used by the Greeks for ornamentation of all kinds; they are very frequent as part of the scheme of decoration of vases, especially of those of Ionic origin. A favourite pattern is a simple laurel wreath like that depicted in Fig. 39; the ivy also forms the basis of[p. 105] more than design. Sometimes it takes the form of a row of leaves on either side of a straight line; more often the leaves alternate with tendrils and berries. By far the commonest and the most beautiful of floral designs are those made up of lotus buds and flowers and palmettes. Sometimes we find the lotus alone forming the motive of the design, sometimes it alternates with palmettes. A very graceful pattern is composed of oblique palmettes turned in opposite directions and connected by spirals.[159] That these designs so commonly used for the decoration of pottery were employed also in the textile arts is proved by some of the fragments found at Kertch. Quite considerable remains were found of a piece of woollen material elaborately embroidered with a large floral design (Fig. 40), the main motive of which is a graceful palmette, from the base of which spring spirals terminating in heart-shaped leaves and flowers. The design is executed in gold and green on a violet ground.[160]

Illustration: Embroidered Fragment from Kertch

Fig. 40.—Embroidered Fragment from Kertch.

[Face page 105.

Animal and human forms are naturally less common than geometric and floral designs. Mention has already been made of the wonderful diplax woven by Helen, in which she represented scenes of battle between Trojans and Achæans. In art we find that goddesses are frequently depicted wearing garments covered with elaborate ornamentation of this kind. The François vase will afford several[p. 106] examples, and in later art the dress of Demeter on the Triptolemus vase by Hieron,[161] and the sculptured drapery from Damophon’s group at Lycosura, may be quoted. That mortals also indulged in such luxurious ornamentation is proved again by the Kertch fragments. One of the most charming pieces found there had a very naturalistic design of ducks embroidered in gold and green on a dark-brown ground (Fig. 41 c); another piece had a figure of an Amazon riding on horseback; and mention has already been made of the sarcophagus cloth covered with battle scenes.

Illustration: (a and b) Fragments of a Sarcophagus Cover from
            Kertch. (c) Embroidered Fragment from Kertch.

Fig. 41.—(a and b) Fragments of a Sarcophagus Cover from Kertch. (c) Embroidered Fragment from Kertch.

[Face page 106.


[p. 107]

VII
HAIR AND HEAD-DRESS

The manner of wearing the hair seems to have varied considerably at different periods, both for men and women. In pre-Hellenic times it was, for the most part, if not invariably, allowed to grow long. On the frescoes from Knossos we find the cupbearer and other male figures represented wearing their hair in long, wavy tresses reaching to the waist or thereabouts. On Mycenæan gems and rings, where warriors are represented wearing helmets, the hair is frequently concealed, so that it is impossible to determine whether it was worn short or bound up in some manner, so as to be out of the way. The ivory statuettes of athletes from Knossos have long hair,[162] so that in all probability that was the prevailing fashion among men in Crete. Among women in pre-Hellenic times, the fashion was to wear the hair long; the snake goddess and her votary have hair that reaches far past the waist, and in almost all extant art of the period the hair of the women is represented as being abundant. It is frequently worn in long tresses down the back[p. 108] (compare the dancing girl, Fig. 4) and arranged rather elaborately in front in curls, which sometimes suggest artificial treatment; sometimes the hair is done up at the back or top of the head, in modern fashion.

In the Homeric poems we read of the “long-haired Achæans,”[163] so that the sight of men with long hair was obviously familiar to the poet. From the passage which describes Andromache’s swoon,[164] however, it is clear that the women of the poet’s day bound their hair up, using nets and kerchiefs and other appurtenances both useful and ornamental.

Illustration: Men’s Head-dress—Archaic

Fig. 42.—Men’s Head-dress—Archaic.

[Face page 108.

Coming down to historic times, we find that before the Persian wars both men and women wore their hair long. After the middle of the fifth century a change took place, the men cutting their hair short for the most part, the women binding it up. The story of the Lacedæmonians combing their long hair when the Persians were close upon them is familiar (Herodotus, VII., 208). Extant monuments show us that before the Persian wars the men adopted various methods of disposing of their long hair: sometimes we see it worn loose with a simple fillet tied round the head;[165] sometimes the long ends are turned up and tucked in under the fillet;[166] sometimes they are turned up and held together by an additional band. This is the case with a bronze head from Olympia,[167] where, however, some locks seem to have been left free on the neck.[p. 109] A relief in Athens, representing a Discobolus holding the “discus” behind his head,[168] shows the hair probably divided and twisted together in two coils fastened tightly at a little distance from the end by a ribbon, or possibly by a metal spiral.[169] The golden τέττιξ mentioned by Thucydides (I., 6) was obviously some kind of ornament inserted in the hair to hold the “chignon” in place. It has been shown by Helbig[170] that this was probably a metal spiral or series of rings used to bind together the ends of the long hair; such a style is frequently represented in the art of the end of the sixth century and beginning of the fifth. The bands represented in Fig. 42 (c) are possibly intended for such metal rings. Helbig’s view is supported and confirmed by Studniczka.[171]

Probably the knot of hair bound up on the nape of the neck, as in the above examples, represents the κρωβύλος or κόρυμβος mentioned in Thucydides and elsewhere in literature. In later times this name was applied to the knot of hair on the top of the head which occurs so frequently in statues of Apollo; but there is no evidence to show that it was worn in this position before the fourth century at the earliest.

A style very commonly exemplified by extant statues of Apollo, dating from the early part of the[p. 110] fifth century, is to tie a fillet round the head and roll the long hair tightly over it, tucking the ends in usually behind the ears.[172] These ends are, however, sometimes allowed to hang down on the neck. Athletes very frequently disposed of their long hair by braiding it into two plaits from behind; these they crossed or brought round the head, fastening the two ends together in front.[173] Sometimes the short hair in front was combed down over the plaits, so as to conceal their union.

Illustration: (a) Head of Apollo from the Temple of
            Zeus, at Olympia. (b) Head of an Athlete—Athens Acropolis
            Museum.

Fig. 43.—(a) Head of Apollo from the Temple of Zeus, at Olympia. (b) Head of an Athlete—Athens Acropolis Museum.

[Face page 110.

The date of the change of fashion is impossible to fix. We find the athletes of Myron and Polycleitus represented with short hair, but long-haired Apollos are found considerably after their date. The change took place, in all probability, shortly after the Persian wars; it then became the fashion for Ephebi to cut off their long hair, which they consecrated to Apollo and Artemis or to a river god.[174] When once the change had come about, long hair was considered, in Athens at least, as a mark of affectation or effeminacy. In The Wasps of Aristophanes,[175] Amynias, the typical fop, is designated by the name of οὑκ τῶν Κρωβύλου, “he of the ‘chignon,’” and in The Clouds the wearing of the τέττιξ is spoken of as a fashion quite out of date, or, as we might say, antediluvian. There is some uncertainty as to whether the Lacedæmonians wore their hair short or long; some authorities[p. 111] state that even in the fourth century they still wore it long as a mark of freedom, and since they were more conservative than the rest of the Greeks, it is quite possible that this was the case. With this possible exception, the custom of wearing the hair short continued, though Alexander probably set the fashion of wearing rather long and mane-like hair.

Illustration: Archaic form of Petasos

Fig. 44.

A covering for the head was rarely worn by men, except when riding or travelling long distances; in these cases the πέτασος was worn as a protection against sun and rain. This consisted of a felt hat with broad brim, which could be turned up or down. Figs. 44, 22, and 23 represent its various shapes, Fig. 44 being the earliest form. The πέτασος, like the χλάμυς, which it almost invariably accompanies, probably came originally from Northern Greece, Thrace, or Thessaly, where more protection was needed against cold and inclement weather. Another head-covering, worn by sailors and by the god Hephaistos, is the πῖλος, a felt cap of conical shape resembling the modern fez.[176]

Illustration: Women’s Head-dress

Fig. 45.—Women’s Head-dress.

[Face page 112.

Extant monuments show that before the Persian wars women for the most part wore their hair down, although instances occur where it is fastened up with bands or fillets. When worn down it was usually held in place by a fillet, and frequently a metal ornament, rather high in front and narrowing towards the back, was added. This was known as[p. 112] the ἄμπυξ, or στεφάνη, and was probably made of gold; almost all the “Maidens” of the Acropolis wear it, and in several instances it is adorned with floral patterns.[177] The high πόλος or crown worn by Hera (Fig. 45 (a)) was probably also made of metal. Sometimes when the hair was worn down, the ends were prevented from flying in the wind by being tied together in a kind of little bag,[178] which reminds one of the many fashions adopted by men in the Georgian period in England. Sometimes, like the men, the women tucked the long ends up under the fillet, and let them hang out over it at the back. The fillet itself frequently assumed the dimensions of a scarf, the ends of which were tucked up at the sides and allowed to hang down behind the ears. When the hair was done up, the “chignon” was at first worn low on the nape of the neck and held in place by bands variously arranged.[179] Sometimes the στεφάνη alone was worn,[180] and very often the hair was held up by a kerchief or snood (μίτρα, σάκκος). The styles in which it was worn present abundant variety: sometimes it covered the hair completely,[181] except for a curl or two allowed to escape in front of the ears; sometimes it left the hair visible over the forehead only;[182] sometimes over the forehead and on the crown of the head, and the ends of the kerchief might be tucked through at the side and allowed to hang down in front of the ears.[183] Fig. 45 (f) gives an example of the στεφάνη worn in addition to[p. 113] the snood. In the fourth century fashion seems to have dictated that the “chignon” should be worn higher up at the back of the head, and a small kerchief was used to hold it up, folded in such a way that it narrowed almost to a point over the forehead.[184] Apparently a net was sometimes worn over the back of the hair. Fig. 45 (l), from the Meidias vase, furnishes an illustration of this. In Hellenistic and Roman times the styles of dressing the hair became very numerous. The snood seems to have been discarded altogether, and adornment by means of artificial waving and curling apparently took its place. The modes of “coiffure” of the Alexandrian Greeks are as varied as those of modern Europe. Probably cosmetics were used for the hair and paint and powder for the face; for we learn from Xenophon’s Œconomicus that as far back as his date, not only hetairæ but married women resorted to artificial means of beautifying the complexion.

More than one allusion is made in literature to some kind of hat worn by women; in Theocritus (Idyll, xv., 39), Praxinoa, when going out to the festival of Adonis, asks her maid for her wrap and hat (θολία).

In the Œdipus Coloneus[185] Antigone recognises Ismene from a distance by the Thessalian hat which she wears as a protection against the heat of the sun. The words used are κυνῆ Θεσσαλίς, which seem to imply that the hat was made of some kind of skin, probably felt, and resembled the men’s[p. 114] “petasos,” which originated in Thessaly or Thrace; its shape may have been slightly different. The Tanagra statuettes frequently represent women wearing a broad-brimmed hat with high pointed crown.[186]


[p. 115]

VIII
FOOTGEAR FOOTGEAR

The practice of covering the feet seems to have varied somewhat among the Greeks. In all probability it was the custom to go barefoot indoors, and the habit prevailed among certain classes of going always unshod in the street also. It was a mark of hardihood in the Spartan youths always to go barefoot, and at Athens, in addition to the lower orders, who probably never wore shoes, philosophers and those who affected a simple life were in the habit of going unshod. That Socrates rarely covered his feet is proved by more than one reference in Plato’s Dialogues;—Phædrus[187] speaks of him as ἀεὶ ἀνυπόδητος, “always unshod,” and in the Symposium[188] we learn that for the occasion of Agathon’s banquet Socrates has washed and put on his shoes, ἃ ὀλιγάκις ἐποίει, “which he seldom did.”

Other references in literature show that he was not the only philosopher who preferred to have his feet untrammelled.[189]

[p. 116]

The normal fashion, however, for people of good breeding was to wear sandals or shoes out of doors, and we learn from Aristophanes[190] that the Athenians at least were particular about the fit;—to “swim about” in large boots was a mark of boorishness. Xenophon[191] notices the division of labour in the shoemakers’ trade, where he mentions at least four different hands employed in making a pair of shoes.

Illustration: Sandals and Shoes

Fig. 46.—Sandals and Shoes.

[Face page 117.

The simplest form of footgear was the sandal, the πέδιλον of Homer, the ὑπόδημα of later times; this consisted of a leather sole cut to the shape of the foot and fastened on by means of straps or thongs, passing sometimes round the instep, sometimes between the toes and round the heel and ankle.[192] At times a piece of skin was attached to the sandal at the back, so as to cover the back of the heel, or even to wrap round the instep entirely, leaving only the toes bare;[193] from this form of sandal the ἔμβας, or slipper, was probably developed. This is described by Pollux[194] as εὐτελὲς μὲν ὑπόδεμα, Θράκιον δὲ τὸ εὕρημα, “a cheap shoe, of Thracian invention.” Its name suffices to show that the foot was inserted into the ἔμβας, in contradistinction to the sandal, which was bound under the foot; and the epithet signifies that it covered the foot completely. This description could be applied to many varieties of shoes and boots represented in extant art. Fig. 46 (e and f) gives two examples of shoes—e being[p. 117] an ordinary soft shoe covering the foot completely to the ankle, f is turned up at the toes, like a modern Greek shoe, and reaches above the ankle at the back. A vase at the British Museum represents a woman cleaning a shoe of this shape. We learn from Aristophanes[195] that shoes were cleaned with blacking made of pitch and applied with a sponge; they were usually black, except when the leather was allowed to retain its natural colour. The word ἔμβας seems to have been used for various kinds of foot-covering; in Aristophanes it refers sometimes to a kind of easy slipper worn by old men,[196] and in other instances it is used of any ordinary shoe or boot. The mention by Pollux of its Thracian origin perhaps refers to the high boot turned over at the top, frequently represented on vase-paintings as being worn by horsemen with the Thracian cloak and petasos.[197] Different varieties of this kind of boot are to be seen in Fig. 46 (g, h, i, and j).

An article in Daremberg and Saglio’s Dictionnaire suggests an Asiatic origin, and indeed the resemblance between Greek boots and those represented on Assyrian monuments is striking. A comparison is actually made by Herodotus[198] between Assyrian boots and Bœotian ἐμβάδες.

It is quite possible that boots of this kind may have come to Greece from the East by way of Thrace, and the fact that Dionysus is very frequently[p. 118] represented wearing them seems to add confirmation to this conjecture.

Illustration: Boot

Fig. 47.

A variety of the ἐμβάδες is to be found in the ἐνδρομίδες, a kind of boot worn by runners, as also by Hermes, Artemis, and the Amazons. They seem to have had no flap at the top, and to have been laced over a tongue either through holes or round buttons.[199] Another kind seems to have consisted of strips of cloth or leather, or possibly felt, wound round the legs like the modern puttees.

The word κρηπίδες is frequently used of some kind of foot-covering, and we learn from Theocritus[200] and from Pollux[201] that these were worn by soldiers. The κρῆπις was probably some kind of sandal with a thick sole and stout straps interlacing one another in such a way as to form a protection for the heel and instep.[202] Pliny[203] tells us that sometimes they had nails in them.

Illustration: (a) A Bronze in the British Museum. (b) Foot
            of the Hermes of Praxiteles (from a cast in the British
            Museum). (c) A Terra-cotta Flask in the British Museum.

Fig. 48.—(a) A Bronze in the British Museum. (b) Foot of the Hermes of Praxiteles (from a cast in the British Museum). (c) A Terra-cotta Flask in the British Museum.

[Face page 118.

Many varieties of shoes or boots are mentioned by Pollux[204] and other ancient writers. We read of ἀρβύλαι, ἀρβυλίδες, a cheap kind of boot worn on journeys; βλαυταί, light sandals with latchets, called also κονιπόδες, from the fact that they allowed the feet to get covered with dust; εὐμάριδες, Persian slippers of yellow kid; Περσικαί, cheap white shoes worn by women, especially by hetairæ; Λακωνικαί,[p. 119] distinguished by their red colour—these were probably the same as the Ἁμυκλαί mentioned by Theocritus. One of the archaic female statues in the Acropolis Museum at Athens wears red shoes. Wood was sometimes used for sandals. Pollux tells us that κρουπέζια were a special kind of wooden sandal used for dancing, and that Pheidias represented Athene Parthenos wearing Τυρρηνικά, sandals with high rectangular wooden soles and gold latchets.

Illustration: Sandals

Fig. 49.

Other shoes are too numerous to mention, and cannot be identified with certainty.


[p. 120]

IX
THE TOILET
CONCLUSION

The toilet of the ancient Greeks was quite as elaborate as that of any modern people, and much time and care was bestowed upon it. That of the men was usually performed at the barber’s shop (Κουρεῖον), which became, as we gather from frequent allusions in Aristophanes, a regular resort for lounging and picking up news and scraps of gossip of all kinds. A fashionable Athenian would probably spend a whole morning at the barber’s shop, where, in addition to having his hair cut and beard clipped or shaved, he could submit to the various operations of manicure and chiropody. An epigram in the palatine anthology[205] gives a list of barber’s implements, some of which have survived in a few examples, and may be seen in our museums. The list includes: scissors (ψάλις), razor (ξυρόν), some sharp, pointed instrument for paring and cleaning the nails (στόνυξ). Mention is also made of a scraper (ψήκτρα), which was probably used after bathing.[p. 121] An ancient razor differs from a modern one, in that it is crescent shaped.

In addition to these implements, various ointments were used, one of which, ψίλωθρον, containing arsenic, was employed for removing superfluous hairs.

Illustration: Diagram of an Aryballos

Fig. 50.

When repairing to the wrestling school or the gymnasium, a Greek would invariably be provided with an oil-flask (ἀρύβαλλος, λήκυθος) and a strigil (ξύστρα). The aryballos (Fig. 50) was a small globular vessel, with an opening just large enough to allow the oil to trickle slowly out, the lekythos being a long narrow bottle with a foot and a narrow neck.[206] Both were used to carry the olive oil with which athletes were accustomed to anoint themselves. The strigil was a curved metal instrument used for scraping the oil and sand from the body after wrestling. The famous statue of the Apoxyomenos in the Vatican Museum represents an athlete engaged in this operation.

Illustration: Diagram of a Lekythos

Fig. 51.

The processes and requisites of the feminine toilet were many and various, and toilet scenes are frequently represented in vase-paintings. Sometimes we may see the process of the bath: an attendant slave pouring water from a large vessel over the crouching figure of the bather; in other[p. 122] instances we find a lady engaged in binding her hair with a fillet, tying her girdle, or fastening her sandal. There is almost invariably a maid in attendance, who assists in the operations, holding a scent-bottle, or a casket from which her mistress selects jewels.[207] One vase-painting shows a lady applying powder or colour to her cheeks with a brush.

Many allusions in literature, and especially in Aristophanes, show that paint and cosmetics of various kinds were in use in Athens in the fifth century B.C. It is not surprising to learn that hetairæ made use of these artificial aids to beauty; but from a passage in Xenophon’s Œconomicus[208] we gather that the wives and daughters of respected citizens did not despise such means of enhancing and preserving their appearance. The passage describes how Ischomachus found his young wife ἐντετριμμένην πολλῷ μὲν ψιμυθίῳ ὅπως λευκοτέρα ἔτι δοκοίη εἶναι ἢ ἦν, πολλῇ δ᾽ ἐγχούσῃ ὅπως ἐρυθροτέρα φαίνοιτο τῆς ἀληθείας, ὑποδήματα δ᾽ ἔχουσαν ὑψηλά, ὅπως μείζων δοκοίη εἶναι ἢ ἐπεφύκει, “with much white lead rubbed into her skin, to make her look fairer than she was; and with much rouge, to make her appear rosier; and wearing high sandals, to add to her natural height.”

Ischomachus persuades her to give up these vanities, asking her if she will like him better if he goes about μίλτρῳ ἀλειφόμενος καὶ τοὺς ὀφθαλμοὺς ὑπαλειφόμενος, “anointed with red ochre, and with pigment under his eyes.”

Illustration: (a) A Pyxis in the British Museum. (b) A
            Toilet-box in the British Museum.

Fig. 52.—(a) A Pyxis in the British Museum. (b) A Toilet-box in the British Museum.

[Face page 122.

[p. 123]White lead was commonly used for producing a fair complexion; it was prepared by laying lead in vinegar, scraping off, powdering, and heating the white rust thus formed.[209] Various substances were used for producing rouge—some mineral, some vegetable; of the latter, the root of a plant (ἔγχουσα or ἄγχουσα), certain kinds of seaweed (φῦκος), and mulberry juice (συκάμινον), were common. That some kind of pigment was used for darkening the eyelids is further testified by Pollux[210] and Aristophanes.[211] Lamp-black and a sulphuret of antimony (στίμμις), were used for blackening eyebrows and eyelids. Perfumed powders and unguents were used for skin and hair, scented with myrrh or roses or other products. The simplest and most common unguent was, of course, olive oil. In addition to artificial complexions, we learn that false hair and wigs (πηνίκη, προκομίον), were not unknown, and that these came from the East.[212]

Many examples have survived of the various articles pertaining to the equipment of a Greek lady’s toilet-table. Combs, hair-pins, mirrors, boxes, and bottles are numerous in our museums. Combs are usually made of ivory or bone, with a double row of rather fine teeth. Hair-pins of bone, ivory, or metal consist of a single pin with an ornamental head. Mirrors are of highly polished metal, usually bronze, though some have been found in silver. The mirrors may be divided into[p. 124] two classes—disk-mirrors and box-mirrors. The former consists of a single disk polished on one side, the reverse being usually engraved. The disk is furnished with a handle, which is sometimes so constructed that it can serve also as a foot; the mirror can so be made to stand on a table. The handle of a mirror of this kind very frequently takes the form of a human figure.[213] The box-mirror consists of two disks, the lower one, with its polished upper surface, serving as the mirror, the upper one as a cover to protect it. The two are sometimes quite separate and fit closely on to one another, but more often they are joined by a hinge; the cover is usually ornamented with relief work, a favourite subject being Aphrodite and Eros, although other mythological scenes are also found.[214]

Illustration: (a) Bronze Box Mirror—British Museum.
            (b) Bronze Stand Mirror—British Museum.

Fig. 53.—(a) Bronze Box Mirror—British Museum. (b) Bronze Stand Mirror—British Museum.

[Face page 124.

Of the various receptacles used for containing trinkets, hair-bands, cosmetics, and so on, the commonest is the pyxis, although we find also baskets and little square caskets represented in vase-paintings and on the Attic grave reliefs. A box for cosmetics in the British Museum is in the shape of a bird.[215] The pyxis is a circular box with a lid; its sides are sometimes straight, but more often concave, and it is frequently raised on a foot. Its material was originally boxwood, hence its name, πύξις; but the majority of those which are extant are terra-cotta, though they are known also in ivory, alabaster, and precious metals. A common[p. 125] subject on a terra-cotta pyxis is a toilet scene or a marriage procession.[216]

Illustration: Diagram of an Alabastron

Fig. 54.

The alabastron used to contain unguents or perfumes is a long narrow bottle with a spreading neck and small opening; it has no foot, and is round at the bottom, so that some kind of stand must have been necessary to hold it upright when not in use.[217] It was usually made of stone, alabaster, or terra-cotta. The lekythos also was sometimes used for the same purpose.

That Greek ladies wore abundant jewellery is proved by frequent representations both in sculpture and vase-paintings, as also by actual finds of jewellery, notably in the Greek graves of the fourth century at Kertch. These objects have been described and discussed by Mr A. B. Walters, in his book on The Art of the Greeks.[218] Rings, bracelets, necklaces, brooches, and ear-rings, were commonly worn, as well as ornamental hair-pins and metal diadems for the hair. Many examples of goldsmith’s work are extant including some gold ornaments set with precious stones.

In summing up the results of the foregoing enquiry, we find that the nature and development of the costume of the Greeks is entirely in accordance with what we know of the nature and development of the national character. The chief[p. 126] characteristics of the Doric dress, which was probably worn in early days by all the inhabitants of the mainland alike, is a certain broad simplicity; that of the Ionic dress, which was worn by the Asiatic Greeks, and for a short period at least by the Athenians also, is graceful elegance. These characteristics distinguish the Doric and Ionic temperaments as exhibited in art also, notably in architecture, and to some extent also in sculpture. Athens appears to have occupied a middle position between the Peloponnese and Ionia. The Peloponnesians seem to have clung throughout their history to the Dorian dress, as the Ionians probably did to the Ionic; but in Athens we find change and development most strongly marked. In very early days the Athenians wore the Doric dress; then in the course of the seventh and sixth centuries their intercourse with the East brought them into contact with Eastern ideas and Eastern customs, and they appear to have caught something of the luxury which was characteristic of the East. At any rate, for a time at least they adopted the Ionic dress, and carried it to a great degree of luxury and extravagance. Then with the Persian wars came a reaction against anything savouring of Orientalism, and a return to greater simplicity. This led to a resumption of the Doric dress, with certain modifications and the retention of some Ionic elements.

It can hardly be questioned that the freedom and simplicity of their dress was to a great extent the cause of the development of the splendid[p. 127] physique which the Greeks undoubtedly enjoyed. Their loose draperies allowed their limbs perfect freedom, and their bodies were unhampered by constraint of any kind. In the palæstra and the gymnasium, air and sunlight were allowed to exercise their salutary influence, for the Greeks were not “ashamed of their own naked skin,” and so discarded their clothing when in pursuit of their athletic occupations. The healthy state of body thus preserved no doubt had its share in fostering that healthy state of mind to which are due the sanity and sobriety that characterise all Greek thought, whether expressed in literature, art, or philosophy.


[p. 129]

ENGLISH INDEX


[p. 133]

GREEK INDEX


[p. 135]

PRINTED BY
OLIVER AND BOYD,
EDINBURGH.


FOOTNOTES

[1] J. L. Myres, Journal of Hellenic Studies, vol. xx. Cp. also, for general principles of ground plan, “The Palace at Knossos,” British School Annual, VIII.

[2] Cp. Busolt, Griechische Geschichte, vol. i., 2nd ed., chap. i.

[3] Ridgeway, Early Age of Greece, chap. viii.; S. Müller, Urgeschichte Europas, pp. 95, 96.

[4] Fig. 1, Cupbearer of Knossos. Cp. also, Vaphio Cup, gems, Perrot and Chipiez, VI., 426. 21.

[5] British School Annual, IX., pls. ix. and x.

[6] Dagger blade from Mycenæ. Perrot and Chipiez, VI., pl. xviii., 3.

[7] Perrot and Chipiez, VI., fig. 365.

[8] The characteristic Cretan boots may possibly be a direct survival.

[9] Schliemann, Mycenæ, pp. 272, 273.

[10] Perrot and Chipiez, VI., fig. 380; Ἐφημερίς Ἀρχαιολογική, 1888, pl. viii.

[11] Perrot and Chipiez, III., fig. 303.

[12] British School Annual, IX., “Keftiu and the Peoples of the Sea.”

[13] Daremberg and Saglio, Dictionnaire des Antiquités, s.v. “Etrusci.”

[14] Figs. 2 and 3 from British School Annual, IX.

[15] Fig. 4, only a very small fragment of the skirt remains; but the painting has been restored. Reproduced from the British School Annual, VIII., fig. 28.

[16] Fig. 5 from British School Annual, IX., pl. viii.

[17] The large sash worn over the “Kimono” and tied rather high up at the back.

[18] British School Annual, IX., pls. xi. and xii.

[19] On “fibulæ,” see Sophus Müller, Urgeschichte Europas, p. 95. O. Montelius, Civilization of Sweden in Heathen Times.

[20] British School Annual, IX.

[21] Tournefort, I., 109.

[22] See also, Choiseul-Gouffier, Voyage pittoresque de la Grèce, Paris, 1809, where the women of the islands are represented wearing a tight corslet over a chemisette. A high head-dress, not unlike that of the Petsofa statuettes, was commonly worn by the island women as late as the eighteenth century.

[23] Iliad, 18. 122, 389, 24. 215.

[24] Ibid., 9. 594; Odyssey, 3. 154.

[25] Odyssey, xix., 137.

[26] Ibid., xiii., 22.

[27] Iliad, ii., 42.

[28] Beiträge zur Geschichte der altgriechischen Tracht, p. 13.

[29] Odyssey, xv., 60.

[30] xiv. 72.

[31] Pauly-Wissowa, Real Encyclopädie, s.v. “χιτών,” Studniczka, p. 15 f.

[32] Odyssey, xix., 232:

τὸν δὲ χιτῶν᾽ ἐνόησα περὶ χροῒ σιγαλόεντα

οἷόν τε κρομύοιο λοπὸν κάτα ἰσχαλέοιο

τὼς μὲν ἔην μαλακὸς, λαμπρὸς δ᾽ ἦν ἠέλιος ὥς.

“And I saw the shining tunic on his body, like the skin of a dried onion—so soft it was, and bright as the sun.”

[33] Iliad, v., 113; xxi., 31.

[34] Cp. Fig. 7 (a); the human figure struggling with the Minotaur.

[35] Odyssey, iii., 349.

[36] Ibid., xvii., 86.

[37] Ibid., xiv., 522.

[38] Iliad, ii., 183.

[39] See Fig. 7 (a), where the second figure from the right is represented wearing only the χλαῖνα ἁπλοΐς.

[40] E. A. Gardner, Handbook of Greek Sculpture, p. 128.

[41] Unless the garment were square, the diagonally opposite corners would not coincide when folded corner to corner; they are invariably represented on the vases as coinciding.

[42] Fig. 7 (b) is taken from the “François” vase.

[43] Odyssey, xiii., 223.

[44] iii., 126; xxii., 440.

[45] Odyssey, ii., 97; xix., 137.

[46] Ibid., v., 257.

[47] Iliad, x., 22.

[48] Ibid., 29; iii., 17.

[49] Odyssey, xiv., 23.

[50] Iliad, x., 261 f.

[51] Ibid., xxiv., 93.

[52] Ibid., v., 194.

[53] Ibid., xxiv., 795.

[54] xiv., 178 f.

[55] p. 97 f.

[57] Iliad, vi., 289.

[58] Ibid., v., 733; viii., 385.

[59] Odyssey, xv., 105; xviii., 292.

[60] See section on “Materials and Ornamentation.”

[61] Odyssey, v., 230.

[62] The passage is repeated word for word of Circe, Odyssey, x., 543.

[63] Odyssey, xv., 469.

[64] Iliad, xiv., 214.

[65] B., 254.

[66] The κάλυμμα κυάνεον, “dark blue veil,” of Thetis (Iliad, xxiv., 93) is the same garment.

[67] Hera is represented wearing it so on the François vase, Fig. 7 (c), and although her head is not covered, yet, from the way in which the folds lie high upon the nape of the neck, it is clear that they could easily be drawn up over the head (cp. also, Aphrodite, on the same vase).

[68] Thetis is represented in the François vase just about to veil or unveil her face; though the head is missing, it is clear, from the position of the arm, that the κρήδεμνον was worn over the head.

[69] Iliad, iii., 141.

[70] Odyssey, vi., 100.

[71] Cp. Iliad, xxii., 406, 470.

[72] Ibid., xxii., 468 f.

[73] Odyssey, xvi., 173; xxiii., 155, etc.

[74] Das Homerische Epos, p. 157, f.

[75] Iliad, xviii., 40.

[76] Odyssey, ix., 247.

[77] Iliad, xxiv., 93.

[78] Iliad, xiv., 182.

[79] v., 87.

[80] Plutarch, “Solon,” 21.

[83] Furtwängler, Masterpieces, p. 324.

[84] Pollux, II., 187.

[86] Furtwängler, pl. ii.

[87] Ibid., fig. 6.

[88] B.M., E. 183.

[89] E. 307.

[90] Fig. 14, the figure to the right in the upper band.

[91] See Fig. 20.

[93] E. 258, fig. 16.

[95] Masterpieces, p. 142, fig. 18.

[96] B.M., B. 331.

[97] Figs. 20 and 21.

[99] i., 1567.

[100] Pauly-Wissowa, Real Encyclopädie.

[103] i., 4.

[104] i., 8.

[105] i., 171.

[106] According to Ridgeway, Early Age of Greece, the Carians, like the Leleges, were a Pelasgian people.

[107] i., 6.

[108] Poll., vii., 49.

[109] Studniczka has pointed out that the word χιτών is of Semitic origin, and connected with a root signifying “linen,” Beiträge, p. 17 f.

[110] Cp. Fig. 14, the second figure to the right in the lower band.

[111] E.g., B.M., E. 73; cp. Fig. 25, the two male figures.

[114] Quæstiones vestiariæ.

[116] Prolegomena to Greek Religion, p. 292.

[117] Cp. Fig. 29.

[119] C. I. A., ii., 754.

[120] Nos. 687 and 688.

[121] B.M., Vase, E. 230.

[122] Ar. Lys., 48; Menander Meineke. frag. incert., 141.

[123] C. I. A., ii., 754.

[124] Jahrbuch, i., pl. 102a; Gerhard, Auserlesene Vasenbilder, 79, 80; Dumont and Chaplain, pl. 8; Journal of Hellenic Studies, 1890, pl. 12.

[125] Cp. Amelung in Pauly-Wissowa’s Real Encyclopädie, s.v. “Chiton,” p. 2322.

[126] B.M., E. 270.

[128] Lechat, figs. 8 and 9; Perrot and Chipiez, 290 and 292.

[129] See Fig. 32.

[130] Perrot and Chipiez, VIII., pls. 5 and 12; Lechat, 22, 29, 30, etc. This feature comes out clearly in fig. 31.

[131] Perrot and Chipiez, VIII., fig. 303; Lechat, fig. 31.

[132] Cp. Jahrbuch, 1893; Arch. Anz., H. 519; Winter.

[133] Another possibility which suggests itself is that the sculptor may not have painted the statue himself, but may have handed it over to a painter who did not understand how the drapery was constituted.

[134] Jahrbuch, xi.

[135] How Greek Women Dressed.

[136] E.g., Lechat, fig. 12.

[137] Figs. 34, a and b, are photographs of a model draped in this manner.

[140] B.M., E. 336.

[141] Athens Central Museum, 1285.

[142] Aristophanes, The Clouds, 72; Plato, Crito, 53 D.

[143] Lys., 150.

[144] VI., 21.

[145] II., 86.

[146] Theocritus, II., 73.

[147] Hist. Anim., v., 19.

[148] Hist. Nat., xi.

[149] VI., xxvi., 6.

[150] For silk generally, see Daremberg and Saglio, s.v. “coa”; Smith, Dictionary of Antiquities, s.v. “sericum”; Yates, Textrinum Antiquorum, pp. 160 f.; Pariset, Histoire de la Soie, Part I., chap. i.

[151] Propertius, I., 2; Horace, Satires, I., ii., 101.

[152] Horace, Odes, IV., xiii.; Tibullus, II., 6.

[153] Chap. lviii.

[154] Aristophanes, Pax, 1173; Lys., 1140.

[155] 58.

[156] iii., 125.

[157] Figs. 39 and 41 a and b.

[158] I., 203.

[159] For patterns generally, see H. B. Walters, History of Ancient Pottery, ii., 209-235; Riegl, Stilfragen.

[160] For colouring, see Comptes rendus, 1878.

[161] British Museum, E. 140. Fig. 14, above.

[162] See British School Annual, 1901-2, VIII., 72, fig. 37.

[163] Iliad, ii., 443, 472.

[164] Ibid., xxii., 468 f.

[165] Fig. 42 (a).

[166] Fig. 42 (b).

[167] Fig. 42 (c).

[168] Fig. 42 (d).

[169] The hair of Euphorbus, described in Iliad, xvi., 52, was possibly dressed in this fashion.

[170] Das Homerische Epos, 166-170; cp. Mittheilungen des Deutschen Instituts in Athen, vi., pl. 7, p. 186.

[171] Jahrbuch des kaiserlich Deutschen Instituts, xi., 1896, pp. 284-291.

[172] Fig. 43 (a).

[173] Fig. 43 (b). It is interesting to note that little Athenian schoolgirls of to-day wear their hair in this fashion.

[174] Pausanias, I., xxxvii., 2; Æsch. Choeph., 6.

[175] 1267.

[178] Fig. 45 (b).

[179] Fig. 45 (c and d).

[180] Fig. 45 (e).

[181] Fig. 45 (g).

[182] Fig. 45 (h).

[183] Fig. 45 (i and j).

[184] Fig. 45 (k).

[185] 313.

[187] Plato, Phædrus, 229 A.

[188] 174 A.

[189] Aristophanes, The Clouds, 103; Theocritus, XIV., 6.

[190] Knights, 321.

[191] Cyropædia, xviii., 2, 5.

[192] Fig. 46 (a and b); Fig. 48 (c).

[193] Fig. 46 (c and d).

[194] VII., 85.

[195] The Wasps, 600.

[196] The Wasps, 274; The Clouds, 719.

[198] I., 195.

[199] Figs. 47 and 48 (a).

[200] XV., 6.

[201] VII., 85.

[202] Figs. 48 (b) and 49 (a and b).

[203] XXXV., 25.

[204] VII., 84-93.

[205] Anth. Pal., vi., 307.

[207] Fig. 52 (a).

[208] x., 2.

[209] Theophr. de Lapidibus, 56.

[210] VII., 95.

[211] Fragment 695.

[212] See Xenophon’s Cyropædia, I., iii., 2.

[213] Fig. 53 (b).

[214] Fig. 53 (a).

[215] Fig. 52 (b).

[216] Fig. 52 (a).

[218] Page 259 ff.


Transcriber's note

 

 


***END OF THE PROJECT GUTENBERG EBOOK GREEK DRESS***

******* This file should be named 51128-h.htm or 51128-h.zip *******

This and all associated files of various formats will be found in:
http://www.gutenberg.org/5/1/1/2/51128

Updated editions will replace the previous one--the old editions will be renamed.

Creating the works from print editions not protected by U.S. copyright law means that no one owns a United States copyright in these works, so the Foundation (and you!) can copy and distribute it in the United States without permission and without paying copyright royalties. Special rules, set forth in the General Terms of Use part of this license, apply to copying and distributing Project Gutenberg-tm electronic works to protect the PROJECT GUTENBERG-tm concept and trademark. Project Gutenberg is a registered trademark, and may not be used if you charge for the eBooks, unless you receive specific permission. If you do not charge anything for copies of this eBook, complying with the rules is very easy. You may use this eBook for nearly any purpose such as creation of derivative works, reports, performances and research. They may be modified and printed and given away--you may do practically ANYTHING in the United States with eBooks not protected by U.S. copyright law. Redistribution is subject to the trademark license, especially commercial redistribution.

START: FULL LICENSE

THE FULL PROJECT GUTENBERG LICENSE
PLEASE READ THIS BEFORE YOU DISTRIBUTE OR USE THIS WORK

To protect the Project Gutenberg-tm mission of promoting the free distribution of electronic works, by using or distributing this work (or any other work associated in any way with the phrase "Project Gutenberg"), you agree to comply with all the terms of the Full Project Gutenberg-tm License available with this file or online at www.gutenberg.org/license.

Section 1. General Terms of Use and Redistributing Project Gutenberg-tm electronic works

1.A. By reading or using any part of this Project Gutenberg-tm electronic work, you indicate that you have read, understand, agree to and accept all the terms of this license and intellectual property (trademark/copyright) agreement. If you do not agree to abide by all the terms of this agreement, you must cease using and return or destroy all copies of Project Gutenberg-tm electronic works in your possession. If you paid a fee for obtaining a copy of or access to a Project Gutenberg-tm electronic work and you do not agree to be bound by the terms of this agreement, you may obtain a refund from the person or entity to whom you paid the fee as set forth in paragraph 1.E.8.

1.B. "Project Gutenberg" is a registered trademark. It may only be used on or associated in any way with an electronic work by people who agree to be bound by the terms of this agreement. There are a few things that you can do with most Project Gutenberg-tm electronic works even without complying with the full terms of this agreement. See paragraph 1.C below. There are a lot of things you can do with Project Gutenberg-tm electronic works if you follow the terms of this agreement and help preserve free future access to Project Gutenberg-tm electronic works. See paragraph 1.E below.

1.C. The Project Gutenberg Literary Archive Foundation ("the Foundation" or PGLAF), owns a compilation copyright in the collection of Project Gutenberg-tm electronic works. Nearly all the individual works in the collection are in the public domain in the United States. If an individual work is unprotected by copyright law in the United States and you are located in the United States, we do not claim a right to prevent you from copying, distributing, performing, displaying or creating derivative works based on the work as long as all references to Project Gutenberg are removed. Of course, we hope that you will support the Project Gutenberg-tm mission of promoting free access to electronic works by freely sharing Project Gutenberg-tm works in compliance with the terms of this agreement for keeping the Project Gutenberg-tm name associated with the work. You can easily comply with the terms of this agreement by keeping this work in the same format with its attached full Project Gutenberg-tm License when you share it without charge with others.

1.D. The copyright laws of the place where you are located also govern what you can do with this work. Copyright laws in most countries are in a constant state of change. If you are outside the United States, check the laws of your country in addition to the terms of this agreement before downloading, copying, displaying, performing, distributing or creating derivative works based on this work or any other Project Gutenberg-tm work. The Foundation makes no representations concerning the copyright status of any work in any country outside the United States.

1.E. Unless you have removed all references to Project Gutenberg:

1.E.1. The following sentence, with active links to, or other immediate access to, the full Project Gutenberg-tm License must appear prominently whenever any copy of a Project Gutenberg-tm work (any work on which the phrase "Project Gutenberg" appears, or with which the phrase "Project Gutenberg" is associated) is accessed, displayed, performed, viewed, copied or distributed:

This eBook is for the use of anyone anywhere in the United States and most other parts of the world at no cost and with almost no restrictions whatsoever. You may copy it, give it away or re-use it under the terms of the Project Gutenberg License included with this eBook or online at www.gutenberg.org. If you are not located in the United States, you'll have to check the laws of the country where you are located before using this ebook.

1.E.2. If an individual Project Gutenberg-tm electronic work is derived from texts not protected by U.S. copyright law (does not contain a notice indicating that it is posted with permission of the copyright holder), the work can be copied and distributed to anyone in the United States without paying any fees or charges. If you are redistributing or providing access to a work with the phrase "Project Gutenberg" associated with or appearing on the work, you must comply either with the requirements of paragraphs 1.E.1 through 1.E.7 or obtain permission for the use of the work and the Project Gutenberg-tm trademark as set forth in paragraphs 1.E.8 or 1.E.9.

1.E.3. If an individual Project Gutenberg-tm electronic work is posted with the permission of the copyright holder, your use and distribution must comply with both paragraphs 1.E.1 through 1.E.7 and any additional terms imposed by the copyright holder. Additional terms will be linked to the Project Gutenberg-tm License for all works posted with the permission of the copyright holder found at the beginning of this work.

1.E.4. Do not unlink or detach or remove the full Project Gutenberg-tm License terms from this work, or any files containing a part of this work or any other work associated with Project Gutenberg-tm.

1.E.5. Do not copy, display, perform, distribute or redistribute this electronic work, or any part of this electronic work, without prominently displaying the sentence set forth in paragraph 1.E.1 with active links or immediate access to the full terms of the Project Gutenberg-tm License.

1.E.6. You may convert to and distribute this work in any binary, compressed, marked up, nonproprietary or proprietary form, including any word processing or hypertext form. However, if you provide access to or distribute copies of a Project Gutenberg-tm work in a format other than "Plain Vanilla ASCII" or other format used in the official version posted on the official Project Gutenberg-tm web site (www.gutenberg.org), you must, at no additional cost, fee or expense to the user, provide a copy, a means of exporting a copy, or a means of obtaining a copy upon request, of the work in its original "Plain Vanilla ASCII" or other form. Any alternate format must include the full Project Gutenberg-tm License as specified in paragraph 1.E.1.

1.E.7. Do not charge a fee for access to, viewing, displaying, performing, copying or distributing any Project Gutenberg-tm works unless you comply with paragraph 1.E.8 or 1.E.9.

1.E.8. You may charge a reasonable fee for copies of or providing access to or distributing Project Gutenberg-tm electronic works provided that

1.E.9. If you wish to charge a fee or distribute a Project Gutenberg-tm electronic work or group of works on different terms than are set forth in this agreement, you must obtain permission in writing from both the Project Gutenberg Literary Archive Foundation and The Project Gutenberg Trademark LLC, the owner of the Project Gutenberg-tm trademark. Contact the Foundation as set forth in Section 3 below.

1.F.

1.F.1. Project Gutenberg volunteers and employees expend considerable effort to identify, do copyright research on, transcribe and proofread works not protected by U.S. copyright law in creating the Project Gutenberg-tm collection. Despite these efforts, Project Gutenberg-tm electronic works, and the medium on which they may be stored, may contain "Defects," such as, but not limited to, incomplete, inaccurate or corrupt data, transcription errors, a copyright or other intellectual property infringement, a defective or damaged disk or other medium, a computer virus, or computer codes that damage or cannot be read by your equipment.

1.F.2. LIMITED WARRANTY, DISCLAIMER OF DAMAGES - Except for the "Right of Replacement or Refund" described in paragraph 1.F.3, the Project Gutenberg Literary Archive Foundation, the owner of the Project Gutenberg-tm trademark, and any other party distributing a Project Gutenberg-tm electronic work under this agreement, disclaim all liability to you for damages, costs and expenses, including legal fees. YOU AGREE THAT YOU HAVE NO REMEDIES FOR NEGLIGENCE, STRICT LIABILITY, BREACH OF WARRANTY OR BREACH OF CONTRACT EXCEPT THOSE PROVIDED IN PARAGRAPH 1.F.3. YOU AGREE THAT THE FOUNDATION, THE TRADEMARK OWNER, AND ANY DISTRIBUTOR UNDER THIS AGREEMENT WILL NOT BE LIABLE TO YOU FOR ACTUAL, DIRECT, INDIRECT, CONSEQUENTIAL, PUNITIVE OR INCIDENTAL DAMAGES EVEN IF YOU GIVE NOTICE OF THE POSSIBILITY OF SUCH DAMAGE.

1.F.3. LIMITED RIGHT OF REPLACEMENT OR REFUND - If you discover a defect in this electronic work within 90 days of receiving it, you can receive a refund of the money (if any) you paid for it by sending a written explanation to the person you received the work from. If you received the work on a physical medium, you must return the medium with your written explanation. The person or entity that provided you with the defective work may elect to provide a replacement copy in lieu of a refund. If you received the work electronically, the person or entity providing it to you may choose to give you a second opportunity to receive the work electronically in lieu of a refund. If the second copy is also defective, you may demand a refund in writing without further opportunities to fix the problem.

1.F.4. Except for the limited right of replacement or refund set forth in paragraph 1.F.3, this work is provided to you 'AS-IS', WITH NO OTHER WARRANTIES OF ANY KIND, EXPRESS OR IMPLIED, INCLUDING BUT NOT LIMITED TO WARRANTIES OF MERCHANTABILITY OR FITNESS FOR ANY PURPOSE.

1.F.5. Some states do not allow disclaimers of certain implied warranties or the exclusion or limitation of certain types of damages. If any disclaimer or limitation set forth in this agreement violates the law of the state applicable to this agreement, the agreement shall be interpreted to make the maximum disclaimer or limitation permitted by the applicable state law. The invalidity or unenforceability of any provision of this agreement shall not void the remaining provisions.

1.F.6. INDEMNITY - You agree to indemnify and hold the Foundation, the trademark owner, any agent or employee of the Foundation, anyone providing copies of Project Gutenberg-tm electronic works in accordance with this agreement, and any volunteers associated with the production, promotion and distribution of Project Gutenberg-tm electronic works, harmless from all liability, costs and expenses, including legal fees, that arise directly or indirectly from any of the following which you do or cause to occur: (a) distribution of this or any Project Gutenberg-tm work, (b) alteration, modification, or additions or deletions to any Project Gutenberg-tm work, and (c) any Defect you cause.

Section 2. Information about the Mission of Project Gutenberg-tm

Project Gutenberg-tm is synonymous with the free distribution of electronic works in formats readable by the widest variety of computers including obsolete, old, middle-aged and new computers. It exists because of the efforts of hundreds of volunteers and donations from people in all walks of life.

Volunteers and financial support to provide volunteers with the assistance they need are critical to reaching Project Gutenberg-tm's goals and ensuring that the Project Gutenberg-tm collection will remain freely available for generations to come. In 2001, the Project Gutenberg Literary Archive Foundation was created to provide a secure and permanent future for Project Gutenberg-tm and future generations. To learn more about the Project Gutenberg Literary Archive Foundation and how your efforts and donations can help, see Sections 3 and 4 and the Foundation information page at www.gutenberg.org.

Section 3. Information about the Project Gutenberg Literary Archive Foundation

The Project Gutenberg Literary Archive Foundation is a non profit 501(c)(3) educational corporation organized under the laws of the state of Mississippi and granted tax exempt status by the Internal Revenue Service. The Foundation's EIN or federal tax identification number is 64-6221541. Contributions to the Project Gutenberg Literary Archive Foundation are tax deductible to the full extent permitted by U.S. federal laws and your state's laws.

The Foundation's principal office is in Fairbanks, Alaska, with the mailing address: PO Box 750175, Fairbanks, AK 99775, but its volunteers and employees are scattered throughout numerous locations. Its business office is located at 809 North 1500 West, Salt Lake City, UT 84116, (801) 596-1887. Email contact links and up to date contact information can be found at the Foundation's web site and official page at www.gutenberg.org/contact

For additional contact information:

Dr. Gregory B. Newby
Chief Executive and Director
gbnewby@pglaf.org

Section 4. Information about Donations to the Project Gutenberg Literary Archive Foundation

Project Gutenberg-tm depends upon and cannot survive without wide spread public support and donations to carry out its mission of increasing the number of public domain and licensed works that can be freely distributed in machine readable form accessible by the widest array of equipment including outdated equipment. Many small donations ($1 to $5,000) are particularly important to maintaining tax exempt status with the IRS.

The Foundation is committed to complying with the laws regulating charities and charitable donations in all 50 states of the United States. Compliance requirements are not uniform and it takes a considerable effort, much paperwork and many fees to meet and keep up with these requirements. We do not solicit donations in locations where we have not received written confirmation of compliance. To SEND DONATIONS or determine the status of compliance for any particular state visit www.gutenberg.org/donate.

While we cannot and do not solicit contributions from states where we have not met the solicitation requirements, we know of no prohibition against accepting unsolicited donations from donors in such states who approach us with offers to donate.

International donations are gratefully accepted, but we cannot make any statements concerning tax treatment of donations received from outside the United States. U.S. laws alone swamp our small staff.

Please check the Project Gutenberg Web pages for current donation methods and addresses. Donations are accepted in a number of other ways including checks, online payments and credit card donations. To donate, please visit: www.gutenberg.org/donate

Section 5. General Information About Project Gutenberg-tm electronic works.

Professor Michael S. Hart was the originator of the Project Gutenberg-tm concept of a library of electronic works that could be freely shared with anyone. For forty years, he produced and distributed Project Gutenberg-tm eBooks with only a loose network of volunteer support.

Project Gutenberg-tm eBooks are often created from several printed editions, all of which are confirmed as not protected by copyright in the U.S. unless a copyright notice is included. Thus, we do not necessarily keep eBooks in compliance with any particular paper edition.

Most people start at our Web site which has the main PG search facility: www.gutenberg.org

This Web site includes information about Project Gutenberg-tm, including how to make donations to the Project Gutenberg Literary Archive Foundation, how to help produce our new eBooks, and how to subscribe to our email newsletter to hear about new eBooks.